Банк рефератов содержит более 364 тысяч рефератов, курсовых и дипломных работ, шпаргалок и докладов по различным дисциплинам: истории, психологии, экономике, менеджменту, философии, праву, экологии. А также изложения, сочинения по литературе, отчеты по практике, топики по английскому.
Полнотекстовый поиск
Всего работ:
364139
Теги названий
Разделы
Авиация и космонавтика (304)
Административное право (123)
Арбитражный процесс (23)
Архитектура (113)
Астрология (4)
Астрономия (4814)
Банковское дело (5227)
Безопасность жизнедеятельности (2616)
Биографии (3423)
Биология (4214)
Биология и химия (1518)
Биржевое дело (68)
Ботаника и сельское хоз-во (2836)
Бухгалтерский учет и аудит (8269)
Валютные отношения (50)
Ветеринария (50)
Военная кафедра (762)
ГДЗ (2)
География (5275)
Геодезия (30)
Геология (1222)
Геополитика (43)
Государство и право (20403)
Гражданское право и процесс (465)
Делопроизводство (19)
Деньги и кредит (108)
ЕГЭ (173)
Естествознание (96)
Журналистика (899)
ЗНО (54)
Зоология (34)
Издательское дело и полиграфия (476)
Инвестиции (106)
Иностранный язык (62791)
Информатика (3562)
Информатика, программирование (6444)
Исторические личности (2165)
История (21319)
История техники (766)
Кибернетика (64)
Коммуникации и связь (3145)
Компьютерные науки (60)
Косметология (17)
Краеведение и этнография (588)
Краткое содержание произведений (1000)
Криминалистика (106)
Криминология (48)
Криптология (3)
Кулинария (1167)
Культура и искусство (8485)
Культурология (537)
Литература : зарубежная (2044)
Литература и русский язык (11657)
Логика (532)
Логистика (21)
Маркетинг (7985)
Математика (3721)
Медицина, здоровье (10549)
Медицинские науки (88)
Международное публичное право (58)
Международное частное право (36)
Международные отношения (2257)
Менеджмент (12491)
Металлургия (91)
Москвоведение (797)
Музыка (1338)
Муниципальное право (24)
Налоги, налогообложение (214)
Наука и техника (1141)
Начертательная геометрия (3)
Оккультизм и уфология (8)
Остальные рефераты (21692)
Педагогика (7850)
Политология (3801)
Право (682)
Право, юриспруденция (2881)
Предпринимательство (475)
Прикладные науки (1)
Промышленность, производство (7100)
Психология (8692)
психология, педагогика (4121)
Радиоэлектроника (443)
Реклама (952)
Религия и мифология (2967)
Риторика (23)
Сексология (748)
Социология (4876)
Статистика (95)
Страхование (107)
Строительные науки (7)
Строительство (2004)
Схемотехника (15)
Таможенная система (663)
Теория государства и права (240)
Теория организации (39)
Теплотехника (25)
Технология (624)
Товароведение (16)
Транспорт (2652)
Трудовое право (136)
Туризм (90)
Уголовное право и процесс (406)
Управление (95)
Управленческие науки (24)
Физика (3462)
Физкультура и спорт (4482)
Философия (7216)
Финансовые науки (4592)
Финансы (5386)
Фотография (3)
Химия (2244)
Хозяйственное право (23)
Цифровые устройства (29)
Экологическое право (35)
Экология (4517)
Экономика (20644)
Экономико-математическое моделирование (666)
Экономическая география (119)
Экономическая теория (2573)
Этика (889)
Юриспруденция (288)
Языковедение (148)
Языкознание, филология (1140)

Реферат: Литьё в кокиль

Название: Литьё в кокиль
Раздел: Рефераты по металлургии
Тип: реферат Добавлен 22:39:04 07 марта 2007 Похожие работы
Просмотров: 2030 Комментариев: 16 Оценило: 6 человек Средний балл: 4.3 Оценка: 4     Скачать

Контрольная работа №1

по дисциплине ТМТПСМ

Изложите сущность способа литья в кокиль; изобразите схемы кон-
струкций кокилей. Укажите применяемые сплавы, достоинства, недостатки
и области применения этого способа.

Кокилем называют металлическую форму, заполняемую расплавом под действием гравитационных сил.

Сущность способа заключается в применении многократно используемой литейной формы, которая формирует конфигурацию и свойства отливки. При этом способе литья либо совсем исключается применение, либо расходуется малое количество песчаных смесей лишь на изготовление разовых стержней. В связи с этим отпадает необходимость в землеприготовительных отделениях.

Модельная оснастка при литье в кокиль включает подогреваемые стержневые ящики (для изготовления сплошных или оболочковых стержней), ящики для холоднотвердеющих стержневых смесей и т.д.

Металлическая форма обладает по сравнению с песчаной значительно большими теплоемкостью, теплопроводностью, прочностью и нулевой газопроницаемостью. Материалами для кокилей служат чугуны серые СЧ20, СЧ25 и высокопрочный ВЧ42-12; низкоуглеродистые стали 10 и 20; легированные стали 15ХМЛ и др.; алюминиевые сплавы АЛ9 и АЛ11; медь.

Наибольшее распространение получили чугунные кокили. Металлические стержни изготовляют из конструкционных углеродистых (простой) и легированных (сложной формы) сталей. Кокили небольших размеров либо отливают, либо получают обработкой резанием из поковок. Рабочие полости и элементы литниковой системы в последнем случае получают электро-
физической или электрохимической обработкой. Более крупные кокили выполняют литыми. С целью стабилизации размеров и форм кокили проходят сложную термическую обработку.

По конструкции кокили бывают простыми и сложными. В зависимости от расположения плоскости разъема кокили делятся на неразъемные (вытряхные); с вертикальной, горизонтальной и сложной (комбинированной) плоскостями разъема.

Последовательность изготовления отливки в кокиле показана на рисунке 1. Она состоит из небольшого числа основных операций.


Рисунок 1.

а - очистка полуформ;

б - установка стержней;

в - заливка расплава;

г - частичное удаление металлического стержня;

д - извлечение отливки.

Этот вид литья применяется в условиях крупносерийного и массового про-
изводств. Отливки получают из чугуна, стали и цветных сплавов с толщиной сте-
нок 3...100 мм и массой от десятков граммов до сотен килограммов. В соответ-
ствии с ГОСТами точность отливок достигает 12...15-го квалитетов, а шерохова-
тость поверхности Ra = 25...2,5 мкм. Отливки характеризуются стабильностью по
механическим свойствам и плотности.

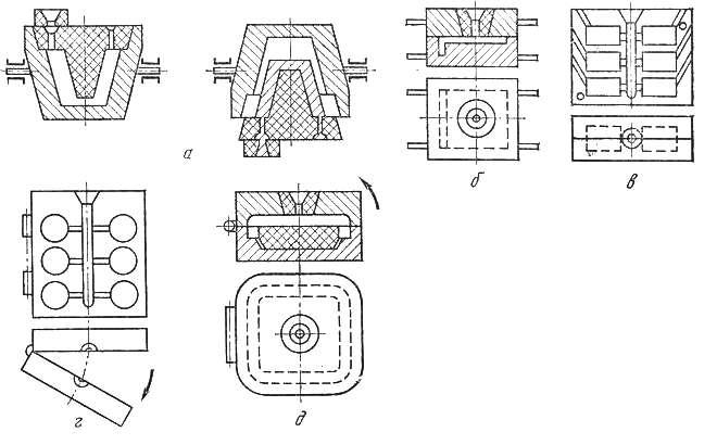
Разновидности кокилей показаны на рисунке 2.


Рисунок 2.

а - вытряхной;

б - с горизонтальной плоскостью разъема;

в - с вертикальной плоскостью разъема;

г - створчатый с вертикальной плоскостью разъема;

д - створчатый с горизонтальной плоскостью разъема.

Литье в кокиль относится к трудо- и материалосберегающим, малоопераци-
онным и малоотходным технологическим процессам. Оно улучшает условия тру-
да в литейном производстве и уменьшает воздействие на окружающую среду.

К недостаткам кокильного литья следует отнести высокую стоимость коки-
ля, трудность получения тонкостенных отливок в связи с быстрым отводом теп-
лоты от расплава металлическим кокилем, сравнительно небольшое число зали-
вок при изготовлении в нем стальных и чугунных отливок.


Список использованной литературы:

Дриц М.Е., Москалев М.А.

Технология конструкционных материалов и материаловедение: Учеб. для

вузов. - М.: Высш. шк., 1990. - 447 с.: ил.

Солнцев Ю.П., Веселов В.А., Демянцевич В.П. и др.

М.: Металлургия, 1988, 512 с.

Оценить/Добавить комментарий
Имя
Оценка
Комментарии:
Делаю рефераты, курсовые, контрольные, дипломные на заказ. Звоните или пишите вотсап, телеграмм, вайбер 89675558705 Виктория.
22:31:58 13 октября 2021
Если Вам нужна помощь с учебными работами, ну или будет нужна в будущем (курсовая, дипломная, отчет по практике, контрольная, РГР, решение задач, онлайн-помощь на экзамене или "любая другая" учебная работа...) - обращайтесь: https://clck.ru/P8YFs - (просто скопируйте этот адрес и вставьте в браузер) Сделаем все качественно и в самые короткие сроки + бесплатные доработки до самой сдачи/защиты! Предоставим все необходимые гарантии.
Вальдемар04:18:07 24 июня 2020
Привет студентам) если возникают трудности с любой работой (от реферата и контрольных до диплома), можете обратиться на FAST-REFERAT.RU , я там обычно заказываю, все качественно и в срок) в любом случае попробуйте, за спрос денег не берут)
Olya13:27:31 01 сентября 2019
.
.13:27:31 01 сентября 2019
.
.13:27:30 01 сентября 2019

Смотреть все комментарии (16)
Работы, похожие на Реферат: Литьё в кокиль

Назад
Меню
Главная
Рефераты
Благодарности
Опрос
Станете ли вы заказывать работу за деньги, если не найдете ее в Интернете?

Да, в любом случае.
Да, но только в случае крайней необходимости.
Возможно, в зависимости от цены.
Нет, напишу его сам.
Нет, забью.



Результаты(286392)
Комментарии (4153)
Copyright © 2005-2021 HEKIMA.RU [email protected] реклама на сайте