Рожков И.Я.
Рекламные кампании: особенности организации
РЕКЛАМНАЯ КАМПАНИЯ - это разработанный в соответствии с программой маркетинга комплекс рекламных мероприятий, направленных на потребителей товара, представляющих определённые сегменты (сегмент) рынка, с целью вызвать их реакцию, способствующую решению фирмой-производителем своих стратегических или тактических задач.
Программа маркетинга предполагает интеграцию действий фирмы-производителя, преследующей свои цели. Реклама в данной системе устанавливает обратную связь с потребительской аудиторией, позволяя не только преодолеть сопротивление рынка внедрению товара и давать о нем соответствующим образом подготовленную и направленную рекламную информацию, но и улавливать сигналы рынка, оперативно и адекватно реагировать на них. Таким образом, благодаря рекламным кампаниям обеспечивается взаимодействие товара с окружающей рыночной средой.
Во время проведения рекламных кампаний конкретизация отдельных мероприятий зависит прежде всего от маркетинговой стратегии, которая может выражаться, например, в захвате рынка в целом, его доли, сегмента; во внедрении в не занятую конкурентами «нишу»; в удержании захваченных ранее рыночных позиций. Учитываются также: маркетинговая инфраструктура; людские и технические ресурсы; уровень налаженности коммуникаций и снабжения информацией; характер экологии рекламно-информационной и маркетинговой деятельности.
Логику и направленность рекламных действий, выбор каналов рекламного информирования и, в конечном счете, успех рекламной кампании определяют четыре фактора, известные в западной литературе по вопросам рекламы как смесь маркетинга («marketing mix») или 4 р (табл. 4):
product (товар) - особенности и ассортимент товара, возможности его технического обслуживания и т.д.;
рriсе (цена) - цена, как таковая, платежные условия продажи, транспортных услуг;
promotion (содействие сбыту) - выбор мест продажи, каналов реализации, способ доставки, наличие товарного знака, упаковки, использование мероприятий, способствующих сбыту, реклама;
place (место) - географические и физические особенности процесса продажи.
Таблица 4
| Товар (product) |
Место (place) |
Цена (price) |
Продвижение товара (promotion) |
Качества
Свойства
Выбор
Стиль
Имя (бренд)
Упаковка
|
Распределение
География реализации
Размещение торговых точек
Престижность мест реализации
Достижимость мест реализации
|
Каталожная цена
Скидки
Распродажи
Рассрочка платежей
Кредит
|
Реклама
Персональные продажи
Сейлз промоушн
Паблик рилейшнз
Директ-маркетинг
Интегрированный маркетинг
Использование событий
Местный маркетинг
|
Представляется правомерным к этим факторам добавить еще одно «р» - people (люди) - кадры, формирующие и формулирующие цели, генерирующие идеи и реализующие рекламную кампанию, от которых в первую очередь зависит ее эффективность.
В зависимости от направленности, сроков проведения, географии, степени охвата рынка и использования видов и средств рекламной деятельности рекламные кампании можно разделить на следующие типы:
по направленности:
целевые (целевая группа потребителей),
общественно-направленные (широкие слои общественности);
по сроком проведения:
краткосрочные (до года),
долгосрочные (более года);
по географии:
местные (город, район),
региональные (часть страны),
национальные (в пределах страны),
международные (за пределами страны);
по степени охвата рынка:
сегментированные (один сегмент рынка),
агрегатированные (более одного сегмента),
тотальные (все сегменты);
по диапазону использования видов рекламной деятельности:
специализированные (один вид),
комбинированные (более одного вида),
комплексные (все виды);
по диапазону использования средств рекламной деятельности:
монокампании (одно средство),
поликампания (более одного средства).
На высокую эффективность рекламных кампаний производитель может рассчитывать лишь в том случае, если они, во-первых, подготовлены и проведены на основе предварительных исследований с учетом динамичной природы рынка; во-вторых, создана обоснованная, запоминающаяся и должным образом воздействующая на заранее выбранную потребительскую аудиторию рекламная продукция; в-третьих, направленность кампаний обеспечена достаточно широкой по объему публикацией в наиболее целесообразных для решения поставленных задач и учитывающих специфику рекламной аудитории средствах распространения рекламы; в-четвертых, мероприятия в разных местах и на разных уровнях сбытовой деятельности скоординированы. Этот комплекс условий возникает вне зависимости от того, рекламируется товар массового спроса или промышленного назначения.
В зависимости от фаз жизненного цикла товара меняются логика, ход и развитие рекламной кампании (рис. 15, табл. 5).
Табл.15
| Маркетинговые факторы |
Фазы жизненного цикла товара |
| Внедрение |
Рост |
Зрелость |
Спад |
| 1 |
2 |
3 |
4 |
5 |
| Позиция товара на рынке |
Сильная блакодаря новой конструкции дизайну), уникальным потребительским свойствам |
Товар модернизируется, появляются его разновидности с функциональными техническими особенностями. Достигается высокое качество. Появляются конкуренты |
Высокое качество товара сохраняется. Замедляется процесс модернизации товара |
Рынок начинают завоевывать конкурирующие товары более высокого качества с новыми потребительными свойствами. |
| Особенности производства и распределения товара |
Недозагруженность производства. Выпуск товара малыми и средними партиями. Высокая себестоимость. Использование специально выделенных каналов распределения |
Дефицит производственных мощностей. Массовое производство. Товарораспределение осуществляется по каналам массового сбыта. |
Некоторый избыток производственных мощностей. Применяются отработанные технологии. Товар выпускается партиями. Высокие затраты на распределение вследствие расширения ассортимента |
Значительный избыток производственных мощностей. Использование лишь некоторых каналов распределения |
| Условия конкуренции |
Конкурируют немногие фирмы |
Число конкурентов возрастает и становится значительным |
Наблюдается конкуренция цен. Увеличивается число конкурирующих товаров, замаркированных различными товарными знаками. |
Снижаются усилия производителя в конкурентной борьбе. |
| Цена товара и прибыль от его реализации |
Высокие цены. Низкая прибыльность в связи с ограниченным производством |
Цены снижаются незначительно. Высокие прибыли массовой реализации. |
Цены и прибыль падают. Устанавливается структура цен. Рынок разделяют конкурирующие фирмы. |
Низкие цены и прибыль (в конце фазы цены могут повыситься) |
| Поведение покупателя |
Покупатель инертен. Его необходимо убедить опробовать новый товар. |
Контингенты покупателей расширяются. |
Массовый рынок насыщен товаром. Потребитель склонен к повторным и многократным покупкам товара и предпочитает его конкурирующим товарам |
Покупатель хорошо знает товар и его конкурентов |
| Особенности рекламных кампаний |
Высокие объемы расходов на рекламные кампании относительно объема реализации товара |
Расходы на рекламные кампании несколько снижаются |
Сегментация рынка. Расходы на дополнительные рекламные кампании для осведомления потребителей о расширении ассортимента с целью продления его жизни на рынке. |
Низкие расходы на рекламные кампании |
Источник: Цзе К. Методы эффективной торговли. Опыт "лучшей фирмы года". М.: Экономика, 1983. С. 65-68.
Как же обеспечивается высокая эффективность рекламных кампаний в процессе их планирования, организации и проведения? Представляется необходимым учесть несколько факторов, прежде всего что рекламная кампания является комплексом мероприятий, распределенных в пространстве и времени. Так, кампания может быть рассчитана на несколько лет (в мировой практике известны случаи проведения рекламных кампаний в течение 20-25 лет) или краткосрочной - от нескольких месяцев до 2-3 часов. Независимо от сроков проведения каждая рекламная кампания включает в себя три основных этапа: подготовительный (планирование, разработка и подготовка к публикации рекламных материалов}; кульминационный (организация рекламных мероприятий) и заключительный (контроль и корректирование).
Очевидно, что любой, самый незначительный просчет в рекламной кампании, особенно с учетом постоянного удорожания труда и материалов, влечет за собой существенные издержки для рекламодателя. Их можно свести до минимума детальной проработкой сценария рекламной кампании и четким проведением подготовительных работ, в частности планирования.
Планирование учитывает ситуацию, складывающуюся вокруг товара на рынке, и предопределяет расходы на рекламу, которые, с одной стороны, диктуются оптимальным набором используемых видов и средств распространения рекламы, а с другой - объемом размещения рекламы, из которого исходят, устанавливая стоимость покупки места или времени для нее.
При планировании рекламных кампаний принимается во внимание, что успех рыночной деятельности зависит не только от удачной рекламы, но и от факторов, характеризующих товар: его потребительных свойств, цены и наличия аналогов на рынке. Непрерывное обновление товарного ассортимента приводит к сокращению жизненного цикла товара. В этих условиях требуются быстродействующие формы оповещения, наполнение рекламы действенными призывами, легко воспринимаемой информацией, сведениями о нововведениях.
Реклама товаров промышленного назначения в основном отличается от рекламы товаров широкого потребления средствами, методами и формами воздействия на потребителя. Факторы, предопределяющие это различие, сведены в табл. 6.
| Факторы |
Реклама товара промышленного назначения |
Реклама товара широкого потребления |
| Профессиональное знание товара рекламной аудиторией |
Обязательно |
Необязательно |
| Покупатели товара |
Малочисленные |
Многочисленные |
| Адресаты рекламного обращения |
Разнородные |
Однородные |
| Основа образа товара |
Фактические потребительные свойства |
Символ |
| Превалирующий тип аргументации |
Рациональный |
Эмоциональный |
| Основа рекламного воздействия |
Убеждение |
Внушение |
| Принятие решения о приобретении товара |
Коллективное |
Индивидуальное |
Для рекламы товаров промышленного назначения не нужен столь широкий диапазон дорогостоящих средств, как для товаров широкого потребления, для которых в рекламных кампаниях определяющими являются такие характеристики рекламной деятельности, как объем рекламирования и охват рекламной аудитории.
Рекламная кампания - это результат совместных согласованных действий рекламодателя (производителя или продавца товара) как заказчика рекламной кампании, рекламного агентства как создателя, организатора и координатора кампании и средства распространения рекламы как канала, доводящего рекламное обращение до потребителя.
Подходы к подготовке рекламных кампаний разнообразны. Вместе с тем в них можно выделить три главных направления: обеспечение комплексного подхода к рынку, ориентация творческих работ и выбор средств распространения рекламы. Позднее читатель узнает, как в результате моделирования и компьютерного расчета всего комплекса рекламных мероприятий оптимально взаимоувязываются целесообразность применения конкретных средств распространения рекламы; стоимость помещения в них рекламных материалов; охват рекламной аудитории по сегментам и регионам; стоимость контакта с одним потребителем; время; кратность и частота появления рекламы.
Учитываются практически все специфические факторы, имеющие место в различных регионах и на разных уровнях сбыта, а также сезонные колебания покупательской и деловой активности.
Если на подготовительной стадии, в частности при планировании, все же что-то не учитывается, то предусматривается возможность оперативно вмешаться в ход рекламной кампании и предпринять шаги к исправлению неблагоприятной ситуации, чтобы не допустить нецелесообразных расходов. Для этого осуществляется оценка эффективности рекламных мероприятий как в процессе, так и по результатам их проведения.
Эти оценки не являются точными, однако позволяют персоналу рекламного агентства и фирмы-рекламодателя судить о результативности кампании на определенном этапе или по ее завершении и быстро реагировать на неожиданности.
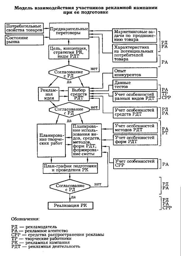
Модель взаимодействия участников рекламной кампании при ее подготовке представлена схемой на рис. 16

рис16
Особого подхода требуют широкомасштабные рекламные кампании, охватывающие несколько регионов, и особенно международные, осуществляемые за пределами России.
Участниками рекламных кампаний помимо рекламодателей обычно выступают рекламные агентства, расположенные на территориях, где проводится кампания, а также организации товаропроводящей сети - коммерческие агенты (национальные, региональные), дистрибьюторы, дилеры.
Различают три метода управления рекламными кампаниями: централизованный, децентрализованный и смешанный.
Под централизованным понимается управление, при котором стратегические, тактические и творческие решения принимаются в рекламном агентстве, которому утверждающий эти решения рекламодатель отводит роль центра управления рекламной кампанией. Филиалы этого агентства или местные рекламные организации в странах или регионах, где проводится кампания, лишь реализуют его решения.
При децентрализованном управлении решения принимаются автономно рекламными агентствами, осуществляющими рекламные мероприятия в странах, регионах.
Управление, при котором решения принимаются рекламными агентствами на местах, но согласуются с центром, называется смешанным.
В настоящее время на мировом рынке рекламы наблюдается тенденция ухода от централизованного управления с целью избежать неэффективных авторитарных решений.
Оптимальным вариантом считается тот метод управления, который снижает затраты на рекламу, осуществляемую сразу в нескольких регионах, и в то же время учитывает вариации условий сбыта на различных рынках.
При централизованном управлении появляется возможность выделить больше средств на предварительные исследования, скоординировать рекламные кампании производителя с рекламными мероприятиями его отделений и коммерческих агентов в различных районах. Основное достоинство этого метода - соблюдение во всех точках и на всех уровнях сбыта выработанной концепции рекламной кампании и единообразия визуального и текстового представления рекламы, обеспечение комплексности выполнения плана рекламных мероприятий.
Однако с увеличением степени централизации возрастает опасность, что планы рекламных кампаний будут оторваны от реальной действительности и не учтут в должной мере специфические условия сбыта на местах, где могли бы быть предприняты более обоснованные, а в случае необходимости оперативные либо корректирующие мероприятия.
При децентрализованном управлении отделения фирмы-производителя, а также его коммерческие агенты самостоятельно или через местные рекламные агентства создают отдельные рекламные программы, которые сводятся в общую программу, утверждаемую руководством фирмы. В этом случае учитываются специфические особенности сбыта в отдельных регионах. Вместе с тем подход к созданию таких программ в центре, отделениях и у коммерческих агентов различен. В результате рекламные кампании с трудом поддаются анализу и корректировке.
Принцип децентрализации целесообразен в случае дифференцированной товарной специализации филиалов, учитывающей частные изменения конъюнктуры рынка. В этом случае материнская фирма контролирует лишь уровень и суммы прибыли, а также окупаемость вложенных средств.
Филиалам и дочерним фирмам предоставляется возможность выбора рекламной политики, создания рекламных материалов, проведения рекламных кампаний. Однако эта свобода, как правило, ограничивается товарной рекламой и не распространяется на престижную рекламу, создающую образ материнской компании.
Положительная сторона децентрализации - быстрая реакция на новые веяния на конкретных рынках. Отрицательные стороны - большие затраты на исследования, предваряющие рекламные кампании, а также на разработку и подготовку рекламных материалов, поскольку выделяемые на эти цели денежные средства распыляются по отделениям, филиалам, коммерческим агентам.
В последнее время все шире применяется смешанный метод, когда в соответствии с планом-программой маркетинга определяются и формируются общие для самого производителя и его отделений и коммерческих агентов цели и задачи рекламной деятельности и соответственно рекламных кампаний, а конкретные программы рекламных выступлений разрабатываются на местах. Фирма-рекламодатель, нередко совместно с координирующим рекламным агентством, корректирует их, учитывая поступающие с мест предложения об ассигнованиях на рекламу, комплектует общую программу и утверждает направления рекламной деятельности.
Таким образом, смешанное управление рекламной кампанией сочетает элементы централизованного и децентрализованного управления и при известной гибкости позволяет обеспечить высокий уровень унификации рекламной продукции. С одной стороны, учитывается специфика отдельных рынков, а с другой - устраняются нежелательные последствия от неожиданных действий на местах, так как производитель контролирует рекламную деятельность своих отделений, филиалов, агентов. Формулируя цели рекламных кампаний, соответствующих общей стратегии корпорации, он в то же время помогает осуществлять их, поддерживая денежными средствами, и в случае необходимости предоставляет высококвалифицированные консультации, экспертизы, участвует в планировании рекламных кампаний. Страновым и региональным отделениям, дочерним и агентским фирмам позволяется самостоятельно решать вопросы, связанные с творчеством, выбирать средства распространения рекламы, планировать рекламные кампании в рамках выделенных бюджетов. Если производитель выбирает смешанный способ управления рекламными кампаниями, то он достаточно быстро реагирует на изменения конъюнктуры, но вместе с тем подвергается опасности, что расходы на рекламу на местах существенно возрастут. Поэтому смешанный способ управления рекламной деятельностью, как и централизованный, предполагает усиленный контроль за стоимостью рекламных кампаний.
Выбор метода управления рекламной кампанией в первую очередь оказывает влияние на возможности унификации рекламной продукции. Очевидно, что ее степень зависит от стратегии дифференцированного или недифференцированного маркетинга, определяющего подходы к воздействию на рекламную аудиторию. При недифференцированном подходе разработка рекламной идеи и производство любых исходных материалов - макетов, диапозитивов, логотипов, кино- и видеоверсий и т. д., - как правило, осуществляются централизованно в рекламном агентстве, с которым сотрудничает рекламодатель. Рекламное агентство планирует и по согласованию с рекламодателем публикует рекламу в общенациональных либо местных средствах ее распространения. В рекламные материалы на местах вносится лишь небольшая конъюнктурная правка.
Дифференцированный подход к рекламе требует значительных усилий. Обычно он применяется для товаров, содержание и форма рекламы которых (визуализация, тексты, музыкальное сопровождение) в значительной степени определяются спецификой различных сегментов потребителей. Учитываются не только ограничения, установленные местными регулирующими органами, но и различия, предопределенные образом мышления и традициями населения в регионах, подвергаемых рекламному воздействию.
Мы стали очевидцами, что в нашей стране многие образцы рекламной продукции, созданные за рубежом, оказываются чужеродными, не «ложатся» на менталитет россиян. Вот почему часто целесообразнее создавать рекламу силами местных агентств, которые получают от рекламодателя только исходные материалы, необходимые для ее разработки, подготовки и осуществления: характеристики товара, данные о его особенностях, потребительных свойствах и достоинствах, базовые рекламно-графические решения, например товарные знаки, методические указания, как применять элементы единого фирменного стиля и т.д.
Дифференциация потребителей и интеграция рынков, происходящие в одно и то же время, заставляют при осуществлении рекламных кампаний находить оптимальные решения возникающих проблем унификации рекламы.
Сложности рекламной деятельности возникают в момент, когда фирма, выступающая одновременно на нескольких рынках, пытается достичь высокого уровня эффективности. Это утверждение справедливо, когда рекламная деятельность осуществляется в международном масштабе на весьма отличающихся друг от друга рынках различных стран.
Современная технология рекламной деятельности позволяет совместить узкую целевую направленность с разнообразием рекламного представления на разных рынках и найти выход из ситуации, когда рекламодатель стремится унифицировать и таким образом удешевить рекламную продукцию, в то время как специфика рынков требует отдельных, существенно отличающихся друг от друга решений, что ведет к ее удорожанию.
Решаются и такие проблемы, как преодоление социальных, культурных и организационных барьеров при работе с зарубежными коммерческими и рекламными отделениями и агентами, различий в национальных укладах, конечных целях деятельности.
При проведении комплексных рекламных кампаний большое внимание уделяется их координации, т. е. согласованию по времени, географии охвата и целевой направленности отдельных мероприятий, составляющих комплекс. Такая координация осуществляется между рекламодателем, его филиалами и коммерческими агентами в различных странах и регионах рекламным агентством, обслуживающим рекламодателя, и другими организациями, участвующими в проведении кампаний.
В координации заинтересованы все участники. Производитель товара нуждается в грамотной и современной поддержке рекламной кампании своими коммерческими агентами в странах, регионах и районах сбыта, а коммерческие агенты и субагенты соответственно меньше тратят на рекламу на местных рынках, потому что в результате общенациональных кампаний потребители в какой-то степени уже подготовлены к восприятию новых товаров.
Каждая фирма, организуя достаточно масштабную рекламную кампанию, стремится уменьшить коммерческий риск. Практически всегда предусматривается пробный этап, задача которого ознакомить участников с особенностями и концепцией как мероприятия в целом, так и отдельных рекламных материалов, получить оценку, а также мнения и предложения, дающие возможность внести поправки с учетом особенностей отдельных рынков либо звеньев сбытовой сети. Практикуются занятия со специалистами, вовлеченными в кампанию, на таких занятиях они информируются о времени проведения кампании, получают рекомендации, как обеспечить поддержку новому товару в этот период. Так, при сбыте сложного наукоемкого промышленного оборудования рекламные мероприятия координируют с деятельностью по персональным контактам агентов по продаже. Этот метод весьма эффективен, если стоимость реализуемой техники достаточна высока.
Показательно, что западные фирмы не только стремятся найти прогрессивные организационные формы и оптимальную систему финансового контроля рекламной деятельности коммерческих агентов, но и помогают им в подготовке и распространении рекламных материалов, кооперируются с ними при организации кампаний. Такая политика позволяет максимально мобилизовать местные ресурсы и знания и одновременно следить за развитием событий, активно вмешиваясь при первой же угрозе необоснованного распыления средств. Кооперацией при крупномасштабной рекламной деятельности является совместное долевое участие (материальное, интеллектуальное, техническое) фирмы-рекламодателя, а также ее филиалов и коммерческих агентов в отдельных странах и регионах при проведении рекламных кампаний.
В промышленно развитых странах практика координации и кооперирования при проведении рекламных кампаний отработана и технически, и юридически. Рекламные кампании постоянно усложняются, и с ростом их стоимости большинству фирм, даже наиболее крупным, приходится работать в рамках жестко ограниченных рекламных бюджетов.
С непрерывным ростом расходов на рекламу для любого рекламодателя естественно желание получить максимальную отдачу от затраченных средств при минимальных удельных издержках на обработку рекламной аудитории. Добиться этого удается главным образом широкими масштабами кампаний. Чтобы экономить, нужны денежные средства. Из этой парадоксальной ситуации, как правило, находят выход лишь крупнейшие рекламодатели.
Что касается конкретизации объемов ассигнований на рекламные кампании, существует несколько методов их определения: фиксированного процента, соответствия рекламным затратам конкурента, максимальных расходов, «цели-задания» и максимального дохода.
Метод фиксированного процента основан на том, что рекламодатель, намеревающийся провести рекламную кампанию, планирует на рекламные цели определенную долю своего бюджета, основываясь на предполагаемом или реальном обороте, доходе или прибыли.
Метод соответствия рекламным затратам конкурента реализуется путем систематического отслеживания рекламных действий наиболее опасных конкурентов и нейтрализации их действий собственными рекламными кампаниями, по возможности, такой же или большей интенсивности.
Метод максимальных расходов предполагает выделение рекламодателем на проведение рекламных кампаний максимума возможных в конкретной финансовой ситуации денежных средств.
Метод «цель-задание» реализуется с помощью предварительного формулирования целей рекламной кампании, конкретизации видов рекламной деятельности и средств распространения рекламы, а также объемов отдельных рекламных выступлений. Необходимая сумма определяется калькуляцией соответствующих работ с учетом существующих расценок и тарифов.
Метод максимального дохода основывается на сопоставлении затрат на рекламу с доходами, полученными в результате подобных кампаний, и на нахождении такого их соотношения, при котором доходы оказываются максимальными.
Актуальной проблемой являются определение эффективности реальных кампаний и контроль результативности рекламной деятельности производителя или коммерческой структуры (в зависимости от того, кто выступает рекламодателем).
Вместе с тем ни в нашей стране, ни за рубежом до сих пор не найдена точная зависимость между суммами, затраченными на конкретные рекламные кампании, и их результатами из-за наличия множества побочных факторов. Например, трудно провести грань между действием рекламных мероприятий и результатом личных продаж, деятельности коммерческих агентов неожиданно возникших специфических условий реализации (сезонности, изменения цен и т. д.).
Большинство специалистов считают, что затраты на рекламу должны рассматриваться как неизбежные расходы продуцента реализуемых товаров, подобные расходам на исследования, обучение, оборудование, т. е. для достижения запланированного объема реализации необходимо поддерживать определенный, выработанный рыночной практикой процент отчислений на рекламу, зависящий от этого объема.
Тем не менее относительную эффективность рекламной кампании установить можно, во-первых, соотношением объемов продаж {в денежном выражении) или прибыли до и после проведения кампании и затраченной на нее суммы, а во-вторых, изменением процента информированности заданной рекламной аудитории о рекламодателе, его товарном знаке, продукции и услугах. В последнем случае эффективность рекламы оценивается тем, насколько она выполняет свою информационную функцию.
В обоих этих подходах к оценке эффективности рекламной деятельности содержится рациональное зерно, и их не следует противопоставлять друг другу. Эффективность следует рассматривать с позиции реализации целевых программ рекламодателя. Рекламой занимаются не столько для того, чтобы создать благоприятное отношение к рекламируемому предмету, сколько для того, чтобы содействовать достижению предпринимательской цели рекламодателя.
Реклама является лишь одним из инструментов, оказывающих воздействие на сбыт товара. Когда реклама не помогает сбыту, рекламодатель реагирует на создавшееся на рынке положение: активизирует работу продавцов, стремится к изменению цен, организует распродажу товаров, пытается воздействовать на условия предоставления потребительского кредита и т. д. Потому-то и следует производить оценку эффективности рекламы с учетом всего комплекса условий реализации, охвата всех факторов, оказывающих влияние на достижение цели рекламодателя. Оценка эффективности должка отражать положение товара на рынке, т. е. охватывать все факторы, способствующие или препятствующие реализации товара.
Для осуществления такой оценки американские специалисты рекомендуют резервировать порядка 5% сумм, ассигнованных на рекламные цели. Эти средства расходуются на анализ текущих результатов рекламных кампаний.
В области рекламы невозможно получить такую же точность измерения эффективности, как, например, при определении отдачи в результате оснащения производства новым оборудованием. Вместе с тем существуют методы, которые могут быть использованы для оценки рекламного процесса практически на каждом его этапе и позволяют рассчитывать необходимые дополнительные ассигнования на рекламную кампанию, а также корректировать ее направленность:
системное накопление и использование в работе писем и замечаний о ходе реализации товара от коммерческих агентов, а также потребителей, содержащих позитивную либо негативную реакцию на рекламную кампанию и выявляющих ее достоинства и недостатки; целенаправленный учет запросов на поставку товара или дополнительную информацию о нем, полученных после рекламной кампании, в результате чего устанавливаются количество запросов, причины их возникновения (рекламные объявления, выставки, устные сообщения и т. Д-) и такой важный для анализа эффективности рекламы фактор, как расходы на один запрос (этот путь дает возможность повысить эффективность последующих рекламных кампаний, используя технологию директ-маркетинга, путем формирования адресных листов, охватывающих сегменты потребителей, непосредственно заинтересованных в рекламируемом товаре); анализ появившихся в результате кампании по организации позитивного общественного мнения или выставочных мероприятий публикаций, содержащих информацию об отношении потребителей к рекламодателю, его товару, а также реакции рынка на совершенные им действия; обращение к специализированным исследовательским организациям, которые устанавливают число потенциальных потребителей, ознакомившихся с конкретной рекламой, степень ее запоминаемости и понимания содержащейся в ней информации.
В последнем случае учитывается, что путем рекламных кампаний, по сути дела, реализуется две стратегии: во-первых, создание осведомленности о предмете рекламы, создание или удержание его благоприятного имиджа (причем создать положительный или отрицательный имидж намного легче, чем потом его изменить) и увеличение продаж; во-вторых, удержание собственных клиентов, увеличение доли на рынке и объема рынка в целом.
Поэтому при анализе эффективности рекламных кампаний расходы на рекламу соотносятся с данными мониторингов исследовательских организаций - отслеживанием во времени показателей изменения отношения в целевой аудитории к товарам или брендам (рис. 17).

рис17
Ориентиры и индикаторы
В условиях рыночной конкуренции проведение серьезных рекламных кампаний без предварительного маркетингового анализа приводит к пустой трате денег.
Еще несколько лет назад в нашей стране лишь немногие из маркетинговых данных, широко используемых сегодня в рекламе, в весьма урезанном и малопригодном для анализа виде, можно было найти разве что в сборниках официальной статистики. Теперь практически любой достаточно крупный производитель изделий или услуг имеет собственную службу, где накапливается, обновляется и анализируется многоплановая информация, необходимая для успешной производственно-сбытовои деятельности, в частности рекламной.
Вместе с тем глубокие маркетинговые исследования этим службам не под силу, так как требуют высокого профессионализма исследователей, их специализации в разных направлениях аналитических работ, определенной инфраструктуры и больших материальных затрат. Но потребность в таких исследованиях заметно выросла, что привело к возникновению, усилению и профессиональному совершенствованию целого ряда исследовательских организаций, обслуживающих рекламную индустрию. Многие из них завоевали известность и авторитет, например Ромир - Гэллап Медиа, V-ratio, Росмедиамониторинг, Comcon-2, Russian Research, ВЦИОМ, НЭКС СВ и др.
Даже если оставить в стороне основные цели маркетинговых исследований - получить ориентиры в сбытовой деятельности и выполнить роль индикатора правильности действий, в том числе рекламных, в специфической рыночной среде, исследования дают и другие весьма ценные сведения. Они показывают начальные реакции на осуществляемые мероприятия, зарождение разнообразных процессов, помогают производителю и коммерческим организациям наладить обмен информацией с различными элементами рынка и собственных структур, приобщить к своим действиям специалистов разных уровней, получить сведения о результативности их действий, стимулировать поиск, выдвижение и оперативную проработку рабочих идей и замыслов, обеспечить внедрение новаторских предложений.
Чтобы не быть застигнутыми врасплох неожиданностями, столь частыми в условиях нестабильного рынка, производителям и коммерческим фирмам, решившимся на серьезные рекламные кампании, приходится изучать аналогичные ситуации, в которых оказывались их конкуренты, динамику рынка, прогнозировать его долгосрочные тенденции. Информация, получаемая в результате таких исследований, помогает не только выработать стратегию и тактику рекламных выступлений, но и создать рекламные обращения, которые можно использовать в течение длительного времени.
При формировании спроса на товары широкого потребления учитывается мнение общественности, а при создании интереса к закупке товаров промышленного назначения - соответствующих специалистов. Изучение этих мнений в неразрывной связи с конъюнктурой рынка представляет собой специфическую экономическую разведку, данные которой предопределяют стратегию маркетинга и рекламы как ее составной части. Исследования дают возможность выяснить индивидуальные и групповые склонности и предпочтения в местном, региональном или общестрановом масштабах, что позволяет не только обосновать направленность и географический охват рекламной деятельности, но и определить ее специфические особенности, контролировать ход кампании и в случае необходимости ее корректировать.
Вот почему при разработке рекламных кампаний используются самые различные маркетинговые данные - полученные непосредственно исследователями (первичные) и заимствованные из сторонних источников (вторичные).
Представляется уместным вспомнить, что существует два направления первичных исследований, которые дополняют друг друга, - количественные и качественные. Первые являются как бы формой, каркасом будущей комплексной аналитической работы, вторые позволяют наполнить этот каркас содержанием, обрести законченный, совершенный вид.
Количественные исследования основываются на измерении выборки определенного числа образцов, объединенных в категории по заданным признакам, благодаря чему в них выявляются интересующие исследователя общие свойства и устанавливаются в виде конкретных чисел или процентов их присутствие и удельный вес в каждой категории отдельно и их совокупности. Причем выборка должна быть такой, чтобы дать достаточно объективную картину, т. е. такую погрешность, которая удовлетворила бы тех, для кого эти исследования предназначены.
Качественные исследования похожи на работу врача, изучающего пациента и ставящего диагноз. Это работа с людьми, ее цель - понять их, узнать об их осведомленности о рекламируемом предмете (например, товаре определенного бренда}, знании его свойств и особенностей, отношении к нему, а также причинах этого отношения, связанных с ним ожиданиях, ощущениях, возможных реакциях. Исследователь получает информацию в результате персонального общения с потребителями, диалога с ними. Заранее известны тема и цели разговора, сформулированы основополагающие вопросы, но русло беседы ведущего - модератора с фокус-группой, т. е. с некоторым числом людей. схожих по тем или иным заданным признакам, больше зависит от них. Неожиданно возникают ракурсы, повороты мысли и ассоциации, которые дают новое видение рассматриваемой проблемы, генерируют нетривиальные идеи, достойные того, чтобы быть использованными в рекламе.
Автору довелось участвовать в работе с одной фокус-группой, состоящей из замужних женщин среднего возраста. Целью этой работы по заказу одной из производящих детергенты фирм было исследование отношения российских потребителей к стирке стиральными порошками. Во время дискуссии о чистоте белья возник вопрос, как она воспринимается. Появились версии: запах жасмина, чувство морозного утра, тактильные ощущения - белье хрустит под пальцами. Тема морозного утра потом была использована в телевизионном клипе.
Продолжительность таких бесед-интервью может быть полчаса, час, а то и пять-шесть часов в зависимости от обсуждаемой темы и глубины исследования. Получаемая информация, хотя обрабатывается статистически, как в случае количественных исследований, тем не менее не может претендовать на большую степень объективности, так как фрагментарна и по-своему интерпретируется исследователем. Поэтому такие интервью нередко фиксируются на видеопленку, что позволяет оценить многие нюансы межличностного общения, дающие дополнительную информацию об исследуемых членах фокус-группы, их искренности, психологических мотивах того или иного суждения, имеющих подсознательные или личностные причины. Модератор в таких исследованиях должен быть хорошим психологом, обладать талантом работы с коллективом.
Наиболее распространенной формой представления результатов первичных исследований как количественных, так и качественных является обзор, который осуществляется на базе данных, полученных после обработки анкет или опросов - очных, по почте, телефону. Обзор отличается гибкостью, относительно невысокой стоимостью и дает возможность получить ответы на широкий круг вопросов, тем более что при сборе и обработке данных одновременно осуществляются поиск и аккумуляция предложений, идей, замечаний по проблемам, интересующим заказчика исследований.
В настоящее время наблюдаются изменения целей и функций маркетинговых исследований. Эпизодические исследования, помогающие найти ответы на конкретные вопросы, стоящие перед рекламодателем, не дают достаточного количества информации для принятия радикальных стратегических решений. При ужесточающейся конкуренции производителям изделий и услуг приходится осуществлять постоянное отслеживание (мониторинг) рынка в целом с учетом всего разнообразия рыночных факторов. Только в этом случае появляется возможность реального перехода от тактического принятия решений к стратегическому. Если на базе эпизодических маркетинговых исследований осуществляется лишь краткосрочное стратегическое планирование сбытовой и как ее составляющей рекламной деятельности, то на основе постоянно функционирующей системы получения, анализа и применения маркетинговой информации появляются возможности разработки долговременных стратегических целей и задач, стоящих перед производителем или коммерческой структурой и создания концепции управления его или ее деятельностью с целью их достижения.
Указанную тенденцию иллюстрирует схема на рис. 18.

Рис. 18
Итак, чтобы спроектировать и провести эффективную рекламную кампанию, необходимо, и в настоящее время на российском рынке стало возможным, научно обосновать «отправные точки», определить оптимальные рекламные «ходы», средства, формы и методы их осуществления, проверить адекватность творческой продукции специфике каналов ее распространения и целевым группам потребителей, на которые реклама рассчитана, измерить степень и действенность рекламного воздействия.
Профессиональное рекламное агентство тем и отличается от непрофессионального, что имеет в своем распоряжении отработанную систему получения и целенаправленного применения достаточного для работы объема достоверной маркетинговой информации, которая становится инструментом планирования рекламных кампаний, используемым от фазы «мозгового штурма» до финальной фазы контроля результативности рекламных мероприятий. Об основных направлениях работы с маркетинговой информацией в ходе подготовки и проведения рекламной кампании дает представление схема на рис. 19.

Рис. 19
Сегодня при подготовке рекламных кампаний в основном обращается внимание на проблему оптимизации каналов рекламного информирования с целью получения наибольшей отдачи от затраченных на рекламу средств, однако представляются достаточно важными и другие направления, например предварительное тестирование рекламной продукции в фокус-группах, сформированных из представителей целевой аудитории.
Так как же на практике результаты маркетинговых исследований применяются в процессе подготовки, проектирования, проведения и контроля эффективности рекламной кампании? Начало этой многоэтапной работы обычно связано с созданием рекламным агентством концепции кампании, с примером формата которой можно ознакомиться в приложении 4. Логика концепции основывается на четко сформулированных маркетинговых целях рекламодателя, которых он стремится достичь с помощью рекламы, а также целях непосредственно рекламной кампании. И это не одно и то же. Если в первом случае оговариваются планируемые объемы реализации, их увеличение, завоевание определенной доли рынка и т. д., то во втором, в частности, степень информированности целевых групп о фирме-рекламодателе или товаре, изменение отношения к рекламируемому бренду.
И те, и другие цели должны быть обозначены конкретными величинами - суммами, единицами продукции, процентами, числом людей, чтобы иметь «планку», с которой можно было бы сверять результативность рекламных действий. И только после этого в концепции рекламной кампании логически обосновываются пути, средства, методы и формы достижения этих целей.
Рекламная концепция - это не только документ, научно и логически обосновывающий и детально формулирующий рекомендации рекламного агентства по подготовке, организации и проведению кампании, но и предмет обсуждения с рекламодателем в диалоговом режиме ее специфики и тактических шагов. С помощью концепции сверяются и сводятся взгляды сторон на существующие проблемы и пути их решения, достигается полное взаимопонимание. Отработанная и согласованная между ними концепция - это совместный плод деятельности и творчества партнеров, которые доверяют друг другу и максимально содействуют ее реализации.
Обычно этот утвержденный и принятый к реализации документ:
определяет количественные и качественные цели кампании; содержит раздел, выявляющий ее особенности, связанные с географией рекламной активности, спецификой рыночных условий, рекламируемого товара, целевых групп рекламного воздействия; учитывает факторы, способствующие или препятствующие деловой активности рекламодателя; устанавливает принципы достижения рекламной продукцией и рекламными мероприятиями адекватности восприятию целевой аудитории и ее мотивационным особенностям; обосновывает выбор видов, средств и методов рекламного информирования; конкретизирует оптимальные средства массовой информации, их рубрики, программы, выпуски и т. д.; дает перечисление необходимой рекламной продукции; устанавливает принципы организации и этапности рекламной кампании, обеспечивающие высокую эффективность мероприятий, реализуемых в ее рамках; определяет оптимальное содержание и целесообразную форму представления рекламной продукции (обосновывает рекламную аргументацию, субординирует ее по значимости, формулирует позицию на рынке и уникальное торговое предложение, описывает имидж, рекламную идею, предлагает варианты сло-ганов); включает медиаплан, расчет бюджета и план-график подготовки и реализации рекламных мероприятий.
Когда планируется рекламный бюджет, его приходится сопоставлять с ассигнованиями конкурентов, принимая во внимание их «раскрученность» на рынке и соотносить с амбициями и возможностями рекламодателя.
Рекламодателя, естественно, интересует, не только суммы денег на рекламу аналогичных товаров, которые тратят его основные конкуренты, но и как они распределяют свой рекламный бюджет по видам и конкретным средствам рекламы, каковы особенности их рекламных сообщений по форме и содержанию.
На эти вопросы помогут, например, ответить данные исследований таких организаций, как Росмедиамониторинг или НЭКС СВ, которые отслеживают рекламные трансляции и публикации. Так, Росмедиамониторинг фиксирует и обрабатывает с помощью компьютеров все рекламные объявления, транслируемые по каналам Центрального телевидения, дифференцируя их по группам товаров, брендам, рекламодателям, программам, времени и длительности показа, целям и особенностям рекламного представления (имиджевая или товарная реклама, краткое описание сюжета). Эта организация недавно начала активно заниматься и мониторингом рекламы в прессе, на котором уже несколько лет специализируется НЭКС СВ, ведущая постоянную компьютерную обработку около 80 наиболее рейтинговых газет и журналов, издаваемых в России.
В связи с тем, что аналитическая часть рекламной концепции содержит описание рекламной экология, т. е. препарирует результаты исследований рынка (конъюнктурного анализа), рекламируемого товара (конкурентного анализа), потенциальных потребителей (сегментационного анализа) и средств массовой информации (медиаанализа), в частности, большой практический интерес представляют собой результаты исследований, осуществляемых исследовательской организацией «Ромир-Гэллап медиа», приобретение базы данных и программного обеспечения которой, к сожалению, пока еще «по карману» лишь немногим крупным рекламным агентствам.
«Ромир-Гэллап медиа», в частности, проводит по современным западным методикам исследования двух типов - «Медиа и маркетинг индекс» и «Нэшнл ридершип сервей» (Национальный обзор читательской аудитории) в 30 основных регионах России. В результате определяются все связанные с выбором конкретных средств массовой информации показатели, необходимые для оптимального проектирования рекламной кампании и медиаплани-рования.
Работа с этими данными, полученными от 2000 респондентов в Москве и более чем от 6000 в регионах по схеме, обеспечивающей случайную и представительную выборку,' дает возможность ответить на вопрос: что собой представляют целевые группы рекламного воздействия, каковы их социально-демографический профиль, психологические особенности, предпочтения, ожидания, поведенческие стереотипы.
Информация, полученная от каждого респондента, содержащая сведения о его возрасте, поле, образовании, занятости, социальном и семейном положении, размере домохозяйства, семейном доходе, имуществе и т. д., подвергается компьютерной обработке, в результате чего формируется база данных, благодаря которой осуществляется профилирование потребительской аудитории по 18 демографическим показателям. Кроме того, эта база данных позволяет определить образ жизни представителей различных слоев населения, дифференцированных по сегментам потребительского рынка, - как они проводят свободное время, каковы их предпочтения, интересы, в том числе по отношению к различным средствам массовой информации, конкретным изданиям, программам, передачам.
Исследование «Медиа и маркетинг индекс» осуществляет сбор информации об использовании и приобретении товаров более чем на 1600 марок, представляющих свыше 270 товарных групп. Эта информация дает возможность профилировать пользователей данных товаров по демографическим характеристикам и потреблению средств массовой информации, создавать карты известности, предпочтительности и приобретения исследуемых марок среди этих пользователей. Анализируя такие карты, выявляют незанятые ниши на определенных товарных рынках.
Работая с компьютеризованной базой данных «Ромир-Гэллап медиа», специалисты рекламных агентств устанавливают, какие средства массовой информации на общенациональном или региональном уровне наиболее подходят для публикаций или трансляций рекламы, исходя из размеров и специфики их читательской, зрительской и слушающей аудитории, расценок на публикации или трансляции, конкретной ситуации, в которой происходит рекламное информирование. Оценивается популярность этих средств или отдельных передач среди разнообразного населения различных регионов, определяются их характеристики в качестве рекламоносителей. Наконец, устанавливаются отношение сегментов потребительского рынка, интересующих рекламодателя, к конкретной рекламной продукции, ассоциации, которые она вызывает у потребителей, реакция на нее. Эти данные позволяют оценивать эффективность рекламных кампаний, в том числе оперативно - в процессе их проведения, и вовремя вносить в них необходимые коррективы.
Таким образом, с приобретением базы данных и программного обеспечения создатели рекламных концепций и медиапланировщики получают солидный источник вторичной информации, позволяющий не умозрительно, а научно обоснованно проектировать рекламные кампании. Подобные базы данных теперь можно получить от ряда исследовательских организаций.
Максимум охвата, минимум расходов
Любой рекламодатель стремится к тому, чтобы провести рекламную кампанию с наименьшими для себя затратами и максимальным эффектом. Обычно денег на рекламу никогда не хватает, поэтому рекламному агентству приходится решать непростую задачу, условия которой - оптимальное расходование ассигнований на рекламу, а также размещение рекламных сообщений в таких средствах ее распространения и с такой интенсивностью и периодичностью, чтобы достичь наиболее возможного охвата целевой аудитории при максимальном воздействии на нее. Успешно решить эту задачу позволяет техника современного медиапланирования.
Соответственно медиаплан - документ, сформированный в результате компьютерного и профессионального экспертного анализа большого числа разнообразных факторов, - призван ответить на множество вопросов. Основными среди них являются следующие:
Какое число потенциальных покупателей следует охватить рекламным сообщением?
В каких конкретных средствах распространения рекламы следует разместить рекламные сообщения?
Сколько раз в месяц потенциальные покупатели должны их видеть?
Когда рекламе лучше всего появиться?
Какой регион или район целесообразно охватить рекламой? Сколько денег следует ассигновать на каждое средство распространения рекламной информации?
Как показывает зарубежный опыт, при медиапланировании обычно учитывается стратегия рекламодателей, предопределенная стремлением большинства из них получить максимальную прибыль в первые три года жизни товара на рынке, сохранить ее высокий уровень к концу третьего года, а далее держаться «на плаву» как можно дольше.
В ходе рекламной кампании основные затраты приходятся на закупку места или времени под рекламу в средствах массовой информации. Вместе с тем существенных вложений требует и производство рекламной продукции. Соотношение этих затрат зависит от специфики рекламируемого товара, а также выбранных средств распространения рекламы.
В среднем на производство рекламной продукции рекламодатели тратят порядка 10% рекламного бюджета, и эта доля колеблется в пределах от 5 до 15%, хотя, стремясь повысить эффективность рекламного воздействия, многие из них идут и на большие расходы.
Впрочем, большинство специалистов считают, что нет прямой зависимости между затраченными на производство рекламы деньгами и ее эффективностью. Предварительные тестирования рекламной продукции в целевой аудитории не могут доказать преимущества дорогостоящих работ перед достаточно дешевыми.
Определить, какие каналы рекламы, особенно в региональных кампаниях, более эффективны, также достаточно трудно. Например, большего эффекта можно достичь в региональной прессе вместо демонстрации видеоклипов в популярных передачах по Центральному телевидению потому, что местные телестанции отключают трансляции рекламы из Москвы и показывают рекламу собственных рекламодателей.
Чтобы постичь логику медиапланирования, необходимо понимать суть перечисленных ниже показателей, учитываемые при соответствующих расчетах1.
СРТ (cost per thousand) - стоимость рекламного охвата реальной, определенной исследованиями тысячи представителей зрительской или читательской аудитории либо населения в регионе рекламного воздействия средства распространения рекламы.
Rating- размер аудитории, процент населения, видевших, слышавших конкретную программу, читавших газету, журнал и т. д. в заданный промежуток времени (например, при 15% - 15, при 20% - 20). Средний рейтинг - сумма рейтингов, деленная на число публикаций либо трансляций рекламных объявлений.
GRP (gross rating points) - суммарный рейтинг - процент населения, подвергнутый рекламному воздействию, т. е. масса этого воздействия.
Например, за неделю: 2 ролика по 15 рейтингов - 30 GRP; 5 роликов по 10 рейтингов - 50 GRP; 2 ролика по 5 рейтингов - 10 GRP. Общий недельный GRP - 90.
TRP (target rating point) - целевой суммарный рейтинг - тот же GRP, но не для всей аудитории, а для целевой группы.
SHARE OF AUDIENCE RATING- доля тех, кто смотрит конкретную программу, среди тех, кто смотрит телевизор. Исчисляется как отношение рейтинга программы к суммарному рейтингу всех программ. С помощью этого показателя можно сравнить две программы, выходящие в различное время. Поэтому при измерении программы учитываются средний рейтинг и доля аудитории.
O.T.S. (opportunity-to-see) - возможность увидеть. Количество тысяч раз, которое данное рекламное объявление может быть увиденным (услышанным). Это - базовое понятие, лежащее в основе концепции медиапланирования и измерения аудитории. Данный показатель позволяет судить о числе людей, на которых реклама оказала свое воздействие, а не об их отношении к ней. Когда используется больше одного сообщения или средства распространения рекламы, O.T.S. эквивалентно сумме рейтингов в тысячах для всех сообщений (т. е. GRP). O.T.S. служит для сравнения количества контактов, которые достигаются в различных кампаниях.
NET-COVERAGE, NET-REACH- соответственно нетто-покрытие и нетто-достижение (потенциальное и действительное) части населения или целевой группы, с которой вступили в контакт с помощью одного рекламного сообщения.
ACCUMULATED NET-COVERAGE - аккумулированное нетто-покрытие - часть населения или целевой группы, с которой вступили в контакт с помощью нескольких рекламных сообщений в одном или нескольких средствах распространения рекламы, но с помощью только одного сообщения.
Существует два пути аккумулирования аудитории - с помощью повторных трансляций или публикаций в конкретном носителе рекламной информации либо определенной программе и комбинирование аудитории в нескольких носителях, программах и т. д., используемых как пакет каналов информирования в | комплексной рекламной кампании. В частности, для четырех телепрограмм указанный показатель рассчитывается следующим образом (табл. 7).
табл7
| Конкретные люди |
1 программа |
2 программа |
3 программа |
4 программа |
Всего |
1
2
3
4
5
6
7
8
9
10
Reach
|
+
+
-
-
-
-
+
-
+
-
40%
|
+
+
-
+
-
-
+
-
+
-
50%
|
-
-
-
+
+
+
+
-
-
-
40%
|
-
+
+
+
-
-
+
-
+
-
50%
|
+
+
+
+
+
+
+
-
+
-
80%
|
«+» - смотрел программу хотя бы один раз.
COVERAGE (покрытие) - обычно достигаемый процент целевой аудитории.
PROFILE или AFFINITY (профилирование), т. е. соответствие целевой группе. Дается в процентах как соотношение нетто-покрытия целевой аудитории к нетто-покрытию населения в целом.
FREQUENCY (AVEEAGE O.T.S.) - частота или средняя возможность увидеть (услышать) - среднее количество реально виденной (слышанной) рекламы из той, которую мог видеть (слышать) один человек. O.T.S. в тысячах делится на нетто-достижение в тысячах, т. е. данный показатель равен отношению потенциала к реальности. Его минимальная величина равна единице. Этот показатель используется для подсчета числа реальных рекламных контактов: приходящихся на одного человека, когда полагают, что потребитель отреагирует на рекламу только после некоторого числа контактов.
Понятие «frequency» родственно понятию «reach», но первое - мера повторения, второе - мера разброса.
F(frequency)=GRP/Reach
Это непростой для анализа показатель, так как представляет собой среднее, а не абсолютное число. Если F=l,9, один зритель мог данный ролик видеть в среднем 1,9 раза. Чем больше частота, тем меньше достижение.
Задача медиапланирования. как раз в том и состоит, чтобы, стремясь к максимальному достижению, иметь минимальную частоту.
Покупка происходит после 3-го, 4-го, ... 7-го и т. д. воздействия, причем обычно лучшие результаты достигаются при использовании различных каналов информирования - в различных средствах распространения рекламы.
СРТ O.T.S. или СРТ Exposures - стоимость тысячи воздействий. Этот показатель получают делением стоимости всей рекламной кампании на O.T.S.
СРТ Reach или СРТ Readers (Viewers/Listeners) - стоимость контакта с 1000 читателями (зрителями, слушателями).
CRP - cost per rating point - стоимость одного рейтинга. Этот показатель близок к СРТ, но считается иначе. CRP равен отношению стоимости одного ролика к рейтингу. Используется для оценки телерекламы.
Специалист, осуществляющий медиапланирование, должен владеть информацией, максимально отражающей особенности рекламируемого товара, рынка, на котором он реализуется, и потенциальных покупателей. По разработкам и рекомендациям ЭСО-МАР - международной организации, занимающейся проблемами маркетинговых исследований, создателей медиаплана целесообразно снабдить сформированным по нижеприведенной схеме кратким резюме (брифом), содержащим данные, представляющие собой ответы на следующие вопросы:
Стратегия
Что собой представляет товар, как используется, каковы его упаковка, цена, распространение, особенности торговых точек, сезонное снабжение?
Какие товары конкурируют с рекламируемым, в чем они схожи с ним?
Каковы особенности продаж рекламируемого товара, осуществленных в последнее время, а также его рекламы и что показали измерения эффективности рекламных кампаний?
Какие подобные действия были у конкурентов?
Какова позиция рекламируемого товара и рекламодателя на рынке по сравнению с позицией конкурирующих товаров и фирм?
Каковы маркетинговые, рекламные и коммуникационные цели и стратегии рекламодателя?
Бюджет
Существует ли медиабюджет (включая стоимость производства) и, если есть, какой? Или каким должен быть согласно расчетам? Если бюджет существует, разбит ли он по этапам, направлениям или другим особенностям рекламной деятельности?
Каковы допустимые пределы гибкости при работе с бюджетом?
Можно ли рассчитывать на тактический резерв?
Рассчитывает ли рекламодатель на получение дополнительных скидок?
График
Когда кампания должна начаться?
Каковы условия размещения заказов и соответственно предоставления материалов у выбранных средств распространения рекламы, существуют ли возможности отозвать заказы?
Когда кампания должна закончиться?
Каковы условия размещения и отзыва заказов у других (альтернативных) средств распространения рекламы?
Когда должны быть приняты решения о продолжительности кампании, формате, цвете передаваемых для трансляции или публикации рекламных материалов?
Когда должен быть представлен медиаплан?
Когда медиаплан должен быть утвержден рекламодателем?
Как рекламные мероприятия должны согласовываться с мероприятиями по стимулированию продаж?
Цели
На кого нацелена реклама? Каков демографический профиль целевой группы?
Есть ли определение этого профиля в данных, которые будут использованы при планировании? При продажах? При послерекламной оценке? Если нет, какое определение должно быть использовано?
Какие ценности, находящие отклик в целевой группе, повторяются и доминируют, а какие мешают максимальному охвату целевой аудитории?
Каковы предварительные оценки возможного усиления конкуренции, как его можно избежать?
Региональные особенности
Какова география продаж, торговых точек, возможностей развития коммерческой деятельности в регионах?
Как реклама может быть развернута на региональном уровне?
Сезонность
Каковы принципы недельного, месячного распределения рекламы в период рекламной кампании?
Будет ли в течение этого периода реклама пульсирующей, кумулятивной или смешанной?
Есть ли специальные дни, периоды, важные для рекламы? Насколько они ценны?
Творчество
Какие коммуникационные цели с точки зрения создания настроения, необходимости демонстрации чего-либо и т. д. преследуются?
Какие творческие возможности возникают из поставленных коммуникационных целей и какие средства распространения рекламы подходят для их реализации?
Для эффективного медиапланирования весьма полезно обратить внимание медиапланировщика и на другие - дополнительные данные.
Возможные средства распространения рекламы
Какие средства распространения рекламы очевидно соответствуют данному типу товара, расписанию рекламных акций, ситуации, региональным запросам?
Имеется ли выбор среди рекламоносителей с учетом времени и пространства их использования?
Доступны ли все выбранные средства и, если нет, какие из них? Каковы охваты целевой аудитории у различных средств распространения рекламы?
Каковы тарифы размещения объявлений во всех средствах распространения рекламы, представляющих выбранную целевую аудиторию, и реальные цены с учетом различных показателей, связанных с положением объявления на полосе, количеством публикаций, временем или программой трансляции и т.д.?
Имеются ли полномочия сделать выбор и твердый заказ на размещение? Если нет, каким образом эти полномочия можно получить?
Можно ли заранее оповестить средства массовой информации о том, какой товар будет рекламироваться, если нет, когда такая возможность будет?
Какие качественные факторы должны быть учтены, принимая во внимание стоимость публикации, рассчитанной на целевую аудиторию?
Какое влияние на выбор средств распространения рекламы окажут переговоры с ними?
Будет ли выбранное средство распространения рекламы полезно рекламодателю с точки зрения получения от него других услуг?
Исследования
Какие сведения о предыдущей кампании имеются в наличии?
Какие существуют свидетельства эффективности рекламы в различных средствах распространения рекламы на конкретном товарном рынке?
Какие данные о тестах концепций, имиджа и послерекламных тестах среди агентств и потребителей имеются в наличии?
Какие маркетинговые и творческие исследования планируются? Как кампания будет оцениваться до ее проведения и после?
Может ли во время исследований быть осуществлена оценка средств распространения рекламы?
Выбор средств распространения рекламы
Существует ли основная группа средств распространения рекламы или какое-либо одно главное средство?
Что будет, если весь бюджет будет истрачен на основную группу?
Насколько повредит кампании уменьшение расходов?
Приведет ли кампания в одной только данной группе к негативному результату?
Должны ли быть в этом случае использованы другие средства распространения рекламы и каковы будут расходы?
Какие критерии должны быть учтены при разработке плана-графика рекламы?
Особенности покупки рекламного места или времени
Были ли контакты с представителями средств распространения рекламы по вопросам получения максимальных скидок и какова будет результативность публикаций с учетом выбранных средств и возможных альтернатив?
Все ли виды скидок, предлагаемых рекламодателям, известны, принимая во внимание всевозможные расходы по каждому средству?
Достигнута ли с учетом рыночных факторов такая гибкость графика, чтобы иметь возможность получить максимальную эффективность от использования имеющихся в наличии средств распространения рекламы?
План-график не может быть умозрительным. Он должен объяснить, что, когда и почему выбирается или осуществляется. Обычно этот документ довольно обширен и содержит все рекомендации, которые дает агентство, полное объяснение выбора средств распространения рекламы и данные не только по рекомендованным, но и по отвергнутым с соответствующим обоснованием. В план-график включаются также данные анализов - финансового и показывающего, как то или иное средство охватывает в планируемой кампании целевую аудиторию.
Точного расчета, который стал бы реальным базисом для выбора средств распространения рекламы, не существует. Можно рассчитать в разумных пределах точности, сколько людей будет охвачено рекламной кампанией, какого типа будут эти люди. какова частота рекламы в различных средствах распространения рекламы оптимальна. Однако нельзя абсолютно точно сказать, что размещение рекламы в одном из них будет эффективнее или менее эффективно, чем в другом. Причина, в частности, заключается в том, что на этот показатель влияет, насколько удачны творческие решения, воплощенные в рекламной продукции, факторы сезонности, параллельные публикации или трансляции в других средствах массовой информации, уровень финансирования рекламной кампании и т. д. Что, в конце концов, выбрать лучше всего, подскажет опыт медиапланировщика.
Планирование рекламной кампании для массового товара имеет свою специфику. При ее подготовке медиаплан обычно формируется на финансовый год и обязательно принимается во внимание, были ли раньше реализация и реклама этого товара в регионе рекламной активности.
Главный вопрос: если выбрано основное средство распространения рекламы, какое еще или какие еще средства могут либо должны быть? Если модифицируется товар (например, туалетную бумагу стали выпускать цветной), возможно изменение средств распространения рекламы (в данном случае выбираются те, что передают цвет).
Другой вопрос: каков бюджет? Обычно при больших деньгах в качестве основного средства выбирают телевидение.
Телевидение считают более эффективным, хотя это не однозначно, что демонстрирует представленная на рис. 20 зависимость:

рис20
Определение частоты публикаций, трансляций - одна из важнейших проблем. При планировании рекламы в прессе обычно принимают во внимание два соображения: частоту выхода газеты либо журнала и частоту покупки товара. Естественно, в ежемесячных изданиях нецелесообразно публиковать объявления более 12 раз в год. Сколько же нужно? Правил нет! Считается, что в таких изданиях девять публикаций- уже интенсивная реклама. Но это неприменимо к ежедневным или воскресным изданиям. Там публикаций целесообразно иметь больше. Так, в воскресных газетах 39 публикаций в год (три квартала) считается интенсивной и достигающей кампанией.
Естественно, принимается во внимание и то, насколько часто совершаются покупки того или иного товара. Сигареты покупаются ежедневно, порошки для стирки - примерно раз в месяц, холодильники - раз в пять лет. Соответственно возникает и необходимость создания осведомленности и напоминания - реклама планируется с учетом этих факторов. Весьма показательна приведенная на рис. 21 кривая.

рис21
Для сравнения стоимости публикаций рекламных объявлений в газетах многие до сих пор традиционно пользуются теоретической единицей, называемой тарифом миллайн. Под ней понимается стоимость публикации одной расчетной строки рекламного текста в 1 млн экземпляров тиража. Эта величина рассчитывается путем умножения тарифа за расчетную строку на 1 млн и делением полученного результата на фактический тираж газеты:
М=Т*1000000/ФТ В этой зависимости М - теоретический тариф миллайн; Т - фактическая тарифная ставка; ФТ - фактический тираж.
Абсолютная величина тарифа миллайн обратно пропорциональна фактическому тиражу издания. Допускаются сравнения тарифов миллайн только для газет с сопоставимыми тиражами. Вместе с тем нельзя не заметить, что этот чисто количественный показатель игнорирует крайне важные для рекламодателей их качественные характеристики, такие как привлекательность редакционных материалов, качество полиграфического воспроизведения иллюстраций, специфика читательской аудитории и т. д.
Что касается рекламы по телевидению, многие крупные рекламодатели чувствуют себя некомфортно, если большинство целевой аудитории не видит их рекламы, по крайней мере, четыре раза в месяц. Чтобы достичь такой интенсивности, необходимо иметь еженедельно от двух до трех «пиковых» спотов или же достигать тех же рейтингов другими путями.
Практикуются разные подходы к решению задачи удержания необходимого уровня осведомленности потребителей, например проводятся кампании один-два раза в год по 9-недельному периоду либо раз в четыре недели в течение года демонстрируется 30-секундный спот.
Известна работа Зильске, поставившего классический эксперимент, установивший взаимосвязь между частотой демонстрации рекламы и осведомленностью рекламной аудитории. Приведенный на рис. 22 график, полученный исследователем, отвечает на вопрос: что эффективнее - организовать 13 показов за 13-недельный период (квартал) или же растянуть их на год. График показывает количество потребителей, вспомнивших объявление (вертикальная ось) в зависимости от количества его размещения в течение определенного времени (горизонтальная ось).

рис22
Впрочем, и эта зависимость не абсолютна. На запоминаемость рекламных объявлений влияют напоминающие факторы - упаковка, витрины, Вместе с тем большинство специалистов считает, что должной реализации товара без достижения соответствующего уровня осведомленности не будет. Эксперимент показал, что при еженедельной рекламе 30-процентная осведомленность может быть достигнута в течение четырех недель Этот уровень достигается четырьмя акциями и поддерживается (удерживается в памяти) не менее чем девятью акциями.
При проведении рекламной кампании приходится учитывать, что проникновение рекламного обращения в целевую аудиторию подчиняется закономерности, выраженной в графике на рис. 23; оно более эффективно в начальный период рекламной кампании.

рис23
Представление о том, какое телевизионное время лучше использовать для рекламы, дает график на рис. 24, показывающий, какой процент владельцев телевизоров в какое время суток проводит время у экранов телевизоров (естественно, цифры меняются в зависимости от времени года, состояния общества, событий, но в целом тенденция сохраняется).

рис24
Для радио аудитория слушателей обычно мала, поэтому для нужного ее охвата необходимо транслировать рекламу по нескольким программам. Многие слушают радио невнимательно, из-за чего нужны повторы, что возможно из-за относительно низких расценок на радиорекламу. Рекламная кампания с помощью радио считается интенсивной, если транслируется 30-50 слотов в неделю.
Что касается наружной рекламы, для нее существует показанная на рис. 25 зависимость между временем воздействия, числом установок, на которых размещена реклама, и охватом целевой аудитории.

рис25
Так что профессиональному медиапланировщику приходится многое знать и уметь. Неудивительно, что эта специальность у нас дефицитна и пользуется большим спросом.
Задача со многими неизвестными
Каждая рекламная кампания требует индивидуальных, соответствующих ее специфике решений. И тем не менее интересно проследить на конкретном примере, как она разрабатывается и реализуется, как происходит на практике работа с исходной маркетинговой информацией, какие принципы закладываются в основу проектирования плана-графика использования средств распространения рекламы, как анализируется эффективность идущей рекламной кампании, как она корректируется.
Хорошим примером может служить рекламная кампания, проведенная в Англии уже несколько лет назад. Однако дело не только в том, что она получила за свою исключительно высокую эффективность специальную премию, учрежденную британским Институтом практиков рекламы. Этот пример выбран потому, что опыт данной кампании для нашего рынка весьма актуален именно сегодня, так как ее целью были приватизация крупного государственного объекта и акционирование широких слоев населения.
Поэтому автор благодарен Н. Кеннеди, заместителю председателя правления Европейского отделения корпорации «Бэйтс/ Саатчи» и президенту Британского отделения Международной рекламной ассоциации, предоставившему ему материалы, рассказывающие об этой уникальной кампании, и разрешившему их опубликовать. Английские асы рекламы продемонстрировали настоящее искусство маневра, обойдя многочисленные политические, социальные и юридические препоны на пути к достижению поставленных целей.
Кампания, о которой идет речь, интересна тем, что предметом рекламы был товар без установленной цены, не появившийся в продаже, никем не рекомендованный и ранее нигде даже не упоминавшийся. Не было у нее и аналогов. Вместе с тем провал кампании стал бы катастрофой для целого направления государственной политики. Речь шла о возвращении национализированных предприятий в частный сектор.
Более того, размах приватизации, которую должна была обеспечить рекламная кампания, был беспрецедентным в глобальном масштабе: приватизировался Британский Телеком (БТ) - гигантская корпорация, специализирующаяся на телекоммуникациях.
Достижение должного эффекта рекламными действиями затруднялось целым рядом обстоятельств. Во-первых, население никогда не интересовалось Британским Телекомом. О нем вспоминали, лишь когда приходили счета за телефонные разговоры или когда линии передач портили красоты окружающего ландшафта либо в случаях вандализма, из-за которых невозможно позвонить из испорченного телефона в ситуациях, не терпящих отлагательств.
Во-вторых, Британский Телеком ассоциировался у большинства англичан с неповоротливым монстром - консервативным, плохо оснащенным, неприбыльным и бесперспективным, несмотря на то что корпорация была модернизирована и оснащена самым современным оборудованием, способным обеспечить услуги высокого качества и по конкурентоспособным ценам.
И в-третьих, что для нас удивительно, население Великобритании до реализации данной рекламной кампании было плохо осведомлено о механизме действия акций и о возможностях, которые перед ним открываются, когда оно их приобретает, совсем как в нашей стране в сегодняшних условиях.
Рекламная кампания должна была выполнять и обучающие функции. Тем более что предварившие ее маркетинговые исследования показали, что англичане предпочитают хранить деньги в сберегательных банках, доверять их трастовым или страховым фирмам, в конце концов даже распространенным в стране своеобразным «кассам взаимопомощи», но отнюдь не покупать акции. На это решалось лишь 6% населения.
Так что специализирующейся на маркетинговых коммуникациях английской компании, которой было доверено провести сложнейшую и по форме, и по содержанию рекламную кампанию, предстояло распутать целый клубок проблем.
Положение усугублялось еще и тем, что Этический кодекс рекламной практики, который в Великобритании неукоснительно соблюдается, запрещает рекламу акций. Да и правительство, проводя политику массового акционирования, хотело быстрых результатов и настаивало на краткосрочной кампании, длительностью всего в несколько недель, и убедить его в противном было весьма непросто.
Даже в процессе реализации кампании специалисты не знали, на какие рекламные ассигнования они могут рассчитывать. Вместе с тем этот вопрос лежал в основе переговоров со средствами массовой информации и от него зависели проценты предоставляемых скидок за объемы трансляций и публикаций.
Более того, рекламная кампания должна была погасить реакцию на организованные Комитетом Британского Союза Телекоммуникаций противодействующие решению о приватизации Телекома статьи в прессе, нагнетавшие среди населения страх чрезмерных цен за телефонные услуги, упразднения телефонов общественного пользования, потери специального сервиса для людей, оказавшихся в экстремальных ситуациях, мер, предусмотренных для облегчения обслуживания инвалидов.
Свой скепсис обнародовали и финансовые круги. Выражающая их мнение газета «Санди тайме» опубликовала статью под заголовком: «Страхи города в связи с катастрофой БТ».Исследования выявили интересную особенность рекламной аудитории: человек, думающий о приобретении акций БТ, должен ощущать, что он не одинок в своих мыслях. Реклама должна была дать ему возможность обсудить их с другими - в офисе, закусочной, магазине. И этот процесс «всенародного обсуждения» перспектив приобретения акций должен был стать повсеместным, охватывающим всю страну.
Реклама должна была стимулировать самые широкие слои населения разделять внушенный им энтузиазм, сеять уверенность, что мысль о покупке акций БТ обоснованна, верна и отражает интересы каждого.
«Мозговой центр» рекламной кампании разделил ее на три стадии: «пробуждение интересам, «поддержание интереса» и «побуждение к действию». Были сформулированы и их основные цели.
На первой стадии:
интенсивно, ярко и доходчиво известить о факте приватизации Британского Телекома; добиться такой формы подачи рекламной информации, чтобы она была доступна не только специалисту, но и любому обывателю; добиться широкой осведомленности и интереса населения; косвенно вызвать интерес финансовых кругов.
На второй стадии:
дать воздействующую информацию, позволяющую понять суть рекламного предложения; дать возможность людям воспринять и донести до себе подобных рекламное предложение; создать готовность к действию.
И наконец, на третьей стадии:
побудить население держать наготове наличные деньги, так как снятие их со счетов требовало бы некоторого времени; установить короткий, всего в восемь дней, период покупки акций и сделать так, чтобы ограниченность времени для «использования шанса удачи» была осознана всеми; вызвать чувство необходимости действовать быстро и решительно.
Как же все происходило? На первой стадии в рекламную продукцию было заложено косвенное пробуждение желания приобрести акции БТ, так как сказать об их продаже напрямую запрещалось. Были созданы редакционные материалы для телевидения, которые пропагандировали намерение правительства способствовать «народной приватизации», и это подавалось как событие национального значения. Так как постановление о приватизации было принято парламентом, стало возможным использовать этот факт и вывести проблему за рамки политических дебатов, усложнявших дело.
Кампанию в прессе открыли полосные объявления двух типов. Первый представлял собой серию объявлений, решенных в виде композиций из нескольких фотографий, на которых были изображены реальные люди в реальных ситуациях- представители самых различных слоев населения. Объявления сопровождались крупно набранной фразой: «Теперь каждый может разделить будущее Британского Телекома» и содержали возвратный купон, который можно было отправить для получения более подробной информации. Был также указан номер телефона, по которому давались ответы на возникающие вопросы - причем не от автоответчика, а от специалиста. Этот же номер был и на плакатах, которые в количестве 5000 штук были расклеены в самых разных уголках Англии.
Беем лицам, проявившим интерес, высылался солидный набор печатных материалов о корпорации, уже имеющихся ее акционерах и в этих материалах стало возможным назвать вещи своими именами и ознакомить население с условиями продажи акций.
Второй тип объявления был вариациями .на одну тему. Например, полосное изображение тракториста сопровождалось следующим активно выделенным текстом: «Если Вы можете водить трактор, Вы также сможете и разделить будущее Британского Телекома». И мельче: «Вы владеете чем-либо в Вашей стране? Думали ли Вы когда-нибудь стать владельцем чего-то существенного?»
На подобных же объявлениях были владельцы гаражей, магазинов, фермеры, домохозяйки и т. д. Отличались они лишь несколькими словами, чтобы соответствовать выбранным персонажам, и размещались в изданиях, рассчитанных на определенную аудиторию.
После четырех недель активного воздействия на массы кампания вошла во вторую стадию: народу была дана возможность проявить себя и обратиться за дополнительной информацией. Были сделаны и показаны в эфире интервью на улицах, в которых поднимались связанные с приватизацией вопросы, волнующие население. Согласно рекомендациям исследователей выбирались люди, имевшие сбережения около 1000 фунтов стерлингов. Персонажи телевизионной рекламы использовались и в рекламе в прессе. В редакционных материалах различных средств массовой информации рассказывалось о привилегиях, которые получали люди, первыми приобретающие акции, - скидках, дополнительных бесплатных акциях, вручаемых при больших объемах покупок, особых условиях для тех, кто не продаст приобретенные акции в течение трех лет. Публиковались понятные всем таблицы, демонстрирующие зависимость между числом приобретаемых акций и суммами скидок. Реакция населения постоянно отслеживалась, а вся рекламная продукция перед публикацией тестировалась.
На стадии «побуждения к действию», начавшейся за 10 дней до начала продажи акций, рекламная информация подавалась прямо и просто - говорилось о минимально возможной сумме сделки и о том, сколько дней осталось на размышление.
Кампания была довольно длительной - 14 недель и достаточно гибкой. Специфика каждой целевой группы была принята во внимание, и практически каждый житель страны получил рекламную информацию, по объему, направленности и форме представления адекватную его уровню и миропониманию. Команда, организовавшая кампанию, и пресса тесно сотрудничали, что позволило оперативно вносить коррективы в соответствии с данными, получаемыми в результате постоянного мониторинга общественного мнения.
Чтобы реклама не наскучила населению, она была разнообразна, использовала разные средства распространения и все время вносила ощущение новизны, воздействуя на одни и те же сегменты рекламной аудиторию с разных сторон. Кроме того, умело использовались возможности каждого средства. Телевидение, например, создавало «волны» на стадии пробуждения интереса, и реклама в других средствах потом узнавалась. Свою лепту внес прием, именуемый «голос толпы». Использовался «музыкальный знак» - нергичная узнаваемая мелодия.
Малотиражные печатные издания позволили охватить небольшие, но очень важные сегменты рынка - финансовых экспертов, банковских менеджеров, юристов, которые, ознакомившись с механизмами приватизации и акционирования, могли бы давать рекомендации своим клиентам. Реклама дала возможность направить потенциальным покупателям акций Британского Телекома дополнительную, более широкую информацию.
А главное достижение - был изменен менталитет тех, кто не желал трогать свои деньги. Они стали убежденными инвесторами. Эмоциональное воздействие привело к рациональному результату - появились, по сути дела, народные акции государственной приватизации с малым риском, и они стали собственностью многих.
Цифры говорят сами за себя. В результате рекламной кампании в 1985 г. были получены запросы от 1,3 млн человек, к маю 2 млн купили акции, и только 450 тыс. их потом продали. В 1986 г. было уже 5,3 млн акционеров. Было запланировано получить за акции 4,2 млн фунтов стерлингов, получили более 16 млн. И владельцами акций стали в основном не «жирные коты», а люди «с улицы».
Газета «Сан» отметила «замечательный успех» кампании, а газета «Обсервер» охарактеризовала ее как «событие национального масштаба» и «выдающийся пример социальной инженерии».
Планка для «профи»
Рекламодатель стремится к наибольшей отдаче от средств, вложенных в рекламу. Цель же рекламного агентства - не только получить, но и удержать солидного клиента. Их «долгий и счастливый брак» возможен только при взаимном согласии и уважении, что встречается не так уж часто. Слишком много помех препятствует плодотворному сотрудничеству - психологических, организационных, технологических, кадровых.
В условиях резко обострившейся конкуренции на российском рекламном рынке представляется актуальным сформулировать принципы организации работы рекламного агентства, соблюдение которых способствует достижению высокой прибыльности и развитию коммерческой деятельности обеих сторон, а следовательно, удовлетворенности друг другом.
Для этого придется обратить внимание на очевидный факт, который выпадает из поля зрения большинства специалистов, работающих в рекламе: рекламное агентство выполняет в рыночной среде сервисные функции, выступал в качестве фирмы, реализующей специальные услуги в сфере маркетинговых коммуникаций.
В специфической российской действительности, когда большинство рекламодателей ограничено в средствах, привлекательность рекламного агентства для потенциальной клиентуры в основном определяется суммами, которые берутся за рекламные услуги, а отнюдь не качеством работ и результативностью рекламных кампаний.
Вместе с тем радикальные изменения, происходящие на российском рынке, в том числе в сфере маркетинговых коммуникаций, позволяют прогнозировать сценарий его развития, аналогичный имеющему место в ведущих странах. В ближайшее время основным фактором, привлекающим и удерживающим клиентов, станет профессионализм обслуживающей их фирмы, гарантирующий им получение существенных экономических выгод от сотрудничества с ней.
Для рекламного агентства профессионализм определяется современными менеджментом и оборудованием, технологией и методиками, позволяющими осуществлять услуги высокого качество, и требуемого ассортимента.
Агентству целесообразнее получить и удержать не большее число клиентов, а тех, кто обеспечивает значительные объемы работ. Когда эти работы требуют комплексного подхода, а также высокого концептуального, творческого и технологического потенциала исполнителя, только «профи» могут рассчитывать на заинтересованность солидных клиентов в установлении и углублении долгосрочных взаимоотношений с ними и соответственно на высокую прибыльность своей коммерческой деятельности.
Для профессиональных агентств исключено спонтанное развитие. Вместо характерного для многих российских предприятий «плавания по течению» они предпочитают развиваться в соответствии с долгосрочными бизнес-программами, ориентированными не на получение сиюминутных выгод, а на достижение соответствия своей деятельности потребностям и ожиданиям клиентуры, в том числе путем необходимых инвестиций.
Чтобы добиться доверия клиентов, приходится расти вместе с ними, способствовать прибыльности и росту объемов их коммерческой деятельности. То обстоятельство, что сегодня большинство потенциальных клиентов пока еще предпочитают фрагментарную работу с теми, кто способен решить в короткие сроки конкретные проблемы, не имеет значения. Ситуация быстро меняется.
Маркетинговые задачи любой сервисной фирмы - не только рекламной - обычно решаются по двум направлениям: обеспечение высококачественных услуг и создание ресурсов - материальных и кадровых.
В западной литературе распространена формула ЗЕ (expertise - экспертиза, experience - опыт, efficiency - эффективность), определяющая профессионализм, деловые качества и привлекательность для клиентов сервисной фирмы.
Конкурентоспособность рекламного агентства как одной из ее разновидностей не формально, а реально зависит от опыта, знаний, умения его персонала (в том числе обладания ноу-хау, способности осуществлять консультирование, экспертизу), что предопределяет высокое качество исполнения работ.
Формула ЗЕ - стратегическая основа организации, управления и развития рекламного агентства. Она помогает выбрать его позицию и уникальное торговое предложение, предъявляемое рекламодателям. Профессиональные агентства стремятся создать действенную систему привлечения и удержания клиентов. Каковы же ее принципы?
Принцип первый: наглядность возможностей. Чтобы выбрать рекламное агентство, рекламодатель должен убедиться в его концептуальной и творческой состоятельности. Этому способствует тщательно отрежиссированный спектакль - представление специально отобранной, систематизированной и оформленной коллекции образцов концепций рекламных кампаний, творческих разработок, рекламной продукции.
Презентация этих материалов особенно впечатляет, если они служат наглядным доказательством, что агентство «чувствует себя как рыба в воде» не только в рамках обычной рекламы в средствах массовой информации, но и в пока еще мало развитых в нашей стране направлениях рекламной деятельности: создании фирменных товаров (брендинге), директ-маркетинге, кросс-культурных коммуникациях и т. д.
Рекламодатель должен убедиться и в том, что агентство владеет современными информационными и техническими средствами, а также приемами научно обоснованного проектирования кампаний и медиапланирования, отличается высоким творческим уровнем, оптимальным управлением, что в результате обеспечивает высокую результативность рекламных мероприятий при оптимальном расходовании выделенных на них средств.
Такая информация лучше воспринимается, если исходит от специалиста, обладающего способностью к межличностному общению и навыками в этой области. Он должен уметь убедительно объяснить преимущества и факторы эффективности новых подходов, предъявить аргументированные доказательства опыта и талантливости сотрудников фирмы, включая послужные списки, примеры достижений и исполнения конкретных интеллектуальных и творческих работ, персонально представить наиболее ценных сотрудников.
Принцип второй: профессионализм должен демонстрировать себя сам. Обычно он оценивается клиентами лишь по готовой продукции. При первых контактах с рекламным агентством клиенты часто не относятся серьезно к уникальным знаниям и умениям персонала агентства, пока не убедятся в его реальном стремлении достичь максимальной эффективности рекламной кампании. Поэтому необходимо отработать систему презентации своих возможностей с помощью работ, ранее сделанных для других, причем особое внимание уделяется адекватности демонстрирования возможностей рекламного агентства восприятию и ожиданию клиентуры.
Принцип третий: максимум открытости и доброжелательности. В связи с тем что клиенты не могут отличить высокий профессионализм от обычной компетентности и основное внимание уделяют внешним признакам качественного обслуживания, а не его глубине и серьезности, им импонируют доступность, благожелательность, правдивость, доверительность, спокойные отношения, уверенность. Эти качества рекламное агентство активно внедряет в свой коллектив, культивирует в нем и постоянно предъявляет тем, с кем налаживает или уже наладило деловые отношения.
Убедить клиента весьма непросто. Желаемые результаты зависят не только от опыта и знаний сотрудников рекламного агентства, но и от их способностей вести переговоры. Отсюда четвертый принцип: к переговорам допускаются только те, кто на это способен. Обычно их ведут специалисты, владеющие искусством межличностного общения, соответствующим образом тренированные, мотивированные и приученные к тому, что каждые серьезные переговоры, включающие элементы презентации, детально репетируются, а их ключевая аргументация прорабатывается с учетом индивидуальных особенностей клиента.
Пятый принцип: клиента необходимо заставить поверить s рекламную кампанию, стать ее энтузиастом. Рекламодатель, как правило, инстинктивно боится усложнений, связанных с профессиональной отработкой рекламного проекта. Тем более важно стимулировать его интерес, приветствовать тесное сотрудничество со специалистами агентства, даже непосредственное участие в работе, тем самым добиваясь доверия, желания способствовать успеху.
Особое внимание обращается на представление клиентам уникальных знаний, умений и способностей, а еще лучше талантов отдельных членов коллектива, являющихся важными аргументами, привлекающими заказчиков. Рекламная фирма не может быть лучшей во всех отношениях, поэтому нужно показать высокий уровень тех работ, на которых она специализируется.
Сотрудников агентства, контактирующих с заказчиками, целесообразно вооружить аргументами, на основе которых потенциальный заказчик осуществляет выбор обслуживающего его агентства: наличие привлекательных предложений и идей, обоснованность и экономность трат ассигнованных средств, открытость и вместе с тем конфиденциальность во взаимоотношениях, наличие наибольшего технического потенциала или лучших профессиональных сил в определенной области, широкий ассортимент услуг и возможность комплексного обслуживания.
Рекламное агентство не может не уделять постоянного внимания совершенствованию организации своей деятельности. Практика показывает, что с ростом агентства усложняется управление им, наблюдается обюрокрачивание, увеличивается число отделов, между ними возникают противоречия и напряжение, нарушается производственный процесс, особенно при технологически необходимой передаче работы от одного отдела к другому, возникает внутренняя конкуренция.
В таких условиях целесообразно ориентироваться на гибкий неформальный менеджмент. Его суть в самостоятельной работе индивидуально подобранных команд, состав которых соответствует специфике конкретных работ, в которых «все равны» и которые направляются модераторами, умеющими мотивировать отдачу каждого члена команды, гасить конфликты, находить компромиссы. В лучших зарубежных рекламных агентствах такая организация обеспечивает экономическую стабильность, рост объемов заказов и высокий уровень исполнения, оптимальные соотношение и взаимоотношения сотрудников, стоящих на разных ступенях должностной иерархии, прочность и доброжелательность их связей с клиентами. Создается баланс, демонстрируемый схемой на рис. 26:
В данной пирамиде (высший уровень - «добытчики заказов», средний - «концептуалисты» и нижний - «мастера») наибольшую ценность с точки зрения перспективности рекламного агентства представляют молодые талантливые кадры, достойные должностного роста (перевод на более высокую должность следует осуществлять через каждые 4-5 лет после соответствующего тренинга и ни в коем случае нельзя допускать, чтобы молодежь «засиживалась»).
Ключевая функция менеджеров: способствующие нормальной деятельности исполнителей объективные и благожелательные учет и контроль их загрузки, а также качество работ, организация труда и осуществление его оплаты, соответствующей уровню и срокам исполнения заданий.
Работа команды основывается на оптимальном сочетании специалистов, условно называемых «мыслителями», «экспертами» и «аккуратистами». Первые являются движущей силой, «мозговыми центрами» проектов, вторые вносят технологические знания и используют опыт аналогичных или похожих ситуаций и работ, в которых участвовали или с которыми встречались ранее, третьи доводят продукцию и технологическую дисциплину до состояния, исключающего нежелательные «сюрпризы».
Еще один ключевой вопрос - обеспечение высокой прибыльности рекламной деятельности. Особую сложность этой проблеме придают прогнозы об увеличении в недалеком будущем числа агентств, представляющих высокопрофессиональные услуги, в связи с чем ожидается долгосрочная общая тенденция уменьшения нормы прибыли и «удвоение» целей конкурентной борьбы - за клиентов и за признание уровня своего высокого профессионализма (основного критерия выживания и прибыльного функционирования).
Прибыльность рекламного агентства зависит от многих факторов. Во-первых, значительную роль играет его насыщенность требующими должной оплаты квалифицированными и уникальными специалистами различного профиля. В штатном расписании следует, учитывая объемы конкретных работ, выполняемых агентством, четко определить необходимое количество таких специалистов и соотношение с количеством непосредственно не участвующих в выполнении заказов менеджеров, а также обслуживающего персонала, которое должно быть минимальным.
Во-вторых, наличие системы постоянного контроля интенсивности труда исполнителей, выражающейся в оплаченных соответственно уровню профессионализма часах занятости.
В-третьих, тариф, взимаемый с заказчика за час работы исполнителя. Ведь доходность проектов зависит от процента стоимости работ, оплаченной исполнителям в счете, оплаченном клиентом.
Маржа прибыли - минимальный для поддержки нормального функционирования фирмы уровень прибыльности выполняемых ею работ в целом и по отдельным направлениям - для профессионального агентства существенно выше, чем для непрофессионального, работающего в маргинальных условиях.
Теперь о том, как профессиональному рекламному агентству целесообразно работать с кадрами. Высокая производительность и качество труда профессиональных, значит, знающих себе цену штатных и внештатных сотрудников достигается ими только в том случае, если организация работы коллектива стимулирует положительное и устраняет отрицательное влияние внутренних и внешних факторов, действующих на него в целом и на каждого его члена в отдельности.
Внутренние факторы - экономические, организационные, психологические - связаны с уровнем оплаты и премиями за качественную, а также срочную работу, моральной обстановкой и окружением, возможностью профессионального и должностного роста, профессиональной информированностью, престижностью контактов.
Внешние факторы - конъюнктура рынка профессиональной рабочей силы, уровень оплаты конкретных работ соответствующего качества, наличие конкурентных предложений.
Работа с кадрами требует максимальной деликатности. Поэтому руководству рекламного агентства целесообразно строить ее таким образом, чтобы персональные назначения и выбор членов команд решались коллективом и корректировались только в крайне редких случаях, когда нельзя нарушить баланс между решением сиюминутных задач и долгосрочной политикой.
Профессиональная рекламная фирма продает не время исполнения работ, а знания, умения, таланты, которые нужно растить, культивировать и подпитывать, поэтому работа с кадрами должна рассматриваться как долгосрочные инвестиции и поддерживаться ассигнованиями на организацию рабочих мест, тренинги, стажировки, персональные стимулирования тех работников, от которых зависят уровень и привлекательность фирмы.
Оценка менеджеров связана с их способностью находить, удерживать и стимулировать деятельность людей, в которых рекламное агентство особенно нуждается, - предвидеть, избегать и, в крайнем случае, улаживать недопонимания и недоразумения, личные конфликты, возникающие в коллективе. В идеале менеджер- это пользующийся авторитетом организатор, координатор и модератор деятельности профессионалов. Он должен уметь обеспечивать регламент и одновременно решать «хрестоматийные» проблемы: воспитывать и удерживать молодые амбициозные таланты, жаждущие немедленного признания, но способные «уйти на сторону»; нейтрализовывать людей, приносящих вред работе своим характером, поведением, некомпетентностью, исчерпавших свой потенциал, в особых случаях освобождаться от них; добиваясь понимания других членов коллектива, оценивать и стимулировать тех, кто приносит солидные заказы, вносит большой вклад в должное управление фирмой, поддержание и повышение ее профессионального уровня и конкурентоспособности, демонстрирует выдающееся качество работ; создавать в коллективе обстановку, по форме - партнерскую, по сути - тщательно рассчитанную возможность должностного и профессионального роста тех, кто этого заслуживает, обеспечивать им повышенный уровень оплаты труда, участие в прибылях, самостоятельность, повышение статуса, что решается с высшими руководителями или учредителями рекламного агентства.
В профессиональном коллективе, созданном на основе партнерского взаимодействия его членов, возникает принципиально новая, отличная от традиционной обстановка. Профессионалы, как правило, не хотят признавать власть и действовать «от имени и по поручению» руководителей, отторгают контроль и вмешательство в их деятельность, так как чувствуют себя более компетентными, чем кто бы то ни было. Эта особенность заставляет организовать работу фирмы так, чтобы профессионалы чувствовали себя в рабочем процессе экспертами высшей квалификации и действительно исполняли экспертные функции: клиенты нуждаются в правдивой и стоящей доверия информации, поэтому имеет смысл работать с профессионалами так, чтобы у них возникло ощущение, что они «могут все», имеют право на свое видение решения проблем и окончательное принятие решений не будет принято без учета их мнения.
Принципы управления профессиональными кадрами основаны на учете того факта, что психология знающих, умеющих, работоспособных людей часто входит в противоречие с производственной и технологической дисциплиной, необходимостью рутинных мероприятий. Вместе с тем профессионалы, как правило, с энтузиазмом относятся к получению новых знаний, интеллектуальной подпитке, творческой рабочей обстановке. Им требуются атмосфера соревновательности и роста, одобрения и поддержки работ и идей, признания их лидерства, привилегированности.
Чтобы эффективно управлять профессионалами, целесообразно четко (лучше в письменном виде) формулировать и регламентировать их задачи. Вместе с тем они чувствуют себя комфортнее, если вовлечены в процесс принятия решений, им не поручают рутинную работу, когда их деятельность разнообразна и они вознаграждаются за качественно выполненную работу. Последний фактор весьма существен, поэтому очень важно оговаривать долю оплаты участия профессионала в конкретной работе, в соответствующем бюджете, выделенном на ее исполнение.
Профессионалы, как правило, нетерпеливы. Дело только выиграет, если руководство фирмы снисходительно к их нетерпению и всегда имеет в запасе новые, интересные для них работы, предоставляет необходимые ресурсы для их качественного исполнения. Но не следует идти на поводу даже у самых талантливых, необходимо ограничивать разумными пределами их стремление к экспериментам, инновациям, рискам.
Принципы, которые целесообразно культивировать среди сотрудников рекламного агентства, в основном сводятся к следующему:
предложения по продвижению, повышению оплаты сотрудников должны в основном исходить из коллектива профессионалов; систематический контроль уровня качества выпускаемой рекламной продукции, ее сравнение с конкурентными образцами должны осуществляться самими исполнителями, для чего целесообразно создать внутренний экспертный совет, но иногда использовать и внешнюю независимую экспертизу; сотрудники должны ощущать стремление руководителей постоянно повышать качество работ и контролировать их себестоимость; руководителям целесообразно регулярно и демонстративно поощрять тех, кто исполнил задания на высоком уровне, полностью удовлетворив клиента и побудив его продолжить или расширить объемы работы с агентством; необходимо иметь резерв денежных средств на тренинга персонала - внутрифирменные и внешние (в стране и за рубежом), обращая особое внимание на уровень их профессиональной полезности и информационной насыщенности; поддерживать дружескую, «демократичную» рабочую обстановку, особенно в командах; перед принятием решений о производстве рекламной продукции регулярно проводить тесты творческих разработок в среде потенциальных потребителей; время от времени требовать от соответствующего персонала изложить свою точку зрения по возникающим проблемам; воспитывать в каждом исполнителе чувство контроля за целесообразностью расходов на своем участке в рамках общих отчислений на исполнение проектов.
В заключение...
После многих лет жалкого существования в условиях распределительной системы реклама нежданно-негаданно активно ворвалась в нашу жизнь, не оставив никого равнодушным. Большинству она не по душе, люди подозревают ее порой, к сожалению, обоснованно, в неискренности. Она бывает надоедлива, примитивна. Но странное дело, если раньше подростки, мечтая о том, кем же им быть в будущем, видели себя исключительно летчиками, космонавтами, врачами, инженерами, то сегодня многие из них заявляют, что хотели бы заниматься рекламой.
Реклама привлекает своим разнообразием, творческим поиском и находками, возможностями найти свое место в жизни каждому способному человеку. В рекламный бизнес устремились люди самых разнообразных профессий, и каждый из них уверен, что именно его взгляды и навыки позволяют делать хорошую рекламу, хотя, как мы уже убедились, она требует воистину энциклопедических знаний и совместных усилий специалистов разного профиля.
Еще несколько лет назад тем, кто начал заниматься в нашей стране рекламным делом, приходилось осваивать его азы. Сегодня же, при бурном развитии и ощутимом качественном росте отечественного рекламного дела, они столкнулись с необходимостью переосмыслить освоенное, найти новые ракурсы приложения своих сил, обрести новое видение. Поэтому повторять в данной книге то, что известно всем, вроде бы было заведомо неприлично.
Вместе с тем автор стремился, чтобы книга была цельной. Поэтому в ней есть банальные фрагменты, без которых было трудно обойтись. Но критерий отбора материала был таким: он должен содержать только то, что полезно или любопытно тем, кто посвятил себя рекламному делу или интересуется им. Порой книга компилятивна.
Например, главы, посвященные истории рекламы, по сути дела, конспективное изложение теории Бодрийяра, положения которой очевидно заставляют по-новому подойти к современному рекламному творчеству. Но существенная часть книги - оригинальный материал, в том числе результаты осмысления автором в течение его более чем тридцатилетней рекламной практики и научной работы сущности и особенностей многих ипостасей рекламного дела, материалов многочисленных тренингов и конференций в России и за рубежом, в которых он принимал участие.
В одном из разделов книги автор намеренно довольно подробно рассказал о «доперестроечной» рекламе - феномене, еще мало изученном, но достойном внимания и должной оценки исследователей, и счел своим долгом перечислить тех, с кем трудился в то время и кто внес свою лепту в развитие рекламного дела в нашей стране.
Книга задумана как популярная. Но в ней много говорится о серьезных проблемах, новых подходах, современных ситуациях, в суть которых полезно вникнуть и профессионалу. Насколько она глубока и интересна - судить читателю. Впрочем, автор искренне надеется, что эта книга станет полезной отечественным рекламистам, а также тем, кто решит посвятить свою жизнь рекламному делу, и хоть в какой-то степени поможет становлению цивилизованного рекламного рынка в нашей стране.
|