МОСКОВСКАЯ ГОСУДАРСТВЕННАЯ АКАДЕМИЯ ТОНКОЙ ХИМИЧЕСКОЙ ТЕХНОЛОГИИ имени М.В. Ломоносова.
Отчёт о проделанной работе на тему:
«Реологические свойства САН и АБС пластиков».
Выполнил: студент гр. ПМ-46
Карбушев Валерий Валерьевич
Москва 2003
РЕОЛОГИЧЕСКИЕ СВОЙСТВА ПОЛИМЕРОВ В ВЯЗКОТЕКУЧЕМ СОСТОЯНИИ.
Текучее (жидкое) состояние веществ характеризуется их способностью к развитию необратимых деформаций, обусловленных взаимными поступательными перемещениями частиц (чаще молекул). Механические свойства текучих систем изучает область механики, называемая реологией. Реология полимеров устанавливает связи между напряжениями, деформациями и скоростью развития деформаций при различных температурах, режимах деформирования и для текучих полимеров различного химического строения и различных молекулярных масс. Знание таких зависимостей необходимо для создания и совершенствования процессов переработки полимеров путём формования их растворов или расплавов.
ПАРАМЕТРЫ, ХАРАКТЕРИЗУЮЩИЕ РЕЖИМЫ ТЕЧЕНИЯ ПОЛИМЕРОВ.
Стеклообразные полимеры проявляют текучесть при температурах выше температуры стеклования, кристаллические переходят в текучее состояние при температурах выше температуры их плавления. Под действием внешних сил у полимеров в текучем состоянии возможно необратимое направленное перемещение макромолекул, относительно друг друга, без нарушения целостности тела. У неструктурированных полимеров этот процесс течения не сопровождается разрывом химических связей, если энергия, необходимая для необратимого перемещения макромолекул, существенно меньше энергии химических связей. Такое течение называется физическим, в отличии от химического, сопровождающееся разрывом химических связей и, следовательно, молекулярного веса полимера.
При течении всегда наблюдается необратимая деформация. Иногда она называется пластической. Для высокомолекулярных соединений характерно наложение на деформации течения высокоэластических, обратимых деформаций. Этим такие соединения отличаются от низкомолекулярных жидкостей. Высокоэластические деформации всегда ограничены по величине, тогда как необратимые деформации у полимеров в текучем состоянии могут нарастать во времени неограниченно. Между высокоэластическим и текучим состоянием высокомолекулярных соединений чёткая граница отсутствует. Неструктурированные полимеры могут течь и в высокоэластическом состоянии. Способность к высокоэластическим деформациям снижается у полимеров с уменьшением молекулярного веса и с повышением температуры. Текучее состояние, в котором определяющее значение приобретает способность к необратимым деформациям, достигается при повышенных температурах. При изучении реологических свойств полимеров основное значение имеют три простейших вида деформации: всестороннее сжатие, растяжение и сдвиг. Для полимеров в текучем состоянии наиболее важно их поведение при сдвиге. Представим себе мысленно в полимере две параллельные плоскости, которые сдвигаются одна относительно другой без изменения расстояния между ними. При этом происходит смещение относительно друг друга макромолекул, которые находятся на разных расстояниях от указанных плоскостей Это смещение тем больше, чем больше расстояние между ними. За меру деформации сдвига у принимают тангенс угла поворота прямой, которой до начала процесса деформирования определялось расстояние между плоскостями. Деформация -величина безразмерная. Скорость деформации (γ=dγ/dt) определяет изменение деформации во времени; она имеет размерность сек-1
.
Полимер оказывает сопротивление деформированию вследствие наличия межмолекулярного взаимодействия, а также вследствие изменения конформации макромолекул.
ПРОСТЕЙШИЕ СЛУЧАИ ДЕФОРМИРОВАНИЯ ПОЛИМЕРОВ. РАЗВИТИЕ
УСТАНОВИВШЕГОСЯ ТЕЧЕНИЯ.
Многие полимерные системы в текучем состоянии представляют собой упруго-вязкие тела, в которых существуют надмолекулярные структуры, обусловливающие проявление высокой эластичности. При деформировании всегда происходит их разрушение, сколь бы ни были малы напряжения и скорости сдвига. Экспериментально это разрушение отмечается только при достаточных напряжениях и скоростях сдвига, когда значительное число прочных структурных элементов не успевает самопроизвольно распадаться под действием теплового движения и происходит их принудительное разрушение под действием сдвига. Такому резко выраженному разрушению структуры предшествует более или менее значительное развитие высокоэластической деформации. Ему отвечает достижение критических значений высокоэластической деформации, касательных и нормальных напряжений. Переход через предельные значения касательных напряжений принято называть переходом через предел прочности. В отличие от твёрдых тел, у полимерных систем в текучем состоянии переход через предел прочности может не сопровождаться нарушением сплошности тела вследствие наличия у них большого числа легко разрушающихся и легко восстанавливающихся связей между структурными элементами.
Разрушение надмолекулярной структуры, сдерживающей развитие деформаций, вызывает релаксацию напряжений (структурная релаксация).
Структурная релаксация усиливается с увеличением напряжения и скорости сдвига. При задании постоянного режима деформирования структурная релаксация завершается достижением установившегося течения,
когда скорости разрушения и восстановления структуры полимерных систем становятся равными. Существуют два простейших случая деформирования и перехода от покоя к установившимся режимам течения.
Постоянное напряжение сдвига.
Основные особенности поведения полимерных систем при постоянных напряжениях сдвига показаны на рис. 1.

а б
Рис.1. Изменение деформации во времени при различных напряжениях сдвига:
а-низкое постоянное напряжение сдвига; б-высокое постоянное напряжение сдвига.
При относительно низких напряжениях сначала развиваются высокоэластические деформации, однако постепенно доминирующее значение приобретает течение без внешних признаков разрушения структуры. При более высоких напряжениях наблюдается S-образная зависимость деформации от времени. После достижения предельной высокоэластической деформации начинается интенсивное разрушение структуры, приводящее к увеличению скорости деформирования. Таким образом, кривые зависимости деформации сдвига γ от времени при достаточно высоких напряжениях сдвига имеют три участка. Протяжённость второго участка зависит от действующего напряжения. При высоких его значениях этот участок вырождается в точку.
Постоянная
скорость
сдвига.
Развитие напряжений и деформаций при постоянной скорости сдвига схематически показано на рис. 2. Общая деформация γобщ
складывается из высокоэластической γвэ
и остаточной необратимой деформации γост
. Зависимости σт
(γобщ
), σ(γобщ
) и γвэ
(γобщ
) имеют качественно сходный характер. Однако это не значит, что простым изменением масштабов величин σт
, σ и γвэ
зависимости σт
(γобщ
), σ(γобщ
) и γвэ
(γобщ
), получаемые при одинаковой скорости сдвига, могут быть совмещены. Особенно существенно различие между рассматриваемыми зависимостями при высоких скоростях сдвига.
Во-первых, у систем, проявляющих резко выраженную высокую эластичность, максимум нормальных напряжений может иметь значительно более высокое значение, чем максимум касательных напряжений.
 
Рис. 2. Зависимость касательного, нормального напряжения и высокоэластической деформации от общей деформации при различных скоростях сдвига: а-низкая постоянная скорость сдвига; б-высокая постоянная скорость сдвига.
Во-вторых, положения максимумов зависимостей σт
(γобщ
), σ(γобщ
) и γвэ
(γобщ
) отвечают всё более возрастающим значениям γобщ
, т.е. максимальное нормальное напряжение достигается при более высоких значениях общей деформации, чем максимальная высокоэластическая деформация, а эта последняя при большей γобщ
, чем предел сдвиговой прочности. Следовательно, предел прочности характеризует условия разрушения наиболее прочных (медленно релаксирующих) связей между элементами структуры, сдерживающих развитие высокоэластических деформаций. Высокоэластические деформации могут развиваться только до определённого предела. У полимерных систем в текучем состоянии они могут достигать тысяч процентов. Достигнув наибольшего значения, высокоэластические деформации начинают уменьшаться, что в свою очередь указывает на ослабление пространственной структурной сетки в результате её разрушения. Нормальные напряжения продолжают расти даже при некотором снижении способности полимерной системы проявлять высокоэластические деформации. Повышение температуры, во всяком случае для расплавов и концентрированных растворов полимеров, подавляет проявление высокой эластичности. Становится затруднительным или невозможным обнаружить у них критические (предельные) значения σт
, σ и γвэ
. При этом сильно ускоряется достижение установившихся режимов течения, протекание всех релаксационных процессов и ослабляется аномалия вязкости.
ВЯЗКОСТЬ.
Связь между скоростью и напряжением сдвига определяется законом Ньютона. Пользуясь введёнными выше обозначениями, его можно записать так:
σт
=ηγ'(la)
lgσт
=lgη+lgγ'(16)
где η - коэффициент пропорциональности, называемый вязкостью.
Её размерность г*сек-1
*см-1
;
эта
единица называется пуазом (пз).
Вязкость характеризует сопротивления полимера сдвигу, или его внутреннее трение. В зависимости от природы веществ и их температуры вязкость в текучем состоянии (газы и пары здесь не рассматриваются) может имеет значение примерно от 10-2
до 1013
пз. Вязкость полимеров изменяется от тысяч (для относительно низкомолекулярных) до 1013
пз соответствует переход жидкости в твёрдое стеклообразное состояние. При постоянных значениях температуры и давления значения вязкости, т.е. отношение напряжения к скорости сдвига, может не зависеть от режима деформирования. Среды, удовлетворяющие этому условию, называются ньютоновскими. К ним относятся множество низкомолекулярных жидкостей, При обычных скоростях сдвига течение в них не вызывает изменения структуры. Непрерывная перестройка её под действием теплового движения происходит настолько быстро, что внешнее воздействие на этот процесс при ограниченных значениях скорости сдвига оказывается несущественным. В то же время возможны случаи, когда влияние теплового движения на изменение структуры -взаимного положения молекул в веществе (у полимеров также их конформации) -проявляется слабее, чем действие сдвига, или соизмеримо с его действием. В зависимости от соотношения скорости сдвига и скорости протекания релаксационных процессов, обусловленных тепловым движением, вязкость, определяемая как отношение σт
/γ’, может быть либо постоянной величиной, не зависящей от скорости напряжения сдвига, либо зависеть от них. В первом случае это означает, что величины σт
и γ' пропорциональны, Во втором - что напряжение изменяется медленнее, чем скорость сдвига, и, следовательно, с повышением напряжения и скорости сдвига их отношение (вязкость) уменьшается. Вязкость изменяющаяся в зависимости от напряжения и скорости сдвига, называется эффективной
или структурной,
а жидкости, у которых напряжение сдвига изменяется непропорционально скорости сдвига, называются неньютоновскими.
Явление зависимости вязкости от напряжения и скорости сдвига называется аномалией вязкости.
ЗАВИСИМОСТЬ ВЯЗКОСТИ ОТ СКОРОСТИ И НАПРЯЖЕНИЯ СДВИГА.
Простейшим случаем деформации сдвига является установившееся течение, когда скорости и напряжения сдвига во всех точках тела сохраняют неизменные значения. В этих условиях высокоэластическая деформация становится постоянной, а необратимая деформация увеличивается во времени равномерно.
На рис. 3 графически представлено уравнение 1 в логарифмических координатах. График зависимости скорости сдвига от напряжения сдвига называется кривой течения. Она описывает совокупность установившихся режимов течения с разными скоростями и напряжениями сдвига (S-образная кривая на рис. 3,а). При достаточно низких и высоких значениях скоростей и напряжений и скоростей эти величины связаны между собой прямой пропорциональной зависимостью, что соответствует наибольшей и наименьшей ньютоновским вязкостям (ηнб
и ηнм
), причём постоянные значения вязкостей удовлетворяют условию ηнб
> ηнм
. В зависимости от природы полимерной системы и температуры отношение ηнб
/ηнм
может изменятся от значений, близких к единице, до нескольких десятичных порядков.

Рис. 3. Вязкостные свойства ньютоновских жидкостей а -
зависимость γ' от σ, (кривая течения); б -
зависимость вязкости от скорости сдвига; в -
зависимость вязкости от напряжения сдвига.
Наибольшая ньютоновская вязкость отвечает такой совокупности состояний полимерной системы, при которой на основании одних измерений вязкости нельзя обнаружить изменений структуры под влиянием деформирования. Можно принять, что принудительная перестройка структуры в полимерной системе под действием под действием сдвига совершается медленнее, чем под действием теплового движения. Если γ' и стт
такие, что интенсивность внешнего воздействия на структуру полимерной системы намного превосходит влияние теплового движения, и при дальнейшем увеличении скоростей и напряжений сдвига не происходит изменений структуры. Это отвечает режимам течения с постоянной наименьшей ньютоновской вязкостью. На участке, называемом структурная ветвь,
при переходе от одних значений γ' и σт
к другим совершается изменение структуры полимера под влиянием сдвига. Деформирование вызывает разрушение надмолекулярных структур, существующих в системе, ориентацию макромолекул и надмолекулярных образований в направлении течения. При физическом течении происходят обратимые изменения состояний и структуры полимерных систем.
Типичный вид вязкостно-скоростной кривой неньютоновской жидкости показан на рисунке 3,6. Существует третий вид графиков, описывающих режимы установившегося течения аномально-вязких сред, когда рассматривается зависимость η от σт
(рис. 3,в).
НАИБОЛЬШАЯ НЬЮТОНОВСКАЯ ВЯЗКОСТЬ ПОЛИМЕРНЫХ СИСТЕМ.
Влияние
температуры.
Возможность перемещения молекул в жидкостях определяется двумя факторами - наличием в них незанятого молекулами свободного объёма и преодолением сил межмолекулярного взаимодействия. Эти перемещения могут происходить самопроизвольно под влиянием теплового движения (самодиффузия) молекул. Направленное перемещение молекул при течении требует приложения силы; последняя дополняет действие теплового движения. Вблизи температуры стеклования вязкость аморфных полимеров зависит от степени удалённости температуры, при которой она измеряется, от температуры стеклования. При этом основное влияние на вязкость оказывает величина свободного объёма.
Влияние молекулярного веса.
Для перемещения всей макромолекулы необходимо совместное перемещение многих сегментов. Это значит, что сопротивление, оказываемое макромолекулой в потоке, должно зависеть от её молекулярного веса. Чем больше М тем круче возрастает вязкость. На рис. 4 представлена общая зависимость вязкости от молекулярного веса, которая в двойных логарифмических координатах представлена двумя пересекающимися прямыми. Точка их пересечения - критический
молекулярный вес Мкр
, а соответствующая ему степень полимеризации - критической степень полимеризации Ркрит
.
Усиление зависимости вязкости от длины полимерной цепи, когда превышается некоторое критическое значение Р, связывается с "зацепленниями" макромолекул или их ассоциатов и образование в полимере пространственной сетки. Эти зацепления имеют ограниченное время жизни и возникают в разных местах молекулы. Но среднее их число остаётся постоянным

Рис. 4. Зависимость вязкости от молекулярного веса полимера.
Чем выше молекулярный вес полимера, тем сильнее в нём развито надмолекулярное структурообразование и тем при более низких скоростях и напряжениях сдвига совершается переход к неньютоновскому течению. Это справедливо только в пределах одного полимергомологического ряда. Следовательно, появление аномалии вязкости, также как и изменение характера зависимости наибольшей ньютоновской вязкости от молекулярного веса, служит признаком образования в полимерах надмолекулярных структур и для гибких линейных полимеров позволяет оценить средние размеры участков цепей между зацеплениями. Аномалия вязкости зависит от ММР полимеров.
ЭФФЕКТИВНАЯ ВЯЗКОСТЬ.
Аномалия вязкости обусловлена изменением структуры полимерных систем под влиянием деформирования. Это обнаруживается при повышении напряжений и скоростей сдвига и проявляется при молекулярных весах М>Мкр
, что соответствует интенсивному развитию структурообразования.
На неньютоновских режимах течения зависимость вязкости от молекулярного веса ослабевает. Для очень высоких скоростей и напряжений сдвига, когда достигается ньютоновская вязкость и структура полимера становится предельно изменённой, зависимость вязкости от молекулярного веса оказывается линейной (рис. 5).

Рис. 5. Зависимость вязкости от молекулярного веса для линейных полимеров
с гибкими макромолекулами.
Чем выше молекулярный вес полимера, тем сильнее в нём развито надмолекулярное структурообразование и тем при более низких скоростях и напряжениях сдвига совершается переход к неньютоновскому течению. Это справедливо только в пределах одного полимергомологического ряда. Следовательно, появление аномалии вязкости, также как и изменение характера зависимости наибольшей ньютоновской вязкости от молекулярного веса, служит признаком образования в полимерах надмолекулярных структур и для гибких линейных полимеров позволяет оценить средние размеры участков цепей между зацеплениями.
Аномалия вязкости зависит от ММР полимеров. Она проявляется более резко при увеличении их полимолекулярности. Поэтому если сравниваются два полимера, из которых один мономолекулярный, а другой полимолекулярный с тем же значением молекулярной массы, то кривая течения проходит более круче в случае полимолекулярного полимера. Это обусловлено наличием в нём фракций с более высоким средневесовым молекулярным весом, чем у мономолекулярного, и объясняется тем, что для более высокомолекулярных полимеров аномалия вязкости выражена сильнее.
ЛИНЕЙНЫЕ И РАЗВЕТВЛЁННЫЕ СОПОЛИМЕРЫ И БЛОК-СОПОЛИМЕРЫ.
Линейный гомополимер состоит из цепных молекул, построенных из повторяющихся низкомолекулярных звеньев. В соответствии с реакциями, при помощи которых гомополимеры синтезируются, их можно разделить на аддиционные полимеры, полученные путём последовательного присоединения полифункциональных молекул без выделения побочных продуктов реакции, и конденсационные полимеры, полученные при образовании связи между полифункциональными молекулами, сопровождаемом выделением простых низкомолекулярных веществ, например Н2О или НС1. Чередующийся сополимер состоит из цепных молекул, содержащих мономерные звенья двух или более различных типов (обозначенных на схемах различными кружками);

мономерные звенья могут быть расположены:
Молекула привитого сополимера представляет собой основную цепь высокого молекулярного веса, вдоль которой через некоторые интервалы расположены боковые цепи второго полимера:
Основная цепь
может представлять собой гомополимер или сополимер с боковыми группами любого типа.Молекула блок-сополимера содержит относительно длинные участки одного химического состава, разделёнными полимерными участками другого химического состава (а) или низкомолекулярными
"сшивающими" группами (б):Компонентами блок-сополимера могут быть гомополимеры, сополимеры и их смесь. Стереоблок-сополимер является производным одного мономера, его молекула содержит чередующиеся последовательности звеньев различной пространственной конфигурации.
СОВРЕМЕННЫЕ ПРОМЫШЛЕННЫЕ ТЕРМОПЛАСТЫ.
В ряду крупнотоннажных полимеров в первой тройке по объему производству состоят полиолефины, поливинил хлорид и полистирольные пластики. Это определяется привлекательными для потребителей сочетаниями физико-механических и потребительских свойств и легкости их переработки современными высокопроизводительными способами: литьем под давлением, экструзии и термоформованием. Это обосновано дешевизной сырья и производственной базы.В настоящее время сосуществуют и конкурируют друг с другом три метода получения полистирольных пластиков путем прямого синтеза: процесс полимеризации в массе суспензионный и эмульсионный процессы полимеризации. В целом все полистирольные пластики можно разделить на две большие группы: не ударопрочные и ударопрочные. Все ударопрочные полистирольные пластики в натуральном виде являются прозрачными, но могут применятся в зависимости от окраски и в непрозрачном виде. Полистирол общего назначения достаточного широко используется в изделиях технического и бытового назначения, но существенным ограничением в его использовании является его хрупкость, склонность к трешинообразованию. Проблема эта может быть решена путем его модифицирования. В полистирол можно ввести непосредственно перед его переработкой небольшое количество блоксополимера стирола и бутадиена той или иной марки. При этом сохраняется прозрачность полистирола. Такие блоксополимеры получают методом анионной полимеризации ряд зарубежных фирм. Кроме гомополимеров к этой группе промышленных полистирольных пластиков относятся сополимеры стирола с рядом мономеров. Сополимеры эти имеют самостоятельное значение, но могут во многих случаях использоваться вместо гомополистирола, имея перед ним ряд преимуществ. Стирол легко сополимеризуется с большинством винильных мономеров и прежде всего с такими промышленно важными, как метилметакрилат и акрилонитрил. Благодаря этому получаются более стойкие к растрескиванию, более ударопрочные, более теплостойкие и химически стойкие термопласты, чем гомополистирол, но сохраняющие для него свойства твердости, формоустойчивости, прозрачности и легкости переработки.
Сополимер САН, обладая повышенной стойкостью к бензину и маслам, относительно высокой теплостойкостью, применяется в автомобилестроении и приборостроении, в т.ч. в производстве кухонных приборов. К настоящему времени в России разработана и готовится к внедрению вторая марка этого сополимера с еще более высокой текучестью (ПТР более 3 г/10 мин при 200°С/5 кг). При этом практически решена проблема характерной для этого сополимера желтизны.
Вторая группа полистирольных пластиков - наиболее крупнотоннажная и разнообразная по марочному ассортименту - ударопрочные пластики. Их суть заключается в том, что имеется жесткая полистирольная матрица того или иного свойства, в которой находится дисперсная каучуковая фаза, эффективно связанная с матрицей. Когда матрицей является гомополистирол, получается в итоге ударопрочный полистирол; когда матрица - сополимер стирола и акрилонитрил, получается так называемый АБС-пластик. Ударопрочный полистирол производится в России и во всем мире двумя методами: полимеризацией в массе и блочно-суспензиционным методом. Матрицей некоторых из АБС-пластиков является сополимер стирола и акрилонитрила. Акрилонитрильные звенья придают пластику дополнительную теплостойкость и химическую стойкость, обеспечивает более высокие физико-механические свойства, но делают его более вязким по сравнению с ударопрочным полистиролом. Более высокий уровень физико-механических свойств определяет преимущественное использование этих пластиков в качестве конструкционного материала. АБС-пластик используется, прежде всего, там, где требуется сочетание высокой ударопрочности и формоустойчивости. Это, прежде всего корпусные детали, основание различных приборов и устройств. Одной из главных областей применения является автомобилестроение. АБС-пластик производится у нас тремя методами: полимеризацией в массе, блоко-суспензионным и эмульсионными методами. В данный период ведется работа по организации этого производства в нашей стране. Наличие в составе АБС-пластика полярных нейтральных групп расширяет области изменения этого типа ударопрочного пластика, т.к. позволяет проводить металлизацию изделий, наносить на изделия лакокрасочные покрытия, а также вводить в пластик стекловолокно. Созданы стеклонаполнительные марки на базе матричного сополимера САН и на базе некоторых марок самого АБС-пластика. Также полимеры позволяют получить литьем под давлением детали с повышенной размерной точностью и обеспечивают им повышенные жесткость и теплостойкость. Композиции АБС с поликарбонатом позволяют с большим эффектом сочетать достоинства обоих компонентов, в частности, получать материал менее дорогой и с гораздо более высокими литьевыми свойствами по сравнению с поликарбонатом (ПТР 3-6 г/10 мин при Т=220°С и Р=10 кг) и гораздо более ударопрочный и теплостойкий по сравнению с АБС (ударная вязкость по Изоду 50-70 кДж/м2
, температура размягчения по Вика (Р=5 кг) 110 - 125°С).
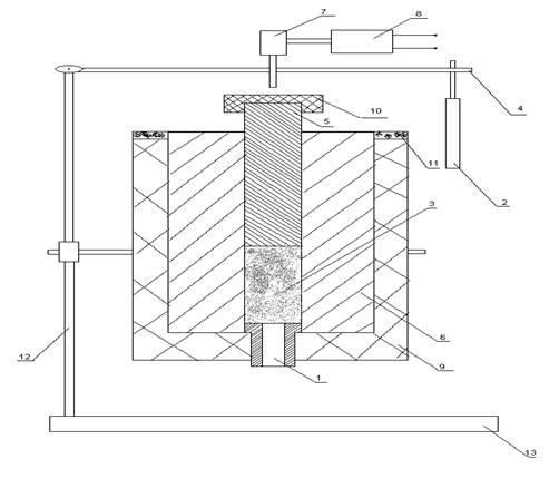
КАПИЛЯРНАЯ ВИСКОЗИМЕТРИЯ
Для построения кривых течения образцов при высоких скоростях сдвига используют капиллярный вискозиметр МВ-ЗМ (рис.4). Прибор предназначен для определения вязкостных свойств полимеров в размягчённом и расплавленном состоянии, и в частности, для определения индекса расплава. Принцип основан на измерении объёма расходуемого материала (а) при прохождении через стальной капилляр 1 под действием постоянного напряжения (2) приложенного к исследуемому образцу 3 через рычаг 4 и шток 5. Расход материала определяется по степени погружения штока в камеру 6. Он регистрируется с помощью датчика перемещения 7 и индикатора перемещения 8, сигнал с которого идёт на цифропечатающее устройство и выводится в виде значений времени, за которое шток проходит определённое фиксированное расстояние. Камера помещается в обогревательную печь 9, которая снабжена терморегулятором позволяющим поддерживать постоянную температуру (от комнатной до 350 °С). Использование различных величин нагрузки, изменение плеча рычага и размеров капилляра позволяют проводить измерения в широком диапазоне напряжения сдвига: от 103
до 106
Па. Необходимое для исследования количество вещества ~2 грамм. Для построения кривой течения определяли логарифмы напряжения и скорости сдвига на стенке капилляра. Напряжение сдвига на стенке капилляра (τ) равно:
τ=ΔРr
/2(L+nR) [дин/см2
],
где L и R длина и радиус капилляра соответственно, n - поправка, учитывающая потери давления на входе в капилляр, ΔРr
перепад давления между концами капилляра
ΔРr
=981*4*Р/πD2
,
где Р - сумма весов грузов, поршня и усилия пружины индикатора, D - диаметр поршня. Тогда
τ=981 *4*P/2πD2
(L+nR)=K1
*P
или lgτ=lgK1
+lgP.
Для определения скорости сдвига на стенке капилляра (γ') сначала рассчитывают её среднее значение (γ'1
):
γ'1
=Q/πR3
,
где Q - расход материала.
Q=(S/t)*(πD2
/4),
S - величина перемещения поршня за время t. Отсюда:
γ'1
=S*π*D2
/4*πR3
t=K2
*(S/t)
или lgγ'1
=lgK2
+lg(S/t).
Значения констант К1
и К2
постоянны для каждого капилляра. По найденным значениям lgγ', и lgτ строится вспомогательная осреднённая кривая течения lgγ'1
=f(lgτ). Для построения истиной кривой течения, связывающей напряжение сдвига на стенке капилляра со скоростью деформации на стенке производится графическое перестроение данной кривой по уравнению:
lgγ'=lgγ'1
+lg(3+n),
где n=d(lgγ'1
)/d(lgτ); т.е. тангенс угла наклона касательной в каждой данной точке кривой lgγ'1
==f(lgτ). Расчёт значения вязкости (η)производится по формуле:
η=τ/γ'.

Рис. 6. Принципиальная схема микровискозиметра МВ-3М
1-капилляр; 2-груз; 3-исследуемый образец; 4-рычаг; 5-шток; 6-камера (бомба); 7-датчик перемещения; 8-индикатор перемещения; 9-печь с электрообогревом; 10-теплоизулирующая шляпка; 11-съёмная крышка; 12-штатив; 13-опорная плита.
ИСХОДНЫЕ ДАННЫЕ.

ЭКСПЕРИМЕНТАЛЬНЫЕ ДАННЫЕ И КОММЕНТАРИИ К НИМ.
Эксперименты с образцами сополимеров стирола и акрилонитрила проводились при четырёх температурах и при значениях логарифма напряжений сдвига lgτ от 3 до 5.5 [Па]. На рис.5 представлены результаты экспериментов для типичного представителя образцов линейных САН (SAN 32) - качественно кривые выглядят одинаково.

Рис. 7. Экспериментальные данные типичного представителя линейных САН (SAN 32)
Из рис.7 видно, что кривые имеют сходный характер, имея прямопропорциональную и, больше того, практически линейную зависимость скорости сдвига от деформации. Также можно выделить общую закономерность для всех образцов: при повышении температуры проведения эксперимента - при тех же значениях напряжений скорости деформаций увеличиваются (то есть кривые параллельно поднимаются относительно оси ординат). Что является вполне закономерным явлением, учитывая, что подвижность сегментов макромолекул увеличивается, при увеличении температуры, и полимер легче деформируется (в данном случае начинает течь).
Теперь рассмотрим экспериментальные зависимости lgγ от lgτ, полученные для разветвлённых САНов на примере DBC 698 (см. рис.8).

Рис. 8. Экспериментальные данные типичного представителя разветвлённых САН (DBC 698)
Общий вид кривых для разветвлённых образцов, в принципе, носит аналогичный характер как и у кривых для линейных САН. Можно отметить, что при тех же значениях напряжений, у разветвлённых образцов скорости деформаций имеют более низкие значения, нежели у линейных. Это опять же можно объяснить с точки зрения конформации полимеров, проще говоря, разветвлённые образцы имеют меньшее число степеней свободы движения сегментов их макромолекул, отсюда и вытекает, что нужно приложить большее напряжение, чтобы полимер стал испытывать необратимые деформации (течь).
Теперь перейдём непосредственно к кривым течения (lgη=f(lgγ)) и рассчитанным значениям вязкостей (для определённости вычисленным по приведённым выше формулам для lgγ=1.0 [с-1
]). Итак, на рис.9 приведена сравнительная диаграмма вязкостей линейных образцов САН при 240°С, а на рис.10 зависимость lgη от lgγ также при 240°С.

Рис. 9. Вязкость линейных САН при 240°С при скорости сдвига lgγ=1.0 [с-1
]

Рис.10. Зависимость вязкости от скорости сдвига при 240°С для линейных САН.
Как видно на рис.8 все образцы показывают неньютоновское течение и их вязкости уменьшаются при увеличении скорости сдвига. В то же время в области низких скоростей вязкость полимеров различается довольно существенным образом, но при повышении скорости сдвига приближаются к какому-то одному, общему для всех, значению. Из рис.10 также видно, что максимальный разброс значений вязкостей линейных САН составляет не более 0,8 (в логарифмических координатах).
Анализ полученных данных позволяет утверждать, что переход от неньютоновского течения к ньютоновскому происходит в узком интервале напряжений (lgτ= 3.5-3.7 [Па]) независимо от образца полимера и температуры проведения эксперимента (см. рис.11).

Рис. 11. Зависимость вязкости от напряжения сдвига при 240°С для линейных САН.
Таблица 2 позволяет оценить аномалию вязкости для различных линейных САН (этой цели служит отношение вязкости образцов при скорости сдвига 1,0 с-1
к вязкости при скорости сдвига равной 10,0 с-1
).

Как видно из таблицы 2 - увеличение отношения вязкостей при различных скоростях отражает увеличение аномалии вязкости. Оно показывает, что все линейные САН имеют немного близкие значения, которые отличаются не более, чем на 35-40% (т.е. они являются величинами одного порядка. В то же время рост температуры от 220 до 280°С приводит к уменьшению отношения вязкостей Р на 50-60% (можно предположить, что при увеличении температуры Р стремится к какому-то постоянному значению). Эксперименты при четырёх температурах (220,240,260,280) обнаружили линейную зависимость вязкости (в логарифмических координатах) от обратной температуры.

Рис.12 Зависимость энергии активации от содержания акрилонитрильных групп в
образцах САН.
Расчёты показали, что энергия активации течения, вычисленная при использовании уравнения Аррениуса, находится в пределах 110-115 кДж/моль в случае ньютоновского течения. Значения Еа
взяты из вязкостно-температурных зависимостей, при условии постоянства напряжения сдвига. В случае деформации при любой скорости сдвига, её (γ) увеличение приводит к уменьшению энергии активации.
Величина Еа
увеличивается с увеличением концентрации акрилонитрила в образцах линейных САН (см. рис. 12). Различные значения энергии активации для образцов с содержанием акрилонитрильных групп 28% (SANM80 и SANM60) очевидно обусловлено различиями их молекулярных масс и молекулярно-массовых распределений (см. табл.1). На основании исходных данных о молекулярной массе и ММР этих двух образцов более высокие значения вязкости SANM100 обусловлены также и его более высокой молекулярной массой (почти на 20% выше чем у SANM80) и более узким ММР. Так как для течения всей макромолекулы необходимо совместное перемещение многих сегментов, то становится понятно, что сопротивление, оказываемое макромолекулой в потоке, зависит от её молекулярной массы, что и наблюдается в случае этих двух образцов (рис. 10) - вязкость наиболее "тяжёлого" выше. Также на это оказывает влияние и количество зацеплений в макромолекулах.
Теперь перейдём к рассмотрению образцов разветвлённых САН. Данные, полученные при эксперименте, представлены на рис.8 в логарифмических координатах - зависимость скорости сдвига от напряжения сдвига. Также представлены кривые течения для них при 240°С на рис.13. И сравнительная диаграмма их вязкостей при скорости сдвига γ=1,0 (рис.14).

Рис.13. Зависимость логарифма вязкости от скорости сдвига при 240°С для разветвлённых
САН.

Рис.14. Диаграмма вязкостей разветвлённых САН при у=1.0 и 240°С.
Вообще, как видно из рис.10 и рис.13 течение линейных и разветвлённых образцов схоже качественно, однако существенно различается количественно. Так, даже при значениях lgτ=3.5-3.7 разветвлённые САН демонстрируют всё ещё неньютоновский характер течения (см. рис.15). Из этого же рисунка видно, что наибольшей вязкостью обладают образцы ВВС 745 и DBC 707 - это обусловлено их высокими молекулярными массами и широкими ММР, по сравнению с другими образцами (см табл.1). А наименьшая вязкость DBC 698 объясняется исходя из тех же соображений (низкая М и ММР). Но вот "аномально" большая вязкость DBC 705 (при низкой М и ММР) можно объяснить исходя из предположения, что макромолекулы этого образца имеют больше ответвлений на единицу длины, и тогда становится очевидным, что подвижность такой макромолекулы в целом будет ниже и, следовательно, вязкость этого полимера будет выше.

Рис.15. Зависимость lgη от lgτ при 240°С для разветвлённых САН.
Анализ рис.14 и рис.15 позволяет судить о том, что степень различия образцов лразветвлённых САН при низких скоростях сдвига достигает 3-4 Па*с, в то время, как при значении скорости сдвига 100с-1
все полимеры показывают одинаковые значения вязкости (это состояние достигается быстрее, чем у линейных САН, почти в 3 раза - т.е. они более вязкие).
Кроме того, они демонстрируют более высокую аномалию вязкости, чем линейные аналоги (см. табл.2). Данные табл.2 показывают также, что энергия активации разветвлённых САН значительно выше энергии активации течения линейных САН. Такое поведение типично для разветвлённых полимеров. Также это обусловлено и их высокой молекулярной массой и широким ММР, по сравнению с линейными полимерами.
При проведении экспериментов при высоких напряжениях поверхность экструдатов некоторых образцов становилась мутной, а в ряде случаев наблюдались явные искажения полимера на выходе из экструдера. Поэтому был проведён ряд экспериментов с этими образцами для более близкого ознакомления с этими явлениями. У всех образцов, при их "продавливании" через капилляр прибора, были отмечены общие закономерности поведения. Так, при увеличении напряжения, критические явления течения проявляются в появлении матовости гладкой поверхности экструдата, затем появляется чуть заметная волнистость, степень которой увеличивается пропорционально увеличению напряжения, далее образуется винт, частота и глубина витков которого также зависит от величины прикладываемого напряжения, и наконец завершается это течение выходом образца неупорядоченно и сильно деформированного по всей его поверхности. Всё это прекрасно проиллюстрировано на фотоснимках полученных образцов экструдатов на рисунке 16. А в таблице 3 приведены результаты этих замеров более подробно. Табл. 3
Табл.3

Из данных таблицы 3 видно, что при увеличении температуры, момент проявления критических явлений течения зависит от температуры (при увеличении температуры течения расплава полимера (а именно DBC 745) момент начала неустойчивости происходит немного позже, т.е. при более высоких напряжениях). Также при сравнении разветвлённых образцов видно, что раньше всего деффекты поверхности экструдата появляются у образца DBC 707, далее DBC 745 и DBC 705, и, наконец у DBC 697. Станет понятно почему результаты имеют именно такие значения, если взглянуть на таблицу 1 - пальма первенства по величине молекулярной массы исамому широкому молскулярно-массовому распределению принадлежит именно образцу DBC 707. И далее в том же порядке увеличиваются молекулярные массы и ММР образцов, что и увеличение напряжения, при котором начинает выходить из микровискозиметра экструдат волнистой формы (ММР DBC 697 -существенно шире, чем у DBC705 - поэтому у пего раньше наступает начало неустойчивости). В общем случае можно отметить, что наступление этих явлений у разветвлённых образцов происходит раньше нежели у образцов линейных.
Неудивительно - так как сегменты разветвлённых молекул менее подвижны, поэтому при больших напряжениях они испытывают в капилляре только высокоэластические деформации и на выходе из него не успевают отрелаксировать. Для наглядности можно привести график с кривыми течения для разветвлённого и линейного образца САН с отметками о наступлении различных форм проявления неустойчивости (рис. 15а).

Рис. 15а. Критические явления течения разветвлённых и линейных САН на примере DBC 745 и SANMl00.
Были измерены толщины экструдатов различных САН при 220°С и для наглядности построен график - зависимость степени разбухания В=Оэкстр
./О1ПШИЛЯр
от логарифма напряжения (т) (рис.156).

Рис. 156. Разбухание экстру дата для образцов САН при 220°С.
Как явственно видно из данного графика - более всего разбухают разветвлённые образцы САН (что говорит о том, что они испытывают сильные высокоэластические деформации, нежели линейные образцы). Также можно заметить, что более сильно разбухающий DBC 745 имеет более высокую молекулярную массу и более широкое ММР, чем DBC 697 (табл. 1), и этот факт сам по себе служит объяснением этого феномена.
2.АБС
Табл 2.1
| Образцы АБС |
GS 3221.2 |
GS 3221.4 |
GS 3222.2 |
GS 3224.1 |
GS 3229.2 |
Magnum 3904 |
GS 3228.2 |
GS 3238.4 |
GS 32244.4 |
| Степень прививки |
0,50 |
0,62 |
0,51 |
0,59 |
0,67 |
0,69 |
0,62 |
| Мw
(САН) |
11000 |
38000 |
172000 |
66000 |
188000 |
199000 |
154000 |
161000 |
| Мn
(САН) |
52000 |
42000 |
52000 |
52000 |
53000 |
64000 |
50000 |
67000 |
| Мw
/ Мn
|
4,06 |
3,29 |
3,31 |
3,19 |
3,55 |
3,11 |
3,08 |
2,40 |
| Содержание каучука |
16,6 |
16,2 |
16,8 |
17,6 |
17,2 |
19,3 |
17,0 |
18,1 |
| Количество > 1нм, % |
2 |
55 |
13 |
20 |
9 |
20 |
17 |
10 |
12 |
На рисунке 17 приведены кривые течения MGS 3221.2 и DowMagnum 3904 при 200° С. Подобные кривые были получены для всех остальных образцов. Они типичны для неньютоновских полимеров, вязкость которых уменьшается при увеличении скорости (γ) или напряжения (τ) сдвига. При напряжениях сдвига ниже lgτ = 4,1 [Па] экструдаты имеют неровную поверхность, при больших τ этот эффект исчезает.

Рис.17. Кривые течения DowMagnum 3904 и MGS 3221.2 при 200° С



Рис. 18. Зависимость вязкости от напряжения сдвига при разных температурах для различных образцов (MGS 3221.2, 3221.4, 3222.2, 3224.1, 3229.2, 3228.2, 3238.4, 3244.4 и DowMagnum 3904).
Графики на рис. 18 (а-и) демонстрируют зависимость вязкости от напряжения сдвига для различных партий АБС при температурах 175° - 250° С. Во всех случаях вязкость убывает с ростом т, т.е. проявляется аномалия вязкости, особенно при lgτ ≥ 4,0 - 4,5 [Па]. При lgτ < 3,5 - 4,0 [Па] вязкость постепенно приближается к постоянным значениям. Для наглядности на рис. 19 представлены гистограммы вязкости для всех партий АБС при lgτ=4,0 [Па]. Видно, что вязкость различных образцов АБС отличается не больше чем в 10 раз. Наименьшей вязкостью обладают MGS 3221.4 и MGS 3224.1, а наибольшей MGS 3228.2. Вязкость DowMagnum 3904 при 200° и 225° С занимает четвертое место, а при 250° С - второе (близко к вязкости MGS 3221.2). Это говорит о низком температурном коэффициенте вязкости данной партии. На рисунке 20 приведена зависимость lgη от lgτ при 200° С для различных партий АБС. Во многих случаях кривые приблизительно параллельны. Подобная картина наблюдалась и при других температурах. Примечательно, что кривые lgη = f(lgτ) для каждого образца при разных температурах также параллельны (рис. 18).Это означает, что они должны совмещаться при сдвиге вдоль оси вязкости. В качестве температуры приведения нами была выбрана 200° С. Фактор сдвига lgат
=lg(η/η200
) должен отражать температурную зависимость вязкости образца.

Рис.19. Вязкости АБС-пластиков при различних температурах и
log τ = 4.0 [Ра].

Рис.20. Зависимость вязкости от напряжения сдвига для АБС-
пластиков при 200° С.
Графики на рис.21 (а, б) показывают температурную зависимость вязкости для различных АБС в аррениусовских координатах. Наибольшее отклонение от линейности наблюдается для образца DowMagnum 3904, вероятно вследствие его более выраженной микроблочной структуры. Если зависимость lgη = f(l/T) аппроксимировать прямой, то все образцы АБС-пластиков имеют приблизительно одинаковые величины эффективной энергии активации течения - Еа
, составляющие 114 - 128 кДж/моль. При расчете энергии активации как Еа
=d(lgη)/2,3R*d(l/T) изменение температуры от 175° до 250° С приводит к снижению Еа
от ~ 150 до ~ 90 кДж/моль.
Важной характеристикой для переработчиков является зависимость вязкости от скорости сдвига. Она может быть рассчитана исходя из кривых течения или данных рис.18 согласно формуле γ=τ/η. Зависимости η(γ) качественно подобны зависимостям η(τ). Исходя из принципа температурно-временной суперпозиции, эти зависимости могут быть обобщены. Для этого необходимо представить данные в координатах lg (η/ η0
) - lg (η0
γ),
где η0
– ньютоновская вязкость, как функция температуры. Кривые течения образцов АБС были получены в области τ, отвечающей проявлению аномалии вязкости. Величины η0
могут быть получены с хорошим приближением путем экстраполяции линейной области зависимости lgη =
f(τ) в полулогарифмических координатах к τ = 0. Такая экстраполяция в области низких напряжений (т ~ 4*103
÷ 1,5*104
Па) для расплавов АБС правомерна.
Вязкость полимеров очень чувствительна к величине их молекулярной массы и к надмолекулярным элементам их структуры. В частности, величина ньютоновской вязкости пропорциональна М3,5
. Кроме того, неньютоновская вязкость зависит от молекулярно массового распределения, степени разветвленности и т.д. В случае таких многофазных материалов, как АБС-пластики, присутствие полибутадиеновой фазы (ее концентрация, размер частиц, степень прививки цепей САН на ее поверхность и т.д.) должно играть важную роль. Однако концентрация полибутадиена в большинстве исследованных образцов АБС приблизительно одинакова. С увеличением Mw
вязкость значительно возрастает, и зависимость η = f(Mw
) может быть описана степенной функцией η ~ (Mw
)3,75
. Возможно, такая сильная зависимость по сравнению с обычной определяется повышенным межцепным взаимодействием цепей САН.
Разброс точек на рис. 21 далеко выходит за рамки ошибки эксперимента. Это может быть связано с различием размера частиц полибутадиена и их Dw
/Dn
. Другая возможная причина заключается в различие ММР цепей САН (табл. 2.1). Так, в случае MGS 3221.2 и MGS 3244.4 их вязкости при lgτ = 3,5 [Па] практически совпадают, тогда как при lgτ = 5,0 [Па] они различаются ~ в 2 раза из-за более высокой аномалии вязкости MGS 3221.2. Этот образец имеет более широкое ММР цепей САН (ММР = 4,06) по сравнению с образцом MGS 3229.2, для которого ММР = 3,1.

Рис.21. Вязкость образцов АБС в зависимости от Mw
САН при разных температурах и lg т = 4,0 [Па].
Наряду с вязкостью, было изучено разбухание экструдатов ЛБС. Нго характеризовали величиной В = Dэкстр
/Dкап
, где Dэкстр
- диаметр экструдата АБС, aDкап
- диаметр капилляра. Величина В представляет интерес для переработчиков, поскольку характеризует эластические деформации, возникающие в процессе экструзии.

Рис.22 Разбухание экструдатов для образцов АБС при 200° С.
Рисунок 22 изображает величины разбухания для различных партий АБС. Из рисунка видно, что параметр В изменяется незначительно при переходе от одной парии АБС к другой. В области lg т = 4,0 - 5,0 [Па] величина В остается практически постоянной, а затем при lg т > 5,0 [Па] возрастает. В общем, величины В для расплавов АБС довольно малы, особенно при lg т < 5,0 [Па], по сравнению с В для индивидуальных гибкоцепных полимеров. Эластическое поведение АБС-пластиков подобно поведению расплавов наполненных полимеров. На рис. 23 изображена теоретическая микроструктура фрагмента макромолекулы АБС-пластика.


Полибутадиен с включениями САН
Цепи привитого САН
Цепи САН
|