| МИНИСТЕРСТВО ВЫСШЕГО И СРЕДНЕГО СПЕЦИАЛЬНОГО ОБРАЗОВАНИЯ РФ.
НОВОСИБИРСКИЙ ГОСУДАРСТВЕННЫЙ АРХИТЕКТУРНО-СТРОИТЕЛЬНЫЙ УНИВЕРСИТЕТ
кафедра физики
РЕФЕРАТ
на тему:
Опыты Резерфорда
Выполнил: Кузнецов И.А. (группа 226)
Проверил: Берхоер Л.Д.
Новосибирск 2000 г. 
Эрнест Резерфорд – один из самых знаменитых физиков первой половины XX века. Когда-то Резерфорд первый анатомировал атом, обнаружив в нем ядро. Он исследовал сложные явления, протекающие в этой поразительно малой частице вещества, а затем в своей лаборатории расщепил ядра атомов.
Еще будучи студентом 2-го курса университета Резерфорд на одной из конференций выступил с докладом на тему «Эволюция элементов». Резерфорд высказал предположение, что все химические элементы представляют собой сложные химические системы, состоящие из одних и тех же элементарных частиц. В то время атом считался неделимым – в физике господствовала теория Дальтона о неделимости атомов.
Первая попытка создания на основе накопленных экспериментальных данных модели атома принадлежит ДЖ. ДЖ. Томсону. Электроны, как думал Томсон, вкраплены в сверхминиатюрную сферу диаметром 10–8
см., в которой равномерно распределены положительные заряды. Вместе с отрицательно заряженными электронами сфера электрически нейтральна. Это и есть атом. В то время так думал и Резерфорд, работавший в одной лаборатории с Томсоном, и даже не мечтал, что сможет создать более совершенную модель, основанную на новых представлениях.
В 1896 г , изучая люминесценцию различных веществ, А.Беккерель случайно обнаружил, что соли урана излучают без предварительного их освещения. Это излучение обладает большой проникающей силой и способно воздействовать на фотографическую пластинку, завернутую в черную бумагу. Резерфорд тотчас занялся изучением Беккерелиевых лучей. Он начал исследования рентгеновских лучей с проверки своего предположения о связи между рентгеновскими и беккерелиевыми лучами. Эта мысль пришла к нему в голову по очень простой причине: и те и другие производили ионизацию воздуха. Эта идея не увенчалась успехом.
Но наиболее важным результатом Резерфорда было открытие ;-частиц в составе излучения, испускаемого ураном. Резерфорд поместил урановый источник в сильное магнитное поле и разделил излучение на три различных его вида. Иными словами, он открыл тогда состав радиоактивности: альфа– и бета–частицы и гамма-лучи.
Получив ;-частицы, Резерфорд тотчас же сделал гениальное заключение, что именно они представляют собой мощный инструмент для проникновения в глубь атома. Как подтвердилось позднее, это было абсолютно правильно. В последующих работах Резерфорд широко использовал ;-астицы в качестве снарядов, проникающих в сердце атома – атомное ядро.
Резерфорд открыл эманацию тория и доказал, что этот радиоактивный газ, выделяющийся из тория, представляет собой химический элемент, отличающийся от самого тория. Позднее он определил атомный вес эманации и показал, что она представляет собой благородный газ нулевой группы системы Д.И.Менделева.
Резерфорд и Фредерик Содди впервые объясняют радиоактивный распад как самопроизвольный переход одних элементов в другие. После эманации тория Резерфорд открыл эманацию радия – радон. Ученому было ясно, что радий, испуская ;-частицы, превращается в новое активное вещество, подобно эманации тория. Это открытие окончательно подтверждало теорию радиоактивного распада.
В начале 1903 года Резерфорд опытным путем пытается определить химический состав ;-частиц. Идея заключается в том, чтобы сравнить массу ;-частицы с массами атомов известных элементов. Опыт позволил ему первому идентифицировать ;-частицы с атомами гелия. Позднее это подтвердилось и спектрографически.
В 1908 году Резерфорд приступил к широким опытам по исследованию ;-частиц методом подсчета их с помощью сцинтилляционного счетчика Гейгера.
Вместе с Гейгером и Ройдсом Резерфорд произвел серию опытов, подтверждавших, что ;-частицы есть ничто иное как дважды ионизированные (т.е. потерявшие по 2 электрона) атомы гелия. Этот исторический опыт, благодаря которому уже ни у кого не могло остаться сомнения в правильности его теории распада, заключался в следующем:
в запаянную трубку 2 Резерфорд поместил некоторое количество радона – эманации радия. Толщина стенок этой трубки 0,01 мм. Они достаточно тонки, чтобы испускаемые радоном ;-частицы могли проходить через них во внешнюю трубку 3. Перед опытом трубка 3 тщательно откачивалась, и в ней спектрографическим путем нельзя было обнаружить линий гелия. Через несколько дней в трубке 3 обнаружилось накопление газа. Повышая давление в приборе, накопившийся газ можно было сконцентрировать в трубке 1. Через трубку пропускался электрический заряд и тогда оказывалось, что в ней спектральный анализ показывает характерные линии гелия. В трубке был гелий. Но может быть он попал в трубку 2 по недосмотру вместе с радоном, а оттуда проник в трубки 3 и 1? Контрольный опыт дал на этот вопрос отрицательный ответ. Точно в такой же прибор (в трубку 2) Резерфорд помещал не радон, а чистый гелий. Однако через несколько дней в трубке 1 линии гелия не обнаруживались. Гелий не мог пройти через стеклянные стенки трубки 2 в трубку 3. ;-частицы же легко проходили через стекло и накапливались в трубке 3, а затем концентрировались в трубке 1, где и подвергались спектральному анализу, давая линии гелия.
После этого Резерфорд, вместе с Гейгером и Марсденом провели новую серию экспериментов. Результаты произвели переворот в физике. Это была наиболее драматическая глава в науке нашего времени. Резерфорд открыл атомное ядро и тем самым основал новую исключительно важную науку – ядерную физику.
Что это были за эксперименты? Резерфорд и Гейгер на первых порах продолжили наблюдения сцинтилляций, вызываемых ;-частицами при ударе о люминесцентный экран из сернистого цинка. Прежде всего опыты привели Резерфорда к заключению, что каждая вспышка (сцинтилляция) вызывается одной ;-частицей. Таким образом оправдалось предположение, выдвинутое им ранее. Резерфорд писал тогда, что наблюдение сцинтилляций на экране из сернистого цинка представляет собой очень удобный способ счета частиц, если каждая частица вызывает вспышку. Следовательно, если каждая вспышка вызвана одной ;-частицей, то перед физиками открывается возможность наблюдать за поведением отдельных атомов.
Резерфорд и Гейгер визуально подсчитали, что в продолжение секунды из излучателя в одну тысячную грамма радия вылетает 130 000 ;-частиц. Точность подсчета была безукоризненна. Оба ученых, к которым позднее присоединился Марсден, помногу часов проводили в затемненной лаборатории за утомительным счетом сцинтилляций. Гейгер рассказывал, что ему одному пришлось подсчитать в общей сложности миллион ;-частиц.
Свою работу начал ученик Резерфорда Марсден. Ему было поручено считать ;-частицы, проходящие через тонкие металлические пластинки. Эти пластинки помещались в прибор между излучателем ;-частиц и люминесцентным экраном.
Поручая Марсдену эту работу, Резерфорд не рассчитывал обнаружить что=либо любопытное. При условии, что модель атома Томсона правильна (а тогда не было никаких причин сомневаться в этом), опыт должен был показать, что ;-частицы свободно проходят через металлические преграды. Однако что-то все-таки заставило Резерфорда пойти на этот новый эксперимент.
Марсдена поразило, что ;-частицы в этом простом опыте ведут себя иначе, чем должны вести, если принять модель атома такой, какой ее предложил Томсон. Согласно модели Томсона положительный заряд распределен по всему объему атома и уравновешивается отрицательным зарядом электронов, каждый из которых имеет массу гораздо меньшую, чем масса ;-частицы. Поэтому даже в редких случаях, когда ;-частица столкнется с гораздо более легким по сравнению с ней электроном, она может лишь незначительно отклониться от своего прямолинейного пути. Но в опытах Марсдена ;-частицы отнюдь не беспрепятственно проходили через металлическую пластинку. Нет, некоторые из них отклонялись после удара о пластинку на угол около 150 о
, т.е. почти обратно возвращались к излучателю. Таких возвращавшихся частиц было, правда, очень мало. Когда экспериментатор преграждал путь ;-частицам более толстой пластинкой, то в его поле зрения появлялось больше ;-частиц, отклонившихся на большие углы. Это указывало, что замеченное Марсденом рассеяние ;-частиц не представляет собой какого-то поверхностного эффекта, т.е. оно не связано с поверхностью пластинки. Но Марсден не мог высказать каких-либо соображений по поводу увиденного им странного поведения ;-частиц. Он рассказал подробно о своих наблюдениях Резерфорду.
Позднее Резерфорд признался, что сообщение Марсдена произвело на него потрясающее впечатление: «это было почти неправдоподобно, как если бы вы выстрелили пятнадцатифунтовым снарядом в кусок папиросной бумаги и снаряд отскочил бы обратно и поразил вас».
Резерфорд сразу представил себе, что эффект, наблюдаемый Марсденом, мог быть только в одном случае: если ;-частица, проникнув в атом, натыкалась на какую-нибудь массивную преграду, имеющуюся в нем, и отбрасывалась, получив при столкновении мощный удар.
На основании этих исследований Резерфорд предположил ядерную (планетарную) модель атома. Согласно этой модели, вокруг положительного ядра, имеющего заряд ze (z – порядковый номер элемента в системе Менделеева, e – элементарный заряд), размер 10-15
– 10-14
м и массу, практически равную массе атома, в области с линейными размерами порядка 10-10
м по замкнутым орбитам движутся электроны, образуя электронную оболочку атома. Так как атомы нейтральны, то заряд ядра равен суммарному заряду электронов, т.е. вокруг ядра должно вращаться z электронов.
Для простоты предположим, что электрон движется вокруг ядра по круговой орбите радиуса r. При этом кулоновская сила взаимодействия между электроном и ядром сообщает электрону центростремительное ускорение. Второй закон Ньютона для электрона, движущегося по окружности под действием кулоновской силы, имеет вид , где me
и v – масса и скорость электрона на орбите радиуса r, - электрическая постоянная.
Данное уравнение содержит два неизвестных: r и v. Следовательно, существует бесчисленное множество значений радиуса и соответствующих ему значений скорости (а значит и энергии), удовлетворяющих этому уравнению. Поэтому величины r, v (следовательно и E) могут меняться непрерывно, т.е. может испускаться любая, а не вполне определенная порция энергии. Тогда спектры атомов должны быть сплошными. В действительности же опыт показывает, что атомы имеют линейчатый спектр. Также из данного выражения следует, что при м скорость движения электронов м/с, а ускорение м/с2
. Согласно классической электродинамике, ускоренно движущиеся электроны должны излучать электромагнитные волны и вследствие этого непрерывно терять энергию. В результате электроны будут приближаться к ядру и в конце концов упадут на него. Таким образом, атом Резерфорда оказывается неустойчивой системой, что опять-таки противоречит действительности.
Попытки построить модель атома в рамках классической физики не привели к успеху: модель Томсона была опровергнута опытами Резерфорда, ядерная же модель оказалась неустойчивой электродинамически и противоречила опытным данным. Преодоление возникших трудностей потребовало создания качественно новой – квантовой – теории атома.
В 1914 году началась первая мировая война и Резерфорду пришлось на время отложить свои исследования. Но периодически, работая на военную промышленность, он возвращался к своим собственным экспериментам. В своих следующих экспериментах Резерфорд планировал взломать атом.
Эти попытки увенчались полным и потрясающим успехом. Новый взлет Резерфордовского гения привел к открытию, которое впоследствии революционизировало всю науку и технику современности. Был дан первый сигнал к началу атомного века. Резерфорд расщепил атомное ядро.
Мысль об этом возникла у Резерфорда при наблюдении в камере Вильсона (к тому времени она была уже изобретена и усовершенствована) и в стинцилляционном счетчике загадочных треков (следов), гораздо более длинных, чем треки ;-частиц, хорошо знакомых ему по бесчисленным опытам. Он подумал, что существуют какие-то неизвестные ему причины резкого удлинения пробега ;-частиц. Другое предположение (оно оказалось правильным) заключается в том, что длинные следы оставляют другие неопознанные частицы. Перед исследователем возникла задача выяснить, какое из двух предположений истинно.
Для получения ответа на свои вопросы Резерфорд решил выполнить серию опытов по бомбардировке ;-частицами различных веществ. Он построил прибор, который нам кажется теперь необыкновенно простым. Но мы должны признать также, что только он был наиболее пригоден для наглядного решения задачи. В нем мишенями для бомбардировки должны были быть газы (т.е. легкие атомы), а не металлические пластинки, обычно использовавшиеся Резерфордом во многих предыдущих опытах.
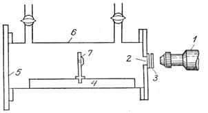
Собственно построенный Резерфордом прибор, с помощью которого ему удалось впервые расщепить ядра атомов легких элементов, схематически изображен на рисунке.
Латунная трубка 6 длин ой 20 см с двумя кранами наполняется газом. Внутри трубки находится диск радиоактивного излучателя 7, испускающего ;-частицы. Диск этот укреплен на стойке, двигающейся по рельсу 4. Во время опыта один конец трубки закрывается матовой стеклянной пластинкой, а другой конец – стеклянной пластинкой (прикрепляемой воском). Маленькое прямоугольное отверстие в латунной пластинке закрывалось серебряной пластинкой 3. Серебряная пластинка обладала способностью задерживать ;-частицы, эквивалентные слою воздуха толщиной примерно 5 см. Против отверстия помещался люминесцирующий экран из цинковой обманки. Для счета сцинтилляций исследователь пользовался зрительной трубой 1.
Когда Резерфорд наполнил трубку азотом, то в поле зрения появились частицы, оставляющие очень длинный след, подобно тому, что он уже наблюдал. Конечно, Резерфорд, прежде чем прийти к окончательным выводам, проделал еще много опытов. Но окончательное заключение было таково: при столкновении ;-частиц с ядрами азота, некоторые из этих ядер разрушаются, испуская ядра водорода – протоны, а затем происходит образование ядра кислорода.
Колоссальное значение этого открытия было с самого начала ясно самому Резерфорду и его сотрудникам. Впервые осуществилось расщепление атомных ядер. Непоколебимые, как казалось до этого, представления о «неразложимости» химических элементов были наглядно опровергнуты. Открывались совершенно новые и удивительные возможности искусственного получения одних элементов из других, выделения огромной энергии, содержащейся в ядрах, и т.д.
Продолжая исследования, он получает экспериментальное подтверждение ранее уже установленного им положения – что небольшое количество атомов азота при бомбардировке распадается, испуская быстрые протоны – ядра водорода. В свете позднейших исследований, писал Резерфорд , «общий механизм этого превращения вполне ясен. Время от времени ;-частицы действительно проникают в ядро азота, образуя на мгновение новое ядро типа ядра фтора с массой 18 и зарядом 9. Это ядро, которое в природе не существует, чрезвычайно неустойчиво и сразу же распадается, выбрасывая протон и превращаясь в устойчивое ядро кислорода с массой 17 …»
В результате длительных экспериментов Резерфорду удалось вызвать ядерные реакции в 17 легких элементах.
Продолжая опыты по расщеплению ядер, Резерфорд пришел к следующему выводу: хотя ;-частицы и обладают большой энергией, но для проникновения в ядра элементов они все же являются недостаточно мощными снарядами. Он решил повысить энергию частиц, разгоняя их в высоковольтной установке. Так был сделан первый шаг в развитии ускорительной техники.
-
1)
Ф.Федоров. «Цепная реакция идеи», изд. «Знание», М., 1975г.
2)
Т.И.Трофимова. «Курс физики», изд. «Высшая школа», М., 1999г.
3)
«Курс общей физики», Г.А.Зисман, О.М.Тодес, изд. «Эдельвейс», Киев, 1994г.
|