РЕФЕРАТ
Дипломна робота: 43 сторінок, 12 малюнків, 1 таблиця, 6 джерел.
Об`єктом дослідження є поверхня металевих та напівпровідникових матеріалів за допомогою скануючого електронного мікроскопа.
Методикою досліджень являється реєстрація вторинних електронів та фотонів.
Результати досліджень можуть бути застосовані працівниками, які займаються дослідженнями в області напівпровідникових матеріалів.
RESUME
The graduation research “Using the Scanning Electron Microscopy for diagnostics of a surface of semiconductors ” – 2003, student Lyashenko O.A. (DNU, physical faculty, gr. FP-98-1, department of optoelectronics) leader Klimenko V.V.
The work is interesting for researchs the semiconductor researches.
Bibliography pages 43, Tables 1, Images 12.
Тема:
Изучение поверхности полупроводника с помощью сканирующего электронного микроскопа
Зміст.
Реферат 4
Resume 5
Вступ. 7
Розділ І. Літературний огляд 8
1. Одержання і керування потоком електронів 8
2. Електростатичні лінзи 10
3. Магнітні лінзи 14
4. Електронно-оптичні дослідження матеріалів 15
5. Звичайний просвітлюючий електронний мікроскоп 16
5.1 Електронна оптика 16
5.2 Зображення 18
5.3 Дозволяюча здатність 19
6. Растровий електронний мікроскоп. Загальні відомості 21
7. Растровий електронний мікроскоп. Технічні відомості 23
7.1 Застосування 23
7.2 Принцип дії 23
Розділ ІІ. Постановка задачі 26
Розділ ІІІ. Експериментальна частина 27
Висновки 31
Розділ ІV. Охорона праці 32
1. Заходи електробезпеки та пожежобезпеки при роботі з електронним мікроскопом 32
1.1 Забезпечення безпеки при роботі на електроустановках 32
2. Причини виникнення пожеж при роботі з електронним мікроскопом 37
2.1 Причини виникнення короткого замикання (КЗ). Термічна та електродинамічна дія КЗ. Профілактика КЗ 37
2.2 Причини виникнення перевантаження та їх профілактика 39
2.3 Причини виникнення перехідних опорів та їх профілактика 40
Література 43
Вступ.
Електронні пучки одержали широке практичне застосування в приладах електронної мікроскопії. Використовуючи джерела вільних електронів і різні типи лінз, фокусуючих чи дефокусуючих пучки електронів, сконструйоване велике число аналогів оптичних пристроїв. Фізичні основи електронно-оптичних приладів були закладені майже за сто років до створення електронного мікроскопа ірландським математиком У.Р. Гамильтоном, що установив існування аналогії між проходженням світлових променів в оптично неоднорідних середовищах і траєкторіями часток у силових полях. Перспективність застосування електронної оптики стала ясна після висування в 1924 р. гіпотези про хвилі де Бройля. Завдяки надзвичайно малій довжині хвилі електронів, межа дозволу, що характеризує здатність приладу відобразити роздільно дрібні, максимально близько розташовані деталі об'єкта, в електронного мікроскопа складає 2-30 А. Це в кілька тисяч разів менше, ніж для оптичного мікроскопа. Перше зображення об'єкта, сформоване пучками електронів, було отримано в 1931 р. німецькими вченими М. Кноллем і Э.Руска.
РОЗДІЛ I. ЛІТЕРАТУРНИЙ ОГЛЯД
1. ОДЕРЖАННЯ І КЕРУВАННЯ ПОТОКОМ ЕЛЕКТРОНІВ
Необхідною умовою переміщення електронів у виді пучка на велику відстань є створення на їхньому шляху вакууму, оскільки в цьому випадку середня довжина вільного пробігу електронів між зіткненнями з газовими молекулами буде значно перевищувати відстань, на яке вони повинні переміщатися. Для цих цілей досить підтримувати в робочій камері вакуум приблизно 10-4
Па. Джерелом електронів служить метал (звичайно вольфрам), з якого після його нагрівання в результаті термоелектронної емісії випускаються електрони. За допомогою електричного поля потік електронів можна прискорювати і сповільнювати, а також відхиляти в будь-яких напрямках, використовуючи електричні і магнітні поля.
Схема керування потоком електронів представлена на мал.1. Джерелом електронів служить катод, що підігрівається, К. Керуюча сітка 4 формує і прискорює (чи сповільнює) потік електронів. У поперечному електричному полі, напруженість якого Е, електрон здобуває за час руху в ньому t імпульс
(1)
де m – маса електрона, V – рівнобіжна вектору Е складова швидкості електрона, е – заряд електрона. При цьому кут відхилення електрона від первісного напрямку руху складе q:
(2)
тут V^
- складова швидкості електрона, перпендикулярна Е.
При влученні електрона в магнітне поле, індукція якого В перпендикулярна швидкості електрона (мал.1), він під дією сили Лоренца буде рухатися по спіралі, радіус якої
(3а)
а крок
(3б)
тут і - відповідно рівнобіжна і перпендикулярна магнітному полю складова швидкості електрона.
2. ЕЛЕКТРОСТАТИЧНІ ЛІНЗИ
Аналогію між переломленням світлових променів і пучка електронів ілюструє мал.2. На мал.2а промінь світла після входу в оптично більш щільне середовище після переломлення на границі роздягнула наближається до нормалі до поверхні. Кути падіння i та переломлення r зв'язані законом переломлення:
(4)
де n1
і n2
– абсолютні показники переломлення першого і другого середовищ відповідно; V1
і V2
– швидкості світла в цих середовищах. Електронний аналог закону переломлення показаний на мал. 2б. Електрон після входу в область більшого потенціалу j2
наближається до нормалі до еквіпотенціальної поверхні в результаті зменшення, складова його швидкості, уздовж нормалі до цієї поверхні. З умови сталості поперечної складовий швидкості випливає
(5а)
чи
(5б)
Розглянутий фізичний механізм зміни траєкторії електрона при русі в електростатичному полі справедливий для будь-якої форми еквіпотенціальних поверхонь. У будь-якому випадку, при перетинанні електроном еквіпотенціальної поверхні з області меншого потенціалу в область більшого потенціалу траєкторія електрона відхиляється до нормалі до еквіпотенціальної поверхні в даній крапці (мал.2в). Якщо змінити напрямок градієнта електричного поля на протилежне, тобто електрон буде переміщатися з області більшого потенціалу в область меншого потенціалу, траєкторія електрона відхиляється в протилежну сторону. Змінюючи конфігурацію еквіпотенціальних поверхонь щодо вектора швидкості електронів, можна формувати траєкторію їхнього руху по необхідному законі. Таким чином, еквіпотенціальні поверхні електростатичного поля можна приблизно вважати аналогами границь оптичних середовищ з різними показниками переломлення, тобто лінзами.
Така аналогія наводить на думку, що найпростішу електростатичну лінзу можна зробити, якщо взяти два порожніх провідних циліндри, помістити їх близько друг до друга і прикласти між ними різниця потенціалів j1
- j2
.
Еквіпотенціальні поверхні в зазорі між цими циліндрами будуть згинатися, як показано на мал.3, оскільки нормаль до осі лінзи складова сили, що діє на вільний заряд, поблизу стінок більше, ніж у середині циліндрів.
Це розходження обумовлене наявністю вільного від зарядів зазору між кінцями циліндрів. Ступінь впливу зазору і, отже, кривизна еквіпотенціальних поверхонь залежать від довжини циліндрів. У випадку, коли циліндри мають нескінченну довжину, еквіпотенціальні поверхні являються рівнобіжними одна одній.
3. МАГНІТНІ ЛІНЗИ
Принцип фокусування електронного променя неоднорідним магнітним полем короткої котушки ілюструє мал.4. У загальному випадку вектор швидкості електрона V спрямований під деяким кутом до осі котушки (лінії ОС). Розкладемо вектор швидкості електрона в крапці А (мал.4) на осьову і радіальну складові (Vz
і Vr
відповідно). Відповідні складові вектора індукції магнітного поля В в цій крапці позначимо Вz
і Вr
. Вектори Vz
і Вr
обумовлюють складову сили Лоренца Ft
(мал. 4, праворуч, угорі). Сила Ft
викликає обертання електронів навколо осі ОС, тобто з'являється азимутальна складова швидкості Vt
, що разом з Вz
утворить силу Fr
, спрямовану до осі котушки. Неважко переконатися в тім, що після перетинання площини СО1
СО2
, незважаючи на зміну напрямку радіальної складової магнітного поля на протилежне, поперечна сила Ft
як і раніше відхиляє електрони до осі ОС. Змінюючи індукцію магнітного поля, можна домогтися перетинання траєкторій всіх електронів у крапці З, забезпечуючи тим самим фокусування електронного потоку.
 |
За допомогою аксіального магнітного поля можна зробити і товсту магнітну лінзу (у товстій магнітній лінзі всі траєкторії електронів розташовуються усередині). 4. ЕЛЕКТРОННО-ОПТИЧНІ МЕТОДИ ДОСЛІДЖЕННЯ МАТЕРІАЛІВ
Історично першим був виготовлений просвітлюючий електронний мікроскоп (ПЕМ), у якому електрони, після проходження через об'єкт, попадають на електронну лінзу, що формує збільшене зображення об'єкта. Оптична схема ПЕМ цілком еквівалентна відповідній схемі оптичного мікроскопа, у якому світловий промінь заміняється електронним променем, а оптичні лінзи чи системи лінз заміняються електронними лінзами чи системами електронних лінз. Достоїнством ПЕМ є велика дозволяюча здатність. Основний недолік зв'язаний з тим, що об'єкт дослідження повинний бути дуже тонким (звичайно тонше, ніж 0.1 мкм). Крім того, у ПЭМ використовують електрони великої енергії. У залежності від досліджуваного матеріалу електрони прискорюють до кінетичної енергії в діапазоні від декількох КэВ до декількох МэВ. Це приводить до нагрівання зразка аж до його руйнування.
5. ЗВИЧАЙНИЙ ПРОСВІТЛЮЮЧИЙ ЕЛЕКТРОННИЙ МІКРОСКОП
ЗПЕМ багато в чому подібний світловому мікроскопу, але тільки для висвітлення зразків у ньому використовується не світло, а пучок електронів. У ньому є електронний прожектор, ряд конденсорних лінз, об'єктивна лінза і проекційна система, що відповідає окуляру, але проектує дійсне зображення на люмінесцентний екран чи фотографічну пластинку. Джерелом електронів звичайно служить катод, що нагрівається, з чи вольфраму гексаборида лантану. Катод електрично ізольований від іншої частини приладу, і електрони прискорюються сильним електричним полем. Для створення такого поля катод підтримують під потенціалом порядку -100 000 В щодо інших електродів, що фокусують електрони у вузький пучок. Ця частина приладу називається електронним прожектором. Оскільки електрони сильно розсіюються речовиною, у колоні мікроскопа, де рухаються електрони, повинний бути вакуум. Тут підтримується тиск, що не перевищує однієї мільярдної атмосферного.
5.1 Електронна оптика.
Електронне зображення формується електричними і магнітними полями приблизно так само, як світлове – оптичними лінзами. Магнітне поле, створюване витками котушки, по якій проходить струм, діє як збиральна лінза, фокусну відстань якої можна змінювати, змінюючи струм. Оскільки оптична сила такої лінзи, тобто здатність фокусувати електрони, залежить від напруженості магнітного поля поблизу осі, для її збільшення бажано сконцентрувати магнітне поле в мінімально можливому обсязі. Практично це досягається тим, що котушку майже цілком закривають магнітною «бронею» зі спеціального нікель-кобальтового сплаву, залишаючи лише вузький зазор у її внутрішній частині. Створюване в такий спосіб магнітне поле може бути в 10–100 тис. раз більш сильним, чим магнітне поле Землі на земній поверхні.
Ряд конденсорних лінз фокусує електронний пучок на зразок. Звичайно перша з них створює не збільшене зображення джерела електронів, а остання контролює розмір освітлюваної ділянки на зразку. Діафрагмою останньої конденсорної лінзи визначається ширина пучка в площині об'єкта. Зразок міститься в магнітному полі об'єктивної лінзи з великою оптичною силою – найважливішої лінзи ЗПЕМ, що визначається граничний можливий дозвіл приладу. Аберації об'єктивної лінзи обмежуються її діафрагмою так само, як це відбувається в фотоапараті чи світловому мікроскопі. Об'єктивна лінза дає збільшене зображення об'єкта (звичайно зі збільшенням порядку 100); додаткове збільшення, внесене проміжними і проекційними лінзами, лежить у межах величин від трохи меншої 10 до трохи більшої 1000. Таким чином, збільшення, яке можна одержати в сучасних ЗПЕМ, складає від 1000 до ~1 000 000. (При збільшенні в мільйон разів грейпфрут виростає до розмірів Землі.) Досліджуваний об'єкт звичайно поміщають на дуже дрібну сітку, вкладену в спеціального тримача. Тримач можна механічним чи електричним способом плавно переміщати вниз і вправо - уліво.
5.2 Зображення.
Контраст в ЗПЕМ обумовлений розсіюванням електронів при проходженні електронного пучка через зразок. Якщо зразок досить тонкий, то частка розсіяних електронів невелика. При проходженні електронів через зразок одні з них розсіюються через зіткнення з ядрами атомів зразка, інші – через зіткнення з електронами атомів, а треті проходять, не перетерплюючи розсіювання. Ступінь розсіювання в якій-небудь області зразка залежить від товщини зразка в цій області, його щільності і середньої атомної маси (числа протонів) у даній крапці. Електрони, що виходять з діафрагми з кутовим відхиленням, що перевищує деяку межу, уже не можуть повернутися в пучок, що несе зображення, а тому що сильно розсіюють ділянки підвищеної щільності, збільшеної товщини, місця розташування важких атомів виглядають на зображенні як темні зони на світлому тлі. Таке зображення називається світлопольним, оскільки на ньому навколишнє поле світліше об'єкта. Але можна зробити так, щоб електрична система, що відхиляє, пропускала в діафрагму об'єктива тільки ті чи інші з розсіяних електронів. Тоді зразок виглядає світлим на темному полі. Слабко розсіюючий об'єкт часто буває зручніше розглядати в режимі темного поля.
Остаточне збільшене електронне зображення перетвориться у видиме за допомогою люмінесцентного екрана, що світиться під дією електронного бомбардування. Це зображення, звичайно слабоконтрастне, як правило, розглядають через бінокулярний світловий мікроскоп. При тій же яскравості такий мікроскоп зі збільшенням 10 може створювати на сітківці ока зображення, у 10 разів більш велике, чим при спостереженні неозброєним оком. Іноді для підвищення яскравості слабкого зображення застосовується люмінофорний екран з електронно-оптичним перетворювачем. У цьому випадку остаточне зображення може бути виведене на звичайний телевізійний екран, що дозволяє записати його на відеоплівку. Відеозапис застосовується для реєстрації зображень, що міняються в часі, наприклад, у зв'язку з протіканням хімічної реакції. Найчастіше остаточне зображення реєструється на фотоплівці чи фотопластинці. Фотопластинка звичайно дозволяє одержати більш чітке зображення, ніж спостерігач простим оком чи записане на відеоплівці, тому що фотоматеріали, узагалі говорячи, більш ефективно реєструють електрони. Крім того, на одиниці площі фотоплівки може бути зареєстроване в 100 разів більше сигналів, ніж на одиниці площі відеоплівки. Завдяки цьому зображення, зареєстроване на фотоплівці, можна додатково збільшити приблизно в 10 разів без утрати чіткості.
5.3 Дозволяюча здатність.
Електронні пучки мають властивості, аналогічні властивостям світлових пучків. Зокрема, кожен електрон характеризується визначеною довжиною хвилі. Дозволяюча здатність ЕМ визначається ефективною довжиною хвилі електронів. Довжина хвилі залежить від швидкості електронів, а отже, від напруги, що прискорює; чим більше прискорює напруга, тим більше швидкість електронів і тим менше довжина хвилі, а виходить, вище дозволяюча здатність. Настільки значна перевага ЕМ у дозволяюча здатність порозумівається тим, що довжина хвилі електронів набагато менше довжини хвилі світла. Але оскільки електронні лінзи не так добре фокусують, як оптичні (числова апертура гарної електронної лінзи складає усього лише 0,09, тоді як для гарного оптичного об'єктива ця величина досягає 0,95), дозволяюча здатність ЕМ дорівнює 50–100 довжинам хвиль електронів. Навіть з настільки слабкими лінзами в електронному мікроскопі можна одержати межа дозволу біля 0,17 нм, що дозволяє розрізняти окремі атоми в кристалах. Для досягнення дозволяючої здатності такого порядку необхідне дуже ретельне настроювання приладу; зокрема, вимагаються высокостабільні джерела живлення, а сам прилад (який може бути висотою біля 2,5 м і мати масу в кілька тонн) і його додаткове устаткування вимагає монтажу, що виключає вібрацію.
6. РАСТРОВИЙ ЕЛЕКТРОННИЙ МІКРОСКОП. ЗАГАЛЬНІ ВІДОМОСТІ
Більш простим і універсальної для практичного застосування є скануючий і растровий електронний мікроскоп. РЕМ призначений для дослідження масивних об'єктів з дозволяючою здатністю, істотно більш низьким, ніж у ПЕМ, - від 50 до 200 А. У растровому електронному мікроскопі добре сфокусований електронний пучок розгортають за допомогою магнітної чи електростатичної системи, що відхиляє, по заданій площі на об'єкті дослідження. При взаємодії електронів пучка з об'єктом виникає кілька видів випромінювань – вторинні і відбиті електрони; електрони, що пройшли через об'єкт (якщо він тонкий); рентгенівське випромінювання. Кожне з цих випромінювань може реєструватися відповідним детектором, що перетворить випромінювання в електричні сигнали, що після посилення модулюють пучок електронно-променевої трубки (ЕПТ).
Розгорнення пучка ЕПТ проходить синхронно з розгорненням електронного зонда в РЕМ. Зображення об'єкта у відповідному випромінюванні спостерігається на екрані ЕПТ. Збільшення мікроскопа визначається відношенням розмірів областей сканування в РЕМ і ЕПТ.
Різноманіття областей застосування РЕМ зв'язане з різними механізмами взаємодії електронів із кристалічними твердими тілами.
Можливості РЕМ для вивчення рельєфу поверхні об'єкта ілюструє мал.5. Реєструєма детектором інтенсивність потоку розсіяних електронів залежить від того, у яке місце стосовно нерівностей поверхні зразка падає пучок у процесі сканування.
Крім розглянутого вище топографічного контрасту, у РЕМ часто спостерігають контраст сполуки. Цей контраст зв'язаний з тим, що коефіцієнт вторинної електронної емісії залежить від атомного номера елемента і, отже, від хімічного складу зразка в даній крапці.
Поряд з топографічним контрастом і контрастом сполуки в РЕМ використовують також і інші: кристалічний і магнітний. Методи створення дифракційних картин у РЕМ досить прості і дають велику інформацію про кристалічну будову і досконалість зразків. При дослідженні в растровому електроном мікроскопі магнітних зразків для доменів з різним намагнічуванням спостерігається контраст, обумовлений тим, що магнітні поля доменів у значній мірі впливають на траєкторії руху вторинних електронів.
7. РАСТРОВИЙ ЕЛЕКТРОННИЙ МІКРОСКОП. ТЕХНІЧНІ ВІДОМОСТІ
7.1 Застосування
Електронний растровий мікроскоп призначений для дослідження тонкої структури металів і сплавів у вторинних, відбитих і поглинених електронах, а також для дослідження поверхні зломів шляхом візуального спостереження і фотографування.
За допомогою електронного мікроскопа, використовуючи малі збільшення до 20X можна спостерігати великі площі поверхні, а також одержувати знімки окремих ділянок ушкоджень і зломів при 100000 кратному збільшенні.
Найбільш важливі області застосування:
1) аналіз експлуатаційних ушкоджень;
2) джерело інформації про внутрішню будову металу;
До можливостей мікрофотографії варто віднести:
а) виявлення ліній утоми;
б) спостереження водневої крихкості;
в) вивчення дефектів росту кристалів;
г) виявлення високотемпературної дислокації включень.
7.2 Принцип дії
Електронний промінь у виді тонкого пучка електронів (діаметр пучка £ 10 нм) обігає (сканує) зразок по рядках крапку за крапкою і синхронно передає сигнал на кінескоп. При влученні електронного променя в яку-небудь точку зразка відбувається вибивання з його матеріалу вторинних електронів і відбитих електронів.
Електронний зонд являє собою тонкий пучок електронів приблизно циліндричної форми, при впливі його на зразок збуджуються однаково малі плями електронного порушення. Цим порозумівається гарна глибина різкості зображення при растровій електронній мікроскопії. Первинний електронний промінь (зонд) формується у вакуумному стовпчику (електронній гарматі) растрового електронного мікроскопа (мал.6). Електрони вилітають з розжарюваного катода, і прискорюються електричним полем напругою 1-50 кв. Промінь фокусується трьома електромагнітними конденсорними лінзами і за допомогою котушок, що відхиляють, сканується за зразком.
Випроменені зразком електрони викликають у сцинтилляторі світлові спалахи (фотони). Швидкі пружно розсіяні (відбиті) електрони з високою енергією без значного підведення енергії попадає в сцинтиллятор; вторинні електрони з низькою енергією при русі до сцинтиллятору одержують прискорення в результаті додатка електричного поля. Світлові промені залишають вакуумну камеру через світловод і в фотомножнику, що примикає до нього перетворюються у світлові імпульси. За допомогою останніх, об'єкт начебто висвітлюється сцинтиллятором, установленим на бічній стороні об'єкта, а спостереження ведеться з боку напрямку первинного електронного променя.
РОЗДІЛ ІІ. ПОСТАНОВКА ЗАДАЧІ
За допомогою електронного мікроскопа, використовуючи малі збільшення до 20X можна спостерігати великі площі поверхні, а також одержувати знімки окремих ділянок ушкоджень і зломів при 100000 кратному збільшенні.
Найбільш важливі області застосування:
1) аналіз експлуатаційних ушкоджень;
2) джерело інформації про внутрішню будову металу;
3) аналіз поверхні напівпровідникових матеріалів.
Для виконання дипломної роботи було поставлено таку задачу:
1. Вивчити будову та принцип роботи електронного мікроскопа.
2. Вивчити конструкцію та принцип роботи растрового електронного мікроскопа.
3. Провести юстировку електронно-оптичної схеми електронного мікроскопа.
4. Розробити схему сканування.
5. Виготовити пристрій для реєстрації електронів.
6. Розробити схему для реєстрації фотонів.
7. Приготовити металеві та напівпровідникові зразки для досліджень.
8. Провести дослідження поверхні зразків.
9. Оформити результати.
РОЗДІЛ ІІІ. ЕКСПЕРИМЕНТАЛЬНА ЧАСТИНА
В ході проведення експериментальної частини дипломної роботи були використані такі прибори:
· Електронний мікроскоп TESLA BS500. Гарантована дозволяюча здатність якого 7 , коефіцієнт збільшення 500 – 100000
· Підсилювач електрометричний У5-7. Гранична чутливість якого 10-10
А (V)
· Циліндр Фарадея. (Виготовлений вручну)
· Фотодіод
· Генератор пилкообразних імпульсів
· Самописець
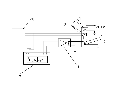
Під час виконання дипломної роботи було проведено юстировку електронно-оптичної схеми електронного мікроскопа, розроблено схему сканування і виготовлено пристрій для реєстрації електронів. Мал. 7. Схема реєстрації вторинних електронів
1. – катод. 2. – анод. 3. – відхиляючі котушки. 4. – циліндр Фарадея. 5. – зразок. 6. – підсилювач електрометричний У5-7. 7. – самописець. 8. – генератор пилкообразних імпульсів
(мал.7). Розроблено схему для реєстрації фотонів(мал.8).
Мал. 8. Схема реєстрації вторинних електронів
1. – катод. 2. – анод. 3. – відхиляючі котушки. 4. – фотодіод. 5. – зразок. 8. – генератор пилкообразних імпульсів
Приготовлено металеві та напівпровідникові зразки для досліджень:
1. металева сітка з розміром клітини а = 0.25 мм.
2. кремнієва пластина з невеликими інородними включеннями ~0.5 мм.
3. кремнієва пластина з олов’яними електродами розташованими один від одного на відстані 3 мм.
Проведено дослідження поверхні зразків. Зразок (1) було досліджено за допомогою двох схем (мал.7,8), зразки (2) і (3) тільки за допомогою схеми, що реєструє електрони (мал. 7).
Отримані результати зображені на мал. 9, 10, 11, 12.

Мал.9. металева сітка з розміром клітини а = 0.25 мм. Досліджувана за допомогою циліндра Фарадея.
Мал.10. металева сітка з розміром клітини а = 0.25 мм. Досліджувана за допомогою фотодіода.
мал. 11. кремнієва пластина з невеликими інородними включеннями ~0.5 мм. Досліджувана за допомогою циліндра Фарадея.  Мал. 12. кремнієва пластина з олов’яними електродами розташованими один від одного на відстані 3 мм. Досліджувана за допомогою циліндра Фарадея.
Висновки.
1. Проведений літературний пошук показав, що скануюча мікроскопія має переваги перед просвітлюючою:
а) методи створення дифракційних картин у РЕМ досить прості і дають велику інформацію про кристалічну будову і досконалість зразків.
б) можливість дослідження масивних зразків.
в) можливість дослідження внутрішньої будови зразків.
г) можливість виводу на екран комп’ютера.
д) велика кількість способів досліджень зразків.
е) простий в експлуатації.
- Принципіально показано:
а) можливість діагностики поверхні металевих та напівпровідникових зразків за допомогою реєстрації вторинних електронів циліндром Фарадея.
б) можливість діагностики поверхні матеріалів, що добре люмінісцюють.
- Можливість використання даної установки для дослідження поверхні напівпровідників.
РОЗДІЛ ІV. ОХОРОНА ПРАЦІ
1. ЗАХОДИ ЕЛЕКТРОБЕЗПЕКИ ТА ПОЖЕЖОБЕЗПЕКИ ПРИ РОБОТІ З ЕЛЕКТРОННИМ МІКРОСКОПОМ
1.1 Забезпечення безпеки при роботі на електроустановках.
Одним із найбільш важливих напрямків забезпечення охорони праці при проведенні експериментальних досліджень є забезпечення безпеки при роботі на електроустановках.
Статистика показує, що кількість травм, викликаних електричним струмом, становить 2% від їх загальної кількості. Але з усіх нещасних випадків, які завершилися летально, найбільша кількість припадає на враження електричним струмом. Причому до 80% усіх випадків електротравматизму зі смертельним кінцем приходиться на електроустановки з напругою до 1000 В (110 В і 380 В). Лабораторні електроустановки працюють саме у такому діапазоні напруг.
Електротравмою називають враження тканин і органів електричним струмом: обпіки, електричні знаки (мітки, електрометалізація шкіри, електроофтальмія та механічні враження).
Базуючись на аналізи нещасних випадків та довгого досліду експлуатації електроустановок розрізняють наступні фактори, від яких залежить в основному кінець враження електричним струмом:
1. Значення електричного струму.
Це головний вражаючий фактор при електротравмах. Виділяють наступні порогові значення струму:
- поріг відчуття струму (0.5-1.5 мА змінного струму, 5-7 мА
постійного струму);
- поріг невідпускаючого струму (10-15 мА змінного струму,
50-80 мА постійного струму);
- смертельний струм (100 мА та більше).
2. Рід та частота струму.
Відомо, що змінний струм частотою 50-60 Гц більш небезпечний, ніж постійний. Однак при напрузі U>300 В небезпека постійного струму зростає. Небезпека дії змінного струму знижується з ростом частоти та стає практично непомітною при частоті 1000-2000 Гц, повністю зникає при 450-500 кГц (залишається небезпека обпіків).
3. Опір тіла людини.
Це змінна величина, що має нелінійну залежність від багатьох факторів, у тому числі, від стану шкіри, параметрів електричного ланцюга, фізіологічних показників та стану навколишнього середовища. Величиною опору людини вважають 1000 Ом. Це значення спостерігається при невідпускаючих струмах. При відсутності струму опір тіла людини 2000-2500 Ом, при смертельному струмі знижується до 700 Ом.
| Залежність опору тіла людини від прикладеної напруги
|
| Струм через людину, мА
|
1
|
6
|
65
|
75
|
100
|
250
|
| Прикладена напруга, В
|
6
|
18
|
75
|
80
|
100
|
175
|
| Опір тіла людини, Ом
|
6000
|
3000
|
1150
|
1065
|
1000
|
700
|
4. Величина прикладеної напруги.
Від величини напруги залежить можливість пробою шкіри і зниження опору тіла людини. Пробій верхнього порогового шару шкіри (епідерміса) можливий при напрузі 50 В та вище, а напруга 200 В завжди викликає пробій наружного шару шкіри. Найбільш часто нещасні випадки електротрвматизму відбуваються при напругах 127, 220 та 380 В.
5. Шлях струму у тілі людини.
Якщо на шляху струму виявляються життєво важливі органи – серце, легені, головний мозок, то небезпека враження дуже велика, так як струм діє безпосередньо на ці органи. Можливих шляхів струму у тілі людини багато, та самими розповсюдженими є: рука-рука, рука-нога, нога-нога, голова-рука, голова-ноги.
6. Тривалість дії струму на організм людини.
Чим коротша дія, тим менша небезпека враження.
7. Індивідуальні особливості людини.
Характер дії при одному і тому ж струмі залежить від стану нервової системи та усього організму, від маси людини, її фізичного розвитку.
Основними причинами нещасних випадків від дії електричного струму на даному експериментальному обладнанні можуть бути:
- випадковий дотик або наближення на небезпечну відстань до струмоведучих частин, що знаходяться під напругою;
- поява напруги дотику на металічних конструктивних частинах електрообладнання (корпусах, кожухах та ін.) у результаті пошкодження ізоляції та інших причин.
При наявності можливості одночасного дотику до металічних корпусів обладнання і металоконструкцій приміщення дане лабораторне приміщення потрібно віднести до приміщення з підвищеною небезпекою.
Основними заходами захисту від враження електричним струмом при таких умовах є:
- забезпечення недоступності струмоведучих частин, що знаходяться під напругою, для випадкового дотику;
- електричний розділ мережі;
- усунення небезпеки враження при появі напруги на корпусах, кожухах та інших частинах електрообладнання;
- використання малих напруг;
- захист від небезпеки при переході напруги з вищої сторони на нижчу;
- контроль та профілактика пошкоджень ізоляції.
Усунення небезпеки враження струмом у випадку дотику до корпуса та інших неструмоведучих металевих частин електроустановки, що опинилися під напругою, досягається захисним заземленням, зануленням, захисним відключенням.
Мікроскоп можно підключити до мережі 3*380 Вl або 3*220 ВD або до однофазної мережі 220 В. частота мережі в всіх випадках повинна бути 50 – 60 Гц, коливання Umax
±10%. Потужність, що споживається пристроєм складає 5,5 кВА. Мікроскоп заземлюється за допомогою мережевного кабеля, на пристрої не передбачений заземлюючий зажим.
Рівень напруги в елементах електронного мікроскопа:
· форвакумний насос – 220 В
· дифузіонний насос – 220 В
· катод – 60 кВ (90 кВ)
· підвищуючий трансформатор - 60 кВ (90 кВ)
· управляюча та реєструюча системи – 220 В
Захисне заземлення – це попереднє електричне з`єднання із землею металічних неструмоведучих частин обладнання, які можуть опинитися під напругою внаслідок замикання на корпус та інших причин (індуктивний вплив сусідніх струмоведучих частин, винос потенціалу, розряд блискавки та ін.).
Одним із способів запобігання небезпечних вражень електричним струмом є захисне відключення. Тут використовуються спеціальні пристрої, що забезпечують швидке автоматичне відключення пошкодженої ділянки електричного ланцюга при однофазному замиканні струмоведучих частин на корпусі, доступних для дотику. Виконується захисне відключення у вигляді реле (реле максимального струму, реле напруги та ін.). Захисне відключення – не лише захід техніки безпеки, воно попереджує також аварії обладнання.
Одним із заходів по забезпеченню електробезпеки при експериментальних дослідах є дотримання правил експлуатації лабораторного обладнання.
Виконання усіх перерахованих заходів по забезпеченню електробезпеки при проведенні експериментальних дослідів за допомогою електронного мікроскопа дозволяє уникнути враження електричним струмом під час виконання робіт.
Згідно з ПУЕ лабораторія з електронним мікроскопом відноситься до приміщень з підвищенною небезпекою.
2. ПРИЧИНИ ВИНИКНЕННЯ ПОЖЕЖ ПРИ РОБОТІ З ЕЛЕКТРОННИМ МІКРОСКОПОМ.
Джерелами займання можуть бути електричні іскри, дуги, коротке замикання, струмові перевантаження, перегріті опірні поверхні, несправність обладнання. Окислювачем звичайно служить кисень. Але потужність і тривалість дії цих джерел займання порівняно малі, тому горіння, як правило, не розвивається. Виникнення пожежі в електронних пристроях можливе, якщо використовуються спалимі і важко спалимі матеріали і вироби.
Кабельні лінії електроживлення виконані із спалимого ізоляційного матеріалу, тому є найбільш пожежонебезпечними елементами в конструкціях електрообладнання.
2.1 Причини виникнення короткого замикання (КЗ). Термічна та електродинамічна дія КЗ. Профілактика КЗ.
КЗ виникають в результаті порушення ізоляції частин обладнання, що проводять струм, і зовнішніх механічних пошкоджень в електричних дротах, обмотках двигунів і апаратів. Ізоляція елементів, що проводять струм, може пошкоджуватися при дії на неї високої температури або полум’я, інфрачервоного випромінювання, переходу напруги з первинної обмотки на вторинну, при відсутності волого- і пилезахисту обладнання, при підвищених режимах навантаження (нагрів до високих температур, і як наслідок, при охолоджені конденсується вода) та ін.
Сила струму КЗ може бути від одиниць до сотень кілоампер і залежить від таких факторів: потужності джерела живлення (прямо пропорційно); повного опору елементів кола, включених між джерелом живлення і точкою КЗ; виду короткого замикання (трифазне, однофазне), при однофазних КЗ сила струму мінімальна; часу з моменту виникнення КЗ до відключення КЗ апаратами захисту. Якщо апарати захисту швидкодіючі і особливо струмообмежуючі, тоді КЗ не встигає досягнути максимального значення.
Струми КЗ викликають термічну та електродинамічну дію і супроводжуються різким зниженням напруги в електромережі. Струми КЗ можуть перегріти частини, що проводять струм, і розплавити дроти (температура до 200000
С). Протікання по провіднику тривалого допустимого струму силою (І) пов’язане з виділенням тепла Q (Дж) і кількісно визначається законом Ленца-Джоуля:
де І – сила тривалого допустимого струму, А;
R – активний опір, Ом;
t - час, с.
Час проходження струму КЗ не перевищує декількох секунд або навіть долі секунди і залежить від апаратів захисту (плавких запобіжників, автоматичних вимикачів тощо). При проходженні струму КЗ, сила якого перевищує допустимий струм, температура нагріву дроту різко підвищується і може досягнути небезпечних значень (не враховується відвід тепла в навколишнє середовище, оскільки час проходження струму малий, а все виділене в провіднику тепло йде на його нагрівання).
Два провідники, по яких проходить електричний струм, взаємодіють один з одним. Напрям сили взаємодії визначається напрямом струмом в провідниках. При однаковому напрямі струму електродинамічні сили притягують провідники, при різних – відштовхують. При КЗ в мережі можуть виникати струми, що в десятки і сотні разів перевищують номінальні, тому електродинамічні сили прагнуть деформувати провідники та ізолюючі частини, на яких вони кріпляться.
КЗ супроводжується різким зниженням напруги в електромережах. В результаті виникає частковий або повний розлад електропостачання споживачів.
Профілактика КЗ передбачає такі заходи:
· Правильний вибір, монтаж і експлуатація електричних мереж, електрообладнання;
· Правильний вибір конструкції електрообладнання, способу встановлення і класу ізоляції;
· Електричний захист електричних мереж, електрообладнання (швидкодіючі реле, автоматичні вимикачі, запобіжники).
2.2 Причини виникнення перевантаження та їх профілактика.
При проходженні струму по провідниках виділяється тепло, яке нагріває їх до температур, при яких посилюється окислювальні процеси, на дротах утворюються оксиди, які мають високий опір, в результаті чого збільшується опір контакту і відповідно кількість тепла, що призводить до старіння або руйнування ізоляції. І як наслідок – електричний пробій ізоляції і пошкодження пристою, а при наявності спалимої ізоляції та пожежо- і вибухонебезпечного середовища – пожежа або вибух. Оскільки кожний провідник розрахований на певний струм, збільшення цього струму може призвести до перевантаження.
Причиною перевантаження може бути неправильний розрахунок при проектуванні мереж і схем (занижений переріз дротів, перевантаження радіоелементів, додаткове включення пристроїв до джерел живлення, на які вони не розраховані), зниження напруги в мережі.
Профілактика пожеж від перевантажень:
· При проектуванні необхідно правильно вибирати переріз провідників мереж і схем за допустимою густиною струму, щоб

де Ідоп
– допустима величина струму;
Ір
– робоча величина струму;
· В процесі експлуатації електричних мереж не можна вмикати додатково електроприймачі, якщо мережа на це не розрахована;
· Для захисту електрообладнання від струмів перевантаження найбільш ефективними є автоматичні і електронні схеми захисту, вимикачі, теплові реле і плавкі запобіжники.
2.3 Причини виникнення перехідних опорів та їх профілактика.
Причиною пожежі і аварій можуть бути великі перехідні опори, які виникають в місцях з’єднань та розгалужень провідників, в контактах пристроїв або на клемах, якщо ці з’єднання зроблені неправильно або покрилися іржою. Падіння напруги в місці з’єднань можна визначити за формулою

де rk
– контактний опір.
Контактний опір складається з двох опорів:

де rпер
– перехідний опір, викликаний нерівною поверхнею металу, Ом;
rпл
- опір, викликаний наявністю оксидних плівок на поверхні, Ом.
При проходженні струму навантаження в такому контактному з’єднанні виділяється деяка кількість тепла, пропорційна квадрату струму і опору точок дійсного дотику. Вона може бути настільки великою, що місця перехідних опорів сильно нагріваються. Якщо контакти будуть торкатися спалимих матеріалів, то ці матеріали можуть зайнятися, якщо ж є вибухонебезпечна суміш газів, парів або пилу – виникне вибух.
Профілактика пожеж від перехідних опорів:
· Для збільшення площі дійсного дотику контактів необхідно використовувати пружні контакти або спеціальні сталеві пружини;
· Для відводу тепла від точок дотику і розсіювання його необхідно виготовляти контакти певної маси і поверхні охолодження;
· Всі контактні з’єднання повинні бути доступні для огляду.
Головним заходом запобігання пожеж і вибухів від електрообладнання є правильний вибір і експлуатація обладнання у вибухо- і пожежонебезпечних приміщеннях і виробництвах.
Приміщення з електронним мікроскопом у відповідності із ОНТП 24-86 відноситься до категорії Д.
Заходи пожежогасіння: фізичний та хімічний.
До фізичних способів відносяться:
· Охолодження зони горіння;
· Розбавлення реагуючих речовин в зоні горінні негорючими речовинами;
· Ізоляція реагуючих речовин від зони горіння.
Хімічний спосіб – це хімічне гальмування реакції горіння.
До основних засобів гасіння пожежі відносяться:
· Вода
· Інертні гази
· Піни хімічні та повітряномеханічні
· Порошкові суміші
Література.
1. В. М. Кельман «Электронная оптика», Москва, 1968 г.
2. Т. Стэррок «Статическая и динамическая электронная оптика», Москва, 1958 г.
3. Л. Энгельс, Г. Клингеле «Растровая электронная микроскопия. Разрушение», Москва, 1986 г.
4. П. Хирш, А. Хоби, Р. Николсон, Д. Пэшли, М. Уэлан «Электронная микроскопия тонких кристаллов», Москва, 1968 г.
5. В. Косслет «Введение в электронную оптику», ИЛ, 1950 г.
6. Л. А. Катренко, І. П. Пістун «Охорона праці в галузі освіти», Суми. 2001 г.
|