Банк рефератов содержит более 364 тысяч рефератов, курсовых и дипломных работ, шпаргалок и докладов по различным дисциплинам: истории, психологии, экономике, менеджменту, философии, праву, экологии. А также изложения, сочинения по литературе, отчеты по практике, топики по английскому.
Полнотекстовый поиск
Всего работ:
364139
Теги названий
Разделы
Авиация и космонавтика (304)
Административное право (123)
Арбитражный процесс (23)
Архитектура (113)
Астрология (4)
Астрономия (4814)
Банковское дело (5227)
Безопасность жизнедеятельности (2616)
Биографии (3423)
Биология (4214)
Биология и химия (1518)
Биржевое дело (68)
Ботаника и сельское хоз-во (2836)
Бухгалтерский учет и аудит (8269)
Валютные отношения (50)
Ветеринария (50)
Военная кафедра (762)
ГДЗ (2)
География (5275)
Геодезия (30)
Геология (1222)
Геополитика (43)
Государство и право (20403)
Гражданское право и процесс (465)
Делопроизводство (19)
Деньги и кредит (108)
ЕГЭ (173)
Естествознание (96)
Журналистика (899)
ЗНО (54)
Зоология (34)
Издательское дело и полиграфия (476)
Инвестиции (106)
Иностранный язык (62791)
Информатика (3562)
Информатика, программирование (6444)
Исторические личности (2165)
История (21319)
История техники (766)
Кибернетика (64)
Коммуникации и связь (3145)
Компьютерные науки (60)
Косметология (17)
Краеведение и этнография (588)
Краткое содержание произведений (1000)
Криминалистика (106)
Криминология (48)
Криптология (3)
Кулинария (1167)
Культура и искусство (8485)
Культурология (537)
Литература : зарубежная (2044)
Литература и русский язык (11657)
Логика (532)
Логистика (21)
Маркетинг (7985)
Математика (3721)
Медицина, здоровье (10549)
Медицинские науки (88)
Международное публичное право (58)
Международное частное право (36)
Международные отношения (2257)
Менеджмент (12491)
Металлургия (91)
Москвоведение (797)
Музыка (1338)
Муниципальное право (24)
Налоги, налогообложение (214)
Наука и техника (1141)
Начертательная геометрия (3)
Оккультизм и уфология (8)
Остальные рефераты (21692)
Педагогика (7850)
Политология (3801)
Право (682)
Право, юриспруденция (2881)
Предпринимательство (475)
Прикладные науки (1)
Промышленность, производство (7100)
Психология (8692)
психология, педагогика (4121)
Радиоэлектроника (443)
Реклама (952)
Религия и мифология (2967)
Риторика (23)
Сексология (748)
Социология (4876)
Статистика (95)
Страхование (107)
Строительные науки (7)
Строительство (2004)
Схемотехника (15)
Таможенная система (663)
Теория государства и права (240)
Теория организации (39)
Теплотехника (25)
Технология (624)
Товароведение (16)
Транспорт (2652)
Трудовое право (136)
Туризм (90)
Уголовное право и процесс (406)
Управление (95)
Управленческие науки (24)
Физика (3462)
Физкультура и спорт (4482)
Философия (7216)
Финансовые науки (4592)
Финансы (5386)
Фотография (3)
Химия (2244)
Хозяйственное право (23)
Цифровые устройства (29)
Экологическое право (35)
Экология (4517)
Экономика (20644)
Экономико-математическое моделирование (666)
Экономическая география (119)
Экономическая теория (2573)
Этика (889)
Юриспруденция (288)
Языковедение (148)
Языкознание, филология (1140)

Реферат: Монтаж щитов, пультов и стативов (автоматизация)

Название: Монтаж щитов, пультов и стативов (автоматизация)
Раздел: Рефераты по технологии
Тип: реферат Добавлен 13:29:44 17 сентября 2005 Похожие работы
Просмотров: 7269 Комментариев: 19 Оценило: 15 человек Средний балл: 4.1 Оценка: 4     Скачать

Повышению эффективно­сти процесса обучения во многом способствует систе­матический и постоянный контроль знаний учащихся, наиболее распространён­ными методами которого яв­ляются устный опрос и письменная проверка. Такой контроль является первосте­пенной задачей каждого пре­подавателя на всех уровнях учебно-воспитательного процесса, поскольку возбуж­дает интерес к предмету и стимулирует познавательную деятельность учащихся.

В данных методических рекомендациях приведены карточки для безмашинного индивидуального опроса по следующим разделам:

1. Монтаж щитов, пультов и стативов – 6 вариантов.

2. Монтаж трубных прово­док – 4 варианта:

А) Типовые схемы им­пульсных линий при измере­нии давлений – 4 варианта.

Б) Типовые схемы соеди­нительных линий при изме­рении давления и расхода – 4 варианта.

3. Монтаж электрических проводок – 4 варианта.

Использование индиви­дуальных карточек обеспе­чивает самостоятельность ответов. Карточки могут применяться для программи­рованного опроса на маши­нах “Ритм” и “Аккорд”.

Карточки опроса по всем темам составлены по еди­ному принципу, что облег­чает их применение. В левой части каждой карточки нахо­дятся пять вопросов, а в пра­вой – по три ответа на каж­дый, один из которых пра­вильный. Оценки выставля­ются по количеству послед­них.

При изучении материала нужно использовать все имеющиеся наглядные сред­ства.

Вопросы, включённые в карточки, сначала рассмат­риваются на занятиях, и только потом можно приме­нять карточки опроса.

При изучении раздела “Монтаж щитов, пультов и стативов” обязательно нужно использовать ОСТ 36.13-76 “Щиты и пульты систем ав­томатизации технологиче­ских процессов”. Учащиеся должны знать термины, их определения, наименование и условное обозначение щитов. При изучении конструкции щитов, пультов и стативов необходимо обратить внима­ние на типовые элементы.

В разделе “Монтаж труб­ных проводок” приведена классификация трубных про­водок по функциональному назначению, указано, какие конкретно трубы применя­ются в системах автоматиза­ции технологических процес­сов, описаны способы соеди­нения труб и подготовка их к монтажу.

Карточки для опроса по темам “Типовые схемы им­пульсных линий при измере­нии давлений ” и “ Типовые схемы соединительных ли­ний при измерении давления и расхода ” составлены на основе типовых монтажных схем импульсных трубных проводок при измерении давления и расхода различ­ных сред. Перед их исполь­зованием на занятиях должен быть проработан следующий материал:

- основные требова­ния к трубным проводкам;

- назначение и мон­таж различной арматуры (за­порных и продувочных вен­тилей, трёхходовых кранов);

- назначение и мон­таж газосборников, влагос­борников, отстойников, раз­делительных и конденсаци­онных сосудов.

В разделе “Монтаж электрических проводок” дана их классификация, ука­зано, какие провода и кабели применяются при монтаже систем контроля и автома­тики, описаны их конструк­ции и маркировка. Учащийся обязан знать расшифровку обозначений проводов и ка­белей.

При рассмотрении спосо­бов оконцевания и соедине­ния проводок и жил кабелей преподаватель должен про­демонстрировать, каким об­разом они выполняются, ис­пользуя плакаты и натураль­ные образцы.

Монтаж щитов, пуль­тов и стативов

Назначение и классификация щитов

Щиты систем автоматиза­ции являются связующим звеном между объектом управления и оператором.

Основное назначение щи­тов – централизация средств контроля и регулирования работы агрегата, технологи­ческой установки или цеха. Одновременно они служат несущей конструкцией для установки приборов, средств автоматизации, подводящих и обвязочных проводок.

По назначению щиты под­разделяются на местные, аг­регатные, блочные, цен­тральные и вспомогательные.

На местных щитах монти­руются приборы и средства управления частью техноло­гической установки (индиви­дуальной установкой). В ос­новном местные щиты явля­ются шкафными и разме­щены вблизи контролируе­мого объекта, т.е. в произ­водственном помещении.

Агрегатные щиты предна­значены для монтажа средств контроля и управления од­ним технологическим агрега­том, а также однотипными агрегатами или технологиче­скими установками, распо­ложенным в одном помеще­нии. Такие щиты обычно по­ставляются заводом-изгото­вителем агрегата в комплекте с ним.

Блочные щиты служат для размещения приборов и средств управления работой связанных между собой агре­гатов, представляющих ком­плексную установку.

Центральные щиты (дис­петчерские) – это щиты, на которых сосредоточены средства контроля и регули­рования технологических процессов цеха, завода или комплекса технологически связанных производств. Цен­тральные щиты устанавли­ваются в специальных поме­щениях КИПиА.

Вспомогательные щиты – это щиты неоперативного на­значения. Они подразделя­ются на:

- релейные щиты, на которых размещают всевоз­можную электроаппаратуру, элементы систем электриче­ской сигнализации, блоки­ровки и управления;

- щиты питания (слу­жат ля подвода электроэнер­гии к системе КИПиА);

- щиты с обогревом (малогабаритные), которые применяются при монтаже приборов на открытых пло­щадках и в неотапливаемых помещениях.

По конструкции разли­чают щиты шкафные нор­мальных габаритных разме­ров (полногабаритные), шкафные малогабаритные, панельные с каркасом, ста­тивы и вспомогательные уст­ройства к щитам. Конструк­цию щитов, стативов и пуль­тов регламентирует ОСТ 36.13-76 “Щиты и пульты систем автоматизации техно­логических процессов”. В дополнение к нему разрабо­тан РМ 3-82-76, определяю­щий конструкцию щитов и пультов.

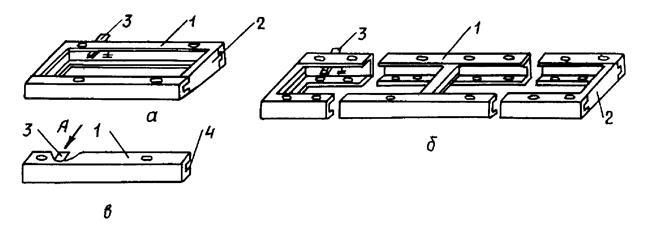
Структурная схема

построения щитовых конст­рукций по ОСТ 36.13-76

Термины щитовой продук­ции:

Каркас – жесткий несу­щий объемный или плоский металлический остов, пред­назначенный для установки на нём панелей, стенок, две­рей, крышек и монтажа при­боров, аппаратов, электриче­ских и трубных проводок и др.

Шкаф – объемный кар­кас на опорной раме с уста­новленными на ней панелью, стенками, дверью, крышкой.

Стойка – объемный или плоский каркас на опорной раме.

Панель с каркасом - объемный каркас на опорной раме с установленной на ней панелью.

Корпус пульта - объем­ный каркас с установлен­ными наклонной столешни­цей, стенками, дверьми.

Щит шкафной – шкаф с установленными на унифи­цированных монтажных кон­струкциях, поворотной или стационарной раме аппара­турой, арматурой, устано­вочными изделиями и с элек­трической и трубной провод­ками, подготовленными к подключению внешних це­пей и приборов, устанавли­ваемых на объекте.

Щит панельный с карка­сом – панель с каркасом с ус­тановленными на унифици­рованных монтажных конст­рукциях, поворотной или стационарной раме аппара­турой, арматурой, устано­вочными изделиями и с элек­трической и трубной провод­ками, подготовленными к подключению внешних це­пей и приборов, устанавли­ваемых на объекте.

Статив – стойка с объ­емным каркасом и установ­ленными на унифицирован­ных монтажных конструк­циях, аппаратурой, армату­рой, установочными изде­лиями и с электрической и трубной проводками, подго­товленными к подключению внешних цепей и приборов, устанавливаемых на объекте.

Статив плоский – стойка с плоским каркасом и уста­новленными на унифициро­ванных монтажных конст­рукциях, аппаратурой, арма­турой, установочными изде­лиями и с электрической и трубной проводками, подго­товленными к подключению внешних цепей и приборов, устанавливаемых на объекте.

Панель вспомогательная и панель вспомогательная с дверьми – панели, предна­значенные для оформления многопанельных каркасных щитов.

Панель декоративная – панель, предназначенная для декоративного оформления верхней части щитов панель­ных с каркасом, а также для монтажа элементов мнемо­схем.

Вставка угловая – эле­мент, предназначенный для соединения двух смежных щитов или пультов, устанав­ливаемых под углом друг к другу.

Наименование и типы щитов, стативов, пультов

И вспомогательных эле­ментов к ним (ОСТ 36.13-76)


Наименование Усл.обозн.

Щиты шкафные

Щит шкафной с задней дверью ЩШ-ЗД

Щит шкафной с задней дверью, открытый с двух сторон ЩШ-ЗД-02

Продолжение

Наименование Усл.обозн.

Щит шкафной с задней дверью, открытый с правой

стороны ЩШ-ЗД-ОП

Щит шкафной с задней дверью, открытый с левой

стороны ЩШ-ЗД-ОЛ

Щит шкафной двухсекционный ЩШ-2

Щит шкафной двухсекционный, открытый с двух сторон ЩШ-2-02

Щит шкафной двухсекционный, открытый с правой

стороны ЩШ-2-ОП

Щит шкафной двухсекционный, открытый с левой

стороны ЩШ-2-ОЛ

Щит шкафной трёхсекционный ЩШ-3

Щит шкафной трёхсекционный, открытый с двух сторон ЩШ-3-02

Щит шкафной трёхсекционный, открытый с правой

стороны ЩШ-3-ОП

Щит шкафной трёхсекционный, открытый с левой

стороны ЩШ-3-ОП

Щит шкафной с передней и задней дверьми ЩШ-ПЗД

Щит шкафной малогабаритный ЩШМ

Щиты для диспетчерских и операторских пунктов

Щит панельный с каркасом ЩПК

Щит панельный с каркасом, закрытый с правой

стороны ЩПК-ЗП

Щит панельный с каркасом, закрытый с левой

стороны ЩПК-ЗЛ

Щит панельный с каркасом двухсекционный ЩПК-2

Щит панельный с каркасом двухсекционный,

закрытый с правой стороны ЩПК-2-ЗП

Щит панельный с каркасом двухсекционный,

закрытый с левой стороны ЩПК-2-ЗЛ

Щит панельный с каркасом трёхсекционный ЩПК-3

Щит панельный с каркасом трёхсекционный,

закрытый с правой стороны ЩПК-3-ЗП

Щит панельный с каркасом трёхсекционный,

закрытый с левой стороны ЩПК-3-ЗЛ

Стативы

Продолжение

Наименование Усл.обозн.

Статив С

Статив двухсекционный С-2

Статив трёхсекционный С-3

Статив плоский СП

Вспомогательные элементы для щитов диспетчерских

и операторских пунктов

Панель вспомогательная ПнВ
Панель вспомогательная с дверью ПнВ-Д
Вставка угловая ВУ

Панель декоративная ПнД-ЩПК

Панель торцевая декоративная ПнТД-ЩПК

Вставка угловая для панелей декоративных ВУ-Д-ЩПК

Пульты

Пульт П

Пульт правый П-П

Пульт левый П-Л

Пульт средний П-С

Пульт с наклонной приборной приставкой ПНП

Пульт с наклонной приборной приставкой левый ПНП-Л

Пульт с наклонной приборной приставкой правый ПНП-П

Пульт с наклонной приборной приставкой средний ПНП-С

Вспомогательные элементы для щитов

Вставка угловая к пультам ВУ-П
Вставка угловая к пультам с наклонной приборной
приставкой ВУ-ПНП

Сокращения в условных обозначениях

Щ – щит

Ш – шкафной

ЩПК – щит панельный с каркасом

ЩШМ – щит шкафной малогабаритный

С – статив

СП – статив плоский

П – пульт

ПНП - пульт с наклонной приборной приставкой

ЗД – задняя дверь

ПЗД – передняя и задняя двери

О2 – открытый с двух сторон

ОП – открытый справа

ОЛ – открытый слева

ЗП – закрытый справа

ЗЛ – закрытый слева.

Если наименование за­канчивается буквами ЗД, то щит закрытого исполнения, если ЩПК – открытый с двух сторон, цифры 2 и 3 – это ко­личество секций.

Конструкции щитов

Основной несущей кон­струкцией щитов является каркас (объёмный и пло­ский).

Каркас объемный (рис.1) состоит из четырёх стоек, со­единённых при помощи бол­тов с верхней и нижней ра­мами. В местах соприкосно­вения рам и стоек установ­лены прокладки из пластич­ного материала, закрываю­щие щели и играющие роль амортизатора.

С передней стороны каркаса между стойками ус­танавливается один или два швеллера, образующие пере­мычку для крепления фасад­ных панелей. Детали каркаса изготавливаются из сталь­ного листа толщиной 2,5 мм. Стойка выполнена в виде швеллера с приваренными по краям кронштейнами. Рама сварена из двух стоек и скре­пленных П-образных деталей швеллерного типа.

Рис.1. Каркас объемный: 1 – стойка, 2 – рама, 3 – прокладка, 4 – швеллер, 5 – болт, 6 – швеллер, I – крепление стойки к раме.

Каркас плоский (рис.2.) состоит из двух стоек, скрепленных при помощи болтовых соединений с двумя рамами.

Рис.2. Каркас плоский:

1 – стойка, 2 – рама, 3 – прокладка.

Опорные рамы предназначены для установки на них каркасов щитовых конструкций. Опорная рама (Рис.3.) – это сварная сборочная единица из продольных и поперечных швеллеров. К опорным рамам крепятся каркасы, образуя одно-, двух-, трехсекционные стойки (Рис.4.)

Панели с каркасом образуются путем сборки унифицированных каркасов на опорной раме с установкой фасадных панелей и боковых стенок (Рис.5.).

Панели с каркасом используются в качестве металлоконструкций для щитов панельных с каркасом. Последние применяются для построения диспетчерских и операторских пунктов из готовых щитовых секций.

Рис.3. Опорная рама многосекционная (а), одиночная(б), плоская (в):

1-швеллер продольный, 2- швеллер поперечный, 3- скоба заземления, 4- лист

Аналогично образуются шкафы щитов шкафных. Щиты шкафные имеют боковые панели, крышки и двери.

Элементы панельного типа защитные и несущие представляют собой прямоугольные коробчатые детали, изготовленные из листовой стали толщиной соответственно 1,2-1,5 и 2,5 мм.

Рис.4. Опорная рама объемная (а), плоская (б):

1-каркас, 2-рама, 3-рым-болт, 4-каркас плоский

.

Рис.5. Панель с каркасом: 1-каркас, 2-рама опорная, 3-рым-болт, 4-панель, 5-винты, соединяющие каркасы.

Рис.6. Шкафы малогабаритные исполнения 1 (а) и 2 (б) :

1-корпус, 2-панель, 3-дверь, 4-замок, 5-петля, 6-крышка, 7-рым-болт, 8-уголок, 9-заглушка.

Шкафы малогабаритные (рис.6.) конструктивно представляют собой открытый цельносварной корпус. В днище шкафа есть монтажный проем, закрытый крышкой.

Шкафы малогабаритные исполнения 1 предназначены для напольной установки, а исполнения 2 – для настенной.

Монтаж трубных проводок.

Классификация трубных проводок

Трубные проводки систем автоматизации представляют собой совокупность труб, арматуры, крепежных и установочных деталей, узлов и конструкций, проложенных и закрепленных на элементах зданий, сооружений и технологическом оборудовании.

Трубные проводки по назначению делятся на :

- импульсные, - соединяющие отборное устройство с чувствительным элементом.

- командные, - соединяющие между собой отдельные функциональные блоки (первичные преобразователи, вторичные приборы, регуляторы и т.д.).

- питающие, - соединяющие источники дополнительной энергии с элементами систем автоматизации.

- выбросные (дренажные), - предназначенные для сброса отработанных жидкостей, газа, конденсата и т.д.

- обогревные, - предназначенные для подачи и отвода теплоносителя.

- охлаждающие, - предназначенные для подачи и отвода хладоагента.

- вспомогательные, - предназначенные для подвода инертных веществ к импульсным проводкам, а также для подвода к приборам жидкостей и газов для их периодической промывки или продувки.

- Защитные, - защищающие электрические провода и кабели от механических воздействий, а также применяющиеся при прокладке электрических линий в пожароопасных помещениях.

По виду прокладки и условиям эксплуатации трубные проводки разделяются на внутренние и наружные, скрытые и открытые. Внутренними называют проводки, проложенные в закрытых помещениях, наружными – проложенные по наружным стенам зданий и сооружений.

Способы соединения труб

Соединения труб систем автоматизации могут быть разъёмными и неразъёмными. В обоих случаях они должны обеспечивать герметичность и механическую прочность трубной проводки при воздействии внешних условий и давления заполняющих сред в процессе эксплуатации и при пневматических и гидравлических испытаниях, чистоту прохода и сохранение внутреннего диаметра трубопровода, а разъёмные соединения, кроме того, - лёгкость монтажа и демонтажа стандартными или специальными инструментами.

Неразъёмные соединения выполняются сваркой или пайкой, их нельзя разобрать без нарушения целостности труб или для этого требуется вращение одного либо нескольких соединений труб.

Электродуговую или газовую сварку труб из стали любых марок производят встык (Рис.7.в) или с помощью муфты (Рис.7.г). Перед сваркой торцы труб опиливают так, чтобы они прилегали друг к другу по всему периметру, а концы зачищают до металлического блеска при сварке встык на длине около 10 мм, а при наличии муфты – на длине, равной примерно 1,5 диаметра трубы. Длина муфты должна равняться двум диаметрам соединяемых труб. Подготовленные концы труб соединяют и закрепляют прижимным приспособлением, после чего прихватывают сваркой в трёх – четырёх местах по окружности, а затем проваривают весь шов, не допуская протекания расплавленного металла внутрь.

Медные трубы сваривают аналогично стальным, применяя присадочную проволоку из электролитической меди, сварка производится в пламени газовой горелки. Для соединения медных и латунных труб применяют также пайку встык с развальцовкой (Рис.7.а) или с муфтой (Рис.7б). Перед пайкой концы труб очищают механическим путём или травлением в 10% растворе азотной кислоты. Место пайки прогревают в пламени горелки, а затем на него накладывают последовательно буру и твёрдый припой.

Рис.7.

Виды пайки:

а- с развальцовкой, б- с муфтой и сваркой, в- встык, г- с помощью муфты.

Разъёмными называют соединения, которые позволяют разобрать трубную проводку без нарушения целостность труб или без их вращения. Разъёмные соединения применяют при подключении труб к приборам и средствам автоматизации, соединении труб между собой у уплотнённых проходов через стены и перекрытия, на входе в щиты и пульты. Разъёмные соединения могут быть проходными, предназначенными для труб, идущих в одном направлении и одного диаметра; переходными, с помощью которых изменяют направление соединяемых труб, устанавливают ответвления или соединяют трубы разных диаметров; переборочными, предназначенными для соединения труб разных диаметров с креплением их к металлической панели.

Для выполнения разъёмных соединений применяют соединители: проходные, переходные, переборочные, присоединительные ввёртные, присоединительные навёртные, переборочные навёртные, тройники проходные, тройники присоединительные.

Для пластмассовых труб используют соединители с уплотняющим венцом (Рис.8.). Выполнение соединения: концы труб обрезают и надевают на них накидные гайки с уплотняющим венцом. Затем концы труб вставляют в уплотняющий венчик штуцера и навёртывают на него гайки. При этом конец трубы уплотняется между венчиками штуцера и гайки.

Соединение с развальцовкой (Рис.9.) применяют для медных и пластмассовых труб: на концы труб насаживают гайки, после чего производят развальцовку труб. Далее на штуцер навёртывают гайки, при этом развальцованная часть трубы зажимается между конусами штуцера и гайки.

Рис.8. Соединитель с уплотняющим венцом: 1- пластмассовая трубка, 2 – накидная гайка с уплотняющим венцом, 3 – штуцер.

Рис.9. Соединение с развальцовкой: 1- накидная гайка, 2- штуцер.

Для соединения стальных труб применяют соединительные гайки (Рис.10.) Выполнение соединения: ниппель и штуцер навёртывают на трубы, после чего их соединяют гайкой и стягивают.

При выполнении соединений труб весьма важным является соблюдение их соосности. Отклонение осевых линий соединительных труб не должно превышать 2 мм на 1 м прямого участка трубной проводки.

Рис.10. Соединитель стальной трубы: 1 – ниппель, 2 – гайка, 3 – штуцер.

Разница в толщине стенок стыкуемых труб или смещение одной трубы относительно другой не должны превышать 10% от толщины стенок.

Типовые схемы импульсных трубных проводок.

Места установки отборных устройств и первичных приборов следует выбирать с учётом требований проекта, заводских инструкций и с таким расчётом, чтобы обеспечить надлежащую точность измерений, свободный доступ к приборам, хорошую видимость и удобство их обслуживания.

При проектировании и монтаже импульсных трубных проводок необходимо учитывать некоторые физические процессы, происходящие в жидкостях и газах, которые могут влиять на результаты измерений.

Все жидкости обладают способностью растворять в себе газы, причём количество растворяемого в данном объёме жидкости газа тем больше, чем выше давление жидкости. При падении давления из жидкости выделяются растворённые в ней газы, которые в случае неправильной прокладки труб образуют в верхних точках линии воздушные мешки, являющиеся причиной неправильных показаний приборов.

Газы, как правило, содержат водяные пары, которые при изменении температуры конденсируются, что тоже влияет на показания приборов.

Учитывая рассмотренные физические процессы, можно сформулировать следующие общие правила построения схем импульсных трубных проводок, заполненных жидкостью или газом:

Для жидкости:

- если прибор расположен ниже места отбора, то импульсную трубную проводку целесообразно направить вниз, если выше – её следует направить горизонтально с уклоном, обеспечивающим выход газа через место отбора.

- Если в импульсной трубной проводке есть верхняя точка, не являющаяся местом отбора, то в ней необходимо предусмотреть специальный газосборник и устройство для выпуска газов.

Для газа:

- если прибор расположен выше места отбора, то импульсную трубную проводку целесообразно направить вверх, если ниже – её следует направить горизонтально с уклоном, обеспечивающим сток конденсата через место отбора.

- если в импульсной трубной проводке есть нижняя точка, не являющаяся местом отбора, то в ней необходимо предусмотреть специальный влагосборник и устройство для слива конденсата.

Конкретные типовые схемы импульсных трубных проводок для измерения расхода приведены на рис.11, для измерения давления – на рис.12.

Надёжность работы приборов и средств автоматизации во многом определяется состоянием трубных проводок при их эксплуатации. Ниже перечислены основные требования к проектированию трубных проводок.

Трубные проводки должны обеспечивать возможность:

- проверки и испытаний приборов, средств автоматизации и самих труб во время их монтажа, наладки и эксплуатации без остановки технологического оборудования.

- промывки и продувки труб эксплуатации без остановки технологического оборудования.

- заполнение приборов, средств автоматизации и самих труб разделительной жидкостью.

- удаление газов из приборов, средств автоматизации и самих труб, заполняемых жидкостями.

- удаление конденсата из приборов, средств автоматизации и самих труб, заполняемых газами.

Трубные проводки должны иметь уклоны для стока образующегося в них конденсата или отвода скопляющихся газов с целью предотвращения отказа приборов и средств автоматизации.

Импульсные трубные проводки к манометрам должны иметь уклон не менее 1:50, а к дифманометрам – не менее 1:10.

Трубные проводки систем автоматизации должны обладать механической прочностью и плотностью соединений и присоединений c трёхкратным или большим запасом прочности.

Трубные проводки должны иметь проходные сечения труб, обеспечивающие передачу информации на заданное расстояние при величине времени запаздывания не более максимально допустимого для данной системы контроля или управления.

Трубные проводки, прокладываемые в пожаро- и взрывоопасных помещениях, вблизи сильных электромагнитных полей, должны быть заземлены. По механической прочности трубы выбираются исходя из наиболее неблагоприятных условий режима их работы.

Температура среды в импульсных трубках должна быть близка к температуре помещений, где они располагаются. Однако она, как правило, бывает ниже температуры измеряемой среды, поэтому плотность измеряемой среды в трубной проводке больше, чем в месте отбора. Таким образом, если прибор установлен выше места отбора, то при неправильной прокладке труб в них будет происходить конвекционное движение измеряемой среды. Это может вызвать нагревание чувствительного элемента прибора до температуры выше допустимой и исказить измеряемый параметр за счёт изменения упругих свойств чувствительного элемента. В связи с этим длина трубной проводки должна быть такой, чтобы температура измеряемой среды, поступающей в прибор, не отличалась от температуры окружающего воздуха, но не больше максимальной допустимой длины, указанной в инструкции по монтажу и эксплуатации приборов.


Зоны монтажа: а-технологического оборудования, б-средств автоматизации.

Рис.11. Типовые схемы импульсных трубных проводок для измерения расхода

1-суж. устройство, 2-запорный вентиль, 3- продувочный вентиль, 4-газосборник, 5-отстойный сосуд, 6-разд.сосуд, 7-влагосборник, 8-конденсационный сосуд,

9-трубка для сбора конденсата, 10-теплоизоляция, 11-дифманометр.

Рис.12. Типовые схемы импульсных трубных проводок для измерения давления.

1- манометр, 2- запорный вентиль, 3- трёхходовой кран, 4- импульсная труба, 5- отбор давления, 6- влагосборник, 7- разделительный сосуд.

Монтаж электрических проводок

Классификация электрических проводок

По назначению эл.проводки делятся на измерительные, командные и питающие.

Измерительные проводки могут быть нескольких типов, отличающихся особенностью монтажа и материалами.

1. Термоэлектрические проводки предназначены для соединения термоэлектрических термометров с измерительными приборами. Выполняются с помощью термоэлектродных проводов.

2. Проводки омических систем соединяют электрические термометры сопротивления со вторичными приборами. Такие проводки выполняются только медными проводами с обязательной подгонкой величины сопротивления линии до номинального значения.

3. Проводки дистанционных систем передачи показаний на расстояние соединяют индукционные, ферродинамические, дифференциально-трансформаторные и сельсинные преобразователи со вторичными приборами.

4. Линии рН-метров соединяют электроды рН-метров со вторичными приборами. Для них используют медные коаксиальные кабели.

Командные проводки применяют для соединения измерительных приборов с электрическими и электронными регуляторами, регуляторов с исполнительными механизмами, сигнализирующих приборов с сигнальными устройствами.

Линии электрического питания применяют для подвода напряжения от щитков питания к потребителям.

По способу выполнения электрические проводки разделяют на открытые и скрытые.

Обозначения проводов, кабелей и их конструкция.

В условных обозначениях проводок приняты следующие сокращения:

П – провод

АП – провод с алюминиевыми жилами

ПК – провод термоэлектронный

Р – резиновая изоляция негорючая

В – поливинилхлоридная изоляция

Г – гибкий (многожильный) провод

Л – лакированная оплётка

Ш – шёлковая оплётка

О – общая оплётка

Э – экранированный провод

Т – провод для прокладки в трубах

М – монтажный провод

В системах контроля и автоматического регулирования наиболее часто применяются следующие типы проводов:

ПВ – провод с медной жилой и изоляцией из поливинилхлоридного пластиката. Его конструкция показана на рис.13.б.

АПВ – то же с алюминиевой жилой

ПР – провод с медной жилой и резиновой изоляцией в оплётке из хлопчатобумажной ткани, пропитанной противогнилостным составом. Его конструкция показана на рис.13.а.

АПР – то же с алюминиевой жилой

ПРГ – провод гибкий с медной жилой в оплётке из хлопчатобумажной ткани, пропитанной противогнилостным составом

ПГВ - провод гибкий с медной жилой и изоляцией из поливинилхлоридного пластиката

В условных обозначениях кабелей приняты следующие обозначения:

К – кабель контрольный с медными жилами

АК - то же с алюминиевой жилой

С – свинцовая оболочка

В – поливинилхлоридная оболочка

Н – оболочка резиновая негорючая

Р – резиновая изоляция жил

П - полиэтиленовая изоляция жил

В – изоляция жил из ПВХ-пластиката

Б – внешнее покрытие (броня) из двух стальных лент с наружным покровом из хлопчатобумажной пряжи, пропитанной противогнилостным составом

БГ - внешнее покрытие (броня) из двух стальных лент с противокоррозионным покрытием

К – внешнее покрытие из круглых оцинкованных проволок с наружным покровом

Г – кабель без внешнего покрытия

Термоэлектродные провода ПКВ, ПКВО, ПКГВ, ПКВП, ПКЛ широко применяются в системах автоматизации технологических процессов. На рис.14. показана конструкция термоэлектродного провода ПКВ, на рис.15. – кабеля типа КРВБ и АКРВБ.

Рис.13. Конструкция проводов типа ПР и АПР (а), ПВ и АПВ (б)

1 – жила

2 – резиновая изоляция

3 – хлопчатобумажная оплётка

4 – ПВХ-изоляция

Рис.14. Конструкция термоэлектродного провода ПКВ

1 – жила

2 – ПВХ-изоляция

3 – ПВХ-оболочка

Рис.15. Конструкция кабеля типа КРВБ и АКРВБ

1 – жилы, 2 – изоляция жил, 3 – оболочка, 4 – наполнитель, 5 – бандаж из мягкой проволоки, 6 – внешнее покрытие, 7 – наружный покров

Структура условного обозначения контрольных кабелей

П П П П П П ___ Наличие общего экрана – Э

Вид брони и защитного покрова


Внешнее покрытие типа Б – две стальные ленты с наружным покровом из хлопчатобумажной пряжи, пропитанной противогнилостным составом

Внешнее покрытие типа БГ – две стальные ленты с противокоррозионным покрытием без наружного покрова

Внешнее покрытие типа К – из круглых оцинкованных проволок с наружным покровом из хлопчатобумажной пряжи, пропитанной противогнилостным составом

Внешнее покрытие отсутствует Г

Материал оболочки

Свинец

Резина негорючая

Поливинилхлоридныи пластикат

Материал изоляции жил


Резина

Поливинилхлоридныи пластикат

Полиэтилен низкой плотности


Назначение кабеля (контрольный)

Материал токопроводящей жилы


Медь (не обозначается)

Алюминий – А

Оконцевание и соединение жил проводов и кабелей

Разделкой провода или кабеля называют освобождение их концов от защитных покровов, оболочек и изоляции и закрепление бандажами оставшихся на жиле защитных покровов, чтобы исключить их смещение и разматывание. Разделка является одной из технологических операций монтажа проводов и кабелей и определяется конструкцией, материалом изоляции жил, оболочки и защитных покровов.

Соединению жил кабелей и проводок предшествует оконцевание, заключающееся в их подготовке к соединению между собой, присоединению и ответвлению от клеммников блоков зажимов типа БЗ и зажимов наборных типа ЗН, а также соединению со сборками зажимов электроаппаратуры, с контактами приборов и регуляторов.

Оконцевание проводов и жил кабелей можно выполнять специальными клещами КК-1, КУ-1 или ножом. Оконцевание производят следующим образом: отступают от края провода на 8-10 мм (для зажима и пайки) или на 20-25 мм (для кольца).Затем жилу необходимо очистить от остатков изоляции и окислов, используя нож или специальные приспособления.

Оконцевание жил производят несколькими способами в зависимости от материала, сечения, конструкции жил и вида зажима. Основные способы оконцевания показаны на рис.16.

При оконцевании многопроволочных жил штырём или кольцом жилы скручивают и облуживают припоем ПОС-60 с канифольным флюсом. При оконцевании жил наконечником с их концов снимают изоляцию с таким расчётом, чтобы между изоляцией и концом наконечника после его установки жила была оголена на 2-3 мм. Жилу вставляют в отверстие наконечника и припаивают припоем ПОС-60 с канифолью. Место пайки и оголённую часть жилы тщательно очищают от остатков флюса, покрывают лаком и изолируют изолентой с заходом на изоляцию провода.

Срез изоляции жилы после оконцевания заделывают специальными монтажными изделиями – оконцевателями, которыми в большинстве случаев выполняют и маркировку. Маркировку жил выполняют также маркировочными манжетками. Наиболее распространённые оконцеватели и маркировочные манжетки показаны на рис.17.

Маркировочные манжетки типа ММ крепят на изоляции на расстоянии 6-7 мм от среза или оконцевателя типа ОИ обжатием плоскогубцами. Маркировочные знаки предварительно наносят пуансонами с высотой 2-3 мм. Маркировочные надписи на оконцевателе ОП и муфточке из ПВХ-трубки делают несмываемыми чернилами с высотой знаков 3-4 мм.

Рис.16. Основные способы оконцевания жил

А-штырём под зажим

Б-кольцом однопроволочных жил

В-кольцом многопроволочных жил

Г-наконечником для пайки

Д-наконечником для опрессовки

Рис.17. Оконцеватели и маркировочные манжетки

А-изоляционный оконцеватель типа ОИ

Б-ПВХ-трубка

В-оконцеватель проводов типа ОП

Г-маркировочная манжетка типа ММ

При соединении проводов требуется обеспечить: надёжный электрический контакт, электрическую изоляцию жил между собой и относительно земли, герметизацию соединяемых концов.

Жилы проводов и кабелей соединяют пайкой или сваркой. Основные виды соединений показаны на рис.18.

Пайка медных жил: перед пайкой жилы зачищают и скручивают (рис.18.а), затем паяют припоем ПОС-60 с канифолью. Алюминиевые жилы паяют припоем марки А. Концы зачищают до металлического блеска. Жилы укладывают внахлёстку и скручивают так, чтобы в месте их соприкосновения образовался желобок (рис.18.б). Скрученные жилы нагревают паяльной лампой до температуры, близкой к температуре плавления припоя. Затем прутком припоя, введённым в пламя, с усилием натирают поверхность жил в желобке, очищая её от плёнки окиси, облуживая жилы и заливая желобок припоем. Такую же операцию производят в другом желобке на обратной стороне скрутки и в местах скрутки жил. После соединения жил место покрывают бакелитовым лаком.

Чтобы восстановить изоляцию, место соединения обматывают изолентой.

Для соединения медных и алюминиевых жил применяется также сварка. Источником питания служит трансформатор 300 Вт со вторичным напряжением 6-12 В. Концы жил подготавливают, зачищая до блеска, а затем одну жилу навивают 3-5 витками (медные) и 2-3 витками (алюминиевые) на другую жилу. При этом конец прямой жилы должен выступать примерно на 10 мм. Подготовленные концы зажимают в плоскогубцах на участке между витками и изоляцией. При сварке алюминиевых жил применяют флюс ВАМИ, медных – буру. Покрыв соединение флюсом, к концу прямой жилы прикасаются угольным электродом. После оплавления первого витка жилы и образования шарика электрод отводят от жил. Затем место соединения очищают и изолируют изолентой.

Место сварки алюминиевых жил перед изоляцией зачищают, тщательно промывают бензином (промывка водой запрещена) и обильно покрывают бакелитовым лаком. Затем места сварки изолируют изолентой.

Описанным способом сваривают также медную жилу сечением до 2,5 мм с алюминиевой сечением 2,5 мм. В этом случае алюминиевую жилу наматывают на медную. В качестве флюса применяют флюс ВАМИ.

Оценить/Добавить комментарий
Имя
Оценка
Комментарии:
Срочная помощь учащимся в написании различных работ. Бесплатные корректировки! Круглосуточная поддержка! Узнай стоимость твоей работы на сайте 64362.ru
19:46:15 10 сентября 2021
Если Вам нужна помощь с учебными работами, ну или будет нужна в будущем (курсовая, дипломная, отчет по практике, контрольная, РГР, решение задач, онлайн-помощь на экзамене или "любая другая" учебная работа...) - обращайтесь: https://clck.ru/P8YFs - (просто скопируйте этот адрес и вставьте в браузер) Сделаем все качественно и в самые короткие сроки + бесплатные доработки до самой сдачи/защиты! Предоставим все необходимые гарантии.
Геннадий01:54:43 23 июня 2020
Привет студентам) если возникают трудности с любой работой (от реферата и контрольных до диплома), можете обратиться на FAST-REFERAT.RU , я там обычно заказываю, все качественно и в срок) в любом случае попробуйте, за спрос денег не берут)
Olya13:08:46 01 сентября 2019
.
.13:08:46 01 сентября 2019
.
.13:08:45 01 сентября 2019

Смотреть все комментарии (19)
Работы, похожие на Реферат: Монтаж щитов, пультов и стативов (автоматизация)

Назад
Меню
Главная
Рефераты
Благодарности
Опрос
Станете ли вы заказывать работу за деньги, если не найдете ее в Интернете?

Да, в любом случае.
Да, но только в случае крайней необходимости.
Возможно, в зависимости от цены.
Нет, напишу его сам.
Нет, забью.



Результаты(286390)
Комментарии (4153)
Copyright © 2005-2021 HEKIMA.RU [email protected] реклама на сайте