| Министерство образования
Российской Федерации
ТОМСКИЙ УНИВЕРСИТЕТ СИСТЕМ
УПРАВЛЕНИЯ И РАДИОЭЛЕКТРОНИКИ
(ТУСУР)
Кафедра радиоэлектроники и защиты информации (РЗИ)
Усилитель модулятора лазерного
излучения.
Пояснительная записка к курсовому
проекту по дисциплине «Схемотехника аналоговых электронных устройств»
Выполнил
студент гр.148-3
______Задорин О.А.
Проверил
преподаватель каф. РЗИ
______Титов А.А.
2001
РЕФЕРАТ
Курсовая работа 34с., 12 рис., 1 табл., 5 источников, 1 приложение.
УСИЛИТЕЛЬНЫЙ КАСКАД, ТРАНЗИСТОР, КОЭФФИЦИЕНТ ПЕРЕДАЧИ, ЧАСТОТНЫЕ ИСКАЖЕНИЯ, ДИАПАЗОН ЧАСТОТ, НАПРЯЖЕНИЕ, МОЩНОСТЬ, ТЕРМОСТАБИЛИЗАЦИЯ, КОРРЕКТИРУЮЩАЯ ЦЕПЬ, ОДНОНАПРАВЛЕННАЯ МОДЕЛЬ.
Объектом исследования в данной курсовой работе являются методы расчета усилительнх каскадов на основе транзисторов.
Цель работы - преобрести практические навыки в расчете усилительных каскадов на примере решения конкретной задачи.
В процессе работы производился расчет различных элементов широкополосного усилителя.
Пояснительная записка выполнена в текстовом редакторе Microsoft Word 7.0.
Содержание
1.Введение..........................................................................................3
2.Техническое задание......................................................................5
3.Расчётная часть…...........................................................................6
3.1 Структурная схема усилителя...........................................…..6
3.2 Распределение линейных искажений в области ВЧ ........….6
3.3 Расчёт выходного каскада……………………………............6
3.3.1 Выбор рабочей точки..................................................6
3.3.2 Выбор транзистора.....................................................10
3.3.3 Расчёт эквивалентной схемы транзистора………...10
3.3.4 Расчёт полосы пропускания…….…………….........14
3.3.5 Расчёт цепей термостабилизации…………….........15
3.4 Расчёт входного каскада
по постоянному току.……………………………….............21
3.4.1 Выбор рабочей точки……………………….............21
3.4.2 Выбор транзистора………………………….............21
3.4.3 Расчет сопротивления обратной связи во
входном каскаде…………………………………….22
3.4.4 Расчёт эквивалентной схемы
транзистора………………………………….............23
3.4.5 Расчет полосы пропускания………………………..24
3.4.6 Расчёт цепей термостабилизации.…………............25
3.5 Расчёт разделительных и блокировочных ёмкостей……………………………………………...............26
4 Заключение…………………………………………….…………29
Список использованных источников………………………………………..30
Приложение А Схема принципиальная……………………………………..31
РТФ КП.468740.001 ПЗ. Перечень элементов………………………………33
1.Введение
Целью данной работы являлось проектирование усилителя модулятора лазерного излучения. Данный усилитель является важным компонентом дефлектора или другими словами устройства предназначенного для управления светового пучка, в данном случае лазерного излучения. Работа дефлектора целеобразна при условии возникновения угла Брэга и основана на явлении дифракции света на звуке. Через звукопровод изготовленный из кристалл парателлурита в котором при помощи пьезо преобразователя возбуждается звуковая волна образующая внутри данного кристалла бегущую дифракционную решетку. Проходящий луч дифрагирует на этой решетке, то есть отклоняется от первоначального направления на угол пропорционально частоте звука. При этом его интенсивность оказывается пропорциональна мощности звуковых колебаний. Пьезо элемент играет роль переходника, между кристаллом и усилителем мощности в работе дефлектора и представляет собой пьезо электрик преобразующий колебания электрического сигнала в колебания звукового сигнала. Данный преобразователь характеризуется импедансом или другими словами комплексным сопротивлением ( который в нашем случае составляет ). Ко входу данного преобразователя подключается разработанный мной усилитель. Дефлектор используется для сканирования лазерного пучка в одной плоскости, но при параллельном включении двух дефлекторов, возможно управление световым пучком и в двух мерном пространстве. В результате высокой монохроматичности, лазерное излучение имеет низкий уровень расходимости, что позволяет добиться хорошей фокусировки на больших расстояниях. Данное явление за счет своей зрелищности находит широкое применение при проведении тожеств, приемах, в рекламных компаниях и в предвыборных гонках. Имея так же большую точность, то есть возможность добиться при использовании дефлектора очень незначительных отклонений светового пучка от заданной точки, данный прибор может применяться в микрохирургии и изготовлении сверхсложных печатей, штампов, документов и ценных бумаг.
Теперь перейдем непосредственно к принципиальной схеме. Требуемые основные характеристики данного усилителя :
Rg ………………………………………50 [Ом]
Усиление ………………………………20 [дБ]
Uвых …………………………………….5 [B]
Допустимые частотные искажения …..2 [дБ]
Диапозон частот ………………………..от 10 МГц до 100 МГц
Нагрузочная емкость ……………………40 [пФ]
Нагрузочный резистор…………………..1000 [Ом]
Рабочий температурный диапазон……...от +10 0
С до +60 0
С
Из-за большой нагрузочной емкости происходит заметный спад амплитудно- частотной характеристики в области высоких частот. В результате чего появляется основная проблема при проектировании данного усилителя заключаюещаяся в том, чтобы обеспечить требуемый кофициент усиления в заданной полосе частот .
Наибольшей широкополосностью, при работе на ёмкостную нагрузку, обладает усилительный каскад с параллельной отрицательной обратной связью по напряжению. Он и был выбран в качестве выходного каскада разработанного широкополосного усилителя мощности. Так же по сравнению с обыкновенным резистивным каскадом выбранный вариант более экономичный. Для компенсации завала АЧХ в области верхних частот при применении резистивного каскада пришлось бы ставить в цепи коллектора очень малое сопротивление порядка 6 [Ом], для уменьшения общего выходного сопротивления каскада, что естественно привело бы к увеличению тока в цепи коллектора и рассеваемой мощности, а соответственно и к выбору более дорогого по всем параметрам транзистора. Для выходного, каскада была использована активная коллекторная термостабилизация. Обладающая наименьшей, из всех известных мне схем термостабилизаций, мощностью потребления и обеспечивающая наибольшую температурную стабильность коллекторного тока. В результате предложенного решения на первом каскаде, добились усиления в 8 [дБ] с искажениями составляющие 1[дБ]. В качестве предоконечного использован каскад с комбинированной обратной связью [2], обладающие активным и постоянным в полосе пропускания выходным сопротивлением. Этот каскад реализован на транзисторе малой мощности КТ 371 А и так же, как и предыдущий обладает большей полосой частот. Данный каскад менее мощный поэтому для обеспечения требуемой температурной стабилизации вполне подошла эмиттерная стабилизация. В результате на втором каскаде, добились усиления 12 дБ.
Для уменьшения потребляемой мощности и увеличения КПД с 12 до 32 процентов, в цепи коллектора сопротивление заменяем дросселем сопротивление которого в рабочем диапазоне частот много больше, чем общее сопротивление нагрузки.
В результате предложенного решения общий коэффициент усиления составил 20 дБ требуемые по заданию.
2. Техническое задание
Усилитель должен отвечать следующим требованиям:
1. Рабочая полоса частот: 10-100 МГц
2. Линейные искажения
в области нижних частот не более 3 дБ
в области верхних частот не более 3 дБ
3. Коэффициент усиления 20 дБ с подъёмом области верхних частот 6 дБ
4. Амплитуда выходного напряжения Uвых=5 В
5. Диапазон рабочих температур: от +10 до +60 градусов Цельсия
6. Сопротивление источника сигнала Rг=50 Ом
7. Сопротивления нагрузки Rн=1000 Ом
8. Емкость нагрузки Сн=40 пФ
3. Расчётная часть
3.1 Структурная схема усилителя.
Учитывая то, что каскад с общим эмиттером позволяет получать усиление до 20 дБ, оптимальное число каскадов данного усилителя равно двум. Предварительно распределим на первый каскад по 8 дБ, а на второй каскад 12 дБ. Таким образом, коэффициент передачи устройства составит 20 дБ требуемые по заданию.
Структурная схема, представленная на рисунке 3.1, содержит кроме усилительных каскадов цепи отрицательной обратной связи, источник сигнала и нагрузку.
Рисунок 3.1
3.2 Распределение линейных искажений в области ВЧ
Расчёт усилителя будем проводить исходя из того, что искажения распределены следующим образом: выходная КЦ–1 дБ, выходной каскад с межкаскадной КЦ–1.5 дБ, входной каскад со входной КЦ–0.5 дБ. Таким образом, максимальная неравномерность АЧХ усилителя не превысит 3 дБ.
3.3 Расчёт выходного каскада
3.3.1 Выбор рабочей точки
Как отмечалсь выше в качестве выходного каскада будем испльзовать каскад с параллельной отрицательной обратной связью по напряжению обладающий наибольшей широкополосностью, при работе на ёмкостную нагрузку.
Расчитаем рабочую точку двумя способами:
1.При использовании дросселя в цепи коллектора.
2.При использовании активного сопротивления R
k
в цепи коллектора.
1.Расчет рабочей точки при использовании при использовании дросселя в цепи коллектора.
Схема каскада приведена на рисунке 3.2.
Рисунок 3.2
Сопротивление обратной связи Rос
находим исходя из заплонированного на выходной каскад коэффициента усиления, в разах, сопротивления генератора или другими словами выходного сопротивления предыдущего каскада и рассчитываем по следующей формуле [2]:
, (3.3.1)

Координаты рабочей точки можно приближённо рассчитать по следующим формулам [1]:
, (3.3.2)
где  , (3.3.3)
(3.3.4)
, (3.3.5)
где – начальное напряжение нелинейного участка выходных
 характеристик транзистора, .
(3.3.6)
(3.3.7)
(3.3.8)
Рассчитывая по формулам 3.3.2 и 3.3.5, получаем следующие координаты рабочей точки:
Ом
Ом
мА,
В.
А
Найдём потребляемую мощность и мощность рассеиваемую на коллекторе
Вт.
Вт.
Выбранное сопротивление Rос обеспечивает заданный диапазон частот.
Нагрузочные прямые по переменному и постоянному току для выходного каскада представлены на рисунке 3.2
Рисунок 3.3
2.Расчет рабочей точки при использовании активного сопротивления Rk
в цепи коллектора.
Схема каскада приведена на рисунке 3.4.
Рисунок 3.4
Выберем R
к
=
R
н
=
1000 (Ом).
Координаты рабочей точки можно приближённо рассчитать по следующим формулам [1]:
(3.3.9)
(3.3.10)
(3.3.11)
Рассчитывая по формулам 3.3.20 и 3.3.21, получаем следующие значения:
Ом
Ом
Ом
мА,
В.
В.

Найдём потребляемую мощность и мощность рассеиваемую на коллекторе по формулам (3.3.7) и (3.3.8) соответственно:
Вт.
Вт.
Результаты выбора рабочей точки двумя способами приведены в таблице 3.1.
Таблица 3.1.
| Eп
, (В)
|
Iко
, (А)
|
Uко
, (В)
|
Pрасс.
,(Вт)
|
Pпотр.
,(Вт)
|
| С Rк
|
155.7
|
5
|
7
|
22.57
|
22.57
|
| С Lк
|
7
|
2.75
|
7
|
1.027
|
1.027
|
Из таблицы 3.1 видно, что для данного курсового задания целесообразно использовать дроссель в цепи коллектора.
Нагрузочные прямые по переменному и постоянному току для выходного каскада представлены на рисунке 3.5
Рисунок 3.5
3.3.2 Выбор транзистора
Выбор транзистора осуществляется с учётом следующих предельных параметров:
1. граничной частоты усиления транзистора по току в схеме с ОЭ
;
2. предельно допустимого напряжения коллектор-эмиттер
;
3. предельно допустимого тока коллектора
;
4. предельной мощности, рассеиваемой на коллекторе
.
Этим требованиям полностью соответствует транзистор КТ 610 А . Его основные технические характеристики приведены ниже.
Электрические параметры:
1. Граничная частота коэффициента передачи тока в схеме с ОЭ МГц;
2. Постоянная времени цепи обратной связи пс;
3. Статический коэффициент передачи тока в схеме с ОЭ ;
4. Ёмкость коллекторного перехода при В пФ;
5. Индуктивность вывода базы нГн;
6. Индуктивность вывода эмиттера нГн.
Предельные эксплуатационные данные:
1. Постоянное напряжение коллектор-эмиттер В;
2. Постоянный ток коллектора мА;
3. Постоянная рассеиваемая мощность коллектора Вт;
4. Температура перехода К.
3.3.3 Расчёт эквивалентной схемы транзистора
3.3.3.1 Схема Джиаколетто
Многочисленные исследования показывают, что даже на умеренно высоких частотах транзистор не является безынерционным прибором. Свойства транзистора при малом сигнале в широком диапазоне частот удобно анализировать при помощи физических эквивалентных схем. Наиболее полные из них строятся на базе длинных линий и включают в себя ряд элементов с сосредоточенными параметрами. Наиболее распространенная эквивалентная схема- схема Джиаколетто, которая представлена на рисунке 3.6. Подробное описание схемы можно найти [3]. Рисунок 3.6 – Схема Джиаколетто
Достоинство этой схемы заключается в следующем: схема Джиаколетто с достаточной для практических расчетов точностью отражает реальные свойства транзисторов на частотах f
£
0.5f
т
; при последовательном применении этой схемы и найденных с ее помощью Y
- параметров транзистора достигается наибольшее единство теории ламповых и транзисторных усилителей.
Расчитаем элементы схемы, воспользовавшись справочными данными и приведенными ниже формулами [2].
| при В
|
|
 Справочные данные для транзистора КТ610А: C
к
- емкость коллекторного перехода,
t
с
- постоянная времени обратной связи,
b
о
- статический коэффициент передачи тока в схеме с ОЭ.
Найдем значение емкости коллектора при U
кэ
=10В
по формуле :
(3.3.12)
где U
¢
кэо
–
справочное или паспортное значение напряжения; U
кэо
– требуемое значение напряжения.
Сопротивление базы рассчитаем по формуле:
 (3.3.13)
Статический коэффициент передачи тока в схеме с ОБ найдем по формуле:
(3.3.14)

Найдем ток эмиттера по формуле:
(3.3.15)
А
Найдем сопротивление эмиттера по формуле:
(3.3.16)
где I
эо
– ток в рабочей точке, занесенный в формулу в мА.
 Проводимость база-эмиттер расчитаем по формуле:

(3.3.17)
 Определим диффузионную емкость по формуле:
 (3.3.18)
Крутизну транзистора определим по формуле:

(3.3.19) 3.3.3.2
Однонаправленная модель
Поскольку рабочие частоты усилителя заметно больше частоты , то из эквивалентной схемы можно исключить входную ёмкость, так как она не влияет на характер входного сопротивления транзистора. Индуктивность же выводов транзистора напротив оказывает существенное влияние и потому должна быть включена в модель. Эквивалентная высокочастотная модель представлена на рисунке 3.7. Описание такой модели можно найти в [2].

Рисунок 3.7
Параметры эквивалентной схемы рассчитываются по приведённым ниже формулам [2].
Входная индуктивность:
, (3.3.20)
где –индуктивности выводов базы и эмиттера.
Входное сопротивление:
, (3.3.21)
где , причём , и – справочные данные.
Крутизна транзистора:
, (3.3.22)
где , , .
Выходное сопротивление:
. (3.3.23)
Выходная ёмкость:
. (3.3.24)
В соответствие с этими формулами получаем следующие значения элементов эквивалентной схемы:
нГн;
пФ;
Ом
Ом;
А/В;
Ом;
пФ.
3.3.4 Расчет полосы пропускания.
Проверим обеспечит ли выбранное сопротивлении обратной связи Rос, расчитанное в пункте 3.3.1, на нужной полосе частот требуемый коэффициент усиления, для этого воспользуемся следующими формулами[2]:
 (3.3.25)
(3.3.26)
Найдем значение емкости коллектора при U
кэ
=10В
по формуле (3.3.12):

Найдем сопротивление базы по формуле (3.3.13):

Статический коэффициент передачи тока в схеме с ОБ найдем по формуле (3.3.14):

Найдем ток эмиттера по формуле (3.3.15):
А
Найдем сопротивление эмиттера по формуле (3.3.16):
Ом
Определим диффузионную емкость по формуле (3.3.18):
пФ
, (3.3.27)
, (3.3.28)
где Y
н
– искажения приходящиеся на каждый конденсатор;
дБ,
или
(3.3.29)

 


Гц
Выбранное сопротивление Rос обеспечивает заданный диапазон частот.
3.3.5 Расчёт цепей термостабилизации
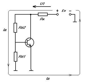
Существует несколько вариантов схем термостабилизации. Их использование зависит от мощности каскада и от того, насколько жёсткие требования к термостабильности. В данной работе рассмотрены три схемы термостабилизации: пассивная коллекторная, активная коллекторная и эмиттерная.
3.3.4.1 Пассивная коллекторная термостабилизация
Данный вид термостабилизации (схема представлена на рисунке 3.8) используется на малых мощностях и менее эффективен, чем две другие, потому что напряжение отрицательной обратной связи, регулирующее ток через транзистор подаётся на базу через базовый делитель.

Рисунок 3.8
Расчёт, подробно описанный в [3], заключается в следующем: выбираем напряжение (в данном случае 7В) и ток делителя (в данном случае , где – ток базы), затем находим элементы схемы по формулам:
; (3.3.30)
, (3.3.31)
где – напряжение на переходе база-эмиттер равное 0.7 В;
. (3.3.32)
Получим следующие значения:
Ом;
Ом;
Ом.
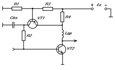
3.3.4.2 Активная коллекторная термостабилизация
Активная коллекторная термостабилизация используется в мощных каскадах и является очень эффективной, её схема представлена на рисунке 3.9. Её описание и расчёт можно найти в [2].

Рисунок 3.9
В качестве VT1 возьмём КТ361А. Выбираем падение напряжения на резисторе из условия (пусть В), затем производим следующий расчёт:
; (3.3.33)
; (3.3.34)
; (3.3.35)
; (3.3.36)
, (3.3.37)
где – статический коэффициент передачи тока в схеме с ОБ транзистора КТ361А;
; (3.3.38)
; (3.3.39)
. (3.3.40)
Получаем следующие значения:
Ом;
мА;
В;
кОм;
А;
А;
кОм;
кОм.
Величина индуктивности дросселя выбирается таким образом, чтобы переменная составляющая тока не заземлялась через источник питания, а величина блокировочной ёмкости – таким образом, чтобы коллектор транзистора VT1 по переменному току был заземлён.
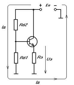
3.3.4.3 Эмиттерная термостабилизация
Для выходного каскада выбрана эмиттерная термостабилизация, схема которой приведена на рисунке 3.10. Метод расчёта и анализа эмиттерной термостабилизации подробно описан в [3].

Рисунок 3.10
Расчёт производится по следующей схеме:
1.Выбираются напряжение эмиттера и ток делителя (см. рис. 3.4), а также напряжение питания ;
2. Затем рассчитываются .
3. Производится поверка – будет ли схема термостабильна при выбранных значениях и . Если нет, то вновь осуществляется подбор и .
В данной работе схема является термостабильной при В и мА. Учитывая то, что в коллекторной цепи отсутствует резистор, то напряжение питания рассчитывается по формуле В. Расчёт величин резисторов производится по следующим формулам:
; (3.3.41)
; (3.3.42)
. (3.3.43)
Для того, чтобы выяснить будет ли схема термостабильной производится расчёт приведённых ниже величин.
Тепловое сопротивление переход – окружающая среда:
, (3.3.44)
где , – справочные данные;
К – нормальная температура.
Температура перехода:
, (3.3.45)
где К – температура окружающей среды (в данном случае взята максимальная рабочая температура усилителя);
– мощность, рассеиваемая на коллекторе.
Неуправляемый ток коллекторного перехода:
, (3.3.46)
где – отклонение температуры транзистора от нормальной;
лежит в пределах А;
– коэффициент, равный 0.063–0.091 для германия и 0.083–0.120 для кремния.
Параметры транзистора с учётом изменения температуры:
, (3.3.47)
где равно 2.2(мВ/градус Цельсия) для германия и
3(мВ/градус Цельсия) для кремния.
, (3.3.48)
где (1/ градус Цельсия).
Определим полный постоянный ток коллектора при изменении температуры:
, (3.3.49)
где
. (3.3.50)
Для того чтобы схема была термостабильна необходимо выполнение условия:
,
где . (3.3.51)
Рассчитывая по приведённым выше формулам, получим следующие значения:
Ом;
Ом;
Ом;
Ом;
К;
К;
А;
Ом;
;
Ом;
А;
А.
Как видно из расчётов условие термостабильности не выполняется.
3.4 Расчёт входного каскада по постоянному току
3.4.1 Выбор рабочей точки
При расчёте требуемого режима транзистора промежуточных и входного каскадов по постоянному току следует ориентироваться на соотношения, приведённые в пункте 3.3.1 с учётом того, что заменяется на входное сопротивление последующего каскада. Но, при малосигнальном режиме, за основу можно брать типовой режим транзистора (обычно для маломощных ВЧ и СВЧ транзисторов мА и В). Поэтому координаты рабочей точки выберем следующие мА, В. Мощность, рассеиваемая на коллекторе мВт.
3.4.2 Выбор транзистора
Выбор транзистора осуществляется в соответствии с требованиями, приведенными в пункте 3.3.2. Этим требованиям отвечает транзистор КТ371А. Его основные технические характеристики приведены ниже.
Электрические параметры:
1. граничная частота коэффициента передачи тока в схеме с ОЭ ГГц;
2. Постоянная времени цепи обратной связи пс;
3. Статический коэффициент передачи тока в схеме с ОЭ ;
4. Ёмкость коллекторного перехода при В пФ;
5. Индуктивность вывода базы нГн;
6. Индуктивность вывода эмиттера нГн.
Предельные эксплуатационные данные:
1. Постоянное напряжение коллектор-эмиттер В;
2. Постоянный ток коллектора мА;
3. Постоянная рассеиваемая мощность коллектора Вт;
4. Температура перехода К.
3.4.3 Расчет входного каскада
Как уже отмечалсь в качестве входного каскада будем испльзовать каскад с комбинированной отрицательной обратной связью состоящцю из и обладающая, как и выходной наибольшей широкополосностью, и одновременно играет роль согласующего устройства между выходным каскадом и генератором, его схема по переменному току изображена на рисунке 3.11.

Рисунок 3.11
Сопротивление обратной связи Rос
находим исходя из следующих соотношений [2]:
(3.4.1)
(3.4.2)
Входное сопротивление выходного каскада равно сопротивлению генератора:
Ом.
Выбрали сопротивление в цепи эмиттера такое, чтобы выполнялись выше записанные равенства (3.4.1) и (3.4.2):
Ом.
Тогда исходя из соотношений (3.4.1) и (3.4.2) находим сопротивление обратной связи:
Ом.
3.4.4 Расчёт эквивалентной схемы транзистора
3.4.4.1 Схема Джиаколетто
Эквивалентная схема имеет тот же вид, что и схема представленная на рисунке 3.6. Расчёт её элементов производится по формулам, приведённым в пункте 3.3.3.1.
Расчитаем элементы схемы, воспользовавшись справочными данными и приведенными ниже формулами.

Ом
3.4.4.2 Однонаправленная модель
Эквивалентная схема имеет тот же вид, что и схема представленная на рисунке 3.7. Расчёт её элементов производится по формулам, приведённым в пункте 3.3.3.2
нГн;
пФ;
Ом
Ом;
А/В;
Ом;
пФ.
3.4.5 Расчет полосы пропускания
Проверим добъёмся ли нужной полосы частот при выбранном сопротивлении Rос, для этого воспользуемся следующими формулами [2]:
(3.4.3)
(3.4.4)
(3.4.5)
(3.4.6)
Используя формулы (3.3.18) и (3.3.19) найдем коэффициент N
:

Используя формулы (3.3.12), (3.3.13), (3.3.14), (3.3.15), (3.3.16), (3.3.18), и характеристики транзистора приведенной в пункте 3.4.2, убедимся в том, что выбранное сопротивление обратной связи обеспечит на нужной полосе частот требуемый коэффициент усиления:
пФ.


мА.
Ом
пФ


Гц
раз.
Выбранное сопротивление Rос обеспечивает на заданном диапазоне частот коэффициент усиления равный 12дБ.
3.4.6 Расчёт цепи термостабилизации
Для входного каскада также выбрана эмиттерная термостабилизация, схема которой приведена на рисунке 3.10.
Метод расчёта схемы идентичен приведённому в пункте 3.3.4.3. Эта схема термостабильна при В и мА. Напряжение питания рассчитывается по формуле В.
Рассчитывая по формулам 3.3.28–3.3.38 получим:
кОм;
кОм;
кОм;
кОм;
К;
К;
А;
кОм;
;
Ом;
мА;
мА.
Условие термостабильности выполняется, но в этом случае при использовании предложенной схемы каскада с комбинированной обратной связи не выполняются требуемые условия.
3.5 Расчёт разделительных и блокировочных ёмкостей
На рисунке 3.12 приведена принципиальная схема усилителя. Рассчитаем номиналы элементов обозначенных на схеме. Расчёт производится в соответствии с методикой описанной в [1]
Рисунок 3.12
Рассчитаем сопротивление и ёмкость фильтра по формулам:
, (3.5.1)
где – напряжение питания усилителя равное напряжению питания выходного каскада;
– напряжение питания входного каскада;
– соответственно коллекторный, базовый токи и ток делителя входного каскада;
, (3.5.2)
где – нижняя граничная частота усилителя.
Ом;
пФ.
, (3.5.3)
пФ.
, (3.5.4)
нФ.
Для расчета емкостей обратной связи Сoc1
и Coc2
воспользуемся следующим соотношением:
, (3.5.5)
пФ.
, (3.5.6)
пФ.
Для расчета емкостей обратной связи Сoc1
и Coc2
воспользуемся следующим соотношением:
, (3.5.7)
пФ.
Дроссель в коллекторной цепи выходного каскада ставится для того, чтобы выход транзистора по переменному току не был заземлен. Его величина выбирается исходя из условия:
. (3.5.8)
мкГн.
мкГн.
Так как ёмкости, стоящие в эмиттерных цепях, а также разделительные ёмкости вносят искажения в области нижних частот, то их расчёт следует производить, руководствуясь допустимым коэффициентом частотных искажений. В данной работе этот коэффициент составляет 3дБ. Всего ёмкостей три, поэтому можно распределить на каждую из них по 1дБ.
Величину разделительного конденсатора найдём по формуле:
, (3.5.9)
где – допустимые частотные искажения.
R1
– сопротивление предыдущего каскада.
R2
– сопротивление нагрузки.
пФ.
пФ.
пФ.
4. Заключение
Рассчитанный усилитель имеет следующие технические характеристики:
1. Рабочая полоса частот: 10-100 МГц
2. Линейные искажения
в области нижних частот не более 3 дБ
в области верхних частот не более 3 дБ
3. Коэффициент усиления 30дБ с подъёмом области верхних частот 6 дБ
4. Амплитуда выходного напряжения Uвых=5 В
5. Питание однополярное, Eп=9 В
6. Диапазон рабочих температур: от +10 до +60 градусов Цельсия
Усилитель рассчитан на нагрузку Rн=1000 Ом
Литература
1. Красько А.С., Проектирование усилительных устройств, методические указания – Томск : ТУСУР, 2000 – 29 с.
2. Титов А.А. Расчет корректирующих цепей широкополосных усилительных каскадов на биполярных транзисторах – http://referat.ru/download/ref-2764.zip
3. Болтовский Ю.Г., Расчёт цепей термостабилизации электрического режима транзисторов, методические указания – Томск : ТУСУР, 1981
4. Титов А.А., Григорьев Д.А., Расчёт элементов высокочастотной коррекции усилительных каскадов на полевых транзисторах, учебно-методическое пособие – Томск : ТУСУР, 2000 – 27 с.
5 Полупроводниковые приборы: транзисторы. Справочник / Под ред.
Горюнов Н.Н. – 2-е изд. М.: Энергоатомиздат, 1985-903с.
Приложение А
Принципиальная схема представлена на стр. 32.
Перечень элементов приведен на стр. 33,34.
|
|
РТФ КП 468740.001 ПЗ
|
| Лит
|
Масса
|
Масштаб
|
| Изм
|
Лист
|
Nдокум.
|
Подп.
|
Дата
|
УСИЛИТЕЛЬ
|
| Выполнил
|
Задорин
|
Модулятора Лазерного
|
Проверил
|
Титов
|
ИЗЛУЧЕНИЯ
|
| Лист
|
Листов
|
ТУСУР РТФ
|
Принципиальная
|
Кафедра РЗИ
|
| Схема
|
гр. 148-3
|
| Поз.
Обозна-
Чение
|
Наименование
|
Кол.
|
Примечание
|
| Транзисторы
|
| VT1
|
КТ371А
|
1
|
| VT2
|
КТ610A
|
1
|
| VT3
|
КТ361А
|
1
|
| Конденсаторы
|
| С1
|
КД-2-0.33нФ ±5% ОЖО.460.203 ТУ
|
1
|
| С2
|
КД-2-620пФ ±5% ОЖО.460.203 ТУ
|
1
|
| С3
|
КД-2-1.8нФ ±5% ОЖО.460.203 ТУ
|
1
|
| С4
|
КД-2-120пФ ±5% ОЖО.460.203 ТУ
|
1
|
| С5
|
КД-2-150пФ ±5% ОЖО.460.203 ТУ
|
1
|
| С6
|
КД-2-130пФ ±5% ОЖО.460.203 ТУ
|
1
|
| С7
|
КД-2-1.2нФ ±5% ОЖО.460.203 ТУ
|
1
|
| С8
|
КД-2-24нФ ±5% ОЖО.460.203 ТУ
|
1
|
| С9
|
КД-2-240пФ ±5% ОЖО.460.203 ТУ
|
1
|
| Катушки индуктивности
|
| L1
|
Индуктивность 7.9мкГн ±5%
|
1
|
| L2
|
Индуктивность 6.8мкГн ±5%
|
1
|
| РТФ КП 468740.001 ПЗ
|
| Лит
|
Масса
|
Масштаб
|
| Изм
|
Лист
|
Nдокум.
|
Подп.
|
Дата
|
УСИЛИТЕЛЬ
|
| Выполнил
|
Задорин
|
МОДУЛЯТОРА ЛАЗЕРНОГО
|
МОДУЛЯТОРА ЛАЗЕРНОГО
|
Провер.
|
Титов
|
ИЗЛУЧЕНИЯ
|
ИЗЛУЧЕНИЯ
|
| Лист
|
Листов
|
ТУСУР РТФ
|
Перечень элементов
|
Кафедра РЗИ
|
| гр. 148-3
|
| Поз.
Обозна-
Чение
|
Наименование
|
Кол.
|
Примечание
|
| Резисторы
|
| R1
|
МЛТ – 0.125 – 2.4 кОм ±10%ГОСТ7113-77
|
1
|
| R2
|
МЛТ – 0.125 – 1.3 кОм ±10%ГОСТ7113-77
|
1
|
| R3
|
МЛТ – 0.125 – 1.3 кОм ±10%ГОСТ7113-77
|
1
|
| R4
|
МЛТ – 0.125 – 10 Ом ±10%ГОСТ7113-77
|
1
|
| R5
|
МЛТ – 0.125 – 270 Ом ±10%ГОСТ7113-77
|
1
|
| R6
|
МЛТ – 0.125 – 82 Ом ±10%ГОСТ7113-77
|
1
|
| R7
|
МЛТ – 0.125 – 12 кОм ±10%ГОСТ7113-77
|
1
|
| R8
|
МЛТ – 0.125 – 2.2 кОм ±10%ГОСТ7113-77
|
1
|
| R9
|
МЛТ – 0.125 – 2.4 кОм ±10%ГОСТ7113-77
|
1
|
| R10
|
МЛТ – 0.125 – 130 Ом ±10%ГОСТ7113-77
|
1
|
| R11
|
МЛТ – 0.125 – 6.8 Ом ±10%ГОСТ7113-77
|
1
|
| РТФ КП 468740.001 ПЗ
|
| Лит
|
Масса
|
Масштаб
|
| Изм
|
Лист
|
Nдокум.
|
Подп.
|
Дата
|
УСИЛИТЕЛЬ
|
| Выполнил
|
Задорин
|
МОДУЛЯТОРА ЛАЗЕРНОГО
|
Провер.
|
Титов
|
ИЗЛУЧЕНИЯ
|
| Лист
|
Листов
|
ТУСУР РТФ
|
Перечень элементов
|
Кафедра РЗИ
|
| гр. 148-3
|
|