Банк рефератов содержит более 364 тысяч рефератов, курсовых и дипломных работ, шпаргалок и докладов по различным дисциплинам: истории, психологии, экономике, менеджменту, философии, праву, экологии. А также изложения, сочинения по литературе, отчеты по практике, топики по английскому.
Полнотекстовый поиск
Всего работ:
364139
Теги названий
Разделы
Авиация и космонавтика (304)
Административное право (123)
Арбитражный процесс (23)
Архитектура (113)
Астрология (4)
Астрономия (4814)
Банковское дело (5227)
Безопасность жизнедеятельности (2616)
Биографии (3423)
Биология (4214)
Биология и химия (1518)
Биржевое дело (68)
Ботаника и сельское хоз-во (2836)
Бухгалтерский учет и аудит (8269)
Валютные отношения (50)
Ветеринария (50)
Военная кафедра (762)
ГДЗ (2)
География (5275)
Геодезия (30)
Геология (1222)
Геополитика (43)
Государство и право (20403)
Гражданское право и процесс (465)
Делопроизводство (19)
Деньги и кредит (108)
ЕГЭ (173)
Естествознание (96)
Журналистика (899)
ЗНО (54)
Зоология (34)
Издательское дело и полиграфия (476)
Инвестиции (106)
Иностранный язык (62791)
Информатика (3562)
Информатика, программирование (6444)
Исторические личности (2165)
История (21319)
История техники (766)
Кибернетика (64)
Коммуникации и связь (3145)
Компьютерные науки (60)
Косметология (17)
Краеведение и этнография (588)
Краткое содержание произведений (1000)
Криминалистика (106)
Криминология (48)
Криптология (3)
Кулинария (1167)
Культура и искусство (8485)
Культурология (537)
Литература : зарубежная (2044)
Литература и русский язык (11657)
Логика (532)
Логистика (21)
Маркетинг (7985)
Математика (3721)
Медицина, здоровье (10549)
Медицинские науки (88)
Международное публичное право (58)
Международное частное право (36)
Международные отношения (2257)
Менеджмент (12491)
Металлургия (91)
Москвоведение (797)
Музыка (1338)
Муниципальное право (24)
Налоги, налогообложение (214)
Наука и техника (1141)
Начертательная геометрия (3)
Оккультизм и уфология (8)
Остальные рефераты (21692)
Педагогика (7850)
Политология (3801)
Право (682)
Право, юриспруденция (2881)
Предпринимательство (475)
Прикладные науки (1)
Промышленность, производство (7100)
Психология (8692)
психология, педагогика (4121)
Радиоэлектроника (443)
Реклама (952)
Религия и мифология (2967)
Риторика (23)
Сексология (748)
Социология (4876)
Статистика (95)
Страхование (107)
Строительные науки (7)
Строительство (2004)
Схемотехника (15)
Таможенная система (663)
Теория государства и права (240)
Теория организации (39)
Теплотехника (25)
Технология (624)
Товароведение (16)
Транспорт (2652)
Трудовое право (136)
Туризм (90)
Уголовное право и процесс (406)
Управление (95)
Управленческие науки (24)
Физика (3462)
Физкультура и спорт (4482)
Философия (7216)
Финансовые науки (4592)
Финансы (5386)
Фотография (3)
Химия (2244)
Хозяйственное право (23)
Цифровые устройства (29)
Экологическое право (35)
Экология (4517)
Экономика (20644)
Экономико-математическое моделирование (666)
Экономическая география (119)
Экономическая теория (2573)
Этика (889)
Юриспруденция (288)
Языковедение (148)
Языкознание, филология (1140)

Реферат: Проектирование РЭС

Название: Проектирование РЭС
Раздел: Рефераты по радиоэлектронике
Тип: реферат Добавлен 22:36:14 07 октября 2005 Похожие работы
Просмотров: 1303 Комментариев: 17 Оценило: 4 человек Средний балл: 5 Оценка: неизвестно     Скачать

Введение

В настоящее время цифровые частотомеры получили широкое распространение не только у радиолюбителей, но и у профессионалов. Лаборатория современного радиолюбителя просто немыслима без частотомера, ведь прибор для измерения частоты – прибор первой необходимости. Это объясняется возрастающей потребностью измерения частоты. Современные частотомеры используются не только как устройства для измерения частоты, но и в качестве цифровой шкалы, а также в качестве составляющих многих других более сложных РЭА.

РГР-2068757-20.08-ПР7-16-00

Изм. Лист № докум Подп. Дата
Студент Мелехин Т Лит. Лист Листов
Руковод. Колуков Ур 4
Консульт.

Гр. ПР7

УКП Стромынка

Н. контр.
Зав. каф Сахаров

1. РАЗРАБОТКА И АНАЛИЗ ТЕХНИЧЕСКОГО ЗАДАНИЯ

1.1 Заявка на разработку

1.1.1 Назначение: малогабаритный цифровой частотомер предназначен для измерения частоты электрических колебаний.

1.1.2 Выполняемые функции: измерение частоты.

1.1.3 Основные параметры функционирования:

- чувствительность по уровню входного сигнала при измерениях частот до 600 кГц – 8мВ; от 600 кГц до 2,5 МГц – 30 мВ; свыше 2,5 МГц до 100 МГц – около 100МВ;

- абсолютная погрешность измерения частоты в диапазоне от 0 до 20 кГц составляет 3 Гц; от 20 кГц до 2 МГц – 10 Гц; свыше 2 МГц – 100 Гц;

- потребляемый ток от источника питания при измерениях частот до 2,5 МГц ток не превышает 5мА (при выключенной индикации) или 60 мА (при включенной индикации);

- напряжение питания частотометра 9В.

1.1.4 Условия эксплуатации:

- температура: Т min = -40°С; Tmax = +60°С;

- удары: длительность ударного импульса 5 …. 10мс, максимальное ускорение 98 м/с2 , частоты ударов 40….80мин-1

- вибрации: диапазон частот 10 …. 70 Гц, виброускорение до 37 м/с2 ;

- пониженное атмосферное давление: 61 кПа;

- влажность: 93% при Т = 25°С;

1.1.5 Транспортировать любым видом транспорта по территории РФ.

1.1.6 Конструктивные особенности: разборный корпус, лицевая панель.

1.1.7 Критерии качества: масса, габариты, стоимость.

1.1.8. Цель разработки: создание многофункционального цифрового портативного частотомера со сниженными массо-габаритными характеристиками, уменьшение его стоимости, повышенной надёжности и эффективности, а также удовлетворяющего требованиям настоящего технического задания.

    АНАЛИЗ АНАЛОГОВ И ПРОТОТИП А.

2.1 Анализ существующих конструкций частотомеров

Количество аналогов частотомера в мире не поддаётся исчислению.В целом все частотомеры работают по одному принципу: подсчет количества импульсов за фиксированный интервал времени. И в разных схемах этот принцип реализуется по разному. Отсюда и идёт такое разнообразие конструкций. Новое направление в развитии измерительной техники даёт использование микроконтролёров (например схема № 2). Хотя их использование повышает цену прибора во много раз, но пользовательская выгода также возрастает не в меньшее количество раз. Ведь предел измерения можно повысить до 1,2 ГГц, а используя универсальность микроконтролеров и немалое количество денег функции частотомера ограничиваются только фантазией и интеллектом разработчика! В данной работе будут рассматриваться те схемы, которые в наибольшей степени охватывают современные тенденции развития частотомеров.

Анализ аналогов и прототипа Таблица 2.1.

Частотомер

Крит. качества

№1 №2 №3 Прототип Разрабатываемая конструкция
Стоимость Высокая Очень высокая Средняя Высокая Невысокая
Эргономичность - + - + +
Многофункциональность - - + - -
Дискретность (Гц) 10 10 25 1 1
Габариты Большие Средние Маленькие Большие Меньше всех
Диапазон измерений 10Гц-100КГц 1Гц-200МГц 50Гц-500КГц 600кГц-100МГц 600кГц-100МГц
Вид обрабатываемого сигнала Аналоговый Цифровой Цифровой Цифровой Цифровой
Масса Большая средняя средняя большая Наименьшая

Ниже приводятся схемы приведенных выше аналогов.

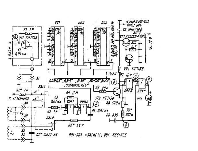
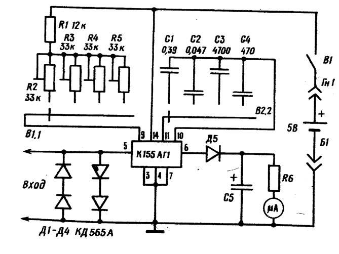
Схема №1 – простой аналоговый частотомер, собранный на одновибраторе К155АГ1


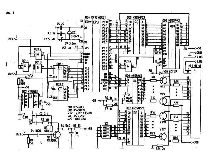
Схема №2 – частотомер с использованием микроконтролера К1816ВЕ31


Схема №3 – малоэргономичный комбинированный частотомер, позволяющий измерять ещё и индуктивность различных катушек, резонансную частоту контуров, емкость конденсаторов.


Схема прототипа:


2.2. Анализ разрабатываемой конструкции частотомера

Электрическая принципиальная схема частотомера представленна в Приложении 1.

Разрабатываемый частотомер включает в себя:

- входное формирующие устройство, предназначенного для усиления, преобразования входного сигнала.

- задающего кварцевого генератора с делителем частоты для получения фиксированных и стабильных интервалов времени.

- счётчик делитель частоты импульсов сигнала с цифровыми индикаторами, предназначенного для измерения и отображения измеряемой частоты.

- устройство управления, обеспечивающего установку счётчика на нуль перед измерением и поступление на его вход последовательности импульсов для счёта в течение фиксированного интервала времени,

- блок питания.

В отличае от обычно используемых схем цифровых частотомеров в данной схеме измерение частоты производится однократно, в течении только одного периода нормиронного интервала времени. Третий и последующие положительные перепады напряжения, поступающие на управляющее устройство не изменяют состояния триггеров и клапана. Поэтому измеренное количество импульсов сигнала высвечивается индикатором постоянно. Для повторного измерения следует снова нажать пусковую кнопку SA3, после чего процесс повторяется.

Для питания использованных микросхем требуется 2 напряжения 9 и 5 вольт. Для получения 5 В используется стабилизатор напряжения.

Несколько оригинально осуществляется индикация результатов измерения. Счётчик-индикатор собран из пяти микросхем, каждая их которых содержит счётчик импульсов по модулю 10, дешифратор и семисегментный светодиодный цифровой индикатор с запятой, которая включается по одному из входов 9 в зависимости от положения переключателя SA1.2 Показания счётчика считываться в килогерцах. С помощью тумблера SA4 в процессе между отсчётами индикацию можно выключить, чем достигается экономия энергии элемента питания. На пределе измерения 10Мгц, когда переключатель SA2 находиться в положении, показанном на схеме, показания индикатора необходимо умножать на 10.

Из всего вышесказанного следует, что большинство схем объединено общими недостатками: все они стационарные приборы, имеют сравнительно большие габариты и потребляют значительный ток от источника питания, что вынуждает питать их от сети переменного тока и не допускает использования автономного батарейного питания. Разрабатываемая схема цифрового частотомера лишена указанных недостатков и позволяет создать недорогой многофункциональный малогабаритный прибор.

3. ВЫБОР И ОБОСНОВАНИЕ ПРИНЦИПИАЛЬНОГО КОНСТРУКТОРСКОГО РЕШЕНИЯ

3.1. Внутреннее конструирование.

3.1.1. Внутренняя компоновка.

3.1.1.1. Выбор схемы расположения элементов конструкции и их расположение внутри корпуса блока.

Электрическая схема частотомера представлена в ПРИЛОЖЕНИИ 1.

Для замены неисправного или отслужившего срок своей годности элемента питания предусматривается отдельное расположение его в правом нижнем углу корпуса в отдельном отсеке, снабжённым съемной крышкой, таким образом получается доступ к батарейке без разбора корпуса. Семисегментные индикаторы вклеиваются в отверстия в корпусе, а переключатели закрепляются в отверстиях с помощью винтового соединения.

Остальные элементы блока смонтированы на печатной плате из фольгированного стеклотекстолиста толщиной 1,5 мм. Плата крепится к основанию блока паралельно, с помощью уголковых скобок и 4-х винтов.

3.1.1.2. Выбор и обоснование компоновочных характеристик ячейки.

В данном случае под ячейкой понимается печатная плата с установленными на ней элементами. Способ установки ЭРЭ – односторонний. Конструкция ячеек - бескорпусная. Форму печатных плат выбираем прямоугольную, что облегчает определение их компоновочных характеристик. Компоновочные характеристики печатных плат – ориентировочное определение массогабаритных характеристик.

При размещении ЭРЭ-тов на печатных платах, ЭРЭ-ты заменяют установочными моделями. При определении площади печатных плат посадочное место ЭРЭ представляет собой проекцию установочной площади на плату. В сумме установочные площади определяют размеры печатных плат. При этом произведение сторон печатной платы должно соответствовать площади печатной платы.

3.1.1.3. Определение массо-габаритных размеров ячейки.

1) Определение установочной площади Sуст элементов. Установочная площадь каждого отдельно взятого элемента выбирается из приложения 1, из таблицы «Перечень элементов схемы и их характеристики».

2) Определение суммарной установочной площади элементов, расположенных на каждой плате:

Sуст S = 1,3Sустi ( 1.1)

Sуст S = 1,34725,6 = 5624 мм2 ;

3) Определение площадей печатных плат:

S n.n. = , (1.2)

где Ks – коэффициент заполнения площади печатной платы, Ks = 0,8

Sn.n = = 7033 мм2 ;

4) Определение габаритных размеров печатных плат. Из нескольких вариантов соотношений сторон ПП выбрали плату со следующими размерами:

1 плата 65х110;

5) Определение габаритных размеров ячеек. На горизонтально расположенной плате длина и ширина платы будут соответственно равны длине и ширине ячейки:

В = 65 мм, L = 110 мм;

Высота ячейки равна:

Н = maxHэ + hn . n , (1.3)

где max Hэ – высота самого высокого элемента на плате,

H – толщина печатной платы.

Н = 9 + 1,5 = 10,5 мм,

6) Определение массы ячеек.

Масса каждой ячейки состоит из массы печатной платы и массы элементов, расположенных на ней.

Масса каждого элемента mi представлена в приложении 1 в таблице 1.

mяч = mnn + Smi , (1.4)

где mnn = ρхV – масса печатной платы, кг,

ρ – плотность материала платы, кг/м3

V – объем ячейки, м3

mnn = 2,4х103 9,9х10-6 = 0,02376 кг.,

mяч = 0,04025 + 0,02376 = 0,06401 кг.,

Вывод: найдены массо-габаритные размеры ячеек.

3.1.1.4. Выбор способов крепления плат.

Горизонтально расположенную плату крепят на двух П-образных скобках с помощью 4 винтов и гаек, причем винты проходят через плату, скобки и основание.

Скобки изготовлены из алюминия.

3.1.2. Анализ и уточнение варианта.

3.1.2.1. Определение компановочных характеристик корпуса частотомера включает в себя 2 этапа:

1) Определение габаритных размеров корпуса блока,

2) Определение общей массы конструкции блока.

Габаритные размеры корпуса блока определяются исходя из конструкторских соображений.

Определяем ориентировочный объем проектируемой конструкции:

VS = Vустi, (1.5)

где Кv – обобщенный коэффициент заполнения объема,

Vустi – установочный объем i-го элемента.

В качестве установочного объема i-го элемента выбираем объем ячейки. Тогда формула примет вид:

VS = Vяч i (1.6)

Vяч i = Hi Li Bi (1.7)

Vяч1 = 6511010,5=75075 мм3 = 750,710-6 м3 ,

VS = 750,710-6 = 93810-6 м3 .

Высота корпуса блока определяется по формуле:

H = Hяч 12 , (1.8)

где Hяч – высота ячейки,

Hяч =95 мм,

Х1, Х2 – припуски размеров для обеспечения свободной входимости ячейки в блок,

Х1 = 5,5 мм, Х2 = 5 мм.

H = 10,5 + 5,5 + 5 = 21 мм.

Ширина корпуса блока определяется по формуле:

B = Bяч + Y1 + Y2 , (1.9)

где Bяч – размер ячейки,

Bяч = 65 мм,

Y1 ,Y2 – припуски размеров для обеспечения свободной входимости ячейки в блок,

Y1 = 2,0 Y2 = 3 мм

B = 65 + 2,0+3 = 70 мм.

Длина корпуса блока определяется по формуле:

L = Lяч + Z1 + Z2 , (1.10)

где Lяч – размер ячейки, Lяч = 110 мм

Z1 , Z2 – припуски размеров для обеспечения свободной входимости ячеек в блок,

Z1 = Z2 = 2,5 мм

L = 110 + 2,5 + 2,5 = 115 мм

Масса конструкции блока определяется по формуле:

m = mяч + mк + mосн + mдоп , (1.11)

где mяч – масса ячейки, кг,

mк – масса корпуса блока, кг,

mосн – масса основания блока, кг,

mдоп – масса дополнительных элементов, кг.

m = 0,06401 + 0,102 + 0,076 + 0,0165 = 0,25 кг.

Вывод: Определены габариты блока HLB,

2111570,

и масса m = 0,25 кг.

3.1.2.2. Расчет теплового режима блока.

Расчет теплового режима блока производят в 2 этапа:

1) определение температуры корпуса блока tк ;

2) определение среднеповерхностной температуры нагретой зоны tн.з.

Для выполнение расчета теплового режима необходимы следующие исходные данные:

- размеры корпуса:

- ширина B = 0,070 м;

- длина L = 0,115 м;

- высота H = 0,050 м;

- размеры нагретой зоны lbh, 0,1100,0600,01;

- величина воздушных зазоров между

нагретой зоной и нижней поверхностью корпуса hн = 0,005 м,

нагретой зоной и верхней поверхностью корпуса hв = 0,0055 м;

- мощность, рассеиваемая блоком в виде теплоты Ро = 2,6 Вт;

- мощность радиоэлементов, расположенная непосредственно на корпусе блока Рк = 2 Вт;

- температура окружающей среды tо = 25о С

Этап 1. Определение температуры корпуса.

1. Рассчитываем удельную поверхность мощность корпуса блока:

qк = Po /Sк , (2.0)

где Sк – площадь внешней поверхности корпуса блока,

Sк = 2(HB+BL+HL) (2.1)

Sк = 2(0,0500,070+0,0700,115+0,0500,115) = 0,0346 м2

qк = 0,6/0,0346 = 17,3 Вт/м

2. Перегрев корпуса блока в первом приближении tк = 2 о С

3. Определяем коэффициент лучеиспускания для верхней лв , боковой лб , нижней лн поверхностей корпуса:

лi = Еi 5,67[()4 – ()4 ] /tк , (2.2)

где Еi – степень черноты i-й наружной поверхности корпуса, для боковой и верхней поверхностей Е = 0,92

При расчете получилось:

лв = 5,4;

лб = 5,4;

лн = 5,4.

4. Для определяющей температуры tm = to + 0,5tк = 30o C рассчитываем число Грасгофа Gr для каждой поверхности корпуса:

Grmi = m g tк , (2.3)

где Lопрi – определяющий размер i-й поверхности корпуса,

m – коэффициент объемного расширения, для газов

m = (tm + 273)-1 = 0,003,

g – ускорение свободного падения, g = 9,8 мс-2 ;

Vm – кинетическая вязкость газа, Vm = 16,9610-6 м2 /с;

Gr = 0,0039,82 = 5,5

Gr = 0,0039,82 = 0,45

Gr = 0,0039,82 = 5,5

5. Определяем число Прандтля Рч, Рч = 0,701

6. Находим режим движения газа, обтекающего каждую поверхность корпуса:

(GrРч) = (GrРч) = 3,8

(GrРч) = 0,315

Так как (GrРч)m 5102 , то режим переходный к ламинарному.

7. Рассчитываем коэффициенты теплообмена конвекцией для каждой поверхности корпуса блока кi :

к i = 1,18(GrРч)1/8 m Ni , (2.4)

где m – теплопроводность газа, m = 2,6810-2 Вт/мК,

Ni – коэффициент, учитывающий ориентацию поверхности корпуса:

Ni =

кв = 1,183,81/8 1,3 = 0,42

кб = 1,180,311/8 1 = 0,54

кн = 1,183,81/8 0,7 = 0,22

8. Определяем тепловодную проводимость между поверхностью корпуса и окружающей средой Gк :

Gк = (кн +лн ) Sн +(кб +лб ) Sб +(кв +лв ) Sв , (2.5)

где Sн , Sб , Sв – площади нижней, боковой и верхней поверхностей корпуса соответственно;

Sн = Sв = LB = 0,0080 м2

Sб = 2H (L+B) = 20,05 (0,115+0,03) = 0,0185 м2

При расчете получилось:

Gк = 0,235

9. Рассчитываем перегрев корпуса блока во втором приближении tко :

tко = (Ро / Gк ) Ккп Кн1 , (2.6)

где Ккп – коэффициент зависящий от коэффициента перфорации корпуса блока,

Ккп = 0,6

Кн1 – коэффициент, учитывающий атмосферное давление окружающей среды,

Кн1 = 1

Расчет: tко = (0,6/0,235)0,61 = 1,8о С

10. Определяем ошибку расчета:

= / tко (2.7)

Расчет: = = 0,05

Так как < 0,1, то расчет можно закончить.

11. Рассчитываем температуру корпуса блока:

tк = to + tко (2.8)

tк = 25+1,8= 26,8o C

Этап 2. Определение среднеповерхностной температуры нагретой зоны.

1. Вычисляем условную удельную поверхностную мощность нагретой зоны блока q3.

q3 = (2.9)

где Р3 – мощность, рассеиваемая в нагретой зоне, Р3 = Ро - Рк

Расчет: q3 = = 39,7 Вт/м2

2. Перегрев нагретой зоны относительно температуры, окружающей блок среды в первом приближении:

tз = 4о С

3. Определяем коэффициент теплообмена излучением между нижними злн , верхними злв и боковыми злб поверхностями нагретой зоны и корпуса:

злi = Eпi 5,67[()4 – ()4 ] / (tз - tко )] (2.10)

где Eпi – приведннная степень черноты i-й поверхности нагретой зоны и корпуса:

Eпi = [ + (- 1) ]-1 , (2.11)

E3i и S3i – степень черноты и площадь i-й поверхности нагретой зоны.

Епв = 0,933

Епб =1,98
Епн = 0,933

Отсюда: злв = 5,9

злб = 13,9

злн = 5,9

4. Для определяющей температуры tm =(tк +to +tз ) / 2 = (26,8+25+4) / 2 = 27,9 o C

Находим числа Грасгофа и Прандтля:

Gr = Gr = 6,4 , Gr = 2,1

Рч = 0,701

5. Рассчитываем коэффициенты конвективного теплообмена между нагретой зоной и корпусом для каждой поверхности:

для нижней поверхности:

зкн = m / hн , (2,12)

для верхней поверхности:

зкв = m / hв ,

для боковой поверхности:

зкб = m / hб ,

При расчетах получилось:

зкн = зкв = 5,36

зкб = 4,87

6. Определяем тепловую проводимость между нагретой зоной и корпусом:

Gзк = Кσ (злi + зкi ) Sзi , (2,13)

где Кσ – коэффициент, учитывающий кондуктивный теплообмен, Кσ= 0,09

При расчете получилось:

σзк = 0,54

7. Рассчитываем перегрев нагретой зоны tзо во втором приближении:

tзо = tко + , (2,14)

где Кw – коэффициент, учитывающий внутреннее перемещение воздуха, Кw = 1

Кн2 – коэффициент, учитывающий давление воздуха внутри блока, Кн2 = 1

Расчет: tзо = 27+ = 3,953о С

8. Определяем ошибку расчета:

= ,

= = 0,004

Так как < 0,1, то расчет может быть закончен.

9. Рассчитываем температуру нагретой зоны:

t3 = to + tзо (2,15)

Получаем: t3 = 25 + 3,953 = 28,953о С

Так как самый нетермостойкий элемент выдерживает температуру до + 70 градусов цельсия, то полученный тепловой режим работы устраивает нас.

3.1.2.3. Расчёт системы на механические воздействия

Для выполнения расчета механических воздействий необходимы следующие исходные данные:

- геометрические размеры платы, lbh, м:

0,110,060,001;

- диапазон частот вибрации, fвиб = 10…..30 Гц;

- длительность удара, τ = 10 мс;

- амплитуда ускорения при ударе, Ну = 40 g;

- предельное ускорение, выдерживаемое элементами блока без разрушения:

при вибрации 5 g

при ударах 45 g

при линейных ускорениях 25 g

1) Расчет на действие вибрации.

Расчет собственных колебаний конструкции является трудоемкой задачей. Поэтому заменим конструкцию эквивалентной расчетной схемой. Определяем частоту собственных колебаний отдельных конструкционных элементов.

Частота собственных колебаний равномерно нагруженной пластины вычисляется по формуле:

fo = , (3,1)

где a и b – длина и ширина пластины, м;

D – цилиндрическая жесткость пластины, Нм;

D = έh3 /12 (1-) , (3,2)

где Кa – коэффициент, зависящий от способа закрепления сторон платы, определяется по формуле:

Кa = (3,3)

έ – модуль упругости, Н/м2 ;

h – толщина пластины, м;

m – масса пластины, с элементами, кг.

D = = 9,9 Нм;

Кa = 24,24

fo = = 285 Гц

Для печатного узла должно выполняться условие fo > fв . Так как fo >> fв , то обеспечивается защищенность конструкции частотомера от вибрационных воздействий, за счет отстройки собственной частоты печатного узла от максимальной частоты внешних вибрационных воздействий.

2) Расчет на действие удара

Движение системы, вызываемое ударной силой, в течение времени действия этой силы определяется законом вынужденных колебаний. После прекращения действия ударной силы, движение системы подчиняется закону свободных колебаний. Начальными условиями при этом являются смещение и скорость движения в момент прекращения действия удара.

a) Определяем условную частоту ударного импульса:


,

где - длительность ударного импульса, с.

b) Определяем коэффициент передачи при ударе:

Ку = 2 sin ,

где - коэффициент расстройки, =

= 314,16 /2π 285 = 0,174

Ку = 2 sin = 0,281 ;

c) Рассчитываем ударное ускорение:

= Hу Кg ,

где Ну – амплитуда ускорения ударного импульса

= 40 0,281 = 11,24 g

d) Определяем максимальное относительное перемещение:

Zmax = sin , (2.42.)

Zmax = sin = 0,0135 м

e) Проверяется выполнение условий ударопрочности по следующим критериям:

ударное ускорение должно быть меньше допустимого, т.е. < , где определяется из анализа элементной базы, = 45 g.

Zmax < 0,03 b2 ,

где b- размер максимальной стороны ПП.

Zmax < 0,00243,

Так как условия ударопрочности выполняются для ЭРЭ и печатной платы, считаем что частотомер защищен от воздействий удара.

3.1.2.4 Расчет линейных перегрузок.

В ходе расчета определяются возникшие в ПП напряжения и необходимый запас прочности ПП при воздействии линейных ускорений или одновременном воздействии вибрации и линейных перегрузок.

Расчет прогиба ПП при линейных ускорениях в наихудшем случае:

Zб = Az ,

где Az – коэффициент, зависящий от способа закрепления концов полоски ПП, Az =0,031;

a,b – соответственно длина и ширина ПП, м;

Е – модуль упругости ПП, Н/м2 ;

hnn – толщина ПП, м;

V – величина линейного ускорения, м/с2 ;

g – ускорение свободного падения, м/с2 ;

mэ – масса элементов на ПП, кг;

mn – масса ПП, кг;

l – либо длина a , либо ширина в ПП, м

Из полученных двух значений выбирается Zб = max {Zб1 , Zб2 }

Должно выполняться условие Zб ,

где - допустимый размер прогиба ПП на длине 1 м, = 0,03 м.

В результате расчета получены следующие значения:

;

Выбираем

Условие выполняется Zб < 243 10- 6 м

Расчет максимального напряжения в опасных точках ПП при линейном ускорении:

G = ,

где Аσ – коэффициент, зависящий от способов закрепления сторон ПП, Аσ = 16

l – либо длина а , либо ширина в ПП, м.

Из полученных двух значений выбирается σ = max {σ1 , σ2 }

σ1 = 2151 Па,

σ2 = 4840 Па.

Выбираем σ = 4840 Па.

Определение запаса прочности ПП при линейном ускорении:

n = σn /σ,

где Gn – предельное допустимое напряжение, МПа

Для того чтобы гарантировать работоспособность, запас прочности должен быть более некоторой величины:

,

где n1 = 1,2…1,5 – коэффициент достоверности определения расчетных нагрузок и напряжений, n = 1,4;

n2 = 1…1,5 – коэффициент ответственности детали, n = 1,2;

n3 = 1,2…3,0 – коэффициент неоднородности свойств материала, n3 = 1,8.

26860

n > 3,024

Определение прогиба ПП при одновременном воздействии линейных ускорений и вибраций:

Z = Zб + Zв ,

где Zв – максимальная амплитуда колебаний ПП при вибрации, Zв = 0,310-6 м

Z = 22 10-9 + 0,3 10-6 = 0,322 10-6 м

Условие Z < 0,003a выполняется Z < 0,322 10-6 м

Расчет напряжения в материале:

,

Из двух полученных значений выбирается σ = max {σ1 , σ2 }

Из расчета определили: σ1 = 314844 Па,

σ2 = 708400 Па

Выбираем σ = 708400 Па.

Задание предела выносливости материала платы для знакопеременных нагрузок:

σв = 0,2 σn – для стеклотекстолита

σв = 0,2 130 = 26 Мпа

Определения запаса прочности:

n = σв

Для того чтобы гарантировать работоспособность, запас прочности должен быть более некоторой величины:

,

36,7

n > 3,024

Поскольку при расчетах выполняются все необходимые условия, то обеспечивается защищенность блока при воздействии линейных ускорений или одновременном воздействии вибраций и линейных перегрузок.

Оценить/Добавить комментарий
Имя
Оценка
Комментарии:
Делаю рефераты, курсовые, контрольные, дипломные на заказ. Звоните или пишите вотсап, телеграмм, вайбер 89675558705 Виктория.
13:00:02 17 октября 2021
Срочная помощь учащимся в написании различных работ. Бесплатные корректировки! Круглосуточная поддержка! Узнай стоимость твоей работы на сайте 64362.ru
19:26:38 10 сентября 2021
Если Вам нужна помощь с учебными работами, ну или будет нужна в будущем (курсовая, дипломная, отчет по практике, контрольная, РГР, решение задач, онлайн-помощь на экзамене или "любая другая" учебная работа...) - обращайтесь: https://clck.ru/P8YFs - (просто скопируйте этот адрес и вставьте в браузер) Сделаем все качественно и в самые короткие сроки + бесплатные доработки до самой сдачи/защиты! Предоставим все необходимые гарантии.
Арсен00:09:21 23 июня 2020
Привет студентам) если возникают трудности с любой работой (от реферата и контрольных до диплома), можете обратиться на FAST-REFERAT.RU , я там обычно заказываю, все качественно и в срок) в любом случае попробуйте, за спрос денег не берут)
Olya13:06:28 01 сентября 2019
.
.13:06:27 01 сентября 2019

Смотреть все комментарии (17)
Работы, похожие на Реферат: Проектирование РЭС

Назад
Меню
Главная
Рефераты
Благодарности
Опрос
Станете ли вы заказывать работу за деньги, если не найдете ее в Интернете?

Да, в любом случае.
Да, но только в случае крайней необходимости.
Возможно, в зависимости от цены.
Нет, напишу его сам.
Нет, забью.



Результаты(286385)
Комментарии (4153)
Copyright © 2005-2021 HEKIMA.RU [email protected] реклама на сайте