| Министерство образования Российской Федерации
ТОМСКИЙ УНИВЕРСИТЕТ СИСТЕМ
УПРАВЛЕНИЯ И РАДИОЭЛЕКТРОНИКИ
(ТУСУР)
Кафедра радиоэлектроники и защиты информации (РЗИ)
Блок усиления мощности нелинейного локатора
Пояснительная записка к курсовому
проекту по дисциплине «Схемотехника аналоговых электронных устройств»
Выполнил:
студент гр.148-3
______ Авраменко А.А.
Проверил:
преподаватель каф. РЗИ
______Титов А.А.
2001
Содержание
1.Введение..........................................................................................3
2.Техническое задание......................................................................4
3.Расчётная часть…...........................................................................5
3.1 Структурная схема усилителя...........................................…..5
3.2 Распределение линейных искажений в области ВЧ ........….5
3.3 Расчёт выходного каскада……………………………............5
3.3.1 Выбор рабочей точки..................................................5
3.3.2 Выбор транзистора......................................................6
3.3.3 Расчёт эквивалентных схем
транзистора.......….…………………………...............7
3.3.4 Расчёт цепи термостабилизации
и выбор источника питания …........…………...........9
3.3.5 Расчёт элементов ВЧ коррекции...............................15
3.4 Расчёт промежуточного каскада.…………............................…………………….............18
3.4.1 Выбор рабочей точки……………………….............18
3.4.2 Выбор транзистора………………………….............18
3.4.3 Расчёт эквивалентных схем
транзистора………………………………….............19
3.4.4 Расчёт цепи термостабилизации..…………............19
3.4.5 Расчёт цепи коррекции между входным
и промежуточным каскадами....................................20
3.5 Расчёт входного каскада...........……………………..............23
3.5.1 Выбор рабочей точки....................………….............23
3.5.2 Выбор транзистора...........……………………..........23
3.5.3 Расчёт эквивалентных схем
транзистора …............………....……………............24
3.5.4 Расчёт цепей термостабилизации.............................25
3.5.5 Расчёт входной корректирующей цепи...................25
3.6 Расчёт выходной корректирующей цепи..............................26
3.7 Расчёт разделительных и блокировочных ёмкостей……………………………………………...............28
4 Заключение…………………………………………….…………31
Литература
1.Введение
В данной курсовой работе требуется рассчитать блок усиления мощности нелинейного локатора (БУМ). БУМ является одним из основных блоков нелинейного локатора, он обеспечивает усиление сканирующего по частоте сложного сигнала.
БУМ должен иметь малый уровень нелинейных искажений и высокий коэффициент полезного действия, обеспечивать заданную выходную мощность в широкой полосе частот и равномерную амплитудно-частотную характеристику нелинейного локатора.
При проектировании любого усилителя основной трудностью является обеспечение заданного усиления в рабочей полосе частот. В данном случае полоса частот составляет 20-500 МГц. С учётом того, что усилительные свойства транзисторов значительно ухудшаются с ростом частоты, то разработка устройства с подъёмом АЧХ на таких частотах является непростой задачей. Наиболее эффективным представляется использование в данном случае межкаскадных корректирующих цепей 3-го порядка. Такая цепь позволит оптимальным, для нашего случая, образом получить нужный коэффициент усиления с нелинейными искажениями, не выходящими за рамки данных в задании.
2. Техническое задание
Усилитель должен отвечать следующим требованиям:
1. Рабочая полоса частот: 20-500 МГц
2. Линейные искажения
в области нижних частот не более 1.5 дБ
в области верхних частот не более 1ю5 дБ
3. Коэффициент усиления 15 дБ
4. Выходная мощность 5 Вт
5. Диапазон рабочих температур: от +10 до +50 градусов Цельсия
6. Сопротивление источника сигнала и нагрузки Rг=Rн=50 Ом
3. Расчётная часть
3.1 Структурная схема усилителя.
Зная, что каскад с общим эмиттером позволяет получать усиление около 7 дБ, оптимальное число каскадов данного усилителя равно трём. Предварительно распределим на каждый каскад по 6 дБ. Таким образом, коэффициент усиления устройства составит 18 дБ, из которых 15 дБ требуемые по заданию, а 3 дБ будут являться запасом усиления.
Структурная схема, представленная на рисунке 3.1, содержит кроме усилительных каскадов корректирующие цепи, источник сигнала и нагрузку.

Рисунок 3.1
3.2 Распределение линейных искажений в
области ВЧ
Расчёт усилителя будем проводить исходя из того, что искажения распределены как 1 дБ на каждый каскад БУМ.
3.3 Расчёт выходного каскада
3.3.1 Выбор рабочей точки
Координаты рабочей точки можно приближённо рассчитать по следующим формулам [1]:
, (3.3.1)
где (3.3.2)
, (3.3.3)
где – начальное напряжение нелинейного участка выходных
характеристик транзистора, .Возьмем Так как в выбранной мной схеме выходного каскада сопротивление коллектора отсутствует, то . Выходное напряжение и выходной ток транзистора можно рассчитать по формулам:
, (3.3.4)
. (3.3.5)
При подстановке значений, получаем .
Рассчитывая по формулам 3.3.1 и 3.3.3, получаем следующие координаты рабочей точки:
мА, В.
Найдём мощность, рассеиваемую на коллекторе
12.18 Вт.
3.3.2 Выбор транзистора
Выбор транзистора осуществляется с учётом следующих предельных параметров:
1. граничной частоты усиления транзистора по току в схеме с ОЭ
;
2. предельно допустимого напряжения коллектор-эмиттер
;
3. предельно допустимого тока коллектора
;
4. предельной мощности, рассеиваемой на коллекторе
.
Этим требованиям полностью соответствует транзистор КТ916А. Его основные технические характеристики приведены ниже.
Электрические параметры:
1. Граничная частота коэффициента передачи тока в схеме с ОЭ МГц;
2. Постоянная времени цепи обратной связи пс;
3. Статический коэффициент передачи тока в схеме с ОЭ ;
4. Ёмкость коллекторного перехода при В пФ;
5. Индуктивность вывода базы нГн;
6. Индуктивность вывода эмиттера нГн.
Предельные эксплуатационные данные:
1. Постоянное напряжение коллектор-эмиттер В;
2. Постоянный ток коллектора мА;
3. Температура перехода К.
Нагрузочные прямые по переменному и постоянному току для выходного каскада представлены на рисунке 3.2. Напряжение питания выбрано равным 24,36 В.

Рисунок 3.2
3.3.3 Расчёт эквивалентных схем транзистора
Расчёт схемы Джиаколетто:
Соотношения для расчёта усилительных каскадов основаны на использовании эквивалентной схемы транзистора, предложенной Джиаколетто, справедливой для области относительно низких частот.
Схема модели представлена на рисунке 3.3.

Рисунок 3.3
Элементы схемы можно рассчитать, зная паспортные данные транзистора, по формулам [2]:
Проводимость базового вывода :
, (3.3.6)
 Где - ёмкость коллекторного вывода, при напряжении на транзисторе равном 10 В. Значение этой ёмкости можно вычислить. Для этого нужно знать паспортное значение коллекторной ёмкости и значение напряжение ,при котором снималась паспортная ёмкость. Пересчёт производится по формуле:
, (3.3.7)
Ёмкость коллекторного вывода:
Ёмкость эмитерного вывода:
(3.3.8)
(3.3.8)
Проводимость :
. (3.3.9)
Проводимости и оказываются много меньше проводимости нагрузки усилительных каскадов, в расчётах они обычно не учитываются.
Проведя расчёт по формулам 3.3.6 ¸ 3.3.9, получаем значения элементов схемы:

 пФ
пФ
Расчёт высокочастотной модели:
Поскольку рабочие частоты усилителя заметно больше частоты , то из эквивалентной схемы можно исключить входную ёмкость, так как она не влияет на характер входного сопротивления транзистора. Индуктивность же выводов транзистора напротив оказывает существенное влияние и потому должна быть включена в модель. Эквивалентная высокочастотная модель представлена на рисунке 3.4. Описание такой модели можно найти в [2].

Рисунок 3.4
Параметры эквивалентной схемы рассчитываются по приведённым ниже формулам.
Входная индуктивность:
, (3.3.10)
где –индуктивности выводов базы и эмиттера.
Входное сопротивление:
, (3.3.11)
Крутизна транзистора:
, (3.3.12)
Выходное сопротивление:
. (3.3.13)
Выходная ёмкость:
. (3.3.14)
В соответствие с этими формулами получаем следующие значения элементов эквивалентной схемы:
нГн;
пФ;
Ом;
А/В;
Ом;
пФ.
3.3.4 Расчёт цепей термостабилизации и выбор источника питания
Существует несколько вариантов схем термостабилизации. Их использование зависит от мощности каскада и от того, насколько жёсткие требования к термостабильности. В данной работе рассмотрены три схемы термостабилизации: пассивная коллекторная, активная коллекторная и эмиттерная.
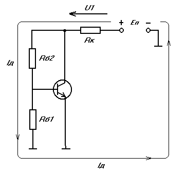
3.3.4.1 Пассивная коллекторная термостабилизация
Данный вид термостабилизации (схема представлена на рисунке 3.4) используется на малых мощностях и менее эффективен, чем две другие, потому что напряжение отрицательной обратной связи, регулирующее ток через транзистор подаётся на базу через базовый делитель.

Рисунок 3.5
Расчёт, подробно описанный в [3], заключается в следующем: выбираем напряжение (в данном случае В) и ток делителя (в данном случае , где – ток базы), затем находим элементы схемы по формулам:
; (3.3.15)
, (3.3.16)
где – напряжение на переходе база-эмиттер равное 0.7 В;
. (3.3.17)
Получим следующие значения:
Ом;
Ом;
Ом.
3.3.4.2 Активная коллекторная термостабилизация
Активная коллекторная термостабилизация используется в мощных каскадах и является очень эффективной, её схема представлена на рисунке 3.5. Её описание и расчёт можно найти в [2].

Рисунок 3.6
В качестве VT2 возьмём КТ916А. Выбираем падение напряжения на резисторе из условия (пусть В), затем производим следующий расчёт:
; (3.3.18)
; (3.3.19)
; (3.3.20)
; (3.3.21)
, (3.3.22)
где – статический коэффициент передачи тока в схеме с ОЭ транзистора КТ361А;
; (3.3.23)
; (3.3.24)
. (3.3.25)
Величина индуктивности дросселя выбирается таким образом, чтобы переменная составляющая тока не заземлялась через источник питания, а величина блокировочной ёмкости – таким образом, чтобы коллектор транзистора VT1 по переменному току был заземлён.
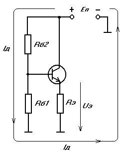
3.3.4.3 Эмиттерная термостабилизация
Принцип действия эмиттерной термостабилизации представлен на рисунке 3.6. Метод расчёта и анализа эмиттерной термостабилизации подробно описан в [3].

Рисунок 3.7
Расчёт производится по следующей схеме:
1.Выбираются напряжение эмиттера и ток делителя (см. рис. 3.7), а также напряжение питания ;
2. Затем рассчитываются .
3. Производится поверка – будет ли схема термостабильна при выбранных значениях и . Если нет, то вновь осуществляется подбор и . Возьмём В и мА. Учитывая то, что в коллекторной цепи отсутствует резистор, то напряжение питания рассчитывается по формуле В. Расчёт величин резисторов производится по следующим формулам:
; (3.3.25)
; (3.3.26)
. (3.3.27)
Для того, чтобы выяснить будет ли схема термостабильной производится расчёт приведённых ниже величин.
Тепловое сопротивление переход – окружающая среда:
, (3.3.28)
где , – справочные данные;
К – нормальная температура.
Температура перехода:
, (3.3.29)
где К – температура окружающей среды (в данном случае взята максимальная рабочая температура усилителя);
– мощность, рассеиваемая на коллекторе.
Неуправляемый ток коллекторного перехода:
, (3.3.30)
где – отклонение температуры транзистора от нормальной;
лежит в пределах А;
– коэффициент, равный 0.063–0.091 для германия и 0.083–0.120 для кремния.
Параметры транзистора с учётом изменения температуры:
, (3.3.31)
где равно 2.2(мВ/градус Цельсия) для германия и
3(мВ/градус Цельсия) для кремния.
, (3.3.32)
где (1/ градус Цельсия).
Определим полный постоянный ток коллектора при изменении температуры:
, (3.3.33)
где
. (3.3.34)
Для того чтобы схема была термостабильна необходимо выполнение условия:
,
где . (3.3.35)
Рассчитывая по приведённым выше формулам, получим следующие значения:
Ом;
Ом;
Ом;
Ом;
К;
К;
А;
Ом;
;
Ом;
А;
А.
Как видно из расчётов условие термостабильности выполняется.
Из всех рассмотренных выше типов термостабилизации была выбрана активная коллекторная термостабилизация, как наиболее подходящая для моего усилителя. Активным элементом был выбран транзистор КТ361A.
3.3.4.4 Выбор источника питания
  При выборе номинала источника питания нужно учитывать выбранный вид термостабилизации. При активной коллекторной термостабилизации на резисторе дополнительно будет падать 1 вольт. Таким образом номинал источника питания будет складываться из напряжения в рабочей точке транзистора и падения напряжения на . Тогда:
В
3.3.5 Расчет элементов ВЧ коррекции
В качестве ВЧ коррекции мною была выбрана межкаскадная корректирующая цепь 3-го порядка. Но после расчёта коэффициента усиления выходного каскада оказалось, что каскад даёт слишком малое усиление, а именно – около 2.5 дБ. После расчёта промежуточного каскада были получены примерно такие же результаты. В результате общее усиление, выдаваемое трёмя каскадами усилителя, вышло равным примерно 11 дБ, вместо 15 требуемых. Для увеличения коэффициента усиления третий каскад на транзисторе КТ916А был заменен каскадом со сложением напряжения, выполненным на транзисторе КТ948Б. Для активного элемента промежуточного каскада был выбран транзистор КТ913Б.
Схема каскада по переменному току приведена на рисунке 3.8.

Рисунок 3.8
Расчёт каскада полностью описан в [2].
При условии:
(3.3.36)
Каскад выдает напряжение, равное входному, оставляя неизменным ток, отдаваемый предыдущим каскадом. Поэтому ощущаемое сопротивление нагрузки каскада равно половине сопротивления нагрузки, а его входное сопротивление также равно половине сопротивления нагрузки, вплоть до частот соответствующих . При выполнении условия (3.3.36) коэффициент усиления каскада в области ВЧ описывается выражением:
,
Где:

;
;
;
);
.
В случае получения оптимальной по Брауде АЧХ, значения
равны:
; (3.3.37)
. (3.3.38)
Так как был использован каскад со сложением напряжения, произошло смещение рабочей точки, рассчитанной ранее. Напряжение в рабочей точке транзистора КТ948Б будет равно 13.2 вольт. Ток останется неизменным, т.е. будет равен 0.5 ампер. Также можно поменять номинал источника питания - взять его равным 14.2 вольт.
Так как каскад со сложением напряжения осуществляет подъём АЧХ, т.е. улучшает её форму, будем считать, что каскад не вносит линейных искажений и не требует МКЦ. Тогда произведём пересчёт искажений: 2 дБ отдадим на промежуточный каскад и 1 дБ на входной.
Основные технические характеристики транзистора КТ948Б:
 Электрические параметры:
7. Граничная частота коэффициента передачи тока в схеме с ОЭ МГц;
8. Постоянная времени цепи обратной связи, при напряжении 10 вольт, пс;
9. Статический коэффициент передачи тока в схеме с ОЭ ;
10. Ёмкость коллекторного перехода пФ;
11. Индуктивность вывода базы нГн;
12. Индуктивность вывода эмиттера нГн.
Предельные эксплуатационные данные:
4. Постоянное напряжение коллектор-эмиттер В;
5. Постоянный ток коллектора А;
6. Температура перехода К.
По формулам 3.3.6 ¸ 3.3.9 получаем значения элементов модели Джиаколетто:

 пФ
пФ
По формулам 3.3.10 ¸ 3.3.14 получаем значения элементов ВЧ модели:
нГн;
пФ;
Ом;
А/В;
Ом;
пФ.
 Используя эти данные, вычисляем значения для элементов по формулам 3.3.37-3.3.38, а также значения элементов схемы термостабилизации, используя формулы 3.3.18 ¸ 3.3.25.
Значения :
Значения элементов схемы термостабилизации:
,
,
,
,
,
,
.
Коэффициент усиления выходного каскада – 6 дБ.
3.4 Расчёт промежуточного каскада
3.4.1 Выбор рабочей точки
При расчёте требуемого режима транзистора промежуточных и входного каскадов по постоянному току, следует ориентироваться на соотношения, приведённые в пункте 3.3.1 с учётом того, что заменяется на входное сопротивление последующего каскада. Так как выходной каскад является каскадом со сложением напряжения, то координаты рабочей точки у промежуточного каскада те же, что и у выходного.
3.4.2 Выбор транзистора
Выбор транзистора осуществляется в соответствии с требованиями, приведенными в пункте 3.3.2. Этим требованиям отвечает транзистор КТ913Б. Его основные технические характеристики приведены ниже.
Электрические параметры:
1. граничная частота коэффициента передачи тока в схеме с ОЭ ГГц;
2. Постоянная времени цепи обратной связи пс, при напряжении 10 вольт;
3. Статический коэффициент передачи тока в схеме с ОЭ ;
4. Ёмкость коллекторного перехода при В пФ;
5. Индуктивность вывода базы нГн;
6. Индуктивность вывода эмиттера нГн.
Предельные эксплуатационные данные:
1. Постоянное напряжение коллектор-эмиттер В;
2. Постоянный ток коллектора А;
3. Температура перехода К.
3.4.3 Расчёт эквивалентных схем транзистора
Используя формулы 3.3.6 ¸ 3.3.9, получаем значения элементов модели Джиаколетто:

 пФ
пФ
По формулам 3.3.10 ¸ 3.3.14 получаем значения элементов ВЧ модели:
нГн;
пФ;
Ом;
А/В;
Ом;
пФ.
3.4.4 Расчёт цепи термостабилизации
Метод расчёта схемы идентичен приведённому в пункте 3.3.4.2. Элементы схемы термостабилизации будут равны соответствующим элементам схемы термостабилизации выходного каскада. Это следует из схемы включения выходного каскада. Таким образом, элементы схемы будут следующими:
;
;
;
,
;
;
.
3.4.5 Расчёт цепи коррекции между входным и промежуточным каскадами
В качестве цепи коррекции использована межкаскадная корректирующая цепь 3-го порядка. Схема включения цепи представлена на рисунке 3.9.

Рисунок 3.9
Используя схему замещения транзистора, показанную на рисунке 3.4, схему (рисунок 3.9) можно представить в виде эквивалентной схеме, показанной на рисунке 3.10.

Рисунок 3.10
Расчёт такой схемы подробно описан в [2].
Коэффициент прямой передачи каскада на транзисторе Т2, при условии использования выходной корректирующей цепи, равен:
; (3.4.1)
Где (3.4.2)
- нормированное относительно Т2
сопротивление нагрузки;
=, = - нормированные относительно Т1 и значения и . При заданных значениях ,,, соответствующих требуемой форме АЧХ каскада, нормированные значения ,, рассчитываются по формулам:
(3.4.3)
где ;
;
;
;
;
;
;
,
,
= - нормированные значения , ,.
В теории фильтров известны табулированные значения ,, соответствующие требуемой АЧХ цепи описываемой функцией вида 3.3.26
Для выравнивания АЧХ в области НЧ используется резистор , рассчитываемый по формуле:
(3.4.4)
При работе каскада в качестве промежуточного, в формуле 3.3.27 принимается равным единице, при работе в качестве входного =0.
После расчёта ,,, истинные значения элементов находятся из соотношений:
, , . (3.4.5)
В нашем случае значения , , и следующие:
= 75 А;
= 3.72 пФ;
= 2.75 нГн;
=0.719 Ом;
При условии, что линейные искажения составляют 2 дБ, берём значения ,, из таблицы приведённой в [2]:
= 3.13
= 2.26
= 3.06
Тогда, из формул описанных выше, получаем:
D = 1.01
B = -4.023
A = 0.048
Тогда нормированные значения межкаскадной корректирующей цепи равны:
Истинные значения элементов:
Значения и получились следующими:
3.5 Расчёт входного каскада
3.5.1 Выбор рабочей точки
Что бы впоследствии не ставить дополнительный источник питания, возьмём тоже напряжение в рабочей точке, что и в остальных каскадах. Ток в рабочей точке будет равен току коллектора транзистора промежуточного каскада, поделённому на коэффициент усиления промежуточного каскада (в разах) и умноженному на 1.1. Тогда получаем следующие координаты рабочей точки:
3.5.2 Выбор транзистора
Выбор транзистора осуществляется в соответствии с требованиями, приведенными в пункте 3.3.2. Этим требованиям отвечает транзистор КТ939А. Его основные технические характеристики приведены ниже.
Электрические параметры:
7. Граничная частота коэффициента передачи тока в схеме с ОЭ ГГц;
8. Постоянная времени цепи обратной связи пс, при напряжении 10 вольт;
9. Статический коэффициент передачи тока в схеме с ОЭ ;
10. Ёмкость коллекторного перехода при В пФ;
11. Индуктивность вывода базы нГн;
12. Индуктивность вывода эмиттера нГн.
Предельные эксплуатационные данные:
4. Постоянное напряжение коллектор-эмиттер В;
5. Постоянный ток коллектора мА;
6. Температура перехода К.
3.5.3 Расчёт эквивалентных схем транзистора
Расчёт ведётся по формулам, описанным в пункте 3.3.3.
Для схемы Джиаколетто получаем такие значения элементов:
пФ

Для элементов ВЧ модели:
нГн;
пФ;
Ом;
А/В;
Ом;
пФ.
3.5.4 Расчёт схемы термостабилизации
Расчёт схемы ведётся по формулам, описанным в пункте 3.3.4.2. Значения элементов схемы:
,
,
,
,
,
,
.
3.5.5 Расчёт входной корректирующей цепи
Для входной корректирующей цепи также была выбрана межкаскадная корректирующая цепь 3-го порядка, описанная в пункте 3.4.5.
В нашем случае значения , , и следующие:
= 50 А;
= 0;
= 0.345 нГн;
=1.076 Ом;
При условии, что линейные искажения составляют 1 дБ, берём значения ,, из таблицы приведённой в [2]:
= 2.52
= 2.012
= 2.035
Тогда, из формул описанных выше, получаем:
D = 1.043
B = -3.075
A = 0.115
Тогда нормированные значения межкаскадной корректирующей цепи равны:
Истинные значения элементов:
Значения и получились следующими:
3.6 Расчёт выходной корректирующей цепи
Расчёт КЦ производится в соответствии с методикой описанной в [2]. Схема выходной корректирующей цепи представлена на рисунке 3.11. Найдём – выходную ёмкость транзистора нормированное относительно и . Сама выходная ёмкость в данном случае является последовательным соединением коллекторных емкостей транзисторов КТ913Б и КТ948Б.
(3.6.1)
.

Рисунок 3.11
Теперь по таблице, приведённой в [2], найдём ближайшее к рассчитанному значение и выберем соответствующие ему нормированные величины элементов КЦ и , а также –коэффициент, определяющий величину ощущаемого сопротивления нагрузки и модуль коэффициента отражения .

Найдём истинные значения элементов по формулам:
; (3.6.2)
; (3.6.3)
. (3.6.4)
нГн;
пФ;
Ом.
Рассчитаем частотные искажения в области ВЧ, вносимые выходной цепью:
, (3.6.5)
,
или дБ.
3.7 Расчёт разделительных и блокировочных ёмкостей
 На рисунке 3.12 приведена принципиальная схема усилителя. Рассчитаем номиналы элементов обозначенных на схеме. Расчёт производится в соответствии с методикой описанной в [1]
Рисунок 3.12
Рассчитаем ёмкость фильтра по формуле:
, (3.7.1)
где – нижняя граничная частота усилителя, а входного каскада, для нашего случая.
Ом;
нФ.
Так как разделительные ёмкости вносят искажения в области нижних частот, то их расчёт следует производить, руководствуясь допустимым коэффициентом частотных искажений. В данной работе этот коэффициент составляет 3дБ. Всего ёмкостей четыре, поэтому можно распределить на каждую из них по 0.75дБ.
Найдём постоянную времени, соответствующую неравномерности 0.75дБ по формуле:
, (3.7.2)
где – допустимые искажения в разах.

Величину разделительного конденсатора найдём по формуле:
, (3.7.3)
Тогда

Величины блокировочных ёмкостей и дросселей найдем по формулам:
(3.7.4)
(3.7.5)
(3.7.6)
(3.7.7)
(3.7.8)
Тогда
4. Заключение
Рассчитанный усилитель имеет следующие технические характеристики:
1. Рабочая полоса частот: 20-500 МГц
2. Линейные искажения
в области нижних частот не более 1.5 дБ
в области верхних частот не более 1.5 дБ
3. Коэффициент усиления 21дБ
4. Выходная мощность - 5 Вт
5. Питание однополярное, Eп=14.2 В
6. Диапазон рабочих температур: от +10 до +50 градусов Цельсия
Усилитель рассчитан на нагрузку Rн=50 Ом
Усилитель имеет запас по усилению 6дБ, это нужно для того, чтобы в случае ухудшения, в силу каких либо причин, параметров отдельных элементов коэффициент передачи усилителя не опускался ниже заданного уровня, определённого техническим заданием.
| 
|
| РТФ КП 468730.001.ПЗ
|
| Лит
|
Масса
|
Масштаб
|
| Изм
|
Лист
|
N
докум.
|
Подп.
|
Блок усиления мощности
|
| Выполнил
|
Авраменко
|
нелинейного локатора
|
Проверил
|
Титов
|
Схема электрическая
|
| принципиальная
|
Лист
|
Листов
|
ТУСУР РТФ
|
Принципиальная
|
Кафедра РЗИ
|
| схема
|
Гр. 148-3
|
Литература
1. Красько А.С., Проектирование усилительных устройств, методические указания
2. Титов А.А. Расчет корректирующих цепей широкополосных усилительных каскадов на биполярных транзисторах , Томск, ТУСУР, 1999.
Адрес в Интернете – http://refer
at.ru/d
ownload/ref-2764.zip
3. Болтовский Ю.Г., Расчёт цепей термостабилизации электрического режима транзисторов, методические указания
4. Титов А.А., Григорьев Д.А., Расчёт элементов высокочастотной коррекции усилительных каскадов на полевых транзисторах, учебно-методическое пособие, Томск, ТУСУР, 1999.
| Позиция
Обозн.
|
Наименование
|
Кол
|
Примечание
|
| Конденсаторы ГОСТ 2519-67
|
| С1
|
КД-2-523пФ
±
5%
|
1
|
| С2
|
КД-2-15,4пФ
±
5%
|
1
|
| С3
|
КД-2-12,1пФ
±
5
|
1
|
| С4
|
КД-2-0,04пФ
±
5%
|
1
|
| C
5
|
КД-2-64,2пФ
±
5%
|
1
|
| С6
|
КД-2-64,2нФ
±
5%
|
1
|
| С7
|
КД-2-352пФ
±
5%
|
1
|
| С8
|
КД-2-9,53пФ
±
5%
|
1
|
| С9
|
КД-2-2,77пФ
±
5%
|
1
|
| С10
|
КД-2-79,6пФ
±
5%
|
1
|
| С11
|
КД-2-0,08пФ
±
5%
|
1
|
| С12
|
КД-2-481пФ
±
5%
|
1
|
| С13
|
КД-2-79,6пФ
±
5%
|
1
|
| С14
|
КД-2-16,7пФ
±
5%
|
1
|
| С15
|
КД-2-0,127пФ
±
5%
|
1
|
| С16
|
КД-2-309пФ
±
5%
|
1
|
| С17
|
КД-2-0,08пФ
±
5%
|
1
|
| С18
|
КД-2-7,87пФ
±
5%
|
1
|
| Катушки индуктивности
|
| L
1
|
Индуктивность 6,71нГн
±
10%
|
1
|
| L
2
|
Индуктивность 11,94нГн
±
10%
|
1
|
| L
3
|
Индуктивность 2,141нГн
±
10%
|
1
|
| L
4
|
Индуктивность 8,76нГн
±
10%
|
1
|
| L
5
|
Индуктивность 8,76нГн
±
10%
|
1
|
| L
6
|
Индуктивность 0,5мкГн
±
10%
|
1
|
| L7
|
Индуктивность 7,96нГн
±
10%
|
1
|
| L8
|
Индуктивность 14,75нГн
±
10%
|
1
|
| РТФ КП 468730.001 ПЗ
|
| Лит
|
Масса
|
Масштаб
|
| Изм
|
Лист
|
N
докум.
|
Подп.
|
Дата
|
Блок усиления мощности
|
| Выполнил
|
Авраменко
|
нелинейного локатора
|
Проверил
|
Титов
|
| Лист 1
|
Листов 2
|
ТУСУР РТФ
|
Перечень элементов
|
Кафедра РЗИ
|
| гр. 148-3
|
| Позиция
Обозн.
|
Наименование
|
Кол
|
Примечание
|
| Резисторы ГОСТ 7113-77
|
| R
1
|
МЛТ–0,125-2,29кОм
±
5%
|
| R
2
|
МЛТ–0,125-4,07кОм
±
5%
|
1
|
| R
3
|
МЛТ–0,125-1,4кОм
±
5%
|
1
|
| R
4
|
МЛТ–0,125-1,89кОм
±
5%
|
1
|
| R
5
|
МЛТ–0,125-2,52Ом
±
5%
|
1
|
| R
6
|
МЛТ–0,125-1,82кОм
±
5%
|
1
|
| R
7
|
МЛТ–0,125-1,91кОм
±
5%
|
1
|
| R8
|
МЛТ–0,125-6,26кОм
±
5%
|
1
|
| R9
|
МЛТ–0,125-856Ом
±
5%
|
1
|
| R10
|
МЛТ–0,125-2Ом
±
5%
|
1
|
| R
11
|
МЛТ–0,125-1,91кОм
±
5%
|
1
|
| R12
|
МЛТ–0,125-6,26кОм
±
5%
|
1
|
| R13
|
МЛТ–0,125-856Ом
±
5%
|
1
|
| R14
|
МЛТ–0,125-1,26кОм
±
5%
|
1
|
| R15
|
МЛТ–0,125-2Ом
±
5%
|
1
|
| Транзисторы
|
| VT1
|
КТ361А
|
1
|
| VT
2
|
КТ939А
|
1
|
| VT3
|
КТ361А
|
1
|
| VT4
|
КТ913Б
|
1
|
| VT5
|
КТ361А
|
1
|
| VT6
|
КТ948А
|
1
|
| РТФ КП 468730.001 ПЗ
|
| Лит
|
Масса
|
Масштаб
|
| Изм
|
Лист
|
N
докум.
|
Подп.
|
Дата
|
Блок усиления мощности
|
| Выполнил
|
Авраменко
|
нелинейного локатора
|
Проверил
|
Титов
|
| Лист 2
|
Листов 2
|
ТУСУР РТФ
|
Перечень элементов
|
Кафедра РЗИ
|
| гр. 148-3
|
|