Содержание
Содержание
. 3
Введение
. 4
Глава 1. Теоретические аспекты логистического подхода при управлении запасами на предприятии.
8
1.1. Понятие и роль логистики.8
1.2. Оценка эффективности использования материальных ресурсов. 24
1.3. Методы нормирования запасов.34
Глава 2. Управление запасами на примере предприятия "Стройсервис"
. 47
2.1. Краткая характеристика предприятия «Стройсервис». 47
2.2. Анализ запасов по традиционной методике.49
2.3. Управление запасами с учетом методов логистики.61
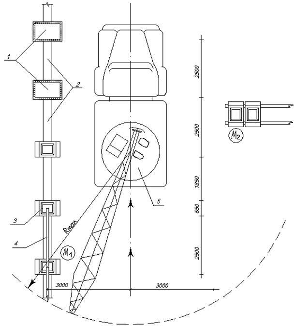
Глава 3. Организационно-инженерная часть.
Типовая технологическая карта. Монтаж сборных железобетонных оград.81
3.1. Область применения. 81
3.2. Организация и технология строительного процесса. 81
3.3. Калькуляция затрат труда. 84
3.4. График производства работ. 85
3.5. Схема операционного контроля качества работ. 86
3.6. Материально-технические ресурсы.. 88
3.7. Технико-экономические показатели. 89
3.8. Техника безопасности. 89
Глава 4. Охрана труда.
91
4.1. Расчет механической вентиляции. 91
4.2. Расчет зануления. 97
4.3.Схема расположения светильников.101
4.4. Пожарная безопасность. 103
Заключение. 118
Литература. 122
Введение
Осуществление эффективного руководства промышленным предприятием должно базироваться на применении нормативных методов управления. Недопустимо ориентироваться на сопоставлении полученных результатов только с фактическими затратами в отчетном периоде или базироваться на оценке возникших отклонений от соответствующих данных, полученных в предыдущем отчетном периоде. Необходимо, кроме того, все время сравнивать фактические затраты с экономически обоснованными, т.е. вычисленными на основе технических, технико-экономических и экономических норм и нормативов: с нормами расхода материальных ресурсов на выпуск единицы готовой продукции, нормами выработки, нормативами численности, нормами и нормативами использования производственных мощностей и т.д. Западные предприниматели давно открыли для себя, что нормативные методы более экономичны.
Многие зарубежные авторы обязательно отмечают необходимость такого нормирования. Основой для действенного анализа, оценки и контроля за полученными результатами может являться только нормативная база по всем элементам, созданная и действующая на предприятии.
В процессе перехода и становления рыночной экономики в РФ возникло столько трудных проблем и задач, требующих первостепенного решения, что вопросы нормирования на промышленных предприятиях как-то естественно отошли на задний план и совершенно потеряли свою актуальность. Интерес к нормам заметно ослаб и усилилась ошибочная тенденция, что жить можно вообще без норм. В связи с этим были расформированы подразделения и разогнаны специалисты, занимающиеся этим вопросом.
Формирование необходимой нормативной базы для управления производством, материальными и финансовыми потоками является обязательным, сегодня без этого нельзя повысить эффективность хозяйственной деятельности. Но создание на основе разработанных методических документов нормативной базы по всем элементам путем расчетов, выполняемых вручную, достаточно трудоемкая и дорогостоящая задача. В значительной степени затраты могут быть сокращены при разработке системы норм с помощью применения автоматизированных программных комплексов, которые дают возможность формировать и периодически обновлять нормативную базу. Кроме того, она позволит в автоматизированном режиме осуществлять контроль за эффективностью производственно-хозяйственной и финансовой деятельностью предприятия. Все затраты на формирование нормативной базы с лихвой окупятся в перспективе.
Органически в эту систему вписываются нормы запасов материальных ресурсов и нормы оборотных средств, вложенных в эти запасы. Владельцу и руководству предприятия небезразлично, при каком уровне производственных и сбытовых запасов обеспечивается у него бесперебойность процесса производства, снабжения и сбыта, и сколько для этого отвлекается из оборота собственных финансовых ресурсов, т.е. как успешно функционируют службы снабжения и сбыта на предприятии. В условиях рыночной экономики становятся особенно актуальными вопросы рациональной и эффективной организации процессов управления и контроля за движением материальных и финансовых потоков в АО с целью повышения эффективности материально-технического снабжения самого предприятия и сбыта производимой им готовой продукции. Это необходимо для оптимизации уровня запасов и эффективного их использования, уменьшения их уровня на предприятии, а также минимизации оборотных средств, вложенных в эти запасы.
Недостаток производственных запасов у предприятия приводит к нарушению ритмичности его производства, снижению производительности труда, перерасходу материальных ресурсов из-за вынужденных нерациональных замен и повышению себестоимости выпускаемой продукции. Недостаток сбытовых запасов не позволяет обеспечить бесперебойный процесс отгрузки готовой продукции, соответственно это уменьшает объемы ее реализации, снижает размер получаемой прибыли и потерю потенциальной клиентуры потребителей продукции, выпускаемой предприятием. В то же время наличие неиспользуемых запасов замедляет оборачиваемость оборотных средств, отвлекает из оборота материальные ресурсы и снижает темпы воспроизводства и ведет к большим издержкам по содержанию самих запасов. Функционирование промышленного предприятия при относительно высоком уровне у него запасов будет совершенно не эффективным. В данном случае предприятие имеет у себя по отдельным группам товарно-материальных ценностей запасы больше действительно необходимых их значений – излишние запасы.
Актуальность данной темы заключается в том, что эффективное управление в современных условиях рынка - необходимое условие повышения эффективности бизнеса, создания, развития и реализации конкурентных преимуществ предприятия.
Цель дипломной работы - анализ управления запасами на предприятии с помощью современных логистических методов.
Предмет исследования - организация запасов на предприятии.
Объект исследования – ООО «Стройсервис». Основным видом деятельности рассматриваемого предприятия являются строительно-монтажные работы. Предприятие выступает в роли генерального подрядчика. В ООО «Стройсервис» выделяют структуру аппарата управления и производственную структуру. Общая численность фирмы 82 человека: из них ИТР - 20 человек, руководящий состав – 8 человек
Для достижения цели дипломной работы необходимо решить следующие задачи:
- выделить роль и определить место логистики при организации управления запасами на предприятии;
- определить основные методы управления запасами на предприятии,
- выделить российскую специфику по оптимизации поставок.
- сделать анализ управления запасами на предприятии «Стройсервис» на основе известных методов и на основе логистических методов;
- сделать выводы и привести предложения по оптимизации управления запасами на предприятии «Стройсервис».
При выполнении работы была использована учебная литература и статьи из современных экономических журналов.
Глава 1. Теоретические аспекты логистического подхода при управлении запасами на предприятии.
1.1. Понятие и роль логистики.
В экономической литературе встречаются различные определения логистики. Приведем некоторые из них.
Логистика (Logistics) это:
- планирование и обеспечение материально-технического снабжения, подготовки и передвижения людского состава.
- организация службы тыла.
- материально-техническое обеспечение магазина.
- тыл и снабжение, материально-техническое снабжение, работа тыла.
- движение материалов и запасов.
- наука о планировании, организации, управлении, контроле и регулировании движения материальных и информационных потоков в пространстве и во времени от их первичного источника до конечного потребителя.
Логистику также определяют как научное направление, связанное с поиском новых возможностей повышения эффективности материальных потоков.
В настоящее время можно отметить и более широкий подход к логистике, который кроме вышеназванного включает анализ рынка поставщиков и потребителей, координацию спроса и предложения на рынке товаров и услуг, а также гармонизацию интересов участников процесса движения товаров. В этом случае многие функции маркетинга переходят к логистике.
В цепи по которой проходят материальный и информационный потоки от поставщика до потребителя выделяются следующие звенья: поставка материалов, сырья, полуфабрикатов, хранение продукции и сырья, производство товаров, их распределение, потребление готовой продукции.
В экономической литературе логистическую систему делят на макро- и микрологистику. Макрологистика исследует проблемы, связанные с анализом рынка поставщиков и потребителей, выработкой общей концепции распределения, размещением распределительных центров, выбором наиболее эффективного вида транспорта и т.д. Микрологистика решает проблемы в рамках отдельных звеньев логистики (например, внутрипроизводственная логистика). Микрологистика обеспечивает операции по планированию, подготовке, реализации и контролю за процессами перемещения товаров внутри промышленных предприятий.
Понятие логистики сначала появилось в военной сфере, где охватывало проблемы транспорта, снабжения, перемещения войсковых подразделений. Затем понятия и методы логистики были перенесены в гражданскую сферу, где использовались в управлении материальными потоками в сфере обращения и производства. При этом понятия и методы логистики стали применяться в экономике сравнительно недавно. Так до начала 60-х годов вопросам оптимизации материальных потоков большого внимания не уделялось.
Первый этап
(60-е годы) характеризуется интеграцией складского хозяйства с транспортом, которые начинают функционировать по единому графику и по согласованной технологии. При этом критерием эффективности
стал являться минимум общих затрат на материальное распределение, а не оценка эффективности отдельно складского хозяйства и транспорта.
Второй этап
(80-е годы) характеризуется интеграцией складского хозяйства и транспорта с производством. Это позволило оперативно реагировать на изменения внешней среды, улучшить использование оборудования и сократить сроки исполнения заказов. Критерием оптимальности стала минимизация общих издержек всех вышеназванных подразделений. При этом очевидно, что минимизация общих издержек может быть достигнута снижением эффективности работы отдельных звеньев предприятия. Попытки минимизировать издержки какого-либо отдельного вида деятельности могут привести к повышению всех затрат при организации материального потока. Например, снижение запасов может снизить издержки, связанные с хранением, но увеличить издержки, связанные с работой транспорта.
Третий этап
(настоящее время) характеризуется интеграцией всех участников логистического процесса.
В странах с рыночной экономикой логистика охватывала прежде всего товарные потоки в сфере обращения. В нашей стране решались задачи оптимизации прежде всего потоков продукции производственно-технического назначения.
Таким образом, целью дисциплины “Логистика” является формирование у специалистов теоретических и практических навыков в управлении материальным потоком.
В логистике используются экономические, экономико-математические и статистические методы для решения различных теоретических и практических задач.
Важной задачей логистики является создание интегрированной системы регулирования и контроля материальных и информационных потоков.
Под материальным потоком следует понимать сырье, полуфабрикаты, готовые изделия, рассматриваемые в процессе приложения к ним различных логистических операций (разгрузка, укладка на поддоны, перемещение, распаковка и т.п.) и отнесенные к определенному интервалу времени.
Размерность материального потока определяется дробью, в числителе которой указана единица измерения груза (штуки, килограммы, тонны и т.д.), а в знаменателе - единица измерения времени (сутки, месяц, квартал и т.д.).
Под информационным потоком понимают совокупность циркулирующих в логистической системе, а также между этой системой и внешней средой сообщений, сопровождающих материальный поток.
Информация, относящаяся к материальным потокам может быть разделена во времени на три вида: опережающая (предварительная); поступающая одновременно с материальным потоком (например, о количественных и качественных его параметрах); поступающая вслед за материальным потоком (например, различные подтверждения, претензии и т.п.).
Построение информационной системы логистики должно быть индивидуальным в зависимости от количества задач и структуры организации.
При этом под информационной системой понимают систему сбора, хранения, накопления, поиска и передачи данных, применяемых в процессе управления. Рекомендуется всю логистическую систему рассматривать как совокупность функционально ограниченных подсистем, функционирование которых обеспечивается информацией на уровне ее собственных информационных подсистем.
Успешное проведение в России и других странах СНГ экономических реформ многие ученые и практики связывают с возможностями использования на всех уровнях управления народным хозяйством классических инструментов: менеджмента, маркетинга, логистики и др.
Однако, как показал опыт реформирования отечественной экономики эти инструменты, хорошо зарекомендовавшие себя в стабильной экономике развитых стран и даже для их выхода из периодических кризисов и спадов, далеко не всегда и не везде успешно применяются в нашей деформированной экономике переходного периода. С одной стороны, прогрессивно нарастает не только число зарубежных (переводных) и отечественных работ, научных разработок по указанным дисциплинам, но также и организационных форм по обучению и пропаганде знаний и навыков в этой области (кафедр, учебных центров, специальных программ, факультетов и др.). С другой стороны, очевидно слабое востребование предпринимательскими структурами России различных форм собственности и уровня интегрированности перечисленных научно-практических инструментов. Это в значительной степени напоминает известную ситуацию с применением экономико-математических моделей, методов и средств вычислительной техники для реанимации социалистической экономики. Такую негативную тенденцию трудно объяснить только недостаточной подготовкой отечественных специалистов, хотя это обстоятельство нельзя сбрасывать со счетов.
Селекционный механизм рынка достаточно быстро оценивает и отбирает наиболее выгодные формы и методы хозяйствования, что заставляет искать более серьезные причины нарастающего разрыва между теорией и практикой эффективного управления рыночной экономикой России.
Это относится в первую очередь к логистике, которая в отличие от менеджмента и маркетинга до сих пор не имеет четкого концептуального оформления, как в части содержательного определения этой сравнительно новой научной дисциплины, так и в части сфер ее эффективного использования.
Неоправданно широкий разброс задач, функций и объектов применения логистики, перечисленных в зарубежной и отечественной литературе, затрудняют объективную оценку эффективности и целесообразности применения конкретных форм и методов логистики в различных хозяйственных структурах, а также разработку конструктивной программы мероприятий по подготовке этих структур к продуктивной логистизации. Кроме того, недостаточно раскрыта взаимосвязь логистики с менеджментом и маркетингом в деле повышения конкурентоспособности хозяйственных систем и их доходности.
Рассмотрим некоторые из этих актуальных проблем. Логистика является прежде всего частью общей теории управления, но выделяется из него своей спецификой — управлением различными потоковыми процессами, имеющие пространственно-временную последовательность. В этом смысле совершенно неправомерно ограничивать сферу эффективного использования логистики управлением материало- и товаро-движением или другими физическими потоками. В действительности же объектом использования логистики может быть любая деятельность, где совокупность процессов или событий, а также их промежуточных результатов имеет альтернативную последовательность в пространстве и во времени, а следовательно, и многовариантность организации и управления такой деятельности по определенным критериям. Это относиться к материальным, товарным, транспортным, финансово-кредитным, информационным потокам, банковской, юридической и лечебно-профилактической деятельности, военным и другим потоковым процессам.
Это первая особенность логистики
, выделяющая ее из общего управления.
Второй особенностью логистики
является ее способность не только управлять потоковыми процессами, которое осуществлялось до логистики и без нее, поскольку всякая общественная деятельность всегда есть результат какого-то более или менее успешного управления. Логистика обеспечивает именно организацию рационального (оптимального) управления упомянутыми процессами с целью выявления и реализации скрытых, т. е. неиспользованных без ее применения резервов управления, главным образом в виде дополнительных доходов и прибыли хозяйственных и других рыночных структур.
Однако эти потенциальные резервы каждая предпринимательская структура в условиях «мозаичного» рыночного хозяйства отдельных экономически самостоятельных собственников, может задействовать, как показал опыт России и других стран СНГ, за счет трех групп факторов, т. е. источников получения дохода и прибыли:
- общественно-полезных, главным образом производительных факторов (роста производительности труда, снижение ресурсоемкости и себестоимости продукции, улучшения ее качества, увеличения объема продаж и др.);
- непродуктивных факторов, связанных с распределением и утилизацией ранее созданного национального богатства или перераспределением дохода и прибыли других хозяйственных систем.
Это характерно не только для торгово-посреднических, но и производственных структур, которые в силу каких то причин обеспечили себе более привилегированные «правила игры»; антиобщественных и даже криминальных факторов и источников (теневой экономики, коррупции, рэкета, контрабанды, мошенничества, хищения и пр.).
Естественно, что каждая из этих групп факторов в том числе и разных комбинаций из них создают различные проблемные ситуации, из которых вытекают разные постановки задач организации и управления потоковыми процессами.
В этих условиях неразвитого, нестабильного, т. е. деформированного рынка даже традиционный маркетинг, как предпринимательская деятельность, направленная на более полное удовлетворение потребностей и нужд покупателей, следует рассматривать как частный случай.
В этих условиях фирмы-поставщики продукции и услуг могут устанавливать выгодные для себя отношения со своими покупателями независимо от степени удовлетворения потребностей последних. И только при ориентации предпринимательских структур на общественно полезные и прежде всего производительные источники получения доходов и прибыли, одновременно реализуется тот или иной вариант классического маркетинга.
Это же относится и к логистике. Если рассматривать логистику только как общесистемный методический инструмент, нейтральный по отношению к целепологанию рыночных структур и вытекающей из него социально-экономической постановки задач управления (определение целевой функции, критериев, системы ограничений), то логистизация предпринимательской деятельности (рациональная и оптимальная организация) сводиться к совокупности общих логистических приемов или методов, позволяющих задействовать любые средства и источники для приращения целевых функций любых рыночных структур, в том числе непродуктивных и даже криминальных. Однако при этом существенно обедняется содержательная сторона логистики как суммы знаний и навыков, накопленных зарубежной наукой и практикой для их применения в развитом цивилизованном рынке, и как средство для достижения целей современного маркетинга.
Одновременно мы вынуждены предполагать наличие трех различных по набору знаний и навыков логистик, две последние из которых предназначены для непродуктивной и антиобщественной (криминальной) экономики, что исключает если и не совсем временную их актуальность, то во всяком случае историческую перспективность.
Таким образом, третьей особенностью логистики
является ее предназначение осуществлять рационализацию организационных структур, форм и методов управления потоковыми процессами с целью выявления и использования дополнительных резервов управления главным образом за счет общественно-полезных и особенно производительных факторов и источников. Это является наиболее характерным для эволюционно отлаженной рыночной экономики развитых стран.
Логистика, как и маркетинг, является научно-практическим инструментом совместного хозяйствования многих экономически самостоятельных рыночных структур, позволяющих достигать рациональной (оптимальной) организации потоковых процессов, протекающих в пространственно-временной последовательности, с целью выявления и реализации потенциальных резервов управления и получения, в конечном счете, дополнительных доходов и прибыли этими структурами преимущественно за счет общественно-полезных, главным образом производительных факторов и источников.
Такое толкование логистики с одной стороны объясняет устойчивую невостребованность практикой отечественного предпринимательства современных форм и методов логистики, широко распространенных за рубежом, с другой стороны в условиях проводимых в России реформ ставит на повестку дня ряд актуальных проблем. К их числу относятся:
- определение степени подготовленности кризисной экономики России и других стран СНГ к непосредственному использованию классических инструментов эволюционно отлаженного рыночного механизма, особенно логистики, а также путей и условий подготовки к этому хозяйственных и других предпринимательских структур (это во многом предопределяет эффективность, и, следовательно, целесообразность применения в настоящее время в нашей стране логистики и ряда других прогрессивных нововведений);
- разработка более широкой и содержательной программы логистизации потоковых процессов и создания логистических систем как на отдельных участках и стадиях циклично воспроизводимой деятельности так и по всей логистической цепи;
- установление более четкого и продуктивного взаимодействия между маркетинговыми службами и другими подразделениями хозяйственных структур с их логистическими системами как в организационно-методическом, так и экономическом аспектах;
- использование достаточно объективных и надежных критериев общественной и рыночной эффективности программ логистизации, ее отдельных мероприятий;
- решение логистических (информационных и оптимизационных) задач в различных звеньях логистической цепи с целью определения зон взаимной выгоды и перспективного компромисса для нескольких собственников или распорядителей сопряженных логистических систем;
- применение и развитие логистики, а также ее новых форм взаимоотношения с маркетингом в постреформенной смешанной экономике России как базовой части ее национальной модели.
Анализ низкой востребованности рыночными структурами России зарубежных и большинства отечественных разработок по логистике показал, что большинство из них сориентировано на иные более строгие и стабильные «правила игры» по сравнению с российской действительностью.
В результате подавляющая часть знаний и навыков современной логистики, рассчитанных на более благоприятные, т. е. характерные для развитого цивилизованного рынка «правила игры», предлагают отечественным структурам такие «рациональные» или «оптимальные» варианты организации управления потоковыми процессами, которые либо не выполнимы в российских условиях, либо ухудшают результаты бизнеса в случае их реализации, особенно по сравнению с конкурентами, которые проигнорировали логистизацию и соответственно предъявляемые ее требования и обязательства. В результате даже там, где с помощью привлеченных со стороны разработчиков делаются попытки использования логистики в практике предпринимательства, предлагаемая программа логистизации вступает в противоречие с российскими реалиями. Поэтому она отторгается работниками хозяйственных систем или ими используется лишь незначительно.
Неподготовленность действующих в переходный период систем управления России к непосредственному использованию логистики требует более широкой и содержательной трактовки логистизации рыночных структур. Основным ядром и целью логистизации остается обеспечение необходимой рациональности (оптимальности) управления потоковыми процессами и реализация тем самым дополнительных резервов за счет осуществления более успешных вариантов взаимодействия производительных сил. Величина этих резервов зависит от выполнения системами управления требования объективного закона экономической кибернетики — закона необходимого разнообразия, согласно которому управляющие и управляемые системы должны быть адекватны по своей сложности и структурному многообразию объекта управления. Поскольку объекты общественной деятельности, особенно экономические объекты, непрерывно усложняются под влиянием разделения труда, научно-технического прогресса и других факторов, что особенно наглядно проявляется в повышении степени связности и взаимообусловленности производительных сил, требуется периодическая реорганизация (рационализация) более консервативных управленческих структур. В этом заключается основная задача логистизации и образованных в результате этого логистических систем.
В содержательном же отношении процесс рационализации управления потоковыми процессами с помощью логистики сводится к трем основным проблемам:
- формализации и моделированию возникающих проблемных ситуаций и улучшению тем самым постановки задач управления на всех уровнях;
- разработка на этой основе более рациональной (оптимальной) «технологии» управления потоковыми процессами на отдельных участках или по всей логистической цепи в виде пространственно-временной последовательности разработки и исполнения управленческих решений распорядительными центрами различных рыночных структур;
- использование более совершенных, организационных структур, форм и методов, технических средств и кадров управления, адекватных новой «технологии» управления для более полного и точного решения логистических (информационных и оптимизационных) задач.
В решении указанных проблем логистика сохраняет тесную преемственность с научными разработками по оптимальному управлению социалистической экономикой, особенно в отношении систем материально-технического обеспечения. Фонд этих разработок с необходимыми поправками на требования многоукладной рыночной экономики может быть успешно использован в будущей логистизации российской экономики, особенно в координации межсистемной деятельности.
Следует также заметить, что преимущества, а, следовательно, эффективность и целесообразность использования логистики, возрастает по мере усложнения информационных и роста числа оптимизационных логистических задач, что наблюдаются при интегрировании рыночных структур в корпоративные и ассоциативные объединения, а также при более тесном их взаимодействии, исходя из взаимной выгоды.
Однако рассмотренная рационализация управления потоковыми процессами становится необходимой и возможной в условиях экономики России переходного периода только при обеспечении минимально-необходимой работоспособности систем управления отечественных рыночных структур.
Работоспособность рыночных систем управления характеризуется следующими основными параметрами, составляющими ее необходимые и достаточные условия.
Необходимым условием работоспособности являются параметры управляемости и адаптивности рыночных структур.
Простая форма управляемости оценивается способностью и готовностью распорядительных центров рыночных структур и их подконтрольных органов соблюдать исполнительную дисциплину т. е. выполнять законодательные акты, приказы, распоряжения, а также другие конкретные решения и команды с достаточной полнотой и точностью.
Однако большинство законодательных актов и решений разрабатываются и направляются в виде заданий нижестоящим подконтрольным структурам с достаточно высокой степенью неопределенности, чаще всего в виде нормативной социально-экономической постановки задач управления (общей целевой функции, подлежащей экстремизации, критериев-показателей прироста ее значений, а также системы ограничений, т. е. требований, при обязательном соблюдении которых только и допускается максимизация или минимизация целевой функции). Так любая подконтрольная структура может получить от материнской фирмы задание увеличить общий объем товарооборота при соблюдении качества продукции, ассортимента и сроков поставки; минимизировать транспортные издержки при соблюдении общего объема продаж, сроков поставки и качества продукции; увеличить доходы и прибыль, соблюдая все гарантии перспективного функционирования и развития фирмы и т. д.
Соответственно и снижение управляемости (вплоть до неуправляемости) может проявляться в двух формах: в виде подмены или деформации заданной целевой функции, когда, например, работники предприятия или учреждения начинают работать по принципу «максимум привилегий и личных доходов, минимум неприятностей и забот об основной деятельности»; в виде нарушения требуемых ограничений, которые часто по своей важности и приоритетности в системе целей рыночных структур гораздо значительнее самих целевых функций. Это делает рассмотренную форму неуправляемости более опасной для жизнеспособности рыночных структур. К ней относится, например, увеличение доходов и прибыли за счет наркотиков, контрабандных товаров, запрещенной продажи оружия, недоброкачественных вино-водочных изделий, оправдания преступников, несоблюдение договорных обязательств контрагентами поставки и пр.
В условиях слабой управляемости все логические проекты по рационализации управления потоковыми процессами теряют свою ценность и смысл, поскольку обрекаются в этих условиях на полное или существенное невыполнение.
Поэтому, для обеспечения минимально-необходимых параметров управляемости в любой ее форме, процесс логистизации должен обязательно предусматривать наличие в рыночных структурах, использующих логистику, достаточно эффективной системы управляющих воздействий (положительных и отрицательных стимулов), которые бы побуждали, учитывая мотивацию деятельности всех работников этих структур, соблюдать как исполнительную дисциплину, так и нормативную социально-экономическую поставку и реализацию логистических задач.
Другим параметром работоспособности, который также составляет необходимые условия логистизации, является адаптивность рыночных структур. Она состоит, во-первых
, из их способности к самонастраиванию и саморегулированию в изменчивой внешней среде, главным образом, благодаря инвариантности построения их управляющих и управляемых систем, а также взятых на вооружение рыночных форм, методов и технических средств управления. Это позволяет управлять этими структурами из главных распорядительных центров по принципу «черного ящика», т. е. по входным и выходным параметрам потоковых процессов, не вмешиваясь в регулирование внутрифирменных оборотов этого «черного ящика».
Повышению адаптивности способствует, во-вторых
, наличие достаточно объективных и надежных индикаторов оценки последствий стратегических и тактических решений с использованием обратных связей. Без этого любая рыночная структура не в состоянии скорректировать свое функционирование и развитие, особенно в нестабильных ситуациях.
И, наконец, в третьих
, к адаптивности рыночной структуры следует отнести ее селекционную способность правильной оценки и отбора факторов жизнеспособности и жизнеобеспечения, адаптации и развития данной структуры в исторически определенной предпринимательской среде в соответствии с общественными ориентирами, ценностными установками и приоритетами.
Оба параметра работоспособности: управляемость и адаптивность рыночных структур сводятся к их готовности и способности реализовать свои общесистемные цели и составляют только необходимое условие, как работоспособности, так и логистизации, поскольку не раскрывают содержательную сторону их целеполагания. Поэтому достаточным условием работоспособности этих структур и одновременно обязательной предпосылкой их логистизации является необходимая сопряженность интересов и целей хозяйственных систем с общественными интересами и целями. Это достигается путем более совершенного законодательства и других достаточно эффективных управляющих воздействий (положительных и отрицательных стимулов). Результатом такого сопряжения являются улучшение целеполагания распорядительных центров хозяйственных систем. Это означает, что нормативная постановка стратегических и тактических задач управления предусматривает экстремизацию их целевых функций (доходов, прибыли, рентабельности, издержек обращения, объема поставок, инвестиций, конкурентоспособности продукции и услуг и др.), главным образом, за счет производительных и других общественно полезных факторов и источников (см. Рис. 1.1).

Рис. 1.1 Непродуктивные факторы и источники
Отсутствие требуемой сопряженности в недостаточно развитой и поэтому деформированной и нестабильной экономике России переходного периода позволяет хозяйственным системам реализовать свои целевые функции (векторы ОА и ОД): получать прибыль, вытеснять конкурентов, расширить бизнес и т. д., не только и не столько за счет производительных (вектор ОС), сколько за счет непродуктивных, а подчас и антиобщественных факторов и источников (вектора ОР и ОВ).
Поэтому стратегия и тактика их деятельности значительно ограничивает, а во многих случаях исключает эффективное использование знаний и навыков современной логистики, рассчитанных на другие более цивилизованные «правила игры», а именно на стабильную экономику и бизнес, с преобладанием производительных и других общественно-полезных факторов и источников своего успеха.
Комбинированное использование названных факторов и источников для достижения своих стратегических и тактических целей также ставит серьезные препятствия для эффективного использования логистики.
Таким образом, логистизацию рыночных систем управления следует осуществлять в двух главных направлениях:
- создавать необходимые условия для повышения степени управляемости, адаптивности и улучшения целеполагания логистических систем в качестве предпосылок для их эффективной реализации;
- одновременно ориентировать формы и методы логистизации систем на реально достижимую к моменту создания микро- и макрологистических систем модель управления рыночными структурами. Это означает в свою очередь необходимость существенной модификации применяемых в экономически развитых странах знаний и навыков современной логистики с целью их адаптации к ограниченной работоспособности рыночных хозяйственных систем переходного периода.
Первое направление тесно увязывается с формированием в России смешанной экономики. Ее построение отражает объективную тенденцию развития целостных общественных систем. Поэтому смешанная экономика является одновременно базисной частью постреформенной национальной модели рыночной экономики и наиболее благоприятным объектом применения логистики.
Второе направление представляет программу общесистемных и внутрифирменных мероприятий по логистизации хозяйственных и других систем неустойчивой экономики переходного периода.
Таким образом, логистизация рыночных структур в условиях реформируемой экономики России не может ограничиться только рационализацией их систем управления, а должна сопровождаться их параллельным преобразованием в логистические системы.
1.2 Оценка эффективности использования материальных ресурсов
Необходимым условием организации производства продукции является обеспечение его материальными ресурсами: сырьем, материалами, топливом, энергией, полуфабрикатами и т.д.
Стоимость материальных ресурсов входит в себестоимость продукции по элементу «Материальные затраты» и включает в себя цену их приобретения (без учета НДС и акцизов), наценки, комиссионные вознаграждения, уплачиваемые снабженческим и внешнеэкономическим организациям, стоимость услуг бирж, таможенных пошлин, плату за транспортировку, хранение и доставку, осуществленные сторонними организациями.
Удовлетворение потребности предприятия в материальных ресурсах может обеспечиваться двумя путями: экстенсивным и интенсивным (рис. 1.2). Экстенсивный путь предполагает увеличение добычи и производства материальных ресурсов и связан с дополнительными затратами. Кроме того, рост объема производства при существующих технологических системах привел к тому, что темпы истощения природных ресурсов и уровень загрязнения окружающей среды вышли за допустимые пределы. Поэтому рост потребности предприятия в материальных ресурсах должен осуществляться за счет более экономного их использования в процессе производства продукции или интенсивным путем.
 
Рис.1.2. Основные пути улучшения обеспеченности материальными ресурсами
Изыскание внутрипроизводственных резервов экономии материальных ресурсов составляет содержание экономического анализа, который предполагает следующие этапы:
1. Оценка качества планов материально-технического снабжения, анализ их выполнения;
2. Оценка потребности предприятия в материальных ресурсах;
3. Оценка эффективности использования материальных ресурсов;
Источники информации для анализа материальных ресурсов: план материально-технического снабжения, заявки, спецификации, договоры на поставку сырья и материалов, формы статистической отчетности о наличии и использовании материальных ресурсов и его затратах на производство и реализацию продукции, плановые и отчетные калькуляции себестоимости выпускаемых изделий, данные о нормативах и нормах расходов материальных ресурсов.
Важным условием бесперебойной нормальной работы предприятия является полная обеспеченность потребности в материальных ресурсах (MPi) источниками покрытия (Ui):
MPi = Ui .
Различают внутренние (собственные) источники и внешние.
К внутренним источникам относят сокращение отходов сырья, использование вторичного сырья, собственное изготовление материалов и полуфабрикатов, экономию материалов в результате внедрения достижений научно-технического прогресса.
К внешним источникам относят поступление материальных ресурсов от поставщиков в соответствии с заключенными договорами.
Потребность в завозе материальных ресурсов со стороны определяется разностью между общей потребностью в i-м виде материальных ресурсов и суммой внутренних источников ее покрытия. Степень обеспеченности потребности в материальных ресурсах договорами на их поставку оценивается с помощью следующих показателей:
- коэффициент обеспеченности по плану
| Стоимость материальных ресурсов по заключенным договорам |
| Плановая потребность |
Коб.пл.
=
- коэффициент обеспеченности фактический
| Стоимость Фактически поставленных материальных ресурсов |
| Плановая потребность |
Коб.ф
=
Анализ данных коэффициентов проводится по каждому виду материалов.
Потребность в материальных ресурсах определяется также в разрезе их видов на нужды основной и не основной деятельности предприятия и на запасы, необходимые для нормального функционирования на конец периода.
Потребность в материальных ресурсах на образование запасов определяется в трех оценках:
- в натуральных единицах измерения, что необходимо для установления потребности в складских помещениях;
- в денежной (стоимостной) оценке для выявления потребности в оборотных средствах и увязки с финансовым планом;
- в днях обеспеченности – в целях планирования и контроля за выполнением графика поставки.
Обеспеченность предприятия запасами в днях исчисляется по формуле:
Здн=Зm
i
/
P
д
i
,
где Здн
– запасы сырья и материалов, в днях;
Зm
i
– запасы i-ого вида материальных ресурсов в натуральных или стоимостных показателях,
P
д
i
– средний дневной расход i-ого вида материальных ресурсов в тех же единицах измерения.
Средний дневной расход каждого вида материалов рассчитывается делением суммарного расхода i-ого вида материальных ресурсов за анализируемый период (MPi
) на количество календарных периодов (Д
):
Pgi
=
MPi
/ Д
.
В процессе анализа фактические запасы важнейших видов сырья и материалов сопоставляют с нормативными и выявляют отклонение.
Проверяют также состояние запасов сырья и материалов на предмет выявления излишних и ненужных. Их можно установить по данным складского учета путем сравнения прихода и расхода. К неходовым относят материалы, по которым не было расходов более одного года.
В процессе потребления материальных ресурсов в производстве происходит их трансформация в материальные затраты, поэтому уровень их расходования определяется через показатели, исчисленные исходя из суммы материальных затрат.
Для оценки эффективности материальных ресурсов используется система обобщающих и частных показателей (табл.1.1).
Таблица 1.1
Показатели эффективности материальных ресурсов
| Показатели |
Формула расчета |
Экономическая интерпретация показателя |
| 1. Обобщающие показатели |
| Материалоемкость продукции (ME) |
| МЕ =
|
Сумма материальных затрат
|
| Стоимость продукции
|
|
Отражает величину материальных затрат, приходящуюся на
1 руб. выпущенной продукции
|
| Материалоотдача продукции (МО) |
| МО =
|
Стоимость продукции
|
| Сумма материальных затрат
|
|
Характеризует выход продукции с каждого рубля потребленных материальных ресурсов |
| Удельный вес материальных затрат в себестоимости продукции (УМ
) |
| Ум
=
|
Сумма материальных затрат
|
| Полная себестоимость продукции
|
|
Отражает уровень использования материальных ресурсов, а также структуру (материалоемкость продукции) |
| Коэффициент использования материалов (KM
) |
| Ум
=
|
Сумма фактических материальных затрат
|
| Сумма материальных затрат по плану при фактическом выпуске продукции
|
|
Показывает уровень эффективности использования материалов, соблюдения норм их расходования |
2. Частные показатели
|
Сырьеемкость продукции (СМЕ)
Металлоемкость продукции (ММЕ)
Топливоемкость продукции (ТМЕ)
Энергоемкость продукции (ЭМЕ)
|
| СМЕ=
|
Стоимость потребленных сырья и материалов
|
| Стоимость продукции
|
| ММЕ=
|
Стоимость потребленного металла
|
| Стоимость продукции
|
| ТМЕ=
|
Стоимость потребленного топлива
|
| Стоимость продукции
|
| ЭМЕ=
|
Стоимость потребленной энергии
|
| Стоимость продукции
|
|
Показатели отражают эффективность потребления отдельных элементов материальных ресурсов на 1 руб. выпущенной продукцией |
| Удельная материалоемкость изделия (УМЕ) |
| УМЕ=
|
Стоимость всех потребленных на изделие материалов
|
| Цена изделия
|
|
Характеризует величину материальных затрат, израсходованных на одно изделие |
Применение обобщающих показателей в анализе позволяет получить общее представление об уровне эффективности использования материальных ресурсов и резервах его повышения.
Частные показатели используются для характеристики эффективности потребления отдельных элементов материальных ресурсов (основных, вспомогательных материалов, топлива, энергии и др.), а также для установления снижения материалоемкости отдельных изделий (удельной материалоемкости).
В зависимости от специфики производства частными показателями могут быть: сырьеемкость – в перерабатывающей отрасли; металлоемкость – в машиностроении и металлообрабатывающей промышленности; топливоемкость и энергоемкость – на предприятиях ТЭЦ; полуфабрикатоемкость – в сборочных производствах и т.д.
Удельная материалоемкость отдельных изделий может быть исчислена как в стоимостном, так и в условно-натуральном и натуральном выражении.
В процессе анализа фактический уровень показателей эффективности использования материалов сравнивают с плановым, изучают их динамику и причины изменения.
Эффективность использования ОС характеризуется их структурой (долей финансирования за счет собственных средств и распределением в производственном цикле) и оборачиваемостью.
Величина собственных ОС представляет собой разницу между общей суммой ОС и краткосрочными обязательствами (кредиты и займы, кредиторская задолженность, авансы полученные и пр.) и является одной из характеристик финансовой устойчивости предприятия.
Структура ОС показывает пропорции распределения ресурсов между отдельными элементами. Ее анализ позволяет определить, какие именно статьи являются наиболее специфичными для данного предприятия.
Оборачиваемость ОС характеризуется коэффициентом оборачиваемости. Показателем комплексной оценки эффективности использования ОС служит их рентабельность. Она рассчитывается как отношение рентабельности продаж к средней величине оборотных средств за период. Снижение рентабельности говорит о неправильности использования ОС и необходимости их перераспределения.
Часто под рациональным управлением ОС понимают только их уменьшение. Однако это не так - их недостаток может иметь столь же негативные последствия, как и избыток. Со слишком большой величиной ОС связаны проблемы дополнительных расходов на хранение излишков запасов, порчу и физическое устаревание запасов из-за длительного срока хранения, уменьшение реальной стоимости активов из-за инфляции, риск неплатежеспособности дебиторов. Нехватка ОС может вызвать сбои в снабжении, а как следствие – увеличение производственного цикла и рост затрат, снижение объемов продаж из-за недостаточных запасов готовой продукции, дополнительные расходы на финансирование. Поэтому управление ОС предполагает не только снижение их величины, но и оптимизацию исходя из потребности предприятия.
Целевой установкой управления оборотными средствами является определение объема и структуры оборотных средств, источников их покрытия и соотношения между ними, достаточного для обеспечения долгосрочной производственной и эффективной финансовой деятельности предприятия.
Сформулированная целевая установка имеет стратегический характер; не менее важным является поддержание оборотных средств в размере, оптимизирующем управление текущей деятельностью. С этих позиций важнейшей финансово-хозяйственной характеристикой предприятия является его ликвидность, т.е. способность вовремя гасить краткосрочную кредиторскую задолженность. Для любого предприятия достаточный уровень ликвидности является одной из важнейших характеристик стабильности хозяйственной деятельности. Потеря ликвидности чревата не только дополнительными издержками, но и периодическими остановками производственного процесса.
При низком уровне оборотных средств производственная деятельность не поддерживается должным образом, отсюда – возможная потеря ликвидности, периодические сбои в работе и низкая прибыль. При некотором оптимальном уровне оборотных средств прибыль становится максимальной. Дальнейшее повышение величины оборотных средств приведет к тому, что предприятие будет иметь в распоряжении временно свободные, бездействующие текущие активы, а также излишние издержки финансирования, что повлечет снижение прибыли (рисунок 1.3).

Рисунок 1.3 Взаимосвязь прибыли и уровня оборотных средств
Таким образом, стратегия и тактика управления оборотными средствами должна обеспечить поиск компромисса между риском потери ликвидности и эффективностью работы. Это сводится к решению двух важных задач.
1. Обеспечение платежеспособности. Такое условие отсутствует, если предприятие не в состоянии оплачивать счета, выполнять обязательства и, возможно, объявит о банкротстве. Предприятие, не имеющее достаточного уровня оборотных средств, может столкнуться с риском неплатежеспособности.
2. Обеспечение приемлемого объема, структуры и рентабельности активов. Известно, что различные уровни разных текущих активов по-разному воздействуют на прибыль. Например, высокий уровень производственно-материальных запасов потребует соответственно значительных текущих расходов, в то время как широкий ассортимент готовой продукции в дальнейшем может способствовать повышению объемов реализации и увеличению доходов. Каждое решение, связанное с определением уровня денежных средств, дебиторской задолженности и производственных запасов, должно быть рассмотрено как с позиции рентабельности данного вида активов, так и с позиции оптимальной структуры оборотных средств.
Риск потери ликвидности или снижения эффективности, обусловленный объемом и структурой оборотных средств потенциально несет в себе следующие явления:
1. Недостаточность денежных средств. Предприятие должно иметь денежные средства для ведения текущей деятельности, на случай непредвиденных расходов и на случай вероятных эффективных капиталовложений. Нехватка денежных средств в нужный момент связана с риском прерывания производственного процесса, возможным невыполнением обязательств либо с потерей возможной дополнительной прибыли.
2. Недостаточность собственных кредитных возможностей. Этот риск связан с тем, что при продаже товаров в кредит покупатели могут оплатить их в течение нескольких дней или даже месяцев, в результате чего на предприятии образуется дебиторская задолженность. С позиции финансового менеджмента дебиторская задолженность имеет двоякую природу. С одной стороны, «нормальный» рост дебиторской задолженности свидетельствует об увеличении потенциальных доходов и повышении ликвидности. С другой стороны, предприятие может «вынести» не всякий размер дебиторской задолженности, поскольку неоправданная дебиторская задолженность представляет собой иммобилизацию собственного оборотного капитала, а превышение ею некоторого предела может привести также к потере ликвидности и даже остановке производства. Такая ситуация весьма характерна для российской экономики с ее хроническими взаимными неплатежами.
3. Недостаточность производственных запасов. Предприятие должно располагать достаточным количеством сырья и материалов для проведения эффективного процесса производства; готовой продукции должно хватать для выполнения всех заказов и т.д. Неоптимальный объем запасов связан с риском дополнительных издержек или остановки производства.
4. Излишний объем оборотных средств. Поскольку величина оборотных средств прямо связана с издержками финансирования, то поддержание излишних активов сокращает доходы. Возможны различные причины образования излишних активов: неходовые и залежалые товары, привычка «иметь про запас» и др.
1.3. Методы нормирования запасов.
Различают следующие методы нормирования материальных ресурсов: расчетно-аналитический, отчетно-статистический и опытный.
Расчетно-аналитический метод
расчета индивидуальных норм расхода сырья, материалов, топлива и энергии основан на выполнении поэлементных расчетов по данным проектно-конструкторской, технологической и другой технической документации. При этом методе полезный расход материальных ресурсов на деталь, сборочный узел, единицу продукции рассчитывается по данным рабочих чертежей, конструкторских специфических рецептур, технологических регламентов, уравнений химических реакций. Нормируемые величины трудноустранимых технологических отходов и потерь определяются на основе карт технологических процессов, технологических карт раскроя, карт согласования обработки, актов взвешивания заготовок. Этот метод является наиболее прогрессивным, позволяющим определить научно обоснованные нормы расходов, так как сочетает технико-экономические расчеты с анализом конкретных производственных условий. В связи с этим его применение наиболее целесообразно в нормировании сырья, основных материалов и ТЭР.
Опытный метод
— способ разработки индивидуальных норм расхода сырья, материалов, топлива и энергии, основанный на замерах их расхода и объемов произведенной продукции (работ) в лабораторных и опытно-производственных условиях. При этом необходимо стремиться к определению значений раздельно по каждому элементу состава нормы расходов.
Условия проведения опытов должны быть наиболее типичными для данной технологии производства и вместе с тем максимально приближенными к тем условиям, которые возникнут после реализации в планируемом периоде каких-то мероприятий по совершенствованию производства. Опыт должен производиться максимально возможное число раз на технически исправном и отлаженном оборудовании и в режимах, предусмотренных технологическими регламентами и инструкциями. Нормы расхода устанавливаются путем отбора наиболее достоверных результатов и вычисления среднего значения методами математической статистики. Этот метод целесообразно применять для нормирования расхода вспомогательных материалов, сырья и материалов в производствах, основанных на химических технологиях, на предприятиях добывающих отраслей и в строительстве.
Отчетно-статистический метод
— способ разработки индивидуальных и групповых норм расхода сырья, материалов, топлива и энергии, основанный на анализе данных статистической (бухгалтерской, оперативной) отчетности о фактическом их расходе на единицу продукции (работ) на прошлый период. При расчете указанным способом необходимо учитывать сопоставимость конструкций, технологии и организации производства, а также возможность полного и точного отражения в отчетности фактических расходов материальных ресурсов в предшествующие годы.
При этом методе рекомендуются два основных варианта расчета норм расхода:
1) исчисляется величина фактического расхода за последний отчетный год, которая корректируется на определенную величину вследствие планируемых мероприятий по совершенствованию техники, технологии и организации производства;
2) по данным фактических удельных расчетов материала формируется интегральный ряд динамики показателей за прошлые годы. Расчет нормы расхода сводится к нахождению уровня ряда за его пределами статистическими методами экстраполяции.
Расход материальных ресурсов в значительной мере зависит от совершенства нормативной базы на предприятии. Поэтому ее систематический анализ позволяет знать ее состояние и своевременно осуществлять мероприятия по ее совершенствованию с целью более рационального использования материальных ресурсов на предприятии, технологии и организации производства к нормативу, а затем пересмотр норм расхода металла на указанные детали будут способствовать совершенствованию нормативной базы и более рациональному использованию металла на заводе.
При плановой экономике каждому предприятию вышестоящая организация устанавливала общий норматив оборотных средств. В этих условиях предприятия были вынуждены контролировать эту величину.
С переходом на рыночные условия предприятиям норматив оборотных средств никто не устанавливает и не контролирует. Но это не значит, что в условиях рынка предприятия не должны сами устанавливать и контролировать норматив оборотных средств.
В условиях рыночных отношений значение нормирования оборотных средств резко возрастает, так как в конечном итоге это связано с платежеспособностью и финансовым состоянием предприятия.
Общий норматив оборотных средств (
Нобщ
)
состоит из суммы частных нормативов:
Нобщ = Нпз + Ннп + Нгп + Нбр,
где Нпз
- норматив производственных запасов;
Ннп
- норматив незавершенного производства;
Нгп
- норматив готовой продукции;
Нбр
- норматив будущих расходов.
Нормирование оборотных средств в производственных запасах
Состав оборотных средств в производственных запасах включает следующие элементы: сырье, основные материалы и покупные полуфабрикаты; вспомогательные материалы; топливо; тару; запасные части; МБП, в том числе:
- малоценный и быстроизнашивающийся инструмент и приспособления;
- малоценный хозяйственный инвентарь (производственный инвентарь — огнетушители, ведра, лопаты и т. д.; офисный инвентарь — столы, стулья, шкафы; бытовой инвентарь— кровати, тумбочки, шторы, скатерти и так далее);
- специальная одежда и обувь;
- специальный инструмент и приспособления;
- сменное оборудование;
- производственная тара.
Норма оборотных средств в производственных запасах включает следующие элементы:
- транспортный запас
(время нахождения материалов в пути),
- подготовительный запас
(время на приемку, разгрузку, сортировку, складирование и подготовку к производству);
- текущий запас
(время нахождения на складе в виде сменного, дневного и тому подобного запаса);
-страховой запас
(время нахождения на складе в виде гарантийного запаса).
Величина транспортного
запаса
рассчитывается методом прямого счета или аналитическим методом. Метод прямого счета применяется при узкой номенклатуре расходуемых материальных ресурсов, поступающих от ограниченного числа поставщиков. В этом случае по итогам прошлого периода определяется средняя продолжительность пробега груза от поставщика до потребителя, что и является нормой транспортного запаса. При большом числе поставщиков и широкой номенклатуре потребляемых ресурсов норма транспортного запаса определяется аналитическим методом на основе норматива прошлого периода.
Расчет времени пребывания средств в подготовительном запасе
определяется исходя из фактических затрат, устанавливаемых хронометражем, или на основе отчетных данных за предшествующий период. Время подготовки материалов к производству предопределяется перечнем соответствующих операций и условиями их выполнения. При механизации погрузочно-разгрузочных и складских операций это время обычно не превышает нескольких часов.
В качестве нормы текущего запаса
принимают половину средневзвешенного интервала между поставками. По отдельным видам товарно-материальных ценностей, поступающих с интервалом 1—5 дней, норма запаса может быть увеличена до полной продолжительности среднего интервала. Величина средневзвешенного интервала исчисляется на основе оптимального размера заказа или сложившегося в отчетном периоде режима поступления ресурсов. В случаях, когда поставки планируются регулярно, а данный материал потребляется равномерно, средний интервал между поставками определяется делением числа дней в году на число плановых поставок. При расчете нормы текущего запаса по сложившемуся режиму поступления товарно-материальных ценностей средневзвешенный интервал определяется по складским карточкам учета поставок за прошлый год. При этом не принимаются во внимание возврат материалов из цехов на склад, случайные и нетипичные поставки. При получении одного и того же материала или полуфабриката от нескольких поставщиков в один день такие поступления рассматриваются как одна поставка. Аналогично решается вопрос при поступлении сырья от одного поставщика в течение нескольких дней подряд, но при условии, что на все отгрузки выписан один платежный документ.
Норма оборотных средств в днях по страховому запасу
обычно устанавливается в пределах до 50% нормы текущего запаса, если данный материал поступает от иногородних поставщиков. Если осуществляются одногородние поставки, то страховой запас не предусматривается или образуется по отдельным позициям в размере до 30% нормы текущего запаса. Норма страхового запаса увеличивается сверх 50%, если:
-отдельные виды материалов (полуфабрикатов) изготавливаются только для данного предприятия одним поставщиком;
-потребитель расположен вдали от удобных транспортных путей или доставка материалов возможна лишь в отдельное время года.
Норматив оборотных средств по производственным запасам рассчитывается исходя из описанных выше норм и однодневного расхода как сумма всех входящих элементов. При этом надо иметь в виду, что как правило, норматив оборотных средств по МБП и вспомогательным материалам рассчитывается аналитическим методом. При использовании этого метода вначале исчисляется норматив оборотных средств в рублях на одного работника или на 1000 руб. стоимости всей продукции исходя из фактического потребления в базовом периоде. Затем полученный показатель умножается на планируемую численность персонала или выпуск продукции.
Норматив производственных запасов
(Нпз
) складывается из норматива текущего запаса, подготовительного и страхового и может быть определен по формуле:
Нпз=
Q
сут
(
N
тз
+
N
пз
+
N
стр
),
Q
cут
- среднесуточное потребление материалов;
N
тз
- норма текущего запаса, дн.;
N
пз
- норма подготовительного запаса, дн.;
N
стр
- норма страхового запаса, дн.
Нормирование оборотных средств в незавершенном производстве
.
Оборотные средства в незавершенном производстве авансируются для создания циклового, оборотного и страхового заделов, обеспечивающих бесперебойный ход производственного процесса в цехах и на участках. В натуральном выражении остатки незавершенного производства состоят из необходимого количества деталей, узлов и полуфабрикатов на рабочих местах и между ними. Размер незавершенного производства определяют следующие факторы:
- объем выпускаемой продукции;
- длительность производственного цикла;
- коэффициент нарастания затрат (готовности продукции) в незавершенном производстве.
Объем выпуска продукции влияет на размер незавершенного производства через величину однодневного выпуска продукции, рассчитанного по себестоимости. Объем выпуска продукции определяется на основе имеющихся заказов потребителей и прогнозов сбыта.
Длительность производственного цикла определяет продолжительность нахождения средств в незавершенном производстве (норма запаса в днях). Производственный цикл измеряется в календарных единицах времени (дни, часы, минуты) и содержит следующие элементы: рабочий период, естественные процессы, перерывы. Состав и соотношение между собой отдельных элементов производственного цикла характеризуют его структуру. Длительность производственного цикла в основном определяется технологическими процессами, применяемыми на фирме. Структура производственного цикла зависит также от номенклатуры выпускаемой продукции, типа производства, его организационно-технических условий.
Коэффициент нарастания затрат
(Кнз
) характеризует уровень готовности продукции в составе незавершенного производства. Необходимость расчета коэффициента нарастания затрат обусловлена тем, что затраты в незавершенном производстве осуществляются в разное время. Обычно их делят на единовременные и остальные затраты. К единовременным затратам относится расход сырья, основных материалов, полуфабрикатов. Остальные затраты (заработная плата, амортизационные отчисления, накладные расходы и т. п.) нарастают постепенно на протяжении всего цикла. Коэффициент рассчитывается как отношение себестоимости незавершенного производства к плановой себестоимости изделия и учитывает длительность производственного цикла. При неравномерном нарастании затрат используют формулу:
Кнз=З
i
/С*Т,
где З
i
- затраты на i-й период времени нарастающим итогом (i
= 1, 2, ..., n), С
- плановая себестоимость изделия; Т
- длительность полного производственного цикла изделия в календарных временных единицах (дни, недели, месяцы).
Норма оборотных средств в незавершенном производстве рассчитывается по предприятию в целом или по подразделениям с последующим суммированием.
Величина норматива незавершенного производства
(Ннп
) может быть определена по формуле
Ннп=
V
сут
Тц Кнз,
гдеV
сут
- плановой объем выпуска продукции по производственной себестоимости;
Тц
- длительность производственного цикла;
К
нз
- коэффициент нарастания затрат.
На предприятиях с равномерным выпуском продукции коэффициент нарастания затрат (Кнз
) можно определить следующим образом:
Кнз= (а + 0,5в)/(а + в),
гдеа
- затраты, производимые единовременно в начале процесса производства;
в
- последующие затраты до окончания производства готовой продукции.
Таким образом, норматив оборотных средств в незавершенном производстве зависит от суточного объема производимой продукции, длительности производственного цикла и коэффициента нарастания затрат. Он характеризует степень готовности изделия и определяется отношением себестоимости незавершенного производства к себестоимости готовой продукции.
Нормирование оборотных средств в расходах будущих периодов.
Экономическое содержание расходов будущих периодов состоит в необходимости финансирования некоторых затрат, которые совершаются в настоящее время, но будут списаны на себестоимость в последующем. В состав расходов будущих периодов входят следующие затраты: на освоение новых видов продукции и новых технологических процессов (за исключением машиностроения, металлургической и некоторых отраслей химической промышленности, где эти затраты финансируются из фонда развития производства, науки и техники); на горно-подготовительные работы (очистка, осушка, взрывные работы или иная подготовка территории), вскрышные работы горно-химических предприятий и предприятий других отраслей (за исключением затрат, производимых за счет капитальных вложений); по подписке на периодические издания; арендная плата; на связь; налоги и сборы, уплачиваемые за будущее время. Норматив определяется по формуле:
W
рбп
=Рн+Рпл-Рс
где W
рбп
- норматив оборотных средств по расходам будущих периодов; Рн
- сумма расходов на начало планового года; Рпл
- планируемая сумма расходов в предстоящем периоде; Рс
- сумма расходов, относимых на себестоимость продукции в планируемом периоде.
Сумма расходов на начало планируемого года берется из баланса. Намечаемая сумма затрат в планируемом году исчисляется на основе плана научно-технического развития фирмы, предусматривающего освоение новых видов продукции и новых технологических процессов, приобретение и изготовление для этих целей необходимых материалов и полуфабрикатов, инструмента и приспособлений, оформление технической документации и другие расходы. Сумма расходов будущих периодов, включаемая в себестоимость планируемого периода, определяется на основе плановой сметы затрат на производство.
Нормирование оборотных средств в готовых изделиях на складе
.
Готовая продукция — часть материально-производственных запасов организации, предназначенная для продажи, являющаяся конечным результатом производственного процесса. Экономическое содержание норматива оборотных средств по готовой продукции на складе состоит в том, что, поскольку продукция, как правило, реализуется партиями, комплектно и в определенном ассортименте, для обеспечения планомерной ее отгрузки потребителям необходимо время для выполнения различных складских операций (подборка по ассортименту, накопление изделий до размеров партии отгрузки, упаковка изделий, оформление отгрузочных документов и т. д.).
Нормы оборотных средств в готовых изделиях на складе включают:
- подготовительный запас — для обработки и подготовки к отпуску готовой продукции, поступающей от выпускающих цехов;
- текущий запас, равный норме отпуска;
- страховой запас — для компенсирования возможных простоев производства и для удовлетворения потребностей новых потребителей. Норматив рассчитывается как произведение однодневного выпуска продукции по себестоимости и нормы оборотных средств по готовой продукции:
Норматив оборотных средств в запасах готовой продукции
(Нгп
) можно определить по формуле:
Нгп = Всут(Тфп + Тод),
гдеВсут
- суточный выпуск готовой продукции по производственной себестоимости;
Тф
- время, необходимое для формирования партии для отправки готовой продукции потребителю, дн.;
Тод
- время, необходимое для оформления документов для отправки груза потребителю, дн.
Нормирование оборотных средств на предприятии и контроль за установленными нормативами — одно из важнейших слагаемых управления предприятием в целом. Особенно актуальна эта проблема для средних и крупных предприятий.
Таким образом
, для эффективного нормирования необходимо учесть специфику и возможности предприятия и рассчитать оптимальную экономико-математическую модель при которой уменьшаются запасы, уменьшается производственный цикл и тем самым увеличивается эффективность использования оборотных средств предприятия.
Логистизация рыночных структур в условиях реформируемой экономики России не может ограничиться только рационализацией их систем управления, а должна сопровождаться их параллельным преобразованием в логистические системы.
В результате эффект логистизации намного превышает дополнительную выгоду рыночных структур от рациональной (оптимальной) организации управления их потоковыми процессами, что видно из табл. 1.2.
Таблица 1.2
Основные факторы и источники повышения эффективности системы управления за счет применения логистики
| Воздействие ло-гистики на ос-новные парамет-ры управления поточными про-цессами (степень их управляемос-ти) |
Факторы эф-фективности за счет улучшения основных пара-метров управ-ления |
Источники эф-фективности за счет выявле-ния и исполь-зования резер-вов управления с помощью ло-гистики |
Реализация основных целей логистики на объектах управления, влияющая на конечные результаты деятельности |
1. - Достижение рациональной структурной организации управления
2. Повышается работоспособ-ность системы управления: а) улучшается исполнительная дисциплина б) улучшается социально-экономическая постановка задач управления в) повышается профессиональ-ный уровень работников г) улучшается научно-методи-ческое, техни-ческое и инфор-мационно-техно-логическое осна-щение
|
Улучшается целеполагание и постановка стратегических и тактических задач.
Снижается степень откло-нения фактичес-ких исполни-тельных реше-ний от запрогра-ммированных в соответствии с нормативной моделью управ-ления
Уменьшается роль нефор-мальной струк-туры управле-ния.
Повышается полнота и точ-ность решения задач в их лю-бой постановке
|
Приближение нормативной структурной организации управления к эталонной
Приближение реальной моде-ли управления к нормативной
|
Первая цель
- улучшение качества обслуживания за счет:
1. уменьшения компенсируемого и неком-пенсируемого дефицита, возникающего при нарушение договорных условий поставки и соответственно потерь от дефицита.
2. уменьшения запасов избыточной (сверхнормативной и излишней) продукции и снижение расходов на их содержание и ликвидацию.
Вторая цель
- снижение совокупных затрат и потерь на формирование, движение и преобразование материальных, товарных, денежных и информационных потоков за счет:
1. реализации рациональной схемы мате-риало- и товародвижения, а также инфор-мационных и денежных потоков;
2. минимизации и оптимизации запасов во всех каналах обращения продукции;
3. комбинированного использования раз-личных видов транспорта;
4. установления оптимального соотно-шения между заказной, транзитной и складской формами поставок;
5. правильного размещения складского хозяйства на обслуживаемой территории;
6. использования прогрессивных форм складской обработки грузов;
7. снижение потерь материальных ресур-сов при доставке и хранении;
8. уменьшение затрат на управление
|
Глава 2. Управление запасами на примере предприятия "Стройсервис"
2.1. Краткая характеристика предприятия «Стройсервис»
Общество является юридическим лицом и имеет в собственности имущество, учитываемое на балансе предприятия, может от своего имени приобретать и осуществлять имущественные и личные неимущественные права, нести обязанности, быть истцом и ответчиком в суде. Общество имеет гражданские права и несет обязанности, необходимые для осуществления любых видов деятельности, не запрещенные федеральными законами.
Основным видом деятельности ООО «Стройсервис» являются строительно-монтажные работы (СМР). Предприятие выступает в роли генерального подрядчика. Организационно-правовая форма ООО «Стройсервис» соответствует действующему гражданскому законодательству. Учредительные документы общества оформлены в соответствии с нормами Федерального закона от 08.02.98г. № 14-ФЗ «Об обществах с ограниченной ответственностью». ООО «Стройсервис» относится к субъекту малого предпринимательства. Доля в уставном капитале принадлежит физическим лицам и одному юридическому лицу, доля которого составляет 15% уставного капитала. Уставной капитал организации оплачен полностью.
Органами Государственной статистики России ООО “Стройсервис” присвоен код по Общехозяйственному классификатору “Отрасли народного хозяйства (ОКОНХ), соответствующий отрасли “Строительство”. Обособленных подразделений ООО «Стройсервис» не имеет.
Наличие государственной лицензии дает право заниматься строительной деятельностью, в приложении к лицензии указаны конкретные виды работ, которыми может заниматься ООО «Стройсервис». В основном предприятие осуществляет строительство жилых домов и нежилого помещения. Для выполнения отдельных видов работ привлекаются субподрядные строительно-монтажные организации, у них также имеется лицензия на право заниматься строительной деятельностью.
ООО «Стройсервис» имеет расчетные счета в учреждениях банков.
Организационная структура управления предприятием - это совокупность его производственных и управленческих подразделений и связей между ними. В ООО «Стройсервис» выделяют структуру аппарата управления и производственную структуру. Общая численность фирмы 82 человека: из них ИТР - 20 человек, руководящий состав – 8 человек
В настоящее время организационная структура управления ООО «Стройсервис» имеет вид:
Во главе ООО «Стройсервис» находится генеральный директор, который избирался общим собранием акционеров и осуществляет текущее руководство деятельностью предприятия, осуществляет общее управление ИТР и имеет преимущество в определении движения денежных ресурсов. Генеральный директор подготавливает к утверждению отчетные, финансовые, бухгалтерские и иные документы, связанные с деятельностью предприятия (рис 2.1).
Анализируя структуру можно выявить, что она относится к традиционному типу структур (линейно-функциональная структура), так существует иерархия и четкое разграничение компетенции по уровням линейного управления. Достоинства этой структуры в управлении одноотраслевым производством (централизованное управление, четкое планирование, строгий контроль производственно-хозяйственной деятельности) общепризнанны в условиях, когда изменения происходят равномерно и по всем структурным подразделениям. Существуют линейные связи между начальником любого отдела и его подчиненными (например, между главным бухгалтером и работниками бухгалтерии).
Функциональные связи можно выделить, например, между специалистами бухгалтерии и специалистами отдела снабжения.
Рис. 2.1 Организационная структура управления ООО «Стройсервис»
В соответствии с производственной структурой организации определено местонахождение объектов ОС, закрепление их за материально ответственными лицами. Материально ответственными лицами в ООО «Стройсервис» являются начальники строительных участков, прорабы, механик, заведующий складом. С ними организация заключает договора о полной материальной ответственности.
2.2. Анализ запасов по традиционной методике.
Оценка эффективности использования материальных ресурсов
Для оценки эффективности материальных ресурсов используется система обобщающих и частных показателей.
В процессе анализа фактический уровень показателей эффективности использования материалов сравнивают с плановым, изучают их динамику и причины изменения.
Согласно данным баланса выручка от продажи товаров за минусом НДС, акцизов и прочих обязательных платежей равна 236 201 тыс. руб и 246933 тыс. руб. за 2002 и 2001 годы соответственно.
МЕ
2001
=127 681/ 246933 = 0,517
МЕ
2002
=149 232/ 236201 = 0,632
Таким образом, можно сделать вывод, что в отчетном году предприятие снизило удельный вес продукции с высоким уровнем материалоемкости. Наблюдается неэкономное использование сырья и материалов, вследствие чего материалоемкость возросла на 1,15 %.
Данный вывод иллюстрирует изменение (а точнее снижение) материалоотдачи:
МО
2001
= 246933 / 127 681= 1,93
МО
2002
= 236201/ 149 232= 1,58
Согласно данным баланса себестоимость продукции в отчетном периоде равна 196 722, в прошлом периоде - 197 043 тыс. руб. Тогда удельный вес материальных затрат в себестоимости продукции:
Ум
2001
=127 681/ 197 043= 0,648 или 64,8 %
Ум
2002
=149 232/ 196 722= 0,759 или 75,9 %
Как видно из расчетов, удельных вес материальных затрат в себестоимости продукции существенно увеличился - на 11,1 %. Полученные данные позволяют сделать вывод о необходимости поиска путей улучшения обеспеченности материальными ресурсами, их нормирования и расходования в процессе производства.
Показатели обеспеченности предприятия оборотными средствами
Таблица 2.1
Структура оборотных активов предприятия
| Оборотные активы |
Код строки |
01.01.99 |
01.01.00 |
01.01.01 |
01.01.02 |
01.01.03 |
| Запасы |
210 |
15 601 |
19 319 |
37 683 |
43 829 |
49 975 |
| в том числе: сырье, материалы и другие аналогичные ценности (10, 12, 13, 16) |
211 |
10 197 |
12 935 |
15 523 |
16 913 |
34 813 |
| затраты в незавершенном производстве (издержках обращения) (20, 21, 23, 29, 30, 36, 44) |
213 |
3 264 |
2 250 |
2 612 |
4 158 |
8 704 |
| готовая продукция и товары для перепродажи (16, 40, 41) |
214 |
1 956 |
2 983 |
18 376 |
21 215 |
3 768 |
| товары отгруженные (45) |
215 |
| расходы будущих периодов (31) |
216 |
99 |
1 108 |
941 |
1 273 |
2 690 |
| прочие запасы и затраты |
217 |
85 |
43 |
231 |
270 |
| Налог на добавленную стоимость по приобретенным ценностям (19) |
220 |
2 869 |
2 264 |
3 017 |
7 942 |
1 769 |
| Дебиторская задолженность (платежи по которой ожидаются более чем через 12 месяцев после отчетной даты) |
230 |
339 |
438 |
835 |
590 |
455 |
| Дебиторская задолженность (платежи по которой ожидаются в течение 12 месяцев после отчетной даты) в том числе: |
240 |
5 199 |
8 103 |
9 646 |
28 638 |
35 516 |
| покупатели и заказчики (62, 76, 82) |
241 |
4 699 |
6 208 |
5 160 |
17 015 |
20 039 |
| векселя к получению (62) |
242 |
289 |
| задолженность дочерних и зависимых обществ (78) |
243 |
3 |
24 |
133 |
3 168 |
2 085 |
| авансы выданныe (61) |
245 |
54 |
441 |
1 957 |
5 012 |
4 174 |
| прочие дебиторы |
246 |
443 |
1 141 |
2 396 |
3 443 |
9 218 |
| Краткосрочные финансовые вложения (56, 58, 82) |
250 |
3 700 |
0 |
0 |
1 077 |
0 |
| Денежные средства |
260 |
3 543 |
2 203 |
634 |
7 212 |
481 |
| в том числе: касса (50) |
261 |
7 |
36 |
38 |
85 |
27 |
| расчетные счета (51) |
262 |
3 533 |
1 819 |
347 |
232 |
408 |
| валютные счета (52) |
263 |
3 |
72 |
249 |
6 895 |
46 |
| прочие денежные средства (55, 56, 57) |
264 |
276 |
| Итого оборотных средств |
290 |
31 251 |
32 327 |
51 815 |
89 288 |
88 196 |
Таблица 2.2
Структура оборотных активов предприятия
| Оборотные активы |
Код строки |
01.01.02 |
Доля в % |
01.01.03 |
Доля в % |
Изме-нение |
| Запасы |
210 |
43 829 |
49,1% |
49 975 |
56,7% |
6 146 |
| в том числе: сырье, материалы и другие аналогичные ценности (10, 12, 13, 16) |
211 |
16 913 |
18,9% |
34 813 |
39,5% |
17 900 |
| затраты в незавершенном производстве (издержках обращения) (20, 21, 23, 29, 30, 36, 44) |
213 |
4 158 |
4,7% |
8 704 |
9,9% |
4 546 |
| готовая продукция и товары для перепродажи (16, 40, 41) |
214 |
21 215 |
23,8% |
3 768 |
4,3% |
-17 447 |
| товары отгруженные (45) |
215 |
| расходы будущих периодов (31) |
216 |
1 273 |
1,4% |
2 690 |
3,1% |
1 417 |
| прочие запасы и затраты |
217 |
270 |
0,3% |
-270 |
| Налог на добавленную стоимость по приобретенным ценностям (19) |
220 |
7 942 |
8,9% |
1 769 |
2,0% |
-6 173 |
| Дебиторская задолженность (платежи по которой ожидаются более чем через 12 месяцев после отчетной даты) |
230 |
590 |
0,7% |
455 |
0,5% |
-135 |
| Дебиторская задолженность (платежи по которой ожидаются в течение 12 месяцев после отчетной даты) в том числе: |
240 |
28 638 |
32,1% |
35 516 |
40,3% |
6 878 |
| покупатели и заказчики (62, 76, 82) |
241 |
17 015 |
19,1% |
20 039 |
22,7% |
3 024 |
| векселя к получению (62) |
242 |
| задолженность дочерних и зависимых обществ (78) |
243 |
3 168 |
3,5% |
2 085 |
2,4% |
-1 083 |
| задолженность участников (учредителей) по взносам в уставный капитал (75) |
244 |
| авансы выданныe (61) |
245 |
5 012 |
5,6% |
4 174 |
4,7% |
-838 |
| прочие дебиторы |
246 |
3 443 |
3,9% |
9 218 |
10,5% |
5 775 |
| Краткосрочные финансовые вложения (56, 58, 82) |
250 |
1 077 |
1,2% |
0 |
-1 077 |
| Денежные средства |
260 |
7 212 |
8,1% |
481 |
0,5% |
-6 731 |
| в том числе: касса (50) |
261 |
85 |
0,1% |
27 |
0,03% |
-58 |
| расчетные счета (51) |
262 |
232 |
0,3% |
408 |
0,5% |
176 |
| валютные счета (52) |
263 |
6 895 |
7,7% |
46 |
0,1% |
-6 849 |
| прочие денежные средства (55, 56, 57) |
264 |
| Итого оборотных средств |
290 |
89 288 |
100% |
88 196 |
100 % |
- |
В структуре оборотных средств к концу года преобладают запасы - 56,7%, на дебиторскую задолженность приходится 40,7%, НДС – 2,0%, денежные средства – 0,5 %, краткосрочные финансовые обязательства – 0,44%.
В текущем периоде наблюдается уменьшение оборотных средств, однако крайне незначительное. Существенно изменилась их структура. Прежде всего резко уменьшилась доля денежных средств в структуре оборотных средств предприятия: изменение составило 6 731 тыс. руб., в результате чего их доля в общем объеме оборотных средств сократилась с 8,1 % до 0,5 %. Данные баланса показывают, что такое уменьшение величины денежных средств связано с расходованием за отчетный период средств на валютных счетах предприятия: они сократились на 6 849 тыс. руб. и их доля в общем объеме оборотных средств упала с 7,7 % до 0,1 %. Таким образом, денежные средства в иностранной валюте были израсходованы почти полностью.
Также в отчетном периоде наблюдается рост дебиторской задолжности: на конец 2002 года она составила 35 971тыс. руб., увеличившись на 6 878 тыс. руб. и ее с ее доля в общем объеме оборотных средств увеличилась с 32,1% до 40,3% в отчетном периоде. Рост дебиторской задолжности вызван ростом задолжности покупателей готовой продукции, которая увеличилась на 3 024 тыс. руб., а также существенным ростом прочей дебиторской задолжности.
Объем производственных запасов возрос на 6 146 тыс. руб. (или на 7,6%), причем существенно изменилась их структура. Резко возросла доля сырья и материалов – с 17,9 % до 39,5 % в общем объеме оборотных средств (или на 17 900 тыс. руб.). При этом существенно сократились запасы готовой продукция на складе, которая за отчетный год уменьшилась с 21 215 тыс.руб. до 3 768 0 тыс.руб. Доля сырья и материалов, напротив, уменьшилась на 2 039 тыс.руб. и на конец года составила 2 318 тыс.руб.
Доля НДС с 8,9 % до 2,0% (на 6 173 тыс. руб.)
Создавшееся положение свидетельствует о том, что, учитывая рост материальных запасов и сокращение готовой продукции на складе организация на конец года имеет проблемы с производством продукции.
1. Коэффициент обеспеченности оборотными средствами
(К14
) вычисляется путем деления оборотных активов организации на среднемесячную выручку и характеризует объем оборотных активов, выраженный в среднемесячных доходах организации, а также их оборачиваемость. Данный показатель оценивает скорость обращения средств, вложенных в оборотные активы. Показатель дополняется коэффициентами оборотных средств в производстве и в расчетах, значения которых характеризуют структуру оборотных активов организации.
К14 = Оборотные активы/ К1,
где К1
- среднемесячная выручка.
Среднемесячная выручка рассчитывается, как отношение выручки, полученной организацией за отчетный период, к количеству месяцев в отчетном периоде.
К1 = Валовая выручка организации по оплате / Т,
где Т
– кол-во месяцев в рассматриваемом отчетном периоде
Среднемесячная выручка вычисляется по валовой выручке, включающей выручку от реализации за отчетный период (по оплате), НДС, акцизы и другие обязательные платежи. Она характеризует объем доходов организации за рассматриваемый период и определяет основной финансовый ресурс организации, который используется для осуществления хозяйственной деятельности, в том числе для исполнения обязательств перед фискальной системой государства, другими организациями, своими работниками. Среднемесячная выручка, рассматриваемая в сравнении с аналогичными показателями других организаций, характеризует масштаб бизнеса организации.
Согласно данным отчета о прибылях и убытках за 2002 год валовая выручка предприятия за отчетный период равна 236 201 тыс. руб. Тогда среднемесячная выручка предприятия равна:
К1
2001
= 246 933 /12 = 20577,75 тыс. руб.
К1
2002
= 236 201 / 12 = 19683,42 тыс. руб.
Тогда коэффициент обеспеченности предприятия оборотными средствами равен:
К14
2001
= 89288 / 20577,75 = 4,34
К14
2002
= 88196 / 19683,42 = 4,48
Как показал анализ, обеспеченность оборотными средствами у предприятия высока, причем в отчетном периоде она несколько повысилась.
2. Собственный капитал в обороте
(К11
) вычисляется, как разность между собственным капиталом организации и ее внеоборотными активами.
К11 = Собственный капитал – Внеоборотные активы
Наличие собственного капитала в обороте (собственных оборотных средств) является одним из важных показателей финансовой устойчивости организации. Отсутствие собственного капитала в обороте организации свидетельствует о том, что все оборотные средства организации, а также, возможно, часть внеоборотных активов (в случае отрицательного значения показателя) сформированы за счет заемных средств (источников).
К11
2001
= 50 669 - 14 840 = 35 829 тыс. руб.
К11
2002
= 56 132 - 14 171= 41 961 тыс. руб.
Наличие собственного капитала в обороте предприятия говорит о том, что предприятие мало использует заемный капитал и ее деятельность в основном ведется на собственные средства.
3. Доля собственного капитала в оборотных средствах
(коэффициент обеспеченности собственными средствами) (К12
) рассчитывается, как отношение собственных средств в обороте ко всей величине оборотных средств.
К12 = (Собственный капитал – Внеоборотные активы) / /Оборотные средства
Показатель характеризует соотношение собственных и заемных оборотных средств и определяет степень обеспеченности хозяйственной деятельности организации собственными оборотными средствами, необходимыми для ее финансовой устойчивости.
К12
2001
= (50 669 - 14 840)/ 89 288= 0,401 или 40,1 %
К12
2002
= (56 132 - 14 171)/ 88 196= 0,470 или 47 %
Доля собственного капитала в оборотных средствах достаточно высока и составляет 47 %.
4. Коэффициент автономии
(финансовой независимости) (К13
) вычисляется, как частное от деления собственного капитала на сумму активов организации.
К13 = Собственный капитал / (Внеоборотные активы +
+ Оборотные активы)
Коэффициент автономии, или финансовой независимости определяется отношением стоимости капитала и резервов организации, очищенных от убытков, к сумме средств организации в виде внеоборотных и оборотных активов. Данный показатель определяет долю активов организации, которые покрываются за счет собственного капитала (обеспечиваются собственными источниками формирования). Оставшаяся доля активов покрывается за счет заемных средств. Показатель характеризует соотношение собственного и заемного капитала организации.
К13
2001
= 50 669 / (14 840 + 89 288) = 0,487или 48,7 %
К13
2002
= 56 132 / (14 171 + 88 196) = 0,548 или 54,8 %
5. Коэффициент оборотных средств в производстве
(К15
) вычисляется, как отношение стоимости оборотных средств в производстве к среднемесячной выручке. Оборотные средства в производстве определяются, как средства в запасах с учетом НДС минус стоимость товаров отгруженных.
К15 = ((Средства в запасах + Сумма НДС) - Стоимость товаров отгруженных)/К1,
где К1
- среднемесячная выручка.
Коэффициент оборотных средств в производстве характеризует оборачиваемость товарно-материальных запасов организации. Значения данного показателя определяются отраслевой спецификой производства, характеризуют эффективность производственной и маркетинговой деятельности организации.
К15
2001
= ((43 829 + 7 942) – 0) / 20577,75 = 2,52
К15
2002
= ((49 975+ 1 769) – 0) / 19683,42 = 2,63
Коэффициент оборачиваемости оборотных активов вырос с 2,52 до 2,63, увеличение числа оборотов произошло преимущественно за счет роста запасов. То, что коэффициент оборачиваемости активов значительно больше единицы – позитивный момент, свидетельствует о быстрой оборачиваемости капитала, вложенного в активы.
6. Коэффициент оборотных средств в расчетах
(К16
) вычисляется, как отношение стоимости оборотных средств за вычетом оборотных средств в производстве к среднемесячной выручке.
К16 = (Оборотные активы – Средства в запасах – Сумма НДС +
+ Стоимость товаров отгруженных )/К1,
где К1
- среднемесячная выручка.
Коэффициент оборотных средств в расчетах определяет скорость обращения оборотных активов организации, не участвующих в непосредственном производстве. Показатель характеризует, в первую очередь, средние сроки расчетов с организацией за отгруженную, но еще не оплаченную продукцию, то есть определяет средние сроки, на которые выведены из процесса производства оборотные средства, находящиеся в расчетах.
Кроме того, коэффициент оборотных средств в расчетах показывает, насколько ликвидной является продукция, выпускаемая организацией, и насколько эффективно организованы взаимоотношения организации с потребителями продукции. Он отражает эффективность политики организации с точки зрения сбора оплаты по продажам, осуществленным в кредит. Рассматриваемый показатель характеризует вероятность возникновения сомнительной и безнадежной дебиторской задолженности и ее списания в результате непоступления платежей, т.е. степень коммерческого риска.
Возрастание данного показателя требует восполнения оборотных средств организации за счет новых заимствований и приводит к снижению платежеспособности организации.
К16
2001
= (89 288 – 43 829 – 7942 + 0) / 20577,75 = 1,82
К16
2002
= (88 196 – 49 975 – 1769 + 0) / 19683,42 =1,85
7. Рентабельность оборотного капитала
(К17
) вычисляется, как частное от деления прибыли, остающейся в распоряжении организации после уплаты налогов и всех отвлечений, на сумму оборотных средств.
К17 = Чистая прибыль предприятия / Оборотные активы
Данный показатель отражает эффективность использования оборотного капитала организации. Он определяет, сколько рублей прибыли приходится на один рубль, вложенный в оборотные активы.
8. Оборачиваемость оборотных средств
– продолжительность одного оборота в днях, определяется по формуле:
, дней

L
2001
= (((51815 +89288)/2)/ 246933) * 360 = 102,9 дня
L
2002
= (((89288+88196)/2) / 236 201)* 360 = 135,3 дня
Как следует из расчета, по сравнению с предыдущим годом продолжительность оборота оборотных активов увеличилась на 32,4 дня. Это означает, что средства, вложенные в анализируемом периоде в оборотные активы, проходят цикл и снова принимают денежную форму на 32,4 дня дольше, чем в предыдущем году.
В результате потребовались дополнительные средства для продолжения производственной деятельности хотя бы на уровне прошлого года.
Коэффициент оборачиваемости (в оборотах):
, оборотов
L
2001
= 246933 / ((51815 +89288)/2) = 3,5 оборотов
L
2002
= 236 201 /((89288+88196)/2) = 2,7 оборотов
Таким образом, в прошлом году на 1 руб. оборотных средств приходилось 3,5 руб. реализованной продукции, а в отчетном году 2,7 руб., т.е. произошло уменьшение числа оборотов (на 0,8). Это негативная тенденция.
В структуре оборотных средств значительный удельный вес занимают товарно-материальные и сбытовые запасы. Поэтому сокращение товарно-материальных запасов до оптимальных размеров будет способствовать повышению рентабельности, поскольку чем большей суммой оборотных средств располагает предприятие при данном размере прибыли, тем меньше рентабельность.
Ускорение оборачиваемости оборотных средств является центральной экономической проблемой материально-технического снабжения. Ее решение позволит не только увеличить материальные ресурсы для полного удовлетворения предприятий, но и улучшить экономические показатели их работы.
Одной из важнейших задач материально-технического снабжения является своевременность обеспечения предприятий и организаций необходимыми им материальными ресурсами.
При этом под своевременностью подразумевается поставка всех разновидностей материальных ресурсов непосредственно к местам потребления в установленные сроки и необходимого качества.
Нарушение сроков поставок материалов ведет к невыполнению планов производства и реализации продукции.
2.3. Управление запасами с учетом методов логистики.
1. Нормирование оборотных средств в производственных запасах
Норматив производственных запасов в днях запаса (Нпз
) складывается из норматива текущего запаса, подготовительного и страхового и может быть определен по формуле
Нпз=
Q
сут
(
N
тз
+
N
пз
+
N
стр
),
Q
сут
- среднесуточное потребление материалов;
N
тз
- норма текущего запаса, дн.;
N
пз
- норма подготовительного запаса, дн.;
N
стр
- норма страхового запаса, дн.
Норматив производственных запасов (ФПЗ
)
рассчитывается по формуле:
ФПЗ
=
N
ПЗ
* СПЗ,
где:
N
ПЗ
- норматив производственных запасов в днях запаса;
СПЗ
- однодневный расход производственных запасов, определяемый по формуле:
СПЗ
=  
На основании данных бухгалтерской отчетности материальные затраты за 2003 год составили:
| Показатели |
1 кв. 2003г. |
2 кв. 2003г. |
В среднем за месяц |
| 1 |
2 |
3 |
4=(2+3)/6 |
| Материальные затраты, тыс. руб. |
54 746 |
61 766 |
19 419 |
Однодневный расход производственных запасов (СПЗ
) составляет:
СПЗ
=
= = 647 тыс. рублей
Норматив производственных запасов в днях запаса (
N
ПЗ
)
рассчитывается по формуле:
N
ПЗ
=
N
ТЕК
+
N
СТР
+
N
ПОДГ
,
где
N
ТЕК
- норма текущего запаса, дн.;
N
СТР
- норма страхового запаса, дн.;
N
ПОДГ
- норма подготовительного (технологического) запаса, дн.
Текущий запас (N
ТЕК
) необходим для обеспечения бесперебойного хода производства на предприятии в период между очередными поставками. Норма текущего запаса принимается равной половине среднего интервала между двумя очередными поставками.
Таблица 2.3
Интервалы между поставками по данным складского учета
| № п/п |
Наименование |
Цикл поставки |
№ п/п |
Наименование |
Цикл поставки |
| 1 |
2 |
3 |
4 |
5 |
6 |
| 1 |
Полипластавто |
160 |
101 |
ПХР |
53 |
| 2 |
Промсталь |
160 |
102 |
ЧП Лебедев А. К. |
53 |
| 3 |
ПромТех |
160 |
103 |
ТВМ |
53 |
| 4 |
Руссталь |
160 |
104 |
Фрактал |
53 |
| 5 |
Союз г. Дзержинский |
160 |
105 |
ЧП Гагулин В.В. |
53 |
| 6 |
Сталь-сервис |
160 |
106 |
ФМС-плюс |
53 |
| 7 |
ТД "ХЗНМ" |
160 |
107 |
Пинотекс |
53 |
| 8 |
Светлов |
160 |
108 |
Тэкникал Консалтинг |
53 |
| 9 |
Ижсталь |
160 |
109 |
Мотор-Супер |
53 |
| 10 |
Апогей-Самара |
160 |
110 |
Номатекс |
53 |
| 11 |
БЕ ИП АВТОВАЗ |
160 |
111 |
САК |
53 |
| 12 |
Заречье |
160 |
112 |
Импульс ЗАО |
40 |
| 13 |
Самараметалл |
160 |
113 |
Авиакор-авиационный завод |
40 |
| 14 |
Металлоцентр |
160 |
114 |
ЧП Семушкин Ю.В. |
40 |
| 15 |
МТП АВТОВАЗ |
160 |
115 |
Адэр |
40 |
| 16 |
ОПП ДTР "АвтоВАЗ" |
160 |
116 |
Кардан |
40 |
| 17 |
Подшипник-Интер |
160 |
117 |
ЧП Пашкевич Э. В. |
40 |
| 1 |
2 |
3 |
4 |
5 |
6 |
| 18 |
Химфорум |
160 |
118 |
Волга-сталь |
40 |
| 19 |
Череповецкий СтЗ |
160 |
119 |
ОПТИМА |
40 |
| 20 |
Феликс |
80 |
120 |
ЧП Юнусов Р.М. |
40 |
| 21 |
ЧП Фокеев Г. Б. |
80 |
121 |
Гипос ром |
40 |
| 22 |
ИнМаш |
80 |
122 |
Элект |
40 |
| 23 |
РосКомплект |
80 |
123 |
Униформа |
32 |
| 24 |
Росинпром |
80 |
124 |
АРС-Центр |
32 |
| 25 |
Ресурсконтракт |
80 |
125 |
ДААЗ |
32 |
| 26 |
Русский проект |
80 |
126 |
Авиатехавто |
32 |
| 27 |
Мегапласт |
80 |
127 |
Турбо-авто |
32 |
| 28 |
Раклон |
80 |
128 |
Диск |
32 |
| 29 |
Крюкова Л.С. |
80 |
129 |
Строй-Сервис |
32 |
| 30 |
Пять соток |
80 |
130 |
ЧП Резников Е. В. |
32 |
| 31 |
Июль |
80 |
131 |
Дилор |
27 |
| 32 |
КА-2 |
80 |
132 |
ЧП Фролов Н.А. |
27 |
| 33 |
Инжектор спец |
80 |
133 |
ЧП Вишневский О. Л. |
27 |
| 34 |
Завод Автосвет |
80 |
134 |
Гамма-авто |
27 |
| 35 |
Корвет.Т |
80 |
135 |
ЧП Сенотов А.Ю. |
27 |
| 36 |
ЧП Мелихова И. В. |
80 |
136 |
Волжская компания |
27 |
| 37 |
ЛЕНОКС |
80 |
137 |
Кливер |
23 |
| 38 |
Тандем |
80 |
138 |
Тольятти |
23 |
| 39 |
ЭТМ |
80 |
139 |
Слик |
20 |
| 40 |
Управление малой механизации |
80 |
140 |
Вентол |
20 |
| 41 |
ЭЛЕКТРОПРИБОР |
80 |
141 |
ЧП Антонова М. И. |
18 |
| 42 |
УАЗ-комплект |
80 |
142 |
ЧП Шильцов Ю.А. |
18 |
| 43 |
Тюльпан |
80 |
143 |
ЧП Хованских А. Н. |
18 |
| 44 |
Альянс-Авто |
80 |
144 |
Баумаркет |
16 |
| 45 |
АСОМИ |
80 |
145 |
МИР-авто |
16 |
| 46 |
Тольятти-Сенатор |
80 |
146 |
ТРЭКОЛ |
16 |
| 47 |
Бромеко |
80 |
147 |
Спецодежда |
15 |
| 48 |
Веха автокомплекс |
80 |
148 |
Автоснабтехника |
15 |
| 49 |
Тема-Плюс |
80 |
149 |
Фаянс |
15 |
| 50 |
Санфа |
80 |
150 |
ЧП Рогочов |
15 |
| 51 |
Сферасервис |
80 |
151 |
Лана |
13 |
| 52 |
СК-Холдинг |
80 |
152 |
Интра плюс |
13 |
| 53 |
ЧП Зуев С. П. |
80 |
153 |
Магистраль |
13 |
| 54 |
Саратовстекло |
80 |
154 |
Контакт |
12 |
| 55 |
Свидетелев В.С. |
80 |
155 |
Успех опт |
11 |
| 56 |
Метэкспо |
80 |
156 |
Курганмашзавод |
11 |
| 57 |
СДК |
80 |
157 |
ЧП Левошин С.В. |
11 |
| 58 |
Новаторские технологии |
80 |
158 |
Ойл-центр |
11 |
| 59 |
ВолгаПромМаркет |
80 |
159 |
ТТС |
10 |
| 60 |
ДВК |
80 |
160 |
Синапс |
10 |
| 61 |
Гельветика-Самара |
80 |
161 |
Авиастар-СП |
9 |
| 62 |
ЧП Винокуров С. А. |
80 |
162 |
ЧП Хапёрский С.Б. |
9 |
| 63 |
Стандартпласт-Иваново |
80 |
163 |
Галвест |
8 |
| 64 |
Стройизоляция |
80 |
164 |
МКФ |
7 |
| 65 |
Эй-Джи-Эй Авто |
53 |
165 |
АвтоВАЗагрегат |
7 |
| 1 |
2 |
3 |
4 |
5 |
6 |
| 66 |
Витал |
53 |
166 |
Промкриоген |
6 |
| 67 |
ЧП Шералиев К.П. |
53 |
167 |
ЧП Шумилов М.А. |
6 |
| 68 |
Аква-Инвест |
53 |
168 |
УГС |
6 |
| 69 |
ВолгаСпецСнаб |
53 |
169 |
Фрост |
5 |
| 70 |
МеталлПро |
53 |
170 |
Автопласт |
4 |
| 71 |
Эластомер |
53 |
171 |
АвтоВАЗ" СКП |
3 |
| 72 |
ЧП Платонов А.В. |
53 |
172 |
Топаз-10 |
2 |
| 73 |
Юсупов Р.И. |
53 |
173 |
АВТОВАЗ ЦСК ГЦЗЧ |
1 |
| 74 |
Энал |
122 |
174 |
Балкан |
61 |
| 75 |
ЧП Зуев А.А. |
122 |
175 |
Веха автокомплекс |
61 |
| 76 |
ЧП Мелихова И. В. |
122 |
176 |
Турбо-авто |
52 |
| 77 |
ЧП Качалкин В. Д. |
122 |
177 |
Кастер |
52 |
| 78 |
Сеан-Издат |
122 |
178 |
Канцона Трейд |
52 |
| 79 |
Техника для дома |
122 |
179 |
ТИХАН |
52 |
| 80 |
Все для вас |
122 |
180 |
Риком принт |
46 |
| 81 |
Техпром-Электро |
122 |
181 |
Санэл Технолоджи |
46 |
| 82 |
Импульс ООО |
122 |
182 |
ЧП Резников Е. В. |
41 |
| 83 |
Эдем |
122 |
183 |
Гарт-С |
41 |
| 84 |
Контур |
122 |
184 |
Норман |
37 |
| 85 |
ЧП Данчик |
122 |
185 |
ЧП Рязанова В.К. |
33 |
| 86 |
Фаянс |
122 |
186 |
Адэр |
30 |
| 87 |
Пальмира Трэйд |
122 |
187 |
Баумаркет |
30 |
| 88 |
Электросвет |
91 |
188 |
Лана |
28 |
| 89 |
Корст |
91 |
189 |
Тольятти-Сенатор |
28 |
| 90 |
ЭТМ |
91 |
190 |
Рем-Альт |
26 |
| 91 |
Самвен-Тольятти |
91 |
191 |
Сервис-плюс |
24 |
| 92 |
Балкан-ЛТД |
91 |
192 |
ЧП Шумилов М.А. |
24 |
| 93 |
Балкан-ТехСервис |
91 |
193 |
ЧП Потапов А.В. |
23 |
| 94 |
Светлана Л |
73 |
194 |
ЧП Чернова Т. Ю. |
23 |
| 95 |
ТРЭК |
73 |
195 |
Светснаб |
21 |
| 96 |
Сферасервис |
73 |
196 |
Тюльпан |
19 |
| 97 |
ЧП Дюринг В.Д. |
73 |
197 |
Успех опт |
18 |
| 98 |
Тема-Плюс |
73 |
198 |
Кайман |
17 |
| 99 |
Сервис-Т |
73 |
199 |
ИнструмСнаб |
11 |
| 100 |
Пять соток |
61 |
200 |
Аверс |
10 |
| 9 870
|
2 785
|
Всего 200 поставщиков с общим циклом поставки 12 655 дней
Средний интервал между поставками составляет: 12 655/200/2 = 32 дня
, что является нормой текущего запаса
(N
ТЕК
).
Страховой запас (N
СТР
) предусмотрен для предупреждения последствий связанных со сбоями в снабжении. Норма страхового запаса устанавливается в 30% от нормы текущего запаса.
N
СТР
=
N
ТЕК
*30% = 32*30% = 10 дней.
Подготовительный (технологический) запас (NПОДГ
) создается на сырье и материалы, требующие соответствующей дополнительной подготовки: сушка, сортировка, раскрой, комплектация и т.п. Норма подготовительного запаса определяется с учетом конкретных условий производства и включает в себя время на прием, разгрузку, оформление документов и подготовку к дальнейшему использованию сырья, материалов и комплектующих. NПОДГ
= 1 день.
Норматив производственных запасов в днях запаса
NПЗ
= NТЕК
+ NСТР
+ NПОДГ
= 32+10+1 = 43 дня
.
Норматив производственных запасов
(ФПЗ
)
= NПЗ
* СПЗ
= 647 * 43 = 27 821 тыс. рублей
.
В соответствии с бюджетом "СТРОЙСЕРВИС" на 2003 год имеется следующее соотношение материальных затрат между подразделениями:
Служба первого заместителя директора - 51.80%
Служба главного инженера - 3.00%
Служба заместителя директора по производству - 45.20%
Таким образом
, согласно данному методу расчета, норматив производственных запасов по подразделениям составляет:
- Служба первого заместителя директора - 14 411 тыс. рублей
- Служба главного инженера - 835 тыс. рублей
- Служба заместителя директора по производству - 12 575 тыс. рублей

Рис. 2.2 Норматив производственных запасов по подразделениям
2. Нормирование оборотных средств в незавершенном производстве.
Оборотные средства в незавершенном производстве авансируются для создания циклового, оборотного и страхового заделов, обеспечивающих бесперебойный ход производственного процесса в цехах и на участках. В натуральном выражении остатки незавершенного производства состоят из необходимого количества деталей, узлов и полуфабрикатов на рабочих местах и между ними. Размер незавершенного производства определяют следующие факторы:
- объем выпускаемой продукции;
-длительность производственного цикла;
-коэффициент нарастания затрат (готовности продукции) в незавершенном производстве.
Коэффициент нарастания затрат рассчитывается как отношение себестоимости незавершенного производства к плановой себестоимости изделия и учитывает длительность производственного цикла. При неравномерном нарастании затрат используют формулу:
Кнз=З
i
/С*Т,
где З
i
— затраты на i-й период времени нарастающим итогом (i
= 1, 2, ..., n), С
— плановая себестоимость изделия; Т
— длительность полного производственного цикла изделия в календарных временных единицах (дни, недели, месяцы).
Норма оборотных средств в незавершенном производстве рассчитывается по предприятию в целом или по подразделениям с последующим суммированием.
Величина норматива незавершенного производства (Ннп
) может быть определена по формуле
Ннп=
V
сут
Тц Кнз ,
где V
сут
— плановой объем выпуска продукции по производственной себестоимости;
Тц
— длительность производственного цикла;
Кнз
— коэффициент нарастания затрат.
Таким образом, норматив оборотных средств в незавершенном производстве зависит от суточного объема производимой продукции, длительности производственного цикла и коэффициента нарастания затрат. Он характеризует степень готовности изделия и определяется отношением себестоимости незавершенного производства к себестоимости готовой продукции.
Норматив незавершенного производства (ФНЗП
) равняется сумме нормативов по всем видам продукции:
ФНЗП
= , где:
m
-
количество наименований продукции;
ФНЗП
- норматив незавершенного производства по j
-ому виду готовой продукции, руб.
Таблица 2.4
Длительность производственного цикла по видам продукции по данным КНО
| Чертежный № |
Наименование продукции |
Длительность производственного цикла, дней |
| 192200000001000 |
Внедорожное транспортное средство в сборе |
15 |
| 212182000003000 |
Автомобиль специальный в сборе с двигателем 21214 |
22 |
| 212180000001030 |
Автомобиль в сборе с двигателем 21214 |
17 |
| 212090000001000 |
Автомобиль в сборе |
22 |
| 213102000001000 |
Автомобиль в сборе |
27 |
Таблица 2.5
Производственная себестоимость, план производства и доля единовременных начальных затрат в себестоимости продукции на 2003 год по данным ПЭБ
| Чертежный № |
Наименование продукции |
План произ-водства |
Себесто-имость, тыс. руб. |
Доля началь-ных затрат, d |
| 192200000001000 |
Внедорожное транспортное средство в сборе |
150 |
317 |
0.618 |
| 212182000003000 |
Автомобиль специальный в сборе с двигателем 21214 |
150 |
381 |
0.655 |
| 212180000001030 |
Автомобиль в сборе с двигателем 21214 |
500 |
189 |
0.860 |
| 212090000001010 |
Автомобиль в сборе |
60 |
412 |
0.781 |
| 213102000001000 |
Автомобиль в сборе |
60 |
385 |
0.738 |
Коэффициент нарастания затрат
(kНЗj
) характеризует степень готовности изделий и определяется отношением средней себестоимости незавершенного производства к производственной себестоимости готовой продукции. В случае равномерного нарастания затрат на производство коэффициент нарастания затрат рассчитывается по формуле
kНЗj
=  , где:
d
- доля единовременных начальных затрат в себестоимости продукции (расход сырья и материалов в начале цикла изготовления).
Таблица 2.6
Коэффициент нарастания затрат по видам продукции
| Чертежный № |
Наименование продукции |
kНЗ
|
| 192200000001000 |
Внедорожное транспортное средство в сборе |
0,809 |
| 212182000003000 |
Автомобиль специальный в сборе с двигателем 21214 |
0,828 |
| 212180000001030 |
Автомобиль в сборе с двигателем 21214 |
0,930 |
| 212090000001010 |
Автомобиль в сборе |
0,891 |
| 213102000001000 |
Автомобиль в сборе |
0,869 |
ФНЗП
j
=
,
где:
Nj
- объем выпуска j
-ого вида продукции в натуральных единицах;
Sj
- производственная себестоимость j
-ого вида продукции, руб.;
ТЦj
- длительность производственного цикла j
-ого вида продукции, дн.;
k
НЗj
- коэффициент нарастания затрат по j
-ому изделию,
F
- период расчета – 360 дней.
Таблица 2.7
Объем незавершенного производства (
ФНЗП
) на месяц по видам продукции
| Чертежный № |
Наименование продукции |
ФНЗП
, тыс. рублей |
| 192200000001000 |
Внедорожное транспортное средство в сборе |
1 603 |
| 212182000003000 |
Автомобиль специальный в сборе с двигателем 21214 |
2 890 |
| 212180000001030 |
Автомобиль в сборе с двигателем 21214 |
4 150 |
| 212090000001010 |
Автомобиль в сборе |
1 345 |
| 213102000001000 |
Автомобиль в сборе |
1 506 |
| ИТОГО ФНЗП
|
11 494
|
3. Нормирование оборотных средств в расходах будущих периодов.
Экономическое содержание расходов будущих периодов состоит в необходимости финансирования некоторых затрат, которые совершаются в настоящее время, но будут списаны на себестоимость в последующем. В состав расходов будущих периодов входят следующие затраты: на освоение новых видов продукции и новых технологических процессов (за исключением машиностроения, металлургической и некоторых отраслей химической промышленности, где эти затраты финансируются из фонда развития производства, науки и техники); на горно-подготовительные работы (очистка, осушка, взрывные работы или иная подготовка территории), вскрышные работы горно-химических предприятий и предприятий других отраслей (за исключением затрат, производимых за счет капитальных вложений); по подписке на периодические издания; арендная плата; на связь; налоги и сборы, уплачиваемые за будущее время. Норматив определяется по формуле:
W
рбп=Рн+Рпл-Рс
где W
рбп
— норматив оборотных средств по расходам будущих периодов; Рн
— сумма расходов на начало планового года; Рпл
— планируемая сумма расходов в предстоящем периоде; Рс
— сумма расходов, относимых на себестоимость продукции в планируемом периоде.
Сумма расходов на начало планируемого года берется из баланса. Намечаемая сумма затрат в планируемом году исчисляется на основе плана научно-технического развития фирмы, предусматривающего освоение новых видов продукции и новых технологических процессов, приобретение и изготовление для этих целей необходимых материалов и полуфабрикатов, инструмента и приспособлений, оформление технической документации и другие расходы. Сумма расходов будущих периодов, включаемая в себестоимость планируемого периода, определяется на основе плановой сметы затрат на производство.
Норматив расходов будущих периодов
(ФРБП
) складывается из расходов будущих периодов на начало года (РБПн/г
) и расходов в плановом году(РБПпл
) за минусом расходов будущих периодов, списываемых на затраты в плановом периоде (РБПсп
):
ФРБП
=
По данным бухгалтерского учета расходы будущих периодов на 1 июля 2003 года составляют 3 256 тыс. рублей.
Расходы по плану научно-исследовательских и опытно-конструкторских работ на 2 полугодие 2003 год составляют 318 тыс. рублей.
На затраты в 2003 году списано 356 тыс. рублей расходов будущих периодов.
ФРБП
= (РБПн/г + РБПпл – РБПсп.)
= (3 256 + 318 – 356) = 3 218 тыс. рублей
4. Нормирование оборотных средств в готовых изделиях на складе.
Нормы оборотных средств в готовых изделиях на складе включают: подготовительный запас — для обработки и подготовки к отпуску готовой продукции, поступающей от выпускающих цехов; текущий запас, равный норме отпуска; страховой запас — для компенсирования возможных простоев производства и для удовлетворения потребностей новых потребителей. Норматив
оборотных средств в запасах готовой продукции
(Нгп
) рассчитывается как произведение однодневного выпуска продукции по себестоимости и нормы оборотных средств по готовой продукции:
Нгп = Всут(Тфп + Тод),
Где Всут
- суточный выпуск готовой продукции по производственной себестоимости;
Тфп
- время, необходимое для формирования партии для отправки готовой продукции потребителю, дн.;
Тод
- время, необходимое для оформления документов для отправки груза потребителю, дн.
Норматив оборотных средств на готовую продукцию (ФГП
) рассчитывается по формуле:
ФГП
= NГП
*ВТП
,
где
NГП
- норма оборотных средств по готовой продукции, дн.
ВТП
- однодневный выпуск товарной продукции за квартал:
ВТП
= .
Норма оборотных средств по готовой продукции (NГП
) в днях по данным МТО составляет 7 дней.
Однодневный выпуск товарной продукции за квартал (ВТП
) равен 94246 тыс. рублей (по данным 1-го квартала 2003 года):
ВТП
= = = 1 047 тыс. рублей.
Норматив оборотных средств на готовую продукцию (ФГП
) равен:
ФГП
= NГП
*ВТП
= 7*1 047 = 7 329 тыс. рублей
.
5. Норматив денежных средств
(ФДС
) рассчитывается по формуле:
ФДС
= КАЛ
* К,
где
КАЛ
- коэффициент абсолютной ликвидности Î[0.02;0.08];
К
- собственный капитал предприятия.
Собственный капитал предприятия (К
) по данным бухгалтерского учета на 01.04.2003 года составляет 47 790 тыс. рублей.
КАЛ
возьмем равный нижнему пределу норматива - 0,02.
Норматив денежных средств (ФДС
) равен:
ФДС
= КАЛ
* К
= 0.02 * 47 790 = 956 тыс. рублей
6. Норматив дебиторской задолженности (ФДЗ
)
рассчитывается по формуле:
ФДЗ
= КБЛ
* К - ФГП
- ФДС
, где
КБЛ
- коэффициент быстрой ликвидности 1;
К
- собственный капитал предприятия.
Для расчета норматива дебиторской задолженности берем коэффициент быстрой ликвидности, равный 0,4.
Норматив дебиторской задолженности (ФДЗ
) равен:
ФДЗ
= КБЛ
* К - ФГП
- ФДС
= 0,4*47 790 – 7 329 – 956 = 10 831 тыс.
рублей.
В соответствии с бюджетом ОАО "СТРОЙСЕРВИС" имеется следующее соотношение материальных затрат между подразделениями:
Служба первого заместителя директора - 51.80%
Служба главного инженера - 3.00%
Служба заместителя директора по производству - 45.20%
Следовательно, норматив дебиторской задолженности по службам составляет:
Служба первого заместителя директора - 5 611 тыс. рублей
Служба главного инженера - 325 тыс. рублей
Служба заместителя директора по производству - 4 895 тыс. рублей

Рис. 2.3 Норматив дебиторской задолженности по службам
Общий норматив оборотных средств (
Нобщ
)
состоит из суммы частных нормативов:
Нобщ = Нпз + Ннп + Нгп + Нбр,
где Нпз
- норматив производственных запасов;
Ннп
- норматив незавершенного производства;
Нгп
- норматив готовой продукции;
Нбр
- норматив будущих расходов.
Общий норматив оборотных средств предприятия равен
:
Фобщ
= ФПЗ
+ ФНЗП
+ ФРБП
+ ФГП
+ ФДС
+ ФДЗ
=
= 27 821 + 11 494 + 3 218 + 7 329 + 956 + 10 831 = 61 649 тыс. рублей
.
Расчет произведен с округлением до целых чисел.
Согласно классификации запасов, представленной в первой главе работы, выделяются текущие, страховые (гарантийные), подготовительные, сезонные и другие виды запасов.
Методы расчета текущей составляющей нормы производствен-ного запаса.
1) Выше был рассчитан норматив производственных запасов традиционным методом. Он составил 27 821 тыс. руб.
2) Фасоляк Н. Д. (1972 г.)
предложил свою методику расчета нормы производственных запасов:

где R
ср
– среднесуточный расход нормируемой марки в году;
Т
n
– интервал n-й поставки (дни);
Qn
– объем n-й поставки;
Q
ср
– средний объем поставки;
N
– количество поставок в году;
n
– порядковый номер поставки.
Норма текущей составляющей производственного запаса, рассчитанная по методу Фасоляк Н. Д., составила 23 352 тыс. руб.
3) Формула расчета нормы производственных запасов по методу Федорчука Б. К. (1967 г.)
имеет вид:

Норма текущей составляющей производственного запаса, рассчитанная по методу Федорчук Б. К. составила 34 928 тыс. руб.

Рис. 2.4 Сравнение различных методов расчета текущей составляющей нормы производственного запаса
Методы расчета страховой составляющей нормы производственного запаса.
1) Согласно распространенной практике, расчет страховой составляющей производственного запаса рассчитывается как 50 % от стоимости текущего производственного запаса.
Таким образом: 
Hc
= 27821 тыс. руб.*0,5 = 13910,5
тыс. руб.
2) По методике Инютиной К. В. (1969 г.)
страховая составляющая производственного запаса рассчитывается по формуле:

где Hc
– страховая составляющая нормы запаса, в днях среднесуточного расхода;
tn
– интервал n-й поставки, дни;
Тср
– средний интервал между поставками, дни;
Q
n
– объем n-й поставки;
n
– порядковый номер поставки.
Рассчитанная данным методом норма страхового запаса составила 12 508 тыс. руб.
3) Фасоляк Н. Д. (1977 г.)
предложил следующую методику расчета данного показателя:

где K
- коэффициент, показывающий надежность обеспечения запасом (при K
= 2 надежность равна 95 %)
Рассчитанная данным методом норма страхового запаса составила 14 410 тыс. руб.
4) Формула расчета нормы страхового запаса по методу Мельниковой Е. А и др. (1979 г.)
имеет вид:

где Rcp
– среднесуточный расход нормируемой марки в году;
Zm
– отклонение значения нормируемого суточного остатка от среднего уровня его остатков перед поставками Z.
Рассчитанная данным методом норма страхового запаса составила 18 931 тыс. руб.
5) По методике Хрящева А. С., Федорука Б. К. (1980 г.)
норма страхового запаса рассчитывается по формуле:

где s
- среднеквадратическое отклонение суточных остатков от среднего уровня, вычисленного по скользящей средней.
Рассчитанная данным методом норма страхового запаса составила 8 827 тыс. руб.
6) По методике Вожжова А. П. (1981 г.)
страховая составляющая производственного запаса рассчитывается по формуле:

где р
– коэффициент гарантийности, определяющий величину компенсации случайных отклонений поставок (или расходов);
s
Т
,
s
S
,
s
Q
,
s
R
– среднеквадратические отклонения интервалов поставок, интервалов отпуска, объемов поставок и отпусков;
р1
– коэффициент гарантийности, определяющий величину случайных отклонений от среднего значения (в сторону уменьшения) и расходуемых значений (в сторону увеличения).
Рассчитанная данным методом норма страхового запаса составила 9 949 тыс. руб.

2.5 Сравнение различных методов расчета страховой составляющей нормы производственного запаса
Таким образом
, анализ методов определения текущей составляющей производственного запаса и страховой составляющей производственного запаса показывает отсутствие единства в методических подходах к расчету норм производственного запаса. Так, например, Б. Федорчук в определении текущей составляющей предлагал дополнительно взвешивать интервалы по соответствующим объемам поставок, что позволяет учесть неравномерность поставок по объемам. Н. Фасоляк рекомендует, кроме того, дополнительно учитывать в текущей составляющей отклонения вариаций нормообразующих факторов от их средних значений.
Еще большие методические разногласия наблюдаются в рекомендациях по способам расчета страховой составляющей. В методике Е. А. Мельниковой рекомендуется рассчитывать составляющую из предположения детерминированного процесса, в других методиках – из предположения, что процесс формирования носит стохастический характер. У авторов нет согласия и в том, какие интервалы между поставками следует учитывать и как. Например, К. Инютина рекомендует принимать все отклонения, как положительные, так и отрицательные, а Н. Фасоляк - только положительные, т.е. значения интервалов, которые превышают среднее значение. Во всех работах, кроме двух - методик Н. Фасоляк и Е. А. Мельниковой – не учитывается влияние на величину страховой составляющей вариации суточных объемов отпусков нормируемого материала на предприятии, которое в общем случае может быть достаточно большим и оказывать сильное воздействие. При этом в методиках, кроме трех формул Н. Фасоляк, Е. А. Мельниковой и А. П. Вожжова, вообще не учитывается влияние вариаций интервалов между отпусками товарно-материальных ценностей на предприятии. В большинстве методик по нормированию запасов не предусмотрен следующий принципиальный вопрос: что является источником образования текущего и страхового запасов на предприятии в интервалах между поставками? Как результат, и сами учитываемые нормообразующие факторы в различных методиках также разнятся. Все это не позволяет сформулировать научно-обоснованные подходы к расчету норм.
Глава 3. Организационно-инженерная часть
. Типовая технологическая карта.
Монтаж сборных железобетонных оград.
3.1 Область применения
3.1.1. Технологическая карта разработана на монтаж 100 м сборных железобетонных оград по ГОСТ 13015.0-83.
3.1.2. В состав работ, рассматриваемых картой, входят:
- установка железобетонных фундаментных блоков;
- установка железобетонных панелей;
- заделка панелей оград в стаканах фундаментов.
3.1.3. Работы по монтажу оград выполняют при помощи автокрана марки КС-2561К-1 при положительной температуре наружного воздуха.
3.1.4. При привязке технологической карты необходимо уточнить объём работ, калькуляцию трудовых затрат, график производства работ и средства механизации.
3.2 Организация и технология строительного процесса
3.2.1. До начала монтажа элементов железобетонных оград должны быть выполнены следующие работы:
- устроены подъезды для автотранспорта и монтажного крана;
- доставлены на объект монтажный кран, инвентарь, инструмент и приспособления;
- спланированы площадка для складирования элементов ограды, приспособлений и инвентаря;
- завезены на строительную площадку элементы ограждения с созданием не менее 4-х сменного запаса, который постоянно должен поддерживаться;
- выполнена разбивка трассы ограды;
- выкопаны, выровнены и защищены котлованы для сборных фундаментов до проектных отметок, с устройством песчаной подушки.
3.2.2. Доставленные на строительную площадку железобетонные изделия должны отвечать следующим требованиям:
- элементы сборных железобетонных оград должны иметь маркировку и штампы ОТК предприятия-изготовителя;
- на каждую партию однотипных элементов предприятие-изготовитель должно представить акты испытаний контрольных образцов, отвечающих требованиям ГОСТ 7473-85 (испытания изделий могут не производиться, если производится систематический контроль за качеством бетона и арматуры согласно требованиям ГОСТ 8829-85) и паспорта изделий;
- панели оград не должны иметь внешних дефектов и повреждений;
- предельные отклонения фактических размеров панелей оград не должны превышать по длине ± 8 мм, по высоте ± 8 мм, по толщине ± 5 мм;
- предельные отклонения фактических размеров для фундаментов не должны превышать ± 15 мм.
3.2.3. Последовательность выполнения операций при монтаже сборных железобетонных элементов ограды:
- планировка верха котлованов под проектную отметку;
- установка фундаментов, их выверка;
- установка сборных панелей ограды, их выверка и раскрепление клиньями;
- замоноличивание панелей оград бетоном;
- засыпка котлованов и траншей грунтом с уплотнением вручную.
Монтаж элементов ограды производят автомобильным краном КС-1562.
Для размётки мест установки фундаментов следует натянуть вдоль ограды проволоку. На дно котлована, отвесом переносят центры фундаментов, вдоль оси ограды в обе стороны отмеряют расстояние равное половине ширины фундамента, после чего фиксируют эти точки колышками, забитыми в грунт.
Монтаж фундаментов производят двухветвевым стропом. Схема организации рабочего места представлена на рисунке 3.1.
3.2.4. Работы производят при положительной температуре воздуха.
3.2.5. Работы по монтажу элементов ограды выполняет звено монтажников в составе: монтажников 4 разряда – 1 человек, 3 разряда – 1 человек, машиниста 6 разряда – 1 человек.

Рис. 3.1 Схема организации работ
1- котлован под фундаменты; 2 – траншея; 3 – сборный железобетонный фундамент; 4 – сборная железобетонная панель ограды; 5 – автокран КС-2561К-1; М1, М2 - монтажники
3.3 Калькуляция затрат труда
Таблица 3.1
|
ЕНиР
|
Наименование работ
|
Ед. изм.
|
Объем работ
|
Норма времени на ед. изм., чел.-ч.
|
Затраты труда на весь объем работ, чел.-см.
|
|
Е 4-1-19
|
Монтаж сборной железобетонной ограды:
|
|
т. 2, п. 1 а
|
Установка фундаментных блоков
|
1 блок
|
50
|
0,4
|
2,44
|
|
т. 2, п. 2 а
|
Установка столбов
|
1 столб
|
50
|
0,6
|
3,66
|
|
т. 2, п. 4 а
|
Установка панелей ограждений
|
1 панель
|
48
|
0,86
|
5,03
|
|
т. 2, п. 6 а
|
Заделка стыков
|
1 стык
|
50
|
0,28
|
1,71
|
|
Итого:
|
12,84
|
|
т. 2, п. 1 б, 2 б, 4 б, 6 б
|
Обслуживание крана
|
м/см
|
6,42
|
|
Всего:
|
19,26
|
3.4 График производства работ
Таблица 3.2
Наименование работ
|
Ед. изм.
|
Объем работ
|
Трудоем-кость на ед. изм., чел.-ч
|
Трудоем-кость на весь объем рабрт, чел.-см.
|
Состав звена, используемые механизмы
|
Рабочие дни
|
| 1 |
2 |
3 |
4 |
5 |
6 |
7 |
8 |
| Монтаж сборной железобетонной ограды |
м |
100 |
2,194 |
12,84 |
Монтажник:
4 разр. – 1
3 разр. - 1
|

|
| шт. |
48 |
| Обслуживание монтажного крана |
машино-смен |
6,42 |
1,0 |
6,42 |
Машинист 6 разр. – 1
|
| ИТОГО:
|
19,26
|
3.5 Схема операционного контроля качества работ
Таблица 3.3
| Наименование операций, подлежащих контролю |
Контроль качества выполнения операций |
| производите-лем работ |
мастером |
состав |
способы |
время |
Привлекае-мые службы |
Подготови-тельные ра-боты
|
Подготови-тельные ра-боты |
Толщина песчаной или гравий-ной подушки. Защита осно-вания от промерзания.
Очистка фундаментных блоков от грязи, а зимой от снега и наледи.
Проверка основания, геомет-рических размеров фунда-ментных блоков, отсутствие дефектов (трещины, раковины и т.п.) сопоставление пас-портных данных с проектными
|
Метром, визуально
Визуально
Метром, рулеткой, визуально
|
До начала монтажа
То же
То же
|
Технадзор
-
-
|
Установка контрольных визирок по осям фунда-ментов
Монтаж и ни-велировка фундаментов
|
Соответствие перенесенных осей на дно котлована проекту. Точность положения осей и отметок верха контрольных визирок.
Точность установки. Соот-ветствие проектным отметкам к осям.
|
Теодолитом, нивелиром
Нивелиром, отвесом
|
То же
Во время монтажа блоков
|
Геодезист
Геодезист
|
Продолжение таблицы 3.3
| Наименование операций, подлежащих контролю |
Контроль качества выполнения операций |
| производите-лем работ |
мастером |
состав |
способы |
время |
Привлекае-мые службы |
-
Установка панелей ог-рад
Замоноличива-ние фундамен-тов
|
Подготовка мест уста-новки пане-лей оград
-
-
|
Очистка стаканов фундаментов от грязи, зимой от снега и нале-ди. Наличие рисок на фунда-менте. Отметка дна стакана. Правильность и надежность строповки. Наличие паспортов.
Вертикальность установки, соосность стоек в нижнем и верхнем сечении. Надежность временного крепления.
Тщательность замоноличивания (внешний дид).
Марка консистенция бетонной смеси. Тщательность уплот-нения.
|
Визуально, метром
Визуально, нивелиром
Визуально
Стандартным конусом
|
До начала монтажа
В процессе монтажа
После замоноли-чивания
То же
|
-
Геодезист
-
Лаборатория
|
3.6 Материально-технические ресурсы
3.6.1. Потребность в основных конструкциях и полуфабрикатах.
Таблица 3.4
| Наименование |
Марка |
Ед. изм. |
Количество |
Фундамент
Железобетонная панель
Бетон
|
ФО-2
ПО-20
М 200
|
шт.
шт.
м3
|
41
40
2,1
|
3.6.2. Потребность в машинах, оборудовании, инструменте, инвентаре и приспособлениях.
Таблица 3.5
| Наименование |
Марка, ГОСТ |
Кол. |
Техническая характеристика |
| Монтажный кран |
КС-256К-1 |
1 |
Грузоподъемность 1,75-6,3 т
Вылет стрелы 8 м
|
| Строп 2-х ветвевой |
ТУ 66 234-77 |
1 |
Грузоподъемность 10 т |
| Оттяжки из пенькового каната |
ГОСТ 483-75 |
2 |
| Уровень строительный |
УС 2-700
ГОСТ 9416-83
|
1 |
| Отвес |
О-400
ГОСТ 7948-80
|
1 |
| Метр |
1 |
| Рулетка |
РС-20 |
1 |
Длина 20 м |
| Лопата совковая |
ГОСТ 19596-87 |
1 |
| Кельма |
ГОСТ 9533-81 |
1 |
| Проволока, кг |
ГОСТ 32828-74 |
60 |
Диаметр 2 мм |
| Клинья деревянные |
ГОСТ 12235-74 |
150 |
| Лом монтажный |
ГОСТ 1405-83 |
2 |
| Кувалда |
ГОСТ 11402-75 |
1 |
| Рейка-отвес |
ГОСТ 9416-83 |
1 |
| Каска защитная |
ГОСТ 12.4.087-84 |
2 |
3.7 Технико-экономические показатели
Затраты труда на весь объем, чел.-см. 19,26
Затраты труда на 1 м ограды, чел.-см. 0,19
Выработка одного рабочего в смену, м 5,19
Потребность в монтажном кране на весь объем работ, м/см. 6,42
3.8 Техника безопасности
При производстве работ по монтажу сборных железобетонных элементов оград необходимо соблюдать СНиП III-4-80 «Техника безопасности в строительстве».
К производству работ допускаются лица, достигшие 18-ти-летнего возраста, прошедшие медицинский осмотр, обученные и аттестованные по данному виду работ, получившие вводный инструктаж, инструктаж на рабочем месте и аттестованные в качестве стропальщиков.
Запрещается пребывание лиц, незанятых монтажными работами в хоне действия монтажного крана.
Зона, опасная для нахождения людей во время перемещения, установки и закрепления элементов оград должна быть обозначена хорошо видимыми предупредительными знаками, а в необходимых случаях следует подавать предупредительные звуковые сигналы.
Во время работы крана запрещается находиться рядом с его поворотной платформой.
Складирование сборных элементов оград должно производиться в соответствии с проектом производства работ и настоящей технологической картой.
Подъём и перемещение элементов забора производить после проверки правильности и надежности их строповки.
При подъеме элементов с транспортных средств запрещается перемещать груз над кабиной машиниста.
Запрещается элементы оград оставлять на весу.
Расстроповка установленных (смонтированных) элементов оград допускается после прочного и надежного их закрепления.
Сигнал о подъеме и перемещении элементов оград машинисту крана подает звеньевой монтажник.
Монтажные работы при ветре силой в пять балов, гололедице, сильном снегопаде и дожде не допускаются.
Лица, работающие и находящиеся на строительной площадке, должны носить защитные каски установленных образцов.
Проектной разработки вопросов, связанных с обеспечением безопасности работ по монтажу сборных железобетонных оград в данной технологической карте не требуется.
Глава 4. Охрана труда.
4.1. Расчет механической вентиляции
Вентиляция – организованный и регулируемый воздухообмен, обеспечивающий удаление из помещения воздуха, загрязненного вредными газами, парами, пылью, а также улучшающий метеорологические условия в цехах. По способу подачи в помещение свежего воздуха и удалению загрязненного, системы делят на естественную, механическую и смешанную.
Механическая вентиляция может разрабатываться как общеобменная, так и местная с общеобменной. Во всех производственных помещениях, где требуется надежный обмен воздуха, применяется приточно-вытяжная вентиляция. Высота приемного устройства должна зависеть от расположения загрязненного воздуха. В большинстве случаев приемные устройства располагаются в нижних зонах помещения. Местная вентиляция используется для удаления вредных веществ 1 и 2 классов из мест их образования для предотвращения их распространения в воздухе производственного помещения, а также для обеспечения нормальных условий на рабочих местах.
Расчет выделений тепла
А) Тепловыделения от людей
Тепловыделения человека зависят от тяжести работы, температуры окружающего воздуха и скорости движения воздуха. В расчете используется явное тепло, т.е. тепло, воздействующее на изменение температуры воздуха в помещении. Для умственной работы количество явного тепла, выделяемое одним человеком, составляет 140 ВТ при 10о
С и 16 ВТ при 35о
С. Для нормальных условий (20о
С) явные тепловыделения одного человека составляют около 55 ВТ. Считается, что женщина выделяет 85%, а ребенок – 75% тепловыделений взрослого мужчины. В рассчитываемом помещении (5х6 м) находится 4 человек. Тогда суммарное тепловыделение от людей будет:
Q1
=4*55=220 ВТ
Б) Тепловыделения от солнечной радиации.
Расчет тепла поступающего в помещение от солнечной радиации Qост
и Qп
(ВТ), производится по следующим формулам:
- для остекленных поверхностей
Qост
=Fост
*qост
*Aост
- для покрытий
Qп
=Fп
*qп
где Fост
и Fп
- площади поверхности остекления и покрытия, м2
qост
и qп
– тепловыделения от солнечной радиации, Вт/м2
, через 1 м
2
поверхности остекления (с учетом ориентации по сторонам света) и через 1 м2
покрытия;
Аост
– коэффициент учета характера остекления.
В помещении имеется 2 окна размером 2х1,2 м2
. Тогда Fост
=4,8 м2
.
Географическую широту примем равной 55о
, окна выходят на юго-восток, характер оконных рам – с двойным остеклением и деревянными переплетами. Тогда:
qост
=145 Вт/м2
, Аост
=1,15
Qост
=4,8*145*1,15=800 Вт
Площадь покрытия Fп
=20м2
. Характер покрытия – с чердаком. Тогда,
qп
=6 Вт/м2
Qп
=20*6=120 Вт
Суммарное тепловыделение от солнечной радиации:
Q2
=Qост
+Qп
=800+120=920. Вт
В) Тепловыделения от источников искусственного освещения.
Расчет тепловыделений от источников искусственного освещения проводится по формуле:
Q3
=N*n*1000, Вт
где N – суммарная мощность источников освещения, кВт;
n – коэффициент тепловых потерь (0,55 для люминесцентных ламп).
У нас имеется 4 светильника с двумя лампами на 40Вт. Тогда получаем:
Q3
=(4*2*0.04*0.55)*1000=176 Вт
Г) Тепловыделения от радиотехнических установок и устройств вычислительной техники.
Расчет выделений тепла проводится аналогично расчету тепловыделений от источников искусственного освещения:
Q4
=N*n*1000, Вт
Коэффициент тепловых потерь для радиотехнического устройства составляет n=0,7 и для устройств вычислительной техники n=0,5.
В помещении находятся: 4 персональных компьютера типа Pentium PRO по 600 Вт (вместе с мониторами) и 2 принтера EPSON по 130 Вт.
Q4
=(4*0.6+2*0.13)*0.5*1000=1330 Вт
Суммарные тепловыделения составят:
Qс
=Q1
+Q2
+Q3
+Q4
= 2646 Вт
Qизб
– избыточная теплота в помещении, определяемая как разность между Qс
– теплом, выделяемым в помещении и Qрасх
– теплом, удаляемым из помещения.
Qизб
=Qс
-Qрасх
Qрасх
=0,1*Qс
=264,6 Вт
Qизб
=2381,4 Вт
Расчет необходимого воздухообмена
Объем приточного воздуха, необходимого для поглощения тепла, G (м3
/ч), рассчитывают по формуле:
G=3600*Qизб
/Cр
*p*(tуд
-tпр
)
где Qизб
– теплоизбытки (Вт);
Ср
– массовая удельная теплоемкость воздуха (1000 Дж/кгС);
р – плотность приточного воздуха (1,2 кг/м3
)
tуд
, tпр
– температура удаляемого и приточного воздуха.
Температура приточного воздуха определяется по СНиП-П-33-75 для холодного и теплого времени года. Поскольку удаление тепла сложнее провести в теплый период, то расчет проведем именно для него, приняв tпр
=18о
С. Температура удаляемого воздуха определяется по формуле:
tуд
=tрз
+a*(h-2)
где tрз
– температура в рабочей зоне (20о
С);
а – нарастание температуры на каждый метр высоты (зависит от тепловыделения, примем а=1о
С/м)
h – высота помещения (3м)
tуд
=20+1*(3-2)=21о
С
G=2381,4 м3
/ч
Определение поперечных размеров воздуховода
Исходными данными для определения поперечных размеров воздуховода являются расходы воздуха (G) и допустимые скорости его движения на участке сети (V).
Необходимая площадь воздуховода f (м2
), определяется по формуле:
V=3 м/с
f=G/3600*V=0,22м2
Для дальнейших расчетов (при определении сопротивления сети, подборе вентилятора площадь воздуховода принимается равной ближайшей большей стандартной величине, т.е. f=0,246 м2
. В промышленных зданиях рекомендуется использовать круглые металлические воздуховоды. Тогда расчет сечения воздуховода заключается в определении диаметра трубы.
По справочнику находим, что для площади f=0,246 м2
условный диаметр воздуховода d=560 мм.
Определение сопротивления сети
Определим потери давления в вентиляционной сети. При расчете сети необходимо учесть потери давления в вентиляционном оборудовании. Естественным давлением в системах механической вентиляции пренебрегают. Для обеспечения запаса вентилятор должен создавать в воздуховоде давление, превышающее не менее чем на 10% расчетное давление.
Для расчета сопротивления участка сети используется формула:
P=R*L+Ei*V2*Y/2
где R – удельные потери давления на трение на участках сети
L – длина участка воздуховода (8 м)
Еi – сумма коэффициентов местных потерь на участке воздуховода
V – скорость воздуха на участке воздуховода, (2,8 м/с)
Y – плотность воздуха (принимаем 1,2 кг/м3).
Значения R, определяются по справочнику (R – по значению диаметра воздуховода на участке d=560 мм и V=3 м/с). Еi – в зависимости от типа местного сопротивления.
Результаты расчета воздуховода и сопротивления сети приведены в таблице для сети, приведенной на рисунке 4.1 ниже.
 
Рис. 4.1.
Таблица 4.1.
Расчет воздуховодов сети.
| № уч. |
G
м3/ч
|
L
м
|
V
м/с
|
d
мм
|
М
Па
|
R
Па/м
|
R*L
Па
|
Еi |
W
Па
|
Р
Па
|
| 1 |
2381 |
5 |
2,8 |
560 |
4,7 |
0,018 |
0,09 |
2,1 |
9,87 |
9,961 |
| 2 |
2381 |
3 |
2,8 |
560 |
4,7 |
0,018 |
0,054 |
2,4 |
11,28 |
11,334 |
| 3 |
4320 |
3 |
4,5 |
630 |
12,2 |
0,033 |
0,099 |
0,9 |
10,98 |
11,079 |
| 4 |
2381 |
3 |
2,8 |
560 |
4,7 |
0,018 |
0,054 |
2,4 |
11,28 |
11,334 |
| 5 |
6480 |
2 |
6,7 |
630 |
26,9 |
0,077 |
0,154 |
0,9 |
24,21 |
24,264 |
| 6 |
2381 |
3 |
2,8 |
560 |
4,7 |
0,018 |
0,054 |
2,4 |
11,28 |
11,334 |
| 7 |
8640 |
3 |
8,9 |
630 |
47,5 |
0,077 |
0,531 |
0,6 |
28,50 |
29,031 |
Где М=V2 *Y/2, W=M*Ei
Pmax=P1+P3+P5+P7=74,334 Па
Таким образом, потери давления в вентиляционной сети составляют Р=74,334 Па.
ПОДБОР ВЕНТИЛЯТОРА
Требуемое давление, создаваемое вентилятором с учетом запаса на непредвиденное сопротивление в сети в размере 10% составит:
Pтр
=1,1*P=81,7674 Па
В вентиляционной установке для данного помещения необходимо применить вентилятор низкого давления, т.к. Ртр
меньше 1 кПа.
Выбираем осевой вентилятор (для сопротивлений сети до 200 Па) по аэродинамическим характеристикам т.е. зависимостям между полным давлением Ртр
(Па), создаваемым вентилятором и производительностью Vтр
(м/ч).
С учетом возможных дополнительных потерь или подсоса воздуха в воздуховоде необходимая производительность вентилятора увеличивается на 10%:
Vтр
=1,1*G=2620 м/ч
По справочнику выбираем осевой вентилятор типа 06-300 N4 с КПД nв
=0,65 первого исполнения. КПД ременной передачи вентилятора nрп
=1,0.
4.2. Расчет зануления
Степень воздействия электротока на организм человека зависит от его величины о протяженности воздействия. В случае если устройства питаются от напряжения 380/220 В или 220/127 В в электроустановках с заземленной нейтралью применяется защитное зануление. На рисунке 4.2 представлена принципиальная схема зануления.

Ro - сопротивление заземления нейтрали
Rh - расчетное сопротивление человека;
1 - магистраль зануления;
2 - повторное заземление магистрали;
3 - аппарат отключения;
4 - электроустановка (паяльник);
5 - трансформатор.
Рис. 4.2 Схема зануления
Зануление применяется в четырехпроводных сетях напряжением до 1 кВ с заземленной нейтралью. Зануление осуществляет защиту путем автоматического отключения поврежденного участка электроустановки от сети и снижение напряжения на корпусах зануленного электрооборудования до безопасного на время срабатывания защиты. Из всего выше сказанного делаем вывод, что основное назначение зануления - обеспечить срабатывание максимальной токовой защиты при замыкании на корпус. Для этого ток короткого замыкания должен значительно превышать установку защиты или номинальный ток плавких вставок.
Расчет сводится к проверке условия обеспечения отключающей способности зануления: Jкз
>
3Jн
пл.вст
>
1,25Jн
авт
Исходные данные: мощность питающего трансформатора 160 кВ*А; схема соединения обметок трансформатора – «звезда»; электродвигатель серии 4А; U = 380 В; тип – 4А160М2, N = 18,5 кВт.
Расчет Jкз
производится по формуле: Jкз
= Uф
/(Zт
/3+Zп
)
где Uф
– фазное напряжение, В; Zт
– сопротивление трансформатора, Ом; Zп
– сопротивление петли «фаза-нуль», которое определяется по зависимости
Zп
= √(Rф
+ Rн
)2
+ (Xф
+ Xо
+ Xи
)2
Где Rн
; Rф
– активное сопротивление нулевого и фазного проводников, Ом; Xф
; Xо
– внутренние индуктивные сопротивления фазного и нулевого проводников соответственно, Ом; Хи
– внешнее индуктивное сопротивление петли «фаза-нуль», Ом.
Значение Zт
зависит от мощности трансформатора, напряжения, схемы соединения его обмоток и конструктивного исполнения трансформатора. При расчетах зануления Zт
берется из таблицы.
Расчетные полные сопротивления масляных трансформаторов
Мощность трансформатора
кВ*А
|
Номинальное напряжение обмоток высшего напряжения, кВ |
при соединении обмоток “звездой”, Ом |
при соединении обмоток “треугольником”, Ом |
| 40 |
6…10 |
1,949 |
0,562 |
| 63 |
6…10 |
1,237 |
0,360 |
| 100 |
6…10 |
0,799 |
0,226 |
| 160 |
6…10 |
0,487 |
0,141 |
| 250 |
6…10 |
0,312 |
0,090 |
| 400 |
6…10 |
0,195 |
0,056 |
| 630 |
6…10 |
0,129 |
0,042 |
| 1000 |
6…10 |
0,081 |
0,027 |
| 1600 |
6…10 |
0,034 |
0,017 |
В данном случае Zт
= 0,487 Ом.
1. Зная мощность Р электродвигателя рассчитываем номинальный ток электродвигателя Jн
эл.дв.
Р = √3 * Uн
* Jн
эл.дв
cos α /1000 [кВт]
Jн
эл.дв
= 1000*Р/√3 * Uн
cos α [А]
где Р – номинальная мощность двигателя, кВт; Uн
– номинальное напряжение, В; cos α = 0,92 – коэффициент мощности, показывающий, какая часть тока используется на получение активной мощности и какая на намагничивание;
Jн
эл.дв
= 1000*18,5/√3 *380*0,92 = 30,6А
2. Для расчета активных сопротивлений Rн
и Rф
необходимо предварительно выбрать сечение, длину и материал нулевого и фазного проводников. Сопротивление проводников из цветных металлов определяется по формуле:
R = ρ*ℓ / S
[Ом]
где ρ
– удельное сопротивление проводника (для меди ρ = 0,018; для алюминия ρ = 0,028 Ом*мм2
/м); ℓ -
длина проводника, м; S – сечение, мм2
. Сечение фазных проводников определяется по величине номинального тока электродвигателя плюс токовая нагрузка от других электродвигателей и осветительных приборов: в данном случае принимаем равной 70А. Тогда суммарная нагрузка составит 101А.
Задаемся алюминиевым проводником сечением 25 мм2
и длиной ℓ
= 150м для фазного и нулевого проводов. Сечение нулевого проводника и его материал выбирается из условия, чтобы его проводимость была бы равна проводимости фазного проводника, т.е. сечения нулевого и фазных проводников должны быть равны.
Активное сопротивление фазного и нулевого проводников из алюминия при ℓ
= 150м, S = 25мм2
составят:
Rф
= 0,028*150/25 = 0,17 Ом; Rн
= 0,028*150/25 = 0,17 Ом.
3. Для медных и алюминиевых проводников внутреннее индуктивное сопротивление фазного и нулевого проводников Xф
и Xо
невелико и составляет 0,0156 Ом/км, т.е. Xф
= 0,0156*0,15 = 0,0023 Ом; Xо
= 0,0156*0,15 = 0,0023 Ом. Величину внешнего индуктивного сопротивления петли «фаза-нуль» в практических расчетах принимают равной 0,6 Ом/км.
4. Находим основные технические характеристики электродвигателя 4А 106М2: N = 18,5; cos α = 0,92.
Jпуск
/Jном
= 7,5
5. Зная Jн
эл.дв
вычисляем пусковой ток электродвигателя.
Jпуск
Эл.дв
= 7,5* Jн
эл.дв
= 7,5*30,6 = 229,5А
Определяем номинальный ток плавкой вставки
Jн
пл.вст
= Jпуск
Эл.дв
/α = 229,5/2,5 = 91,8А
где α – коэффициент режима работы (α = 1,6…2,5); для двигателей с частыми включениями (например, для кранов) α = 1,6…1,8; для двигателей, приводящих в действие механизмы с редкими пусками (транспортеры, вентиляторы), α = 2…2,5. В нашем случае принимаем α=2,5.
6. Определяем ожидаемое значение тока короткого замыкания:
Jкз
>
3Jн
пл.вст
= 3*91,8 = 275,4А
Рассчитываем плотность тока δ в нулевом и фазном проводниках. Допускаемая плотность тока в алюминиевых проводниках не должна превышать 4-8А/мм2
.
δ = Jн
эл.дв
/S = 30,6/25 = 1,2 А/мм2
7. Определяем внешнее индуктивное сопротивление петли «фаза-нуль», зная, что Хи
= 0,6 Ом/км
Хи
= 0,6*0,15 = 0,09 Ом
8. Рассчитываем сопротивление петли «фаза-нуль» Zп
и ток короткого замыкания.
Zп
= √(Rф
+ Rн
)2
+ (Xф
+ Xо
+ Xи
)2
=
= √(0,17+0,17)2
+ (0,0023+0,0023+0,09)2
= 0,35 Ом
Jкз
= Uф
/(Zт
/3+Zп
) = 220/(0,487/3+0,35) = 429 А
Проверим обеспечено ли условие надёжного срабатывания защиты:
Jкз
>
3Jн
пл.вст
; 429 >
3*91,8 А; 429 > 275,4 А
Jкз
>
1,25Jн
авт
;
Как видим, Jкз
более чем в три раза превышает номинальный ток плавкой вставки предохранителя и, следовательно, при замыкании на корпус плавкая вставка перегорит за 5…7с и отключит повреждённую фазу.
По расчётному номинальному току плавкой вставки выбираем предохранитель стандартных параметров: ПН2 – 100; Jн
пл.вст
= 100А. Или выбираем автоматический выключатель по Jн
авт
= 1,25; Jн
эл.дв
= 1,25*30,6=39А. Выбираем из таблицы 6а автоматический выключатель модели А3712Ф; Jн
авт
=40 А.
4.3.Схема расположения светильников.
В связи с тем, что естественное освещение слабое, на рабочем месте должно применяться также искусственное освещение. Далее будет произведен расчет искусственного освещения.
Размещение светильников определяется следующими размерами:
Н
= 3 м. - высота помещения
hc
= 0,25 м. - расстояние светильников от перекрытия
hп = H - hc
= 3 - 0,25 = 2,75 м. - высота светильников над полом
hp
= высота расчетной поверхности = 0,7 м (для помещений, связанных с работой ПЭВМ)
h = hп - hp = 2,75 - 0,7 = 2,05 - расчетная высота светильника типа ЛДР (2х40 Вт). Длина 1,24 м, ширина 0,27 м, высота 0,10 м.
L
- расстояние между соседними светильниками (рядами люминесцентных светильников), Lа
(по длине помещения) = 1,76 м, Lв
(по ширине помещения) = 3 м.
l
- расстояние от крайних светильников или рядов светильников до стены, l
= 0,3 - 0,5L
.
lа = 0,5La, lв = 0,3Lв
la
= 0,88 м., lв
= 0,73 м.
Светильники с люминесцентными лампами в помещениях для работы рекомендуют устанавливать рядами.
Метод коэффициента использования светового потока предназначен для расчета общего равномерного освещения горизонтальных поверхностей при отсутствии крупных затемняющих предметов. Потребный поток ламп в каждом светильнике
Ф = Е
*
r
*
S
*
z / N
*
h
,
где Е
- заданная минимальная освещенность = 300 лк., т.к. разряд зрительных работ = 3
r
- коэффициент запаса = 1,3 (для помещений, связанных с работой ПЭВМ)
S
- освещаемая площадь = 30 м2
.
z
- характеризует неравномерное освещение, z = Еср / Еmin
- зависит от отношения l
= L/h ,
l
a = La/h = 0,6,
l
в = Lв/h = 1,5.
Т.к.l
превышают допустимых значений, то z=1,1
(для люминесцентных ламп).
N
- число светильников, намечаемое до расчета. Первоначально намечается число рядов n
, которое подставляется вместо N
. Тогда Ф
- поток ламп одного ряда.
N = Ф/Ф1
, где Ф1
- поток ламп в каждом светильнике.
h
- коэффициент использования. Для его нахождения выбирают индекс помещения i
и предположительно оцениваются коэффициенты отражения поверхностей помещения r
пот.
(потолка) = 70%, r
ст.
(стены) = 50%, r
р.
(пола) = 30%.
Ф = 300 * 1,3 * 25 * 1,1 / 2 * 0,3 = 21450 лм.
Я предлагаю установить два светильника в ряд. Светильники вмещаются в ряд, так как длина ряда около 4 м. Применяем светильники с лампами 2х40 Вт с общим потоком 5700 лм. Схема расположения светильников представлена на рисунке 1.1.
Рис.4.3 Схема расположения светильников
.
4.4. Пожарная безопасность
Оценка пожаровзрывоопасности различных объектов заключается в определении возможных разрушительных воздействий пожаров и взрывов на эти объекты, а также опасных факторов пожаров и взрывов на людей. Определение этих опасных воздействий на стадии проектирования объектов осуществляется на основе нормативных требований, разработанных в соответствующими государственными органами с учетом наиболее жестких (т.е. наиболее опасных) условий протекания и проявления пожаров и взрывов, т.е. с учетом аварийных ситуаций.
Существуют два подхода к нормированию в области обеспечения пожарной пожаровзрывоопасности – терминированный и вероятностный. Детерминированный подход основан на распределении объектов по степени опасности, определяемой по параметру, характеризующему разрушающие последствия пожара и взрыва на категории, классы и т.п. При этом назначаются конкретные количественные границы этих категорий, классов и т.п. Примерами действующих в нашей стране нормативных документов, носящих детерминированный характер, являются Нормы НПБ 105-5[3], Правила устройства электроустановок 11, Правила устройства электроустановок, Правила взрывобезопасности, строительные нормы и др.
Вероятностный подход основан на концепции допустимого риска и предусматривает недопущение воздействия на людей опасных факторов пожара и взрыва (ОФП) с вероятностью, превышающей нормативную. Нормативным документом, основанным на вероятностном подходе, является Государственный стандарт 7.
К достоинствам детерминированного подхода относятся относительная простота использования, достаточный для различных реальных ситуаций набор необходимых сведений. Недостатком этого подхода является то обстоятельство, что нередко его применение обусловливает затруднения по применению прогрессивных проектных решений и излишние затраты.
Вероятностный подход является более прогрессивным, поскольку дает возможность нахождения оптимального варианта проектного решения. Однако этот подход требует многочисленных дополнительных сведений (например, статистических данных о пожарах и взрывах для однотипных объектов), которые, как правило, отсутствуют.
В настоящее время основополагающим документом, устанавливающим степень пожаровзрывоопасности проектируемого объекта, являются Нормы НПБ 105-5. Этим документом предусматривается категорирование промышленных и складских помещений, зданий и сооружений по взрывопожарной и пожарной опасности в соответствии с таблицей.
Таблица 4.2
Категория
Помещения
|
Характеристика веществ и материалов,
находящихся в помещении
|
А
Взрывопожаро-опасная
|
Горючие газы, легковоспламеняющиеся жидкости с температурой вспышки не более 28°С в таком количестве, что могут образовывать парогазовоздушные смеси, при воспламенении которых развивается избыточное давление взрыва в помещении, превышающее 5Кпа. Вещества и материалы, способные взрываться и гореть при взаимодействии с водой, кислородом воздуха или друг с другом в таком количестве, что расчетное избыточное давление взрыва в помещении превышает 5 КПа. |
Б
Взрывопожаро-опасная
|
Горючие пыли или волокна, легковоспламеняющиеся жидкости с температурой вспышки более 28°С, горючие жидкости в таком количестве, что могут образовывать взрывоопасные пылевоздушные смеси, при воспламенении которых развивается избыточное давление взрыва в помещении, превышающее 5 КПа. |
В1-В4
Пожароопасные
|
Горючие и трудногорючие жидкости, твердые горючие и трудногорючие вещества и материалы (в том числе пыли и волокна), вещества и материалы, способные при взаимодействии с водой, кислородом воздуха или друг с другом только гореть, при условии, что помещения, в которых они имеются в наличии или обращаются, не относятся к категориям А или Б. |
|
Г
|
Негорючие вещества или материалы в горячем, раскаленном или расплавленном состоянии, процесс обработки которых сопровождается выделением лучистого тепла, искр и пламени; горючие газы, жидкости и твердые вещества, которые сжигаются или утилизируются в качестве топлива. |
| Д
|
Негорючие вещества и материалы в холодном состоянии. |
Под огнестойкостью понимают способность строительных конструкций сопротивляться воздействию высокой температуры в условиях пожара и выполнять при этом свои обычные эксплуатационные функции. Огнестойкость относится к числу основных характеристик конструкций и регламентируется Строительными нормами и правилами.
Время, по истечении которого конструкция теряет несущую или ограждающую способность, называют пределом огнестойкости и измеряют в часах от начала испытания конструкции на огнестойкость до наступления предельного состояния, при котором она утрачивает способность сохранять несущие или ограждающие функции. Потеря несущей способности определяется обрушением конструкции или возникновением предельных деформаций определяется потерей целостности или теплоизолирующей способности. Потеря целостности наступает вследствие образования в конструкциях сквозных трещин или отверстий, через которые на не обогреваемую поверхность проникают продукты горения или пламя. Это предельное состояние обозначается индексом Е. Потеря теплоизолирующей способности определяется повышением температуры на не обогреваемой поверхности конструкции в среднем более чем на 140°С или в любой точке этой поверхности более чем на 180°С в сравнении с температурой конструкции до испытания и обозначается индексом I.
Определение фактических пределов огнестойкости строительных конструкций в большинстве случаев осуществляют экспериментальным путем. Сущность метода испытания конструкций на огнестойкость сводится к тому, что образец конструкции, выполненный в натуральную величину, нагревают в специальной печи и одновременно подвергают воздействию нормативных нагрузок. При этом определяют время от начала испытания до появления одного из признаков, характеризующих наступление периода огнестойкости конструкции. Нагревание испытываемых образцов соответствует реальным условиям работы конструкции и возможному направлению воздействия огня в случае пожара. Испытаниям подвергаются не менее двух одинаковых образцов серийного изготовления или специально изготовленных. Перед испытанием образцы оборудуют приборами для измерения температур и деформаций.
Под огнестойкостью понимают способность строительных конструкций сопротивляться воздействию высокой температуры в условиях пожара и выполнять при этом свои обычные эксплуатационные функции. Огнестойкость относится к числу основных характеристик конструкций и регламентируется Строительными нормами и правилами.
Время, по истечении которого конструкция теряет несущую или ограждающую способность, называют пределом огнестойкости и измеряют в часах от начала испытания конструкции на огнестойкость до наступления предельного состояния, при котором она утрачивает способность сохранять несущие или ограждающие функции. Потеря несущей способности определяется обрушением конструкции или возникновением предельных деформаций определяется потерей целостности или теплоизолирующей способности. Потеря целостности наступает вследствие образования в конструкциях сквозных трещин или отверстий, через которые на не обогреваемую поверхность проникают продукты горения или пламя. Это предельное состояние обозначается индексом Е. Потеря теплоизолирующей способности определяется повышением температуры на не обогреваемой поверхности конструкции в среднем более чем на 140°С или в любой точке этой поверхности более чем на 180°С в сравнении с температурой конструкции до испытания и обозначается индексом I.
Определение фактических пределов огнестойкости строительных конструкций в большинстве случаев осуществляют экспериментальным путем. Сущность метода испытания конструкций на огнестойкость сводится к тому, что образец конструкции, выполненный в натуральную величину, нагревают в специальной печи и одновременно подвергают воздействию нормативных нагрузок. При этом определяют время от начала испытания до появления одного из признаков, характеризующих наступление периода огнестойкости конструкции. Нагревание испытываемых образцов соответствует реальным условиям работы конструкции и возможному направлению воздействия огня в случае пожара. Испытаниям подвергаются не менее двух одинаковых образцов серийного изготовления или специально изготовленных. Перед испытанием образцы оборудуют приборами для измерения температур и деформаций.
Передвижение людей происходит во всех помещениях зданий и сооружений, связанных с пребыванием в них человека. Для обеспечения передвижения людей в зданиях предусматриваются коммуникационные помещения и другие специальные устройства: проходы между оборудованием, входы и выходы, коридоры, лестницы, вестибюли, фойе, кулуары и т.д. Коммуникационные помещения в зданиях занимают значительную площадь, составляющую в ряде случаев 30% и более рабочей площади здания. Для большей группы зданий и сооружений движение людей является основным функциональным процессом и от его правильной организации зависит рациональное объемно-планировочное решение зданий.
Особое значение приобретает движение людей во время возникновения пожара в здании, аварии или какого-либо стихийного бедствия.
В этом случае от правильной организации движения и состояния коммуникационных помещений зависит жизнь людей. Поскольку возникновение пожара возможно в любом помещении, то учет аварийной эвакуации людей обязателен для любого помещения и в целом здания или сооружения.
Таким образом, создание оптимальных условий для существования функциональных процессов, соответствующих назначению здания или помещения, требует учета движения людей как в условиях нормальной эксплуатации здания, так и при его аварийной эвакуации.
Эвакуация людей из здания в случае пожара представляет собой процесс упорядоченного самостоятельного движения людей из помещений, в которых возможно воздействие опасных факторов пожара.
К путям осуществляемой в нормальных эксплуатационных условиях эвакуации людей из зданий и сооружений относятся коммуникационные помещения и устройства, ведущие от мест постоянного пребывания людей к выходам из здания или сооружения. К путям осуществляемой в аварийных условиях эвакуации людей из зданий и сооружений относятся помещения, ведущие:
- от мест постоянного пребывания людей, расположенных в первых этажах; непосредственно наружу или к выходу через проходы, коридоры, вестибюль или лестничную клетку;
- от мест постоянного пребывания людей, расположенных на любом этаже, кроме первого, к выходу через проходы, коридоры, лестничную клетку, имеющую выход непосредственно наружу или через вестибюль, отделенный от смежных помещений перегородками с дверьми;
- от мест постоянного пребывания людей на данном этаже в соседние помещения, обеспеченные входами, указанными в предыдущих пунктах, если помещения не связан с производствами категорий А и Б.
Защита людей на путях эвакуации обеспечивается объемно-планировочными, конструктивными, инженерно-техническими и организационными мероприятиями, направленными на сокращение времени от возникновения до выхода людей наружу и на увеличение времени от возникновения пожара до появления на путях эвакуации опасных факторов пожара. Безопасность путей эвакуации должна обеспечиваться исходя из функциональной пожарной опасности помещений, имеющих выходы на эвакуационный путь, количества эвакуируемых и класса конструктивной пожарной опасности здания. Не допускается размещать помещения класса Ф 5 категорий А и Б под помещениями, предназначенными для одновременного пребывания свыше 50 человек, а также в подвальных этажах.
Нормы (СНиП 21-01) предусматривают возможность оценки эффективности мероприятий по обеспечению безопасной эвакуации людей при пожаре расчетным путем. Нормы предъявляют определенные требования к выходам из помещений, которые можно считать эвакуационными. Такие выходы должны вести:
а) из помещений первого этажа непосредственно наружу или через коридор, вестибюль, коридор и вестибюль, коридор и лестничную клетку;
б) из помещений любого этажа, кроме первого, в коридор ведущий в лестничную клетку; в холл или фойе, имеющие выход в лестничную клетку;
в) в соседние помещения (кроме помещений класса Ф 5 категорий А и Б) на том же этаже, обеспеченные эвакуационными выходами. Выход в помещении категорий А и Б допускается считать эвакуационным, если он ведет из технического помещения без постоянных рабочих мест, предназначенного для обслуживания вышеуказанного помещения категории А и Б.
Выходы из подвальных помещений и цокольных этажей являющиеся эвакуационными, как правило, следует предусматривать непосредственно наружу обособленными от общих лестничных клеток здания. Однако нормы допускают возможность устраивать эвакуационные выходы из подвалов через общие лестничные клетки с обособленным выходом наружу, отдельным от остальной части лестничной клетки глухой противопожарной перегородкой 1-го типа. Возможно также предусматривать выходы из фойе, гардеробных, курительных и туалетов, размещенных в подвалах или цокольных этажах зданий классов Ф 2, Ф 3 и Ф 4, на первый этаж по отдельным лестницам 2-го типа.
Эвакуационным нельзя считать выходы, если они оборудованы вращающими, раздвижными или подъемными-опускаемыми дверьми, воротами для въезда железнодорожных составов, а также турникетами.
Из кладовок площадью до 200 м2
, а также бытовых помещений площадью до 10 м2
допускаются выходы, не отвечающие требованиям, предъявляемым к эксплуатационным.
Для обеспечения безопасной эвакуации людей в случае пожара нормы устанавливают количество эвакуационных выходов и их ширину в зависимости от количества людей и функциональной пожарной опасности помещений.
Не менее двух эвакуационных выходов должны иметь: помещения класса Ф1.1, предназначенные для пребывания более 10 человек; помещения класса ф5 категорий Аи Б с численностью работающих более 5 человек и категории В -–более 25 человек; остальные помещения, предназначенные для одновременного пребывания более 50 человек.
При двух и более эвакуационных выходах их следует располагать рассредоточено. При двух выходах каждый из них должен обеспечить эвакуацию всех людей, находящихся в помещении или на этаже, а при трех и более выходах в расчет принимаются все выходы, кроме одного, имеющего наибольшую пропускную способность.
Высота эвакуационных выходов должна быть не менее 1,9 м, а ширина определяется классом помещения и количеством людей. Из помещений класса Ф1.1 при числе эвакуирующихся более 15 человек и из помещений других классов, за исключением Ф1.3, при количестве людей более 50 человек ширина эвакуационного выхода должна быть не менее 1,2 м, из помещений с одним рабочим местом – 0,7 м, во всех остальных случаях – 0,8 м. Во всех случаях эвакуационного выхода должна обеспечить возможность беспрепятственно пронести носилки с лежащим на них человеком.
Двери эвакуационных выходов и другие на путях эвакуации должны открываться по направлению выхода. Двери эвакуационных выходов из поэтажных коридоров, холлов, фойе, вестибюлей и лестничных клеток не должны иметь запоров, препятствующих их свободному открыванию изнутри без ключа. Двери лестничных клеток, ведущие в общие коридоры, а также лифтовых холлов и тамбуров-шлюзов следует оборудовать приспособлениями для самозакрывания и уплотнения в притворах. В зданиях высотой более 15 м эти двери выполняются глухими с армированным остекленением.
Для повышения безопасности людей при пожаре могут предусматриваться аварийные выходы, которые не учитываются при эвакуации. К таким выходам можно отнести все выходы не отвечающие требованиям предъявляемым к эвакуационным, а также:
- выход на открытый балкон или лоджию с простенками не менее 1,2 м;
- выход на открытый проход шириной не менее 0,6 м, ведущий в смежную секцию или в смежный пожарный отсек через воздушную зону;
- выход на балкон или лоджию, соединяющиеся поэтажно наружными лестницами;
- выход на кровлю зданий I и II степеней огнестойкости классов СО и С1 через окно, дверь или люк 0,6*0,8 м;
- дверь шахты лифта, имеющего режим перевозки пожарных подразделений.
В зданиях всех степеней огенстойкости и классов конструктивной пожарной опасности, кроме класса С3, не допускается выполнять отделку стен и потолков в общих коридорах, лестничных клетках, вестибюлях, холлах и фойе, а также выполнять полы в вестибюлях, лестничных клетках и лифтовых холлах из материалов группы горючести Г3 и Г4, воспламеняемости В3 и дымообразующей способности Д3. Каркасы подвесных потолков в помещениях и на путях эвакуации следует выполнять из негорючих материалов.
В общих коридорах не допускается размещать оборудование, выступающее из плоскости стены на высоте менее 2м, трубопроводы с горючими жидкостями и газами, а также встроенные шкафы, кроме шкафов для коммуникаций и пожарных кранов.
Высота путей эвакуации должна быть не менее 2 м, а ширина коридоров из помещений класса Ф1, вмещающих более 15 человек, и из помещений других классов – более 50 человек – 1,2 м, а во всех остальных случаях – 1,0 м.
Ширина марша лестниц, предназначенных для эвакуации людей, должна быть не менее расчетной или установленной нормами ширины любого эвакуационного выхода на нее и не менее от 0,7 до 1,35 м.
Под пожаротушением подразумевается комплекс мероприятий, направленных на ликвидацию возникшего пожара. Поскольку для возникновения и развития процесса горения, обусловливающего явления пожара, необходимо одновременное сочетание горючего вещества, окислителя и непрерывного потока тепла от очага пожара к горючему материалу, то для прекращения горения достаточно исключить какой-либо из этих элементов.
Таким образом, прекращения горения можно добиться снижением содержания горючего компонента, уменьшением концентрации окислителя, увеличением энергии активации реакции и, наконец, снижением температуры процесса. В соответствии с изложенным существуют следующие способы пожаротушения:
- охлаждение очага горения или горящего материала ниже определенных температур;
- изоляция очага горения от воздуха или снижение концентрации кислорода в воздухе путем разбавления негорючими газами;
- торможение (ингибирование) скорости реакции окисления;
- механический срыв пламени сильной струей газа или воды;
- создание условий огнепреграждения, при которых пламя распространяется через узкие каналы, сечение которых ниже тушащего диаметра.
Для достижения этих эффектов применяют различные огнетушащие вещества и составы (называемые в дальнейшем средствами тушения). В настоящее время в качестве средств тушения используют:
- воду, которая может подаваться в очаг пожара сплошными или распыленными струями;
- пены (воздушно-механическая различной кратности и химическая), представляющие собой коллоидные системы, состоящие из пузырьков воздухов (в случае воздушно-механической пены) или диоксида углерода (в случае химической пены), окруженных пленками воды;
- инертные газовые разбавители (диоксид углерода, азот, аргон, водяной пар, дымовые газы);
- гомогенные ингибиторы – низкокипящие галогеноуглеводороды (хладоны);
- гетерогенные ингибиторы – огнетушащие порошки;
- комбинированные составы.
В зависимости от физико-химических свойств горючих материалов и возможности их тушения различными средствами пожары квалифицируют следующим образом:
Таблица 4.3
Класс
пожара
|
Характеристика горючей среды
или горящего объекта
|
Рекомендуемые
средства тушения
|
| А
|
Обычные твердые материалы (дерево, уголь, бумага, резина, текстиль и др.) |
Все виды средств (прежде всего вода) |
| В
|
ЛВЖ, ГЖ, плавящиеся при нагреве материалы (стеарин, каучук и др.) |
Распыленная вода, пена, порошки, АОС |
| С
|
Горючие (в том числе сжиженные) газы |
Газовые составы, порошки, вода (для охлаждения оборудования), АОС |
| Д
|
Металлы и их сплавы, металлосодержащие соединения |
Специальные порошки |
| Е
|
Электроустановки под напряжением |
АОС, порошки, диоксид углерода |
Средства пожаротушения, как правило, маркируются с учетом классов пожаров, для тушения которых они предназначены.
Поскольку основным средством тушения является вода, важное значение имеет проектирование и сооружение систем водоснабжения. Системой водоснабжения называют комплекс инженерно-технических сооружений, предназначенных для забора воды из природных источников, подъема ее на высоту, очистки (в случае необходимости), хранения запасов воды и подачи ее к местам потребления.
По назначению системы водоснабжения подразделяют на хозяйственно-питьевые, предназначенные для подачи воды на хозяйственные нужды населения; производственные, снабжающие водой технологические процессы производства; противопожарные, обеспечивающие подачи воды для тушения пожаров. Часто устраивают объединенные системы водоснабжения: хозяйственно-пожарные, производственно-пожарные.
Противопожарное водоснабжение заключается в обеспечении защищаемых регионов, объектов и т.д. необходимыми расходами воды под требуемым напором в течение нормативного времени тушения пожара при обеспечении достаточной надежности работы всего комплекса водопроводных сооружений. Противопожарное водоснабжение подразделяют на системы наружного (снаружи зданий) и внутреннего (внутри зданий) пожаротушения. Противопожарный водопровод является одним из наиболее важных элементов системы противопожарного водоснабжения.
Как правило, сеть противопожарного водопровода делают кольцевой, обеспечивающей две линии подачи воды и тем самым высокую надежность водообеспечения. Причем для каждой кольцевой сети делают два ввода (места присоединения к предыдущей сети). Тупиковые сети, т.е. разветвленная сеть, в которой от каждого узла сети до точки подачи воды имеется только один путь.
Необходимость устройства внутреннего водопровода в зданиях и помещениях определяется их назначением, этажностью, высотой, объемом. В частности в жилых зданиях устройство внутреннего противопожарного водопровода должно предусматриваться при числе этажей 12 и выше, в общежитиях – свыше 10 этажей и т.д.
В качестве первичных средств пожаротушения используют различные огнетушители, которые могут быть ручными, передвижными (установленными на колеса и перемещаемые вручную), стационарными (оборудованными гибкими шлангами и ручными стволами). Огнетушители маркируют знаками обозначающими состав заряда огнетушителя и его емкость (например, 10-литровый порошковый огнетушитель – ОП-10).В настоящее время выпускают следующие огнетушители:
- порошковые с зарядами ПСБ-3, П-2АП, «Пирант А», ПФ: ручные ОП-1 «Момент 2», ОП-2Б, ОП-5, ОП-8Б, ОП-10А, ОП-10 «Прогресс», ОП-10 (закачной), ОП-50 (закачной); передвижные ОП-50; стационарные ОП-250;
- пенные: ручные ОХП-10 (химпенные), ОХВП-10 (химпенные и с зарядом воздушно-механической пены), ОВП-10 (воздушно-механическая пена), ОВП-5; передвижные ОВП-10; стационарные ОВП-250;
- углекислотные с зарядом диоксида углерода: ручные ОУ-2, ОУ-5; передвижные ОУ-25, ОУ-80, ОУ-400.
Пожарная сигнализация предназначена для обнаружения начальной стадии пожара, передачи извещения о месте и времени его возникновения и при необходимости включения автоматических систем пожаротушения и дымоудаления. Система пожарной сигнализации состоит из пожарных извещателей, включенных в сигнальную линию (шлейф), преобразующих появление пожара (тепло, свет, дым) в электрический сигнал, приемно-контрольной станции, передающей сигнал и включающей световую и звуковую сигнализацию, а также автоматические установки пожаротушения и дымоудаления.
Важнейшим элементом систем сигнализации являются датчики – пожарные извещатели, которые в зависимости от проявлений процесса горения могут быть тепловыми, световыми и дымовыми. Наиболее распространенные тепловые извещатели по принципу действия разделяются на максимальные, дифференциальные т максимально-дифференциальные. Первые срабатывают при достижении определенной температуры, вторые – при определенной скорости нарастания температуры, третьи – от любого превалирующего изменения температуры. По конструктивному исполнению тепловые извещатели бывают пассивные, в которых под воздействием температуры чувствительный элемент меняет свои свойства (ДТЛ, ИП-104-1 – максимального действия, основанные на размыкании пружинящих контактов, соединенных легкоплавким припоем: МДПТ-028 – максимально-дифференциальный на биметаллическом эффекте, приводящем к деформации пластин, размыкающих контакты; ИП-105-2/1 – на принципе изменения магнитной индукции под действием тепла; ДПС-38-дифференциальный на применении термопарной термобатареи).
Дымовые извещатели бывают двух типов: точечные, сигнализирующие о появлении дыма в месте их установки, и линейно-объемные, работающие на принципе затенения светового луча между приемником и излучателем (ИДФ-М объемный, основан на изменении светового потока частицами дыма в дымовой камере. ИП212-2 – точечный, основан на фотоэлектрическом эффекте: ДИП-1 – комбинированный, реагирующий на дым и тепло в результате изменения проводимости полупроводниковых диодов с повышением температуры; РИД-1 и РИД-6 – радиационные, основанные на различной ионизации воздуха при наличии дыма и продуктов сгорания источников излучения – плутония 239; ДОП, ИОП и КВАРТ – объемные, основаны на затенении инфракрасного луча продуктами горения).
Световой извещатель ДПИД работает на принципе регистрации инфракрасного излучения пламени. Наиболее важной характеристикой извещателей является их инерционность. Наименьшей инерционностью обладает световой извещатель, наибольшей – тепловой. Однако, тепловые извещатели очень просты и дешевы по сравнению со световыми и дымовыми.
Заключение
Теория управления запасами разрабатывает методы вычисления величины запасов, обеспечивающей наиболее экономным путем удовлетворение будущего (не всегда определенного) спроса.
Анализ моделей управления запасами сводится к установлению последовательности процедур снабжения и пополнения запасов, при которой обеспечиваются минимальные суммарные затраты, связанные с заготовками, хранением продукта и убытками из-за неудовлетворенного спроса.
Чрезмерно большой запас связан с омертвлением капиталов, требует значительных затрат на хранение и уход за ним. С другой стороны, недостаточный запас вызывает перебои в работе производства, нарушает взаимодействие с другими предприятиями и грозит различными экономическими санкциями.
Целесообразный уровень запасов зависит от большого числа условий, связанных как с самим производством, так и с внешними по отношению к нему факторами.
К внутренним условиям относятся, например, интенсивность использования запасов в зависимости от характера выполняемого заказа, возможности хранения и затраты на содержание запасов в течение того или иного промежутка времени.
Внешние факторы, влияющие на выбор уровня запасов, определяются колебаниями спроса на продукцию предприятия, возможностями поставщиков, оперативностью выполнения заказов, затратами на перевозку. Сильным стимулом к созданию излишних запасов служит их дефицит. При этом отмечается, что в ресурсоограниченной экономике в рамках всех нормальных запасов доля запасов полуфабрикатов и материалов относительно больше доли нормальных запасов готовой продукции, а в спросоограниченной экономике – наоборот.
Некоторые из перечисленных факторов можно заранее учесть, другие являются случайными, статистические закономерности которых подлежат определению.
Определение целесообразного уровня запаса чаще всего сводится к выбору рациональных моментов заказа (когда?) и рациональных объемов пополнений (сколько, в каком количестве?). В этом случае рассматриваются две альтернативы: либо заказы производятся часто и малыми партиями; либо редко и в большом объеме.
Иногда дополнительное количество материалов заказывается после определения потребности на основе уже заключенного договора. Недостатком этого простейшего метода является то, что период от момента оформления заказа и до получения материалов может быть весьма значительным. Поэтому подобный метод оформления заказа предпочтителен для дорогих деталей и деталей с весьма колеблющейся потребностью.
В структуре оборотных средств товарно-материальные и сбытовые запасы занимают значительный удельный вес. Поэтому сокращение товарно-материальных запасов до оптимальных размеров будет способствовать повышению рентабельности, поскольку чем большей суммой оборотных средств располагает предприятие при данном размере прибыли, тем меньше рентабельность.
Ускорение оборачиваемости оборотных средств является центральной экономической проблемой материально-технического снабжения. Ее решение позволит не только увеличить материальные ресурсы для полного удовлетворения предприятий, но и улучшить экономические показатели их работы.
Одной из важнейших задач материально-технического снабжения является своевременность обеспечения предприятий и организаций необходимыми им материальными ресурсами. При этом под своевременностью подразумевается поставка всех разновидностей материальных ресурсов непосредственно к местам потребления в установленные сроки и необходимого качества.
Нормирование оборотных средств на предприятии и контроль за установленными нормативами — одно из важнейших слагаемых управления предприятием в целом. Особенно актуальна эта проблема для средних и крупных предприятий.
Анализ методов определения текущей составляющей производственного запаса и страховой составляющей производственного запаса показывает отсутствие единства в методических подходах к расчету норм производственного запаса. Так, например, Б. Федорчук в определении текущей составляющей предлагал дополнительно взвешивать интервалы по соответствующим объемам поставок, что позволяет учесть неравномерность поставок по объемам. Н. Фасоляк рекомендует, кроме того, дополнительно учитывать в текущей составляющей отклонения вариаций нормообразующих факторов от их средних значений.
Еще большие методические разногласия наблюдаются в рекомендациях по способам расчета страховой составляющей. В методике Е. А. Мельниковой рекомендуется рассчитывать составляющую из предположения детерминированного процесса, в других методиках – из предположения, что процесс формирования носит стохастический характер. У авторов нет согласия и в том, какие интервалы между поставками следует учитывать и как. Например, К. Инютина рекомендует принимать все отклонения, как положительные, так и отрицательные, а Н. Фасоляк - только положительные, т.е. значения интервалов, которые превышают среднее значение. Во всех работах, кроме двух - методик Н. Фасоляк и Е. А. Мельниковой – не учитывается влияние на величину страховой составляющей вариации суточных объемов отпусков нормируемого материала на предприятии, которое в общем случае может быть достаточно большим и оказывать сильное воздействие. При этом в методиках, кроме трех формул Н. Фасоляк, Е. А. Мельниковой и А. П. Вожжова, вообще не учитывается влияние вариаций интервалов между отпусками товарно-материальных ценностей на предприятии. В большинстве методик по нормированию запасов не предусмотрен следующий принципиальный вопрос: что является источником образования текущего и страхового запасов на предприятии в интервалах между поставками? Как результат, и сами учитываемые нормообразующие факторы в различных методиках также разнятся. Все это не позволяет сформулировать научно-обоснованные подходы к расчету норм.
Литература
1. Антикризисное управление: от банкротства к финансовому оздоровлению /Под ред. Г.П.Иванова. - М.: Закон и право, ЮНИТИ, 2000.
2. Гордон М.П., Логистика товародвижения. - М.: Центр экономики и маркетинга. 2002. - 168с.
3. Грузинов В.П., Экономика предприятия:Учебник для вузов/ Под ред. Проф. В.П.Грузинова.-М.:банки и биржи, ЮНИТИ, 1999.-535с.
4. Евдокимов Д.К., Нормирование материальных ресурсов.-Словарь.-М.:1988.
5. Зайцев Н.Л.,Экономика промышленного предприятия:Учебник; 2-е изд., перераб. и доп.-М.:ИНФРА-М,2002.-336с.
6. Макконнелл К.Р., Брю С.Л. Экономика: принципы, проблема и политика: Пер. с англ. Т. 1, 2. - М.: Республика, 1992.
7. Мельник М.М.,Экономико-математические методы и модели в планировании и управлении материально-техническим снабжением./Уч. Для ВУЗов.- М.:Высшая школа,2001.-208с.
8. Обеспечение материальными ресурсами и коммерческая деятельность предприятий; Учеб. пособие/ под ред. Висюлина Л. – Минск,1991.-204с.
9. Смирнов П.В., Организация и планирование материально-технического снабжения: Экономика М.: 1986. - 202с.
10. Степанова З.И., Анализ хозяйственно-финансовой деятельности в органах материально технического снабжения / Учеб. пособие, Минск. 1976.-206с.
11. Фасоляк Н.Д.,Смирнов, Организация и планирование снабжения и сбыта в народном хозяйстве. - М.; Экономика. 1983. - 279с.
12. Фишер С., Дорибуш Р., Экономика: - М.: «Дело ЛТД», 1993. 864 с.
13. Хачиев Г.А., Материальносберегающая система снабжения промышленности/Ташкент, 1989.-109с.
14. Шомштейн А.А., Материально-техническое снабжение на предприятиях и в производственных объединениях - Рига. - 1987.
15. Экономика и бизнес / Под ред. В.В.Кашаева. - М.: МГТУ им.Баумана, 1993
16. Экономика материально-технического снабжения/ под ред. Н.Д.Фасоляк, 1978.-319с.
17. Экономика предприятия (фирмы):Учебник/ Под ред.проф. О.И.Волкова и доц.О.В.Девяткина.-3-е изд., перераб. и доп.-М.:ИНФРА-М,2003.-601с.
18. Экономика предприятия: Учебник/ под ред. Проф. Н.А.Сафронова.-М.: «Юристъ», 2002.-584с.
19. Экономика, организация и планирование материально-технического снабжения и сбыта.-Экономика, 1980 -367с.
20. Экономика: Учебник /Под ред. А.С.Булатова. - М.: БЕК, 2000.-302с.
21. Ященко Р.А.,Научная организация труда в управлении материально- технического снабжения.:Уч пос.-М.:1977.-128с.
22. Качанов О., Мешалкин В.,Увеличение оборотных средств//Экономика и жизнь, 2000 №4 с.10.
23. Келлерман Б.Г.,Осипович, Организация и нормирование оборотных чредств// Финансы СССР.-1989, №3 с.19-25.
24. Лисициан Н., Оборотные средства, процесс обращения стоимости капитала, неплатежи.//Вопросы экономики №9,1997, с.44-54.
25. Старков Р.Ф., Оборотные средства: как измерить эффективность их использования?// Экономика и организация промышленного производства.-1989, №2 с.69-77.
26. Стоянова Е.С., Анализ потребности (предприятия) в оборотных средствах//Бух. Учет.-2000 №3 с.15-17.
|