| 12. Система газотурбинного наддува
12.1 Основные сведения о системе газотурбинного наддува
Одним из перспективных способов форсирования ДВС является применение наддува. Увеличение количества воздуха, поданного в цилиндры двигателя, то есть их массового наполнения, даёт возможность подавать большее количество топлива, тем самым, повышая эффективную мощность двигателя. Практически это осуществляется посредством повышения плотности воздушного заряда поступающего в цилиндры, то есть посредством наддува
Наибольшее распространение получили системы газотурбинного наддува или т.н. комбинированные двигатели со свободным турбокомпрессором (с газовой связью). В качестве нагнетателей как правило, применяют центробежные компрессоры. Их привода используются центростремительные, реже осевые турбины. Основными достоинствами системы газотурбинного наддува являются:
1. Отсутствие потерь эффективной мощности на привод компрессора.
2. Использование энергии отработавших газов.
Однако у неё есть ряд недостатков, основными из которых являются два.
1. На долевых нагрузках ввиду малой энергии отработавших газов мощность турбины резко падает, из-за чего снижается давление наддува. В некоторых случаях оно становится меньше давления газов в выпускном коллекторе, что приводит к ухудшению качества продувки и газообмена в целом. В ДВС с механической связью недостаток мощности турбины компенсируется мощностью, отбираемой от поршневого двигателя.
2. Более низкие пусковые качества и приемистость. Это вызвано тем, что в периоды пуска и приема нагрузки двигателя вал турбокомпрессора из-за инерции раскручивается медленно, а значит, медленно повышается и давление.
Устранение данного недостатка, связанного с пониженной приёмистостью, предлагается выполнить путём установки двух турбокомпрессоров с роторами меньшей массы и габаритов, а, следовательно, обладающих меньшим моментом инерции, обслуживающих каждый из рядов отдельно, взамен одного общего обслуживающего все цилиндры. При этом время разгона ротора турбокомпрессора значительно сокращается.
Турбокомпрессора устанавливаются на торцах блоков цилиндров с помощью кронштейнов. Нагнетаемый компрессорами воздух направляется в общий охладитель наддувочного воздуха (ОНВ) типа «вода – воздух». Хладагентом служит вода системы охлаждения. После ОНВ воздух направляется в цилиндры двигателя. Охлаждение наддувочного воздуха снижает теплонапряжённость деталей двигателя, увеличивает массовое наполнение цилиндра свежим зарядом, а следовательно улучшает процесс сгорания.
Частота вращения турбокомпрессора комбинированного двигателя находится в пределах от 10000 до 130000 мин-1
(это значит, что лопатки турбины на периферии имеют линейную скорость близкую к скорости звука).
Основным элементом турбокомпрессора является ротор, состоящий из рабочих колес турбины и компрессора, объединенных жесткой осью.
После воздушного фильтра воздух попадает во входное устройство, выполненное в виде сужающегося канала и служащее для предотвращения срыва воздушного потока на входе в рабочее колесо. Вращающийся направляющий аппарат (ВНА), представляющий собой отогнутую переднюю часть лопаток рабочего колеса. ВНА служит для изменения направления воздушного потока на входе в рабочее колесо и уменьшения таким образом аэродинамических потерь.
В рабочем колесе воздуху сообщается кинетическая и потенциальная (в виде давления) энергия. При его вращении под действием центробежных сил воздух по каналам, образованным лопатками, перемещается к периферии колеса. Каналы спрофилированы т.о. что абсолютная скорость потока возрастает, а относительная остаётся практически неизменной.
Кинетическая энергия на выходе колеса составляет обычно около половины общей энергии потока, поэтому для превращения ее в энергию давления за рабочим колесом устанавливают безлопаточный диффузор, представляющий собой кольцевую щель увеличивающегося сечения. При движении воздуха в нём вследствие непрерывного увеличения площади проходного сечения скорость потока падает, а давление возрастает.
За безлопаточным щелевым диффузором возможна установка лопаточного диффузора, который представляет собой набор неподвижных лопаток в которых происходит дальнейшее торможение потока и его подкручивание с целью сокращения пути в воздухозборной улитке и уменьшения тем самым аэродинамических потерь на трение
Отработавшие газы из выпускного коллектора двигателя попадают в газосборную улитку турбины. Проходя по постепенно сужающемуся внутреннему каналу, они ускоряются. После газосборной улитки отработавшие газы попадают в сопловой аппарат, где скорость их также увеличивается, кроме того, происходит их подкручивание в направлении вращения рабочего колеса.В рабочем колесе турбины кинетическая энергия газового потока преобразуется в механическую работу на валу турбины.
12.2 Расчет энергетического баланса поршневой части компрессора и турбины агрегата наддува
Производится расчет турбокомпрессора обслуживающего блок объединяющий 4 цилиндра, 4-х тактного 8 цилиндрового дизельного двигателя. Эффективная мощность Nе
=254 кВт, частота вращения коленчатого вала n = 2000 об/мин, ход поршня S = 125 мм, диаметр цилиндра D = 115 мм.
Исходные данные для расчёта турбокомпрессора принимаются:
– удельный эффективный расход топлива ge
=203 г/(кВт×ч);
– эффективный КПД hе
=0,42
– давление наддува pk
=0,2 МПа;
– температура отработавших газов Тr
=810 К;
– температура окружающего воздуха Т0
=293 К;
– давление окружающего воздуха p0
=0,101МПа;
– низшая теплота сгорания QH
=42,44 МДж/кг;
– коэффициент избытка воздуха a=1,6;
– количество воздушной смеси М1
=0,948 кмоль/кг;
Определяем требуемый расход воздуха через компрессор
gе
×Nе
×M1
×mв
Gв
= ¾¾¾¾¾¾ , кг/с (12.1)
3600×k
где Ne
– эффективная мощность двигателя, кВт;
mв
- относительная молекулярная масса воздуха, кг/кмоль.
М1
– количество воздушного заряда, кмоль/кг;
gе
– удельный эффективный расход топлива, г/кг×К;
k – число турбокомпрессоров на двигателе.
Принимаем: mв
=28,97 кг/кмоль, k=2
0,203×254×0,948×28,97
Gв
= ¾¾¾¾¾¾¾¾ = 0,196 кг/с
3600×2
Работа адиабатного сжатия в компрессоре
k
lад
.
к
.
= ¾¾ ×Rв×To×(p(k-1)/k
-1), Дж/кг (12.2)
k-1
где p - степень повышения давления;
k - показатель адиабаты для воздуха;
Rв
- газовая постоянная воздуха, Дж/(кг×К);
To
- температура окружающей среды, К.
p=Pк
/Po
(12.3)
где Po
- давление окружающей среды.
Принимаем Po
=0,101 МПа.
p=0,2/0,101=1,98
Принимаем k=1,4; Rв
=287 Дж/(кг×К); Тo
=293 К.
1,4
lад.к.
= ¾¾ ×287×293×(1,98(1,4-1)/1,4
-1)=63441 Дж/кг
1,4-1
Действительная удельная работа сжатия воздуха в компрессоре
lад.к.
lд.к.
= ¾¾¾ , Дж/кг (12.4)
hад.к.
где hад.к.
– адиабатный КПД компрессора.
Принимаем hад.к.
=0,70.
63441
lд.к.
= ¾¾¾–– =90630 Дж/кг
0,7
Мощность необходимая на привод компрессора
Nк
=Gв
×lд.к.
×10-3
, кВт (12.5)
Nк
=0,196×90630×10-3
=17,75 кВт
Мощность необходимая на турбины
Nк
Nт
= ¾¾ , кВт (12.6)
hмех
где hмех
– механический КПД турбокомпрессора.
Принимаем hмех
=0,97.
17,75
Nт
= ¾¾¾ =18,49 кВт
0,96
Расход отработавших газов через турбину
gе
×Nе
Gт
= ¾¾¾ ×(1+M1
×mг
), кг/с (12.7)
3600
где mг
– относительная молекулярная масса отработавших газов, кг/кмоль.
Принимаем mг
=28,97 кг/кмоль.
0,203×127
Gт
= ¾¾¾¾¾ ×(1+0,948×28,97)=0,203 кг/с
3600
Удельная работа адиабатного расширения отработавших газов в турбине
lад.к.
Gв
lад.т.
= ¾¾ × ¾¾ , Дж/кг (12.8)
hад.т.
Gт
где hад.т.
– адиабатный КПД турбины.
Принимаем hад.т.
=0,74.
90630 0,196
lад.т.
= ¾¾¾ × ¾¾¾ =118200 Дж/кг
0,74 0,203
12.3 Газодинамический расчет и профилирование одноступенчатого центробежного компрессора
Основные параметры ступени и параметры на входе в компрессор
Полное давление на входе в компрессор в сечении А-А
Pа
*
=Po
-DPвф
, МПа (12.9)
где DPвф
– потери давления в воздушном фильтре, МПа.
Принимаем DPвф
=0,004 МПа.
Pа
*
=0,101-0,004=0,0097 МПа
Статическое давление на выходе из компрессора
Pk
’
=Pk
+DPk
, МПа (12.10)
где DPк
– потери давления во впускном коллекторе, МПа.
Принимаем DPк
=0,003 МПа.
Pk
’
=0,2+0,003=0,203 МПа
Ориентировочная окружная скорость, обеспечивающая требуемое повышение давления в компрессоре
U2ор
=(Pk
’
+0,1)×103
, м/с (12.11)
U2ор
=(0,203+0,1)×103
=303 м/с
Принимаем U2ор
=310 м/с
Скорость воздушного потока на входе в компрессор (А-А)
Cа
=(0,15…0,30)×U2ор
, м/с (12.12)
Cа
=0,2×310=60 м/с
Плотность воздуха в сечении А-А
Pа
*
×106
rа
= ¾¾¾ , кг/м3
(12.13)
Rв
×Tа
*
где Rв
– газовая постоянная воздуха, Дж/(кг×К);
Тa
*
– температура заторможенного потока, К.
Принимаем Тa
*
=Тo
=293 К.
0,097×106
rа
= ¾¾¾¾ =1,165 кг/м3
287×293
Объемный расход воздуха через компрессор
Gв
Vа
= ¾¾ , м3
/с (12.14)
rа
0,196
Vа
= ¾¾¾ =0,168 м3
/с
1,165
Ориентировочный диаметр рабочего колеса компрессора
 4×Vа
D2ор
= ¾¾¾¾ , м (12.15)
Ö
p×F×U2ор
где Ф – коэффициент расхода.
Принимаем Ф=0,09.
4×0,168
D2ор
= ¾¾¾¾¾¾ =0,087 м
3,14×0,09×310
В соответствии с ГОСТ 9658-81 выбираем ближайший к рассчитанному D2ор
центробежный турбокомпрессор ТКР – 8,5 : диаметр рабочего колеса компрессора D2
=0,085 м.
Коэффициент расхода соответствующий принятому диаметру рабочего колеса
4×Vа
F= ¾¾¾¾¾ , (12.16)
p×D2
2
×U2ор
4×0,168
F= ¾¾¾¾¾¾¾ =0,09
3,14×0,0852
×310
Число лопаток рабочего колеса компрессора
Zk
=12…30 (12.17)
Принимаем Zk
=12.
Расчет профиля рабочего колеса компрессора
Относительный диаметр рабочего колеса в сечении 1-1
2×F2
 D1
w
1
min
= Do
2
+ ¾¾¾ , (12.18)
3
e1
2
×t1
2
где Do
– втулочное отношение;
e1
– коэффициент сжатия воздушного потока;
t1
– коэффициент стеснения потока на входе в колесо.
Принимаем Do
=0,2; e1
=0,88; t1
=0,9.
2×0,092
D1
w
1
min
= 0,22
+ ¾¾¾ =0,579
0,882
×0,92
Диаметр входа в рабочее колесо
D1
=D2
×D1w1min
, м (12.19)
D1
=0,085×0,579=0,049 м
Принимаем D1
=0,05 м.
Относительный диаметр колеса на входе
D1
D1
= ¾¾ , (12.20)
D2
0,05
D1
= ¾¾ =0,588
0,085

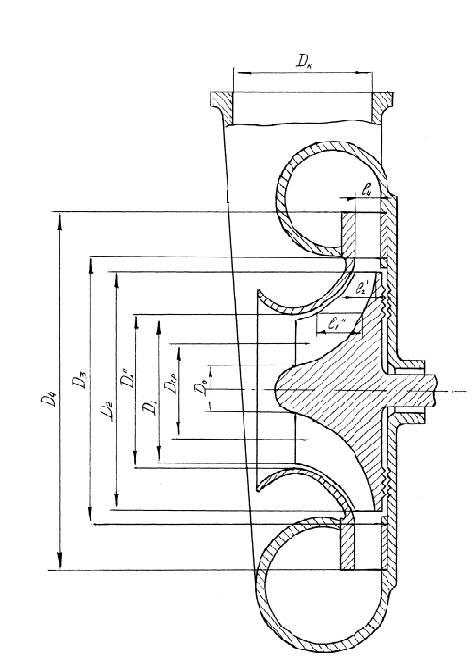
Рис.12.1 Профиль рабочего колеса компрессора
Диаметр втулки рабочего колеса
Do
=D2
×Do
, м (12.21)
Do
=0,085×0,2=0,017 м
Относительный диаметр втулки колеса к диаметру на входе
Do
¾¾ =0,3…0,6 (12.22)
D1
0,017
¾¾¾ = 0,34
0,05
Рис. 12.2 Рабочее колесо компрессора
Относительный средний диаметр входа в рабочее колесо
1 D1
2
+Do
2
D1
ср
= ¾ × ¾¾¾ , (12.23)
D2
2
1 0,052
+0,0172
D1
ср
= ¾¾ × ¾¾¾¾¾¾ =0,44
0,085 2
Коэффициент уменьшения теоретического адиабатного напора
1
m= ¾¾¾¾¾¾¾¾ , (12.24)
2 p 1
1+ ¾ × ¾ × ¾¾¾
3 Zk
1-D1ср
2
1
m= ¾¾¾¾¾¾¾¾¾ =0,844
2 3,14 1
1+ ¾ × ¾¾ × ¾¾¾
3 14 1-0,442
Коэффициент адиабатного напора ступени
Hk
= (af
+m)×hад.к.
, (12.25)
где af
– коэффициент дискового трения;
Принимаем af
=0,03.
Hk
= (0,03+0,844)×0,7=0,61
Окружная скорость на выходе из рабочего колеса
lад.к.
U2
= ¾¾¾ , м/с (12.26)
m
63441
U2
= ¾¾¾¾ =322 м/с
0,61
Уточнение коэффициента расхода
4×Vа
F = ¾¾¾¾¾ , (12.27)
p×D2
2
×U2
4×0,168
F = ¾¾¾¾¾¾¾ =0,091
3,14×0,0852
×322
Погрешность коэффициента расхода составляет 1,,0 %.
Определение площади входного сечения
p×(D1
2
-Do
2
)
F1
= ¾¾¾¾¾ , м2
(12.28)
4
3,14×(0,052
-0,0172
)
F1
= ¾¾¾¾¾¾¾¾¾ =1,737×10-3 м2
4
Определение полного давления во входном сечении
P1
*
=dвх
×Pа
*
, МПа (12.29)
где dвх
– коэффициент полного давления.
Принимаем dвх
=0,98.
P1
*
=0,98×0,097=0,095 МПа
Безразмерная плотность потока
Gв
× T1
*
q1
*
= ¾¾¾¾ , (12.30)
m×P1
*
×F1
где T1
*
=То
.
m= 0,397
0,196× 293
q1
*
= ¾¾¾¾¾¾¾¾¾¾ =0,512
0,397×0,95×104
× 1,737×10-3
Определяем параметры торможения потока воздуха на входе
(сечение 1-1) t1
, p1
, e1
, l1
Принимаем t1
=0,9807; p1
=9342; e1
=0,9525; l1
=0,34.
Определение параметров потока в сечении 1-1
C1
=l×a1кр
, м/с (12.32)
2×k×Rв
×T1
*
а1кр
= ¾¾¾¾¾ , м/с (12.33)
k+1
2×1,4×287×293
а1кр
= ¾¾¾¾¾¾¾ =313,3 м/с
1,4+1
C1
=0,34×313,3=106,5 м/с
T1
=t1
×T1
*
, К (12.34)
T1
=0,9807×293=287 К
P1
=p1
×P1
*
, МПа (12.35)
P1
=0,9342×0,095=0,0887 МПа
r1
=e1
×r1
*
, кг/м3
(12.36)
r1
=0,9525×1,165=1,117 кг/м3
Потери потока во входном патрубке
с1
2
Lгвх
=e1
× ¾ , Дж/кг (12.37)
2
где e – коэффициент учитывающий форму входного патрубка.
Принимаем e1
=0,12.
106,52
Lгвх
=0,1× ¾¾ =567,1 Дж/кг
2
2.2.17 Показатель процесса расширения во входном патрубке
mвх
k Lr
вх
¾¾ = ¾¾ - ¾¾¾¾¾¾ , (12.38)
mвх
-1 k-1 Rв
×T1
*
×(t1
-1)
mвх
1,4 567,1
¾¾ = ¾¾ - ¾¾¾¾¾¾¾¾ =3,856
mвх
-1 1,4-1 287×293×(0,9807-1)
Коэффициент восстановления давления торможения
t1
m
вх/(
m
вх-1)
dвх
= ¾¾¾¾ , (12.39)
t1
k/(k-1)
0,98073,856
dвх
= ¾¾¾¾¾¾ =1
0,98071,4/(1,4-1)
Погрешность коэффициента восстановления давления торможения составляет 1,0 %.
Профилирование одноступенчатого рабочего колеса компрессора
Определение направления относительной скорости W1
на входе в колесо
C1
b1
=arctg(¾¾¾), ° (12.40)
U2
×D1
106,5
b1
=arctg (¾¾¾¾ ) = 29,36°
322×0,588
C1
b0
=arctg(¾¾¾), ° (12.41)
U2
×D0
106,5
b0
=arctg (¾¾¾¾) =58,84°
322×0,2
C1
bср
=arctg(¾¾¾), ° (12.42)
U2
×Dср
106,5
bср
=arctg (¾¾¾¾) = 37°
322×0,439

Рис. 12.3 Диаграмма скоростей
Определение направления входных кромок лопаток
bл
1
=b1
+i1
, ° (12.43)
bл
0
=b0
+i0
, ° (12.44)
bлср
=bср
+iср
, ° (12.45)
Принимаем i1
=i0
=iср
=2°.
bл1
=29,36+2°=31,36°
bл0
=58,85+2°=60,85°
bлср
=37+2°=39°
Определение коэффициентов стеснения
d1
×Zk
tст
1
=1- ¾¾¾¾¾¾¾ ,
(12.46)
p×D1
×D2
×sin(bл
1
)
d0
×Zk
tст
0
=1- ¾¾¾¾¾¾¾ , (12.47)
p×D0
×D2
×sin(bл
0
)
dср
×Zk
tстср
=1- ¾¾¾¾¾¾¾ , (12.48)
p×Dср
×D2
×sin(bлср
)
где d1
– толщина лопатки на выходе, мм;
d0
– толщина лопатки у основания, мм;
dср
– толщина лопатки на среднем диаметре, мм.
Принимаем d1
=0,8 мм;d0
=1,2 мм;dср
=1,0 мм.
0,0008×14
tст1
=1- ¾¾¾¾¾¾¾¾¾¾¾¾ =0,863
3,14×0,588×0,085×sin(31,36°)
0,0012×14
tст0
=1- ¾¾¾¾¾¾¾¾¾¾¾¾ =0,64
3,14×0,2×0,085×sin(60,85°)
0,001×14
tстср
=1- ¾¾¾¾¾¾¾¾¾¾¾¾ =0,813
3,14×0,439×0,085×sin(39°)
Проверяем значение D1W1min
2×F2
 D1
w
1
min
= Do
2
+ ¾¾¾ , (12.49)
3
e1
2
×tст1
2
2×0,092
D1
w
1
min
= 0,22
+ ¾¾¾¾¾¾ = 0,573
3
0,95252
×0,8632
Окружная скорость на наружном и среднем диаметре
C1
W1
’
= (¾)2
+(D1
×U2
)2
, м/с (12.50)
tст1
106,5
W1
’
= (¾¾)2
+(0,588×322)2
=228 м/с
0,836
C1
Wср
’
= (¾)2
+(Dср
×U2
)2
, м/с (12.51)
tст ср
106,5
Wср
’
= (¾¾)2
+(0,439×322)2
=193 м/с
0,81
Максимальное число Маха
W1
’
MW
’ср
= ¾¾¾¾ , (12.52)
20,1×Ö T1
228,2
MW
’ср
= ¾¾¾¾¾ =0,67
20,1×Ö 287
Расходные скорость и коэффициент на входе в колесо с учетом стеснения
C1
*
Cср
’
= ¾¾ , м/с (12.53)
tстср
106,5
Cср
’
= ¾¾ =131,5 м/с
0,81
Cср
’
j1
’
= ¾¾ , (12.54)
U2
131,5
j1
’
= ¾¾¾ = 0,4
322
Расходные скорости и коэффициент расхода на выходе из рабочего колеса с учетом стеснения
Cr
2
’
=(0,7…1)×Cср
’
, м/с (12.55)
Cr
2
’
=0,8×131,5=105,2 м/с
Cr
2
’
j2
’
= ¾¾ , (12.56)
U2
105,2
j2
’
= ¾¾¾ =0,33
322
Промежуточный условный диаметр
D1”
=1,02×D1
, м (12.57)
D1”
=1,02×0,05=0,051 м
Скорость в сечении 1"-1"
Cср
’
+Cr
2
’
Cr
1”
= ¾¾¾ , м/с (12.58)
2
131,5+105,2
Cr
1”
= ¾¾¾¾¾ =118,4 м/с
2
Высота лопатки в сечении 1"-1"
Gв
l1”
= ¾¾¾¾¾¾¾¾¾ , м (12.59)
r1”
×Cr1”
×(p×D1”
-Zk
×d”
)
где d"
– толщина лопатки, м.
Принимаем r1”
=r1
=1,11; d”
=0,0011 м.
0,196
l1”
= ¾¾¾¾¾¾¾¾¾¾¾¾¾¾¾ =0,01 м
1,11×118,4×(3,14×0,051-14×0,0011)
Абсолютная скорость на выходе из колеса
C2
’
=Ö Cr
2
’2
+(m×U2
) 2
, м/с (12.60)
C2
’
=Ö 1052
+(0,844×322)2
=291 м/с
Относительная скорость на выходе из колеса
W2
’
=Ö Cr
2
’2
+((1-m)×U2
)2
, м/с (12.61)
W2
’
=Ö 1052
+((1-0,844)×322)2
=117 м/с
Диффузорность колеса
Wср
’
193
¾¾ = ¾¾ =1,65
W2
’
117
Полученное значение меньше 1,8.
Потери напора в предкрылке (между сечениями 1-1 и 1"-1" )
Wср
’2
Lr
1
=e1
× ¾¾ , Дж/кг (12.62)
2
Принимаем e1
=0,12.
1932
Lr
1
=0,12× ¾¾¾ =2235 Дж/кг
2
Потери потока в радиальной звезде
Cr
2
’2
Lr
2
=e× ¾¾ , Дж/кг (12.63)
2
Принимаем e =0,12.
118,42
Lr
2
=0,12× ¾¾–– =841 Дж/кг
2
Потери на работу дискового трения
Lr
д
=af
×U2
2
, кДж/кг (12.64)
Lr
д
=0,03×3222
=3307 кДж/кг
Внутренний напор колеса
L1
=(m+af
)×U2
2
, кДж/кг (12.65)
L1
=(0,844+0,03)×3222
=90620 Дж/кг
Температура торможения за колесом
L1
+0,5×Lr
д
T2
*
=To
+ ¾¾¾¾¾ , К (12.66)
Rв
×k/(k-1)
90620 +0,5×3307
T2
*
=293+ ¾¾¾¾¾¾¾¾¾ =384 К
287×1,4/(1,4-1)
Температура за колесом
C2
2
T2
’
=T2
*
- ¾¾¾¾¾¾ , К (12.67)
2×Rв
×k/(k-1)
2912
T2
’
=384 - ¾¾¾¾¾¾¾ =342 К
2×287×1,4/(1,4-1)
Показатель процесса сжатия в колесе
m2
k Lr1
+Lr2
+0,5×Lr
д
¾¾ = ¾¾ - ¾¾¾¾¾¾¾ (12.68)
m2
-1 k-1 Rв
×(T2
’
-T1
)
m2
1,4 2235 +841 +0,5×3307
¾¾ = ¾¾ - ¾¾¾¾¾¾¾¾¾¾¾ =3,2
m2
-1 1,4-1 287×(342-287)
Давление за колесом
P2
’
=P1
×(T2
’
/T1
)m
2/(
m
2-1)
, МПа (12.69)
P2
’
=0,0887×(342/287)3,2
=0,155 МПа
Плотность воздуха за колесом
P2
’
×106
r2
’
= ¾¾¾ , кг/м3
(12.70)
Rв
×T2
’
0,155×106
r2
’
= ¾¾¾¾ =1,583 кг/м3
287×342
Высота лопаток на выходе из колеса
Gв
l2
’
= ¾¾¾¾¾¾¾¾¾ , м (12.71)
r2
’
×Cr2
’
×(p×D2
-Zk
×d0
)
0,196
l2
’
= ¾¾¾¾¾¾¾¾¾¾¾¾¾¾ =0,0047 м
1,583×105,2×(3,14×0,085-14×1,2×10-3
)
Определение относительной высоты лопаток
l2
’
=l2
’
/D2
, (12.72)
l2
’
=0,0047/0,085=0,055
Полученное значение относительной высоты удовлетворяет неравенству 0,04<l2
’
<0,07.
Определение числа Маха на выходе из колеса
С2
’
MС
2’
= ¾¾¾¾ , (12.73)
20,1×Ö T2
’
291
MС2’
= ¾¾¾¾¾ =0,78
20,1×Ö 342
12.4 Расчет диффузора
Из рабочего колеса поток сжатого воздуха с высокой кинетической энергией поступает в диффузор, в котором скорость газа уменьшается вследствие увеличения площади проходного сечения, а часть кинетической энергии потока преобразуется в потенциальную энергию давления. В центробежных компрессорах, применяемых для наддува дизелей, используются безлопаточные (щелевые) и лопаточные диффузоры. Щелевой диффузор представляет собой кольцевую щель с параллельными (как правило) стенками. У лопаточного диффузора в кольцевую щель встроены специально спрофилированные лопатки, образующие расширяющиеся каналы. Лопаточному диффузору всегда предшествует укороченный безлопаточный. Последний способствует некоторому выравниванию потока, весьма неравномерного на выходе из рабочего колеса, и позволяет избежать возникновения ударных импульсов, которые могли бы воздействовать на рабочее колесо при слишком близком расположении лопаток диффузора.
Целесообразность установки щелевого или лопаточного диффузора в основном зависит от двух факторов: значения угла потока a2
за рабочим колесом и условий работы компрессора. Чем меньше угол a2
, тем более пологой будет траектория частиц воздуха в щелевом диффузоре, а, следовательно, длиннее путь, проходимый в нем воздухом. Это увеличивает потери на трение. Уменьшить их можно, применяя лопаточный диффузор, в котором длина траектории частиц сокращается. Обычно лопаточный диффузор применяют при a2
20°
.
Рис. 12.4 Диффузор Безлопаточный диффузор
Ширина безлопаточного диффузора на входе
l2
=l2
’
+DS, м (12.74)
где DS – зазор между корпусом и торцами лопаток, м.
Принимаем DS=0,0003 м.
l2
=0,0047+0,0003=0,005 м
Ширина на выходе
l3
=l2
×(l3
/l2
), м (12.75)
Принимаем l3
/l2
=0,9.
l3
=0,005×0,9=0,0045 м
Расходная составляющая скорости на входе в безлопаточный диффузор
Gв
Cr
2
= ¾¾¾¾¾ , м/с (12.76)
p×D2
×l2
×r2
где r2
– плотность воздуха на входе в диффузор, кг/м3
.
Принимаем r2
» r'2.
0,196
Cr
2
= ¾¾¾¾¾¾¾¾¾¾ =93 м/с
3,14×0,085×0,005×1,583
Абсолютная скорость на входе в диффузор
C2
=Ö Cr
2
2
+(m×U2
)2
, м/с (12.77)
C2
=Ö 932
+(0,844×322)2
=287 м/с
Направление абсолютной скорости на входе в диффузор
a2
=arcsin(Cr2
/C2
), ° (12.78)
a2
=arcsin(93 /287)=18,9°
Направление скорости на выходе из безлопаточного диффузора
a3
=arctg(tg(a2
)/(l3
/l2
)), ° (12.79)
a3
=arctg(tg(18,9)/0,9)=20,8°
Диаметр на выходе из безлопаточного диффузора
D3
=(1,6…1,8)×D2
, м (12.80)
D3
=1,8×0,085=0,153 м
Скорость воздуха на выходе из безлопаточного диффузора
C3
=C2
×(D2
/D3
), м/с (12.81)
C3
=287×(0,085/0,153)=160 м/с
Показатель процесса сжатия в безлопаточном диффузоре
m3
k
¾¾ = ¾¾ ×h3
, (12.82)
m3
-1 k-1
где h3
– политропный КПД безлопаточного диффузора.
Принимаем h3
=0,67.
m3
1,4
¾¾ = ¾¾ ×0,67=2,345
m3
-1 1,4-1
Температура в безлопаточном диффузоре
на входе:
T2
=T2
*
-C2
2
/2010, К (12.83)
T2
=384-2872
/2010=343 К
на выходе:
T3
=T2
*
-C3
2
/2010, К (12.84)
T3
=384-1602
/2010=371 К
Давление за безлопаточным диффузором
P3
=P2
×(T3
/T2
)m3/(m3-1)
, МПа (12.85)
Принимаем Р2
»Р2
”
.
P3
=0,155 ×(371 /343)2,345
=0,187 МПа
Число Маха на выходе из безлопаточного диффузора
С3
MС3
= ¾¾¾¾ , (12.86)
20,1×Ö T3
160
MС3
= ¾¾¾¾¾ =0,41
20,1×Ö 371
Плотность воздуха на выходе из безлопаточного диффузора
P3
×106
r3
= ¾¾¾ , кг/м3
(12.87)
Rв
×T3
0,187×106
r3
= ¾¾¾¾ =1,756 кг/м3
287×371
12.5 Расчет улитки
Воздух из диффузора поступает в улитку служащую для сбора потока и подвода его к впускному трубопроводу. В улитке происходит дальнейшее расширение воздуха, снижение скорости потока и повышение давления, т.е. улитка выполняет ту же функцию, что и диффузор.
Радиус входного сечения улитки
j j
Rj
= ¾¾ ×l3
×tg(a3
) + ¾¾ ×D3
×l3
×tg(a3
), м (12.88)
360 360
где j – угол захода улитки, °.
Принимаем j=360°.
360 360
Rj
= ¾¾ 0,0045×tg(20,8°) + ¾¾ 0,153×0,0045×tg(20,8°)=0,018 м
360 360
Радиус поперечного сечения выходного диффузора
Rk
=Rj
+tg(g/2)×lвых
, м (12.89)
где g – угол расширения выходного диффузора, °;
lвых
- длина выходного диффузора, м.
Принимаем g =10°.
lвых
=(3…6)×Rj
, м (12.90)
lвых
=6×0,018=0,107 м
Rk
=0,018+tg(10°/2)×0,107=0,027 м
КПД улитки выбирается из диапазона h5
=0,3…0,65
Принимаем h5
=0,65
Показатель степени в уравнении политропного сжатия в улитке
m5
k
¾¾ = ¾¾ ×h5
, (12.91)
m5
-1 k-1
m5
1,4
¾¾ = ¾¾ ×0,65=2,275
m5
-1 1,4-1
Скорость на выходе из улитки
Gв
Ck
= ¾¾¾¾ , м/с (12.92)
p×Rk
2
×rk
’
где r'к
– плотность воздуха на выходе из компрессора, кг/м3
.
Принимаем r'к
=r4
.
0,196
Ck
= ¾¾¾¾¾¾¾¾ =48 м/с
3,14×0,0272
×1,756
Температура на выходе из улитки
Tk
=Tk
*
-Ck
2
/2010, К (12.93)
Принимаем Tк
*
=T2
*
.
Tk
=384-48,72
/2010=383 К
Давление на выходе из улитки
Pk
’
=P4
×(Tk
/T4
)m
5/(
m
5-1)
, МПа (12.94)
Pk
’
=0,187×(383/371)2,275
=0,201 МПа
12.6 Анализ основных параметров ступени компрессора по результатам
расчета
Погрешность давления наддува
Конечное давление после компрессора P'k
необходимо сравнить с давлением Pk
указанным в задании и определить DPk
, а так же погрешность расчета e.
DPk
=P'k
-Pk
, МПа (12.97)
DPk
=0,201-0,2=0,001 МПа
100%
e=DPk
× ¾¾¾ , (12.98)
Pk
’
100%
e=0,001× ¾¾¾ =0,5 %
0,201
Внутренняя мощность, потребляемая ступенью компрессора
N1
=Nk
=Gв
×L1
, кВт (12.99)
где L1
-внутренний напор колеса.
N1
=Nk
=0,196×90,62 =17,76 кВт
Частота вращения ротора компрессора
U2
nk
=60× ¾¾¾ , мин-1
(12.100)
p×D2
322
nk
=60× ¾¾¾¾ =72350 мин-1
3,14×0,085
12.7 Расчет радиальной центростремительной турбины
Основные характеристики турбины
Фактический расход газа через турбину с учетом утечек газа и воздуха через неплотности
Gr
’
=Gr
×hут
, кг/с (12.101)
где hут
– коэффициент утечек.
Принимаем hут
=0,98.
Gr
’
=0,203×0,98=0,199 кг/с
КПД турбины с учетом механических потерь турбокомпрессора в целом определяется по ГОСТ 9658-81 для турбокомпрессора выбранного по диаметру рабочего колеса компрессора hт
=0,72.
Необходимая адиабатическая работа расширения газа в турбине отнесенная к 1 кг газа
Lк.
Gв
Lад.т.
= ¾¾ × ¾¾ , Дж/кг (12.102)
hт.
Gr
’
Принимаем Lк
=L1
;
90620 0,196
Lад.т.
= ¾¾¾ × ¾––––¾¾ =123964 Дж/кг
0,72.
0,199
Давление газов перед турбиной
P4
Pт
= ¾¾¾¾¾¾¾¾¾ , МПа (12.103)
kг
-1 Lад.т.
(1- ¾¾ × ¾¾ )k
г/(
k
г-1)
kг
Rг
×Tг
0,104
Pт
= ¾¾¾¾¾¾¾¾¾¾¾¾¾ =0,183 МПа
1,34-1 123964
(1- ¾¾¾ × ¾¾¾¾)1,34/(1,34-1)
1,34 289×810
12.8 Расчет соплового аппарата турбины
Выбор степени реактивности турбины
r=0,45...0,55 (12.104)
Принимаем r =0,5.
Выбор угла выхода газового потока из соплового аппарата
a1
=15...30° (12.105)
Принимаем a1
=20°.
Адиабатная работа расширения газа в сопловом аппарате
Lc
=(1-r)×Lад.т.
, Дж/кг (12.106)
Lc
=(1-0,5)×123964=61982 Дж/кг
Абсолютная скорость газов на выходе из соплового аппарата
C1
=jc
×Ö 2×Lc
+C0
2
, м/с (12.107)
где jc
– коэффициент скорости учитывающий потери в сопловом аппарате;
С0
– средняя абсолютная скорость на входе в сопловой аппарат, м/с.
Принимам jc
=0,94; С0
=80 м/с
C1
=0,94×Ö 2×61982+802
=350 м/с
Радиальная составляющая абсолютной скорости перед рабочим колесом
C1
r
=C1
×sin a1
, м/с (12.108)
C1
r
=350×sin 20°=120 м/с
Окружная составляющая абсолютной скорости перед рабочим колесом.
C1
u
=C1
×cos a1
, м/с (12.109)
C1
u
=350×cos 20°=329 м/с
Температура потока на выходе из соплового аппарата
C1
2
-C0
2
T2
=T1
- ¾¾¾¾¾¾ , К (12.110)
2×Rг
×kг
/(kг
-1)
3502
-802
T2
=810 - ¾¾¾¾¾¾¾¾ =760 К
2×289×1,34/(1,34-1)
Число Маха на выходе из соплового аппарата
C1
Ma1
= ¾¾¾¾ , (12.111)
Ökг
×Rг
×Tг
350
Ma
1
= ¾¾¾¾¾¾¾ =0,625
1,34×289×810
Окружная скорость рабочего колеса на входе
U1
=C1
u
+(10…50), м/с (12.112)
U1
=329+11=340 м/с
Угол между векторами относительной скорости и окружной составляющей абсолютной скорости С1u
b1
=90°+arctg((U1
-C1u
)/C1r
), ° (12.113)
b1
=90°+arctg((340-329)/120)=95,24°
Диаметр рабочего колеса турбины
U1
D3
=60 × ¾¾ , м (12.114)
p×nт
где nт
- частота вращения вала турбины, мин-12.
340
D3
=60 × ¾¾¾¾¾ =0,09 м
3,14×72350
Потери энергии в сопловом аппарате
1 C1
2
DLc
= ( ¾ – 1) × ¾ , Дж/кг (12.115)
jс
2
2
1 3502
DLc
=(¾¾¾ -1) × ¾¾ =8069 Дж/кг
0,942
2
Температура заторможенного потока на выходе из соплового аппарата
C1
2
T2
*
=T2
+ ¾¾¾¾¾¾ , К (12.116)
2×Rг
×kг
/(kг
-1)
3502
T2
*
=760 + ¾¾¾¾¾¾¾¾ =814 К
2×289×1,34/(1,34-1)
Приведенная скорость, характеризующая характер проточной части турбины
C1
l1
= ¾¾¾¾¾¾¾¾ , (12.117)
Ö 2×kг
×Rг
×T2
*
/(kг
-1)
350
l1
= ¾¾¾¾¾¾¾¾¾¾¾–– =0,256
Ö 2×1,34×289×814/(1,34-1)
Показатель политропы расширения в сопловом аппарате
mс
kг
DLc
¾¾ = ¾¾ - ¾¾¾¾¾ , (12.118)
mс
-1 kг
-1 Rг
×(T1
-T2
)
mс
1,34 8069
¾¾ = ¾¾¾ - ¾¾¾¾¾¾––– =3,38
mс
-1 1,34-1 289×(810-760)
Давление газов на выходе из соплового аппарата
P2
=P1
×(T2
/T1
)m
с/(
m
с-1)
, МПа (12.119)
P2
=0,183×(760/810)3,38
=0,148 МПа
Плотность газа на выходе из соплового аппарата
P2
×106
r2
= ¾¾¾ , кг/м3
(12.120)
Rг
×T2
0,148×106
r2
= ¾¾¾¾ =0,672 кг/м3
289×760
Выходной диаметр соплового аппарата
D2
=D3
×D2
, м (12.121)
где D2
– относительный диаметр соплового аппарата
Принимаем =1,08.
D2
=0,09 ×1,08=0,097 м
Входной диаметр соплового аппарата
D1
=D3
×D1
, м (12.122)
где D1
– относительный диаметр соплового аппарата
Принимаем D1
=1,4 м.
D1
=0,097 ×1,4=0,136 м
Высота лопаток соплового аппарата (ширина проточной части)
Gг
’
l1
= ¾¾¾¾¾¾¾¾¾ , м (12.123)
p×r2
×C1
×D2
×sin a1
0,199
l1
= ¾¾¾¾¾¾¾¾¾¾¾¾ =0,008 м
3,14×0,672×350×0,097×sin 20°
12.9 Расчет рабочего колеса
Выбор числа лопаток рабочего колеса
Zт
=11…18 (12.124)
Принимаем Zт
=12.
Коэффициент загромождения входного сечения рабочего колеса
Zт
×d3
t3
=1- ¾¾¾ , (12.125)
p×D3
где d3
– толщина лопаток на входе, м.
Принимаем d3
=0,001 м.
12×0,001
t3
=1- ¾¾¾¾¾ =0,96
3,14×0,094
Окружная составляющая абсолютной скорости на входе в рабочее колесо
C1
u
’
=C1
u
×D2
/D3
, м/с (12.126)
C1
u
’
=329 ×0,097/0,09=355 м/с
Радиальная составляющая абсолютной скорости на входе в рабочее колесо
C1
r
’
=C1
r
×D2
×r2
×l1
/(l×D3
×r3
×t3
), м/с (12.127)
Принимаем l=l1
; r2
/r3
=1,08.
C1
r
’
=120×0,097×1,06/(0,09 ×0,96)=142 м/с
Aбсолютная величина входной скорости в рабочее колесо
C1
’
=Ö C1
u
’2
+C1
r
’2
, м/с (12.128)
C1
’
=Ö 3552
+1422
=382 м/с
Температура газов на входе в рабочее колесо
C1
’2
-C1
2
T3
=T2
- ¾¾¾¾¾¾ , К (12.129)
2×Rг
×kг
/(kг
-1)
3822
-3502
T3
=760 - ¾¾¾¾¾¾¾¾ = 750 К
2×289×1,34/(1,34-1)
Давление газов на входе в рабочее колесо
P3
=P2
×(T3
/T2
)m
с/(
m
с-1)
, МПа (12.130)
P3
=0,148×(750 /760)3,38
=0,142 МПа
Плотность газов на входе в рабочее колесо
P3
×106
r3
= ¾¾¾ , кг/м3
(12.131)
Rг
×T3
0,142×106
r3
= ¾¾¾¾¾ =0,653 кг/м3
289×750
Угол входа потока в рабочее колесо
a1
’
=arcsin(C1r
’
/C1
’
), ° (12.132)
a1
’
=arcsin(142/382)=21,82°
Относительная скорость потока газа на входе в рабочее колесо
W1
’
=Ö C1
’2
+U1
2
-2×U1
×C1
’
×cos a1
’
, м/с (12.133)
W1
’
=Ö 3822
+3402
-2×340×382×cos 21,82°=143 м/с
Адиабатная работа газа на рабочем колесе
Lрк
=r×Lад.т.
, Дж/кг (12.134)
Lрк
=0,5×123964=61982 Дж/кг
Наружный диаметр рабочего колеса на выходе
D4
=D3
×D4
, м (12.135)
 где D4
– относительный диаметр соплового аппарата
Принимаем D4
=0,8 м.
D4
=0,09×0,8=0,072 м
Диаметр втулки
Dвт
=D3
×Dвт
, м (12.136)
где Dвт
– относительный диаметр соплового аппарата
Принимаем Dвт
=0,28
Dвт
=0,09×0,28=0,025 м
Средний диаметр колеса на выходе
Dср
=Ö (D4
2
+Dвт
2
)/2, м (12.137)
Dср
=Ö (0,0722
+0,0252
)/2=0,054 м
Относительный средний диаметр колеса на выходе
Dср
=Dср
/D3
, м (12.138)
Dср
=0,054/0,072 =0,75 м
Относительная средняя скорость газа на выходе из рабочего колеса
W2
=y×Ö W1
’2
+2×Lрк
-U1
2
(1- Dср
2
), м/с (12.139)
где y – коэффициент скорости.
Принимаем y=0,92.
W2
=0,92×Ö 1432
+2×61982-3402
(1-0,752
)=306 м/с
Температура газов на выходе из рабочего колеса
W2
2
T4
=T3
- ¾¾¾¾¾¾ , К (12.140)
2×Rг
×kг
/(kг
-1)
3062
T4
= - ¾¾¾¾¾¾¾¾ =708 К
2×289×1,34/(1,34-1)
Плотность газов на выходе из рабочего колеса
P4
×106
r4
= ¾¾¾ , кг/м3
(12.141)
Rг
×T4
0,104×106
r4
= ¾¾¾¾¾ =0,508 кг/м3
289×708
Площадь проходного сечения на выходе потока из рабочего колеса
F4
=p×(D4
2
-Dвт
2
)/4, м2
(12.142)
F4
=3,14×(0,0722
-0,0252
)/4=3,58×10-3 м2
Угол выхода потока из рабочего колеса
b2
=arcsin(Gr
’
/(W2
×F4
×r4
)), ° (12.143)
b2
=arcsin(0,199/(306×3,58×10-3
×0,508))=20,95°
Окружная скорость на среднем диаметре выходного сечения
U2
=U1
×(Dср
/D3
), м/с (12.144)
U2
=340×(0,054/0,09)=204 м/с
Окружная составляющая абсолютной скорости газов на выходе из рабочего колеса
C2u
=W2
×cos b2
-U2
, м/с (12.145)
C2
u
=306×cos 20,95°-204=81,8 м/с
Осевая составляющая абсолютной скорости газов на выходе из рабочего колеса
C2
r
=W2
×sin b2
, м/с (12.146)
C2
r
=306×sin 20,95°=109 м/с
Абсолютная скорость газового потока на выходе из рабочего колеса
C2
=Ö C2
u
2
+C2
r
2
, м/с (12.147)
C2
=Ö 81,82
+1092
=136,6 м/с
Работа газа на колесе турбины
Lти
=U1
×C1
u
’
-U2
×C2
u
, Дж/кг (12.148)
Lти
=340×355-204×81,8=101068 Дж/кг
Окружное КПД турбины
hти
=Lти
/Lад.т.
, (12.149)
hти
=101068/123964=0,815
Потери энергии с выходной скоростью газового потока
DLв
=C2
2
/2, Дж/кг (12.150)
DLв
=136,62
/2=9330 Дж/кг
Потери энергии на лопатках рабочего колеса
DLл
=(1-y2
)×W2
2
/2, Дж/кг (12.151)
DLл
=(1-0,922
)×3062
/2=7191 Дж/кг
Потери на трение диска рабочего колеса
U1
r2
+r3
DLтр
=b×(¾¾)3
×D3
2
× ¾¾ ×736 , Дж/кг (12.152)
100 2×G¢г
Принимаем b=5
340 0,647+0,622
DLтр
=5×(¾¾)3
×0,092
× ¾¾¾¾¾ 736=3735 Дж/кг
100 2×0,199
Адиабатный КПД турбины
DLс
+DLл
+DLв
+DLтр
+DLут
hад.т.
=1- ¾¾¾¾¾¾¾¾¾¾¾ , (12.153)
Lад.т.
где DLут
– потери в результате утечек газа через неплотности.
DLут
=0,02×Lт.ад.
, Дж/кг (12.154)
DLут
=0,02×123964=2479 Дж/кг
8069+7191+9330+3735+2479
hад.т.
=1- ––––––––––––––––––––––––––––= 0,75
123964
Эффективный КПД турбины
hт.е
=hад.т.
×hмех
, (12.155)
где hмех
– механический КПД турбины.
Принимаем hмех
=0,97
hт.е
=0,97×0,75=0,73
Расчетное значение КПД турбины отличаться от принятого ранее на 1,4%.
Эффективная мощность турбины
N1
=Lад.т.
×G¢г
×hт.е
, кВт (12.156)
N1
=123964×0,199×0,73=18 кВт
Полученная мощность турбины отличается от мощности требуемой на привод компрессора на 1,2 %. Баланс мощностей выполнен.
|