| Полтавський національний технічний університет
ім. Ю.Кондратюка
Кафедра нафтових і газових промислів та геотехніки
Звіт з практики
на тему: ”Способи експлуатації нафтових
і газових свердловин на Україні”
Виконав студент гр. 102–МВ
О.С. Птиця
Перевірив С.П. Воскобійник
2003
План
1. Вступ
2. Технологічні особливості
3. Експлуатація нафтових свердловин
3.1 Фонтанна експлуатація нафтових свердловин
3.2 Компресорна експлуатація нафтових свердловин
3.3 Насосна експлуатація нафтових свердловин
3.3.1 За допомогою штангових свердловинних насосних установок
3.3.2 За допомогою занурених відцентрових насосів
- Експлуатація газових свердловин
1.Вступ
Забезпеченість України паливно-енергетичними ресурсами одне з найголовніших завдань національної економіки, без розвитку якого неможливе успішне здійснення соціальних , економічних і науково-технічних програм. Нафта та газ набули дуже широкого використання в нашому житті. Нафта, газ та продукти їх переробки являються не лише висококалорійним паливом, але і цінною сировиною для хімічної промисловості. Із нафти та газу отримують спирти, формалін, ацетилен, штучні барвники, синтетичні волокна, оливи, дорожні покриття. Нафта та газ мають великі переваги перед всіма іншими видами палива, як по калорійності, так і по ціні. Протягом останніх років галузь стабілізувала виробництва і забезпечила видобуток нафти на рівні 4,2 мільйона тон і газу 18 мільярдів кубічних метрів.
Ресурсна база нафтогазовидобувної промисловості України за умов ефективного використання дай можливості не лише стабілізувати, а у перспективі й підвищити обсяги видобутку палива.
2. Технологічні особливості
Свердловиною
називається гірнича виробітка, що має при малому діаметрі достатньо значну довжину. Початком свердловини називається устя, а її кінець – вибоєм. Простір від гирла до вибою свердловини називається стволом. Свердловини можуть бути вертикальні або похилі.
Головне призначення свердловини – вилучення нафти, газу або води із покладу на поверхню, тобто свердловина являється каналом, що з’єднує нафтовий, газовий або водяний пласт з поверхнею землі.
Технічний стан свердловини – конструкція їх вибоїв, герметичність та якість цементування обсадних колон, надійність та герметичність гирлового обладнання – основа ефективного освоєння свердловин, довгої та безперебійної експлуатації. Продукція свердловини може бути піднята на поверхню або за рахунок пластової енергії, або за рахунок сумісного впливу пластової енергії та енергії, що подається в свердловину з поверхні. Енергія витрачається на підйом продукції від вибою до устя свердловини, на подолання опору в гирловій обв’язці, сепараторах, замірних пристроях, трубопроводах промислового збору. Обладнанням свердловини називають всі ті частини її конструкції, які забезпечують відбір продукції в необхідному режимі та проведення всіх технологічних операцій в процесі експлуатації.
3. Експлуатація нафтових свердловин
Якщо підйом продукції від вибою на поверхню відбувається за рахунок пластової енергії, то таку експлуатацію свердловин називають фонтанною.
Якщо ж для підйому нафти на поверхню пластового тиску не вистачає і в свердловину подають енергію, то таку експлуатацію називають механізованою
.
В нашій країні застосовують наступні способи експлуатації нафтових свердловин:
1) Фонтанна експлуатація;
2) Компресорна;
3) Насосна яка в свою чергу поділяється на:
а) експлуатація свердловин штанговими глибинними насосними установками (ШГНУ);
б) експлуатація свердловин зануреними відцентровими насосами.
3.1 Фонтанна експлуатація нафтових свердловин
Явище підйому нафти у свердловині з видою на поверхню під дією пластової енергії називається фонтануванням, а спосіб експлуатації – фонтанним
.
Практика експлуатації свердловин показує, що в переважній більшості випадків фонтанування відбувається одночасно за рахунок гідростатичного напору та енергії газу, що розширяється. В таких фонтанних свердловинах при вибійна зона заповнена тільки нафтою з розчиненим в ній газом, тобто одною фазою. По мірі підйому нафти в свердловині у напрямку гирла тиск зменшується, і коли він стає рівним тиску насичення, із нафти починає виділятися розчинений газ, тобто друга фаза.
Двохфазний потік ділять на три основних режими руху:
1) режим піни (Мал. 1а), при якому бульбашки газу більш або менш рівномірно розподілені в потоці нафти;
2) „чіт очний” режим (Мал. 1б), коли газ що розширюється утворює в потоці нафти великі бульбашки;
3) режим „туману” ( Мал. 1в), при якому потік газу рухається по центру труби і захоплює за собою краплини нафти.
На практиці зустрічаються всі три види руху двофазного потоку. В деяких свердловинах всі ці режими можуть існувати одночасно, в нижній частині свердловини перший режим, в середній частині – другий, а в приустьовій частині – третій.
Обладнання фонтанних свердловин включає наземне та підземне обладнання відносять насосно-компресорні труби (НКТ). Вони являють собою труби невеликих діаметрів – 60, 73, 89 мм довжиною 5 – 10 м, які з’єднуються між собою за допомогою муфт. НКТ спускають всередину експлуатаційної колон, по них виконується підйом нафти на поверхню. НКТ використовують при всіх способах експлуатації свердловин.
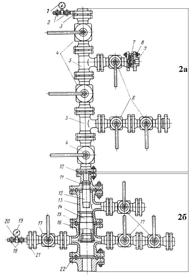
До наземного обладнання відносять фонтанну арматуру, яку встановлюють на колонну головку свердловини та маніфольд. Фонтанна арматура (Мал. 2а, 2б) призначена для підвішування НКТ та експлуатаційною колоною, а також для контролю і регулювання

Мал. 1а
Мал. 1б
Мал. 1в

2а
–
Фонтанна ялинка; 2б
–
Трубна головка;
Мал. 2
режиму роботи свердловини .
Правильна експлуатація фонтанної свердловини зводиться до забезпечення довгого фонтанування та найбільш раціональних витрат пластової енергії. В переважній більшості випадків правильна експлуатація фонтанних свердловин досягається за рахунок обмеження дебету свердловини.
3.2 Компресорна експлуатація свердловин
По мірі зниження величини пластової енергії, дебіт фонтанних свердловин зменшується. В той момент, коли пластової енергії недостатньо для підйому нафти із пласту на поверхню, процес фонтанування свердловини припиняється.
Процес фонтанування може бути відновлений подачею до башмаку спущених в свердловину НКТ стиснутого повітря або газу. Так як стиснуте повітря або газ отримують використовуючи компресори, то спосіб штучного фонтанування з використанням цих агентів називають компресорним
.
Для повітряного чи газового підйомника при компресорній експлуатації не відрізняється від дії фонтанного підйомника. При компресорній експлуатації газ або повітря подають до башмаку НКТ, а при фонтанній експлуатації газ надходить із пласту.
Підйом нафти, який виконується з використанням закачуємого газу називається газліфтом
, а з використанням повітря ерліфтом
. Якщо в якості робочого агента використовують природний газ високого тиску, при якому не використовуються компресори, то такий спосіб видобутку нафти називають без компресорним газліфтом.
Газовий або повітряний підйомник (Мал. 3) складається із двох каналів (трубопроводів), один з яких служить для подачі робочого агента, а другий – для підйому рідини. Тобто в свердловину спускають два ряди НКТ. При нагнітанні по повітряним трубам газ або повітря витіснивши із них нафту до башмака НКТ, почне надходити в труби, перемішуючись у вигляді бульбашок з нафтою і знижувати її густину. Чим більше повітряні труби, тим менше буде густина нафтової суміші і тим на більшу висоту підніматися ця суміш. Висота підйому нафто - повітряної або нафтогазової суміші в підйомних трубах залежить від кількості нагнітаємого повітря або газу, глибини занурення труб під статичний рівень, їх діаметра та в’язкості нафти.

Область застосування газліфта чи ерліфта – високодебітні свердловини з великим вибійними тисками, свердловини з високим газовим фактором і вибійним тиском нижче тиску насичення, піщані свердловини, викривленні свердловини, а також свердлови-
ни у важкодоступних умовах. Газліфт можна застосовувати тільки при наявності достатньої кількості газу.
Якщо на нафтовому родовищі або поблизу нього знаходяться газові пласти з високим тиском та якщо запаси такого газу достатньо великі, то доцільно використовувати енергію цього газу для підйому нафти з свердловини, що припинила фонтанування внаслідок падіння пластового тиску. Даний спосіб підйому нафти з використанням природного газу високого тиску називають без-компресорним газліфтом. Експлуатація свердловин газліфтом (без-компресорним) достатньо економна.
3.3 Насосна експлуатація свердловин
3.3.1 За допомогою штангових свердловинних
насосних установок
Суть даного способу експлуатації свердловин полягає у тому, що у свердловині розміщують плунжерний насос, який приводиться в дію поверхневим приводом за допомогою колони штанг. (Мал. 4)
Штангова глибино – насосна установка (ШГНУ) складається із насоса опущеного у свердловину, колони штанг, верстата – качалки, встановленого біля устя свердловини. Зворотно – поступа-
льний рух колони насосних штанг і приєднаного до них плунжера забезпечується верстатом – качалкою.
Спосіб видобутку нафти за допомогою ШГНУ досить розповсюдженій в нашій країні. Даним способом можна добувати від 1 до 500 т нафти на добу. Однак в більшості випадків глибинно-насосну експлуатацію застосовують в мало та середньодебітних нафтових свердловинах.

1 – циліндр насоса; 2 – плунжер; 3 – колона штанг; 4 – НКТ; 5 – трубна головка;
6 – ялинка; 7 – головка балансира; 8 – балансир; 9 – шатун; 10 – кривошип;
11 – електродвигун;
3.3.2 Експлуатація нафтових свердловин
зануреним відцентровим насосом
Електровідцентрові насосні установки ( Мал. 5) складаються: із відцентрового насоса 4, електродвигуна 1. кодони підйомних труб 11, броньованого кабелю 5, гирлової арматури 10, кабельного барабану 7 та інше допоміжне обладнання.

Мал. 5
1 – електродвигун; 2 – протектор; 3 – фільтр; 4 – відцентровий насос; 5 – броньований кабель; 6 – підвісний ролик; 7 – барабан; 8 – автотрансформатор;
9 – станції керування; 10 – гирлова арматура; 11 – колона підйомних труб.
Видобуток нафти при даному способу експлуатації відбувається слідуючим чином. Електродвигун обертає вал відцентрового насосу, нафта всмоктується через фільтр відцентровим насосом і нагнітається на поверхню по насосним трубам. Для електровідцентрових насосів характерний великий міжремонтний період їх роботи. Наземне обладнання ЕВН відрізняється своєю простотою та не потребує спеціальних фундаментів та інших споруд.
В Україні широко використовують занурені відцентрові насоси. Їх використовують в тих випадках, коли потрібно виконувати інтенсивний відбір нафти із свердловини при великій глибині залягання продуктивних пластів, а також в свердловинах з агресивними пластовими водами.
Методи підтримки пластової енергії
в нафтових свердловинах
В процесі експлуатації нафтових свердловин енергія нафтових пластів поступово знижується. Якщо не виконувати заходів по штучному підйому нафти із свердловини, то відбір нафти із покладів спочатку скорочується частково, а потім повністю.
В промисловій практиці, як було вже зазначено вище підйом нафти із свердловини виконують компресорним способом, ШГНУ, ЕВН. Потрібно відзначити, що ці способи потребують значних затрат(енергетичних), крім цього коефіцієнт нафтовіддачі залишається низьким.
В даний момент широко використовують методи підтримки пластового тиску свердловин. Сутність цих методів заключається в тому, що в продуктивні пласти нагнітають воду, повітря чи газ в кількостях, компенсуючи відібрану із пласту нафту. Таким чином енергія витрачена на підйом нафти, відновлюється повністю або пластова енергія підтримується на оптимальному тиску.
Метод заводнення пластів є основним методом підтримання пластових тисків. Він дозволяє нарощувати добуток нафти швидкими темпами при умові, що об’єм закачки води компенсує відбір нафти із пласту.
В покладах нафти з наявністю газової шапки, нагнітання газу в її підвішену частину підтримує тиск в ній, а значить зберігає рівень дебіту нафтових свердловин.
При підтримці пластового тиску значно продовжується найбільш економічна експлуатація(фонтанна), покращується коефіцієнт нафтовіддачі та підвищується темп відбору нафти із пластів.
4 Експлуатація газових свердловин
Експлуатація газових свердловин в порівнянні з нафтовими має свої особливості, зв’язані з різними фізичними властивостями нафти і газу. Вилучений на поверхню газ повинен відразу ж направлятися споживачеві, так як зберігати його в ємностях неможливо. В зв’язку з цим добуток газу повинен бути більше споживаємого. Низька щільність газу обумовлює більш високі усьтьові тиски, низька в’язкість газу зумовлює дуже жорсткі вимоги до герметичності експлуатаційних колон та гирлового обладнання.
Газові свердловини експлуатують лише фонтанним способом. Конструкція газових свердловин, їх освоєння, обладнання устя та вибою, регулювання дебіту мають багато спільного з нафтовими фонтанними свердловинами. Конструкція газових свердловин залежить від величини пластового тиску, характеристики пласту, наявності або відсутності водоносних горизонтів, від характеристики порід і властивостей газу.
Як правило, в експлуатаційні колони газових свердловин спускають фонтанні НКТ, через які газ надходить на поверхню. Гирло газових свердловин обладнують фонтанними арматурами.
При експлуатації газових свердловин дуже важливе значення має вибір оптимального технологічного режиму роботи газової свердловини. Під технологічним режимом експлуатації газових свердловин розуміють режим, при якому підтримується певне співвідношення між дебетом свердловини та вибійним тиском. Він повинен забезпечувати отримування максимально можливого дебіту при мінімальній витраті пластової енергії. Під час видобутку газу використовують єдину газодинамічну зв’язану систему: пласт–
свердловина–газопровід–споживач.
Особливості експлуатації обводнених газових
свердловин
В роботі обводнених газових свердловин можна виділити чотири періоди. Перший період – безводний. В другому періоді відбувається накопичення протікаючої води в стволі спочатку без виносу її на поверхню, а потім з виносом її на поверхню у вигляді диспергованих краплин потоком газу. Третій період характеризується тим, що скільки води притікає в свердловину, стільки ж її виноситься на поверхню. При цьому в стволі знаходиться певний об’єм накопиченої води. По мірі виснаження свердловини, відбувається зменшення або дебіту газу, або вибійного тиску. Умови для виносу води погіршуються, наступає четвертий період, який характеризується новим прискореним накопиченням води в стволі свердловини переходить на режим нульової подачі. Так, як при цьому притік води продовжується, то свердловина заливається водою і припиняє роботу. Наступає
„само глушіння” свердловини водою. Експлуатація таких свердловин поділяється умовно на два методи: зменшення надходження води в свердловину та способом звільнення стволу від води.
Зменшення надходження води в свердловину досягається регулюванням потоків в пласті, ізоляцією свердловини від надходження пластової води, обмеженням відбору газу до виключення надходження води із пласту.
Звільнювати ствол свердловини від води можна шляхом підйому її на поверхню або подачі в поглинаючий пласт. Найбільшого використання із всіх способів вилучення води отримав фізико - хімічний спосіб – введення в свердловину ціноутворюючих поверхнево – активних речовин в рідкому вигляді. Також широко розповсюджена продувка свердловин.
В умовах обводнення експлуатується достатньо вагома кількість свердловин, причому в останні часи їх кількість збільшується
Отже, чим більш досконалі будуть способи видобутку нафти та газу, тим ефективніша буде діяльність нафтогазовидобувної промисловості.
Використана література
1. Акульшин А.И., Бойко В.С., Зарубин Ю.А. Експлуатация нефтяных и газовых скважин – Москва: Недра, 1989.
2. Бойко В.С. Довідник з нафтогазової справи – Львів 1996.
3. Гвоздев Б.П. Експлуатация газових залежей – Москва: Недра, 1988.
4. Коротаєв Ю.П., Шировський А.І. Добуток, транспорт та підземне зберігання газу – Київ, 1997.
5. Щуров В.И. Технология и техника добычи нефти – Москва: Недра, 1983.
|