ВОЕННАЯ АКАДЕМИЯ СВЯЗИ
Курсовой проект
по дисциплине “Организация ЭВМ и систем”.
“Программирование контроллера приёма, задержки и выдачи информации ”.
Выполнили: мл.сержант 4382 уч.гр.
Москвичёв К.С.
курсант 4382 уч.гр.
Мухамадеев Т.В.
Проверил: преподаватель каф.20
Ладис Д.И.
Санкт-Петербург 2011г.
1.
Задание.
Контроллер по запросу от управляемого объекта должен вызвать подпрограмму приёма в параллельном или последовательном коде N-байтов управляющего сообщения, в котором указывается произвольный управляющий шеснадцатиричный код, и записать его в модуль оперативной памяти. Затем перейти к подпрограмме временной задержки, реализуемую таймером. После истечения заданного времени задержки контроллер должен перейти к подпрограмме выдачи N-байтов принятого и задержанного управляющего сообщения в последовательном или параллельном коде в управляемый объект. Способ приёма и выдачи управляющей информации, время задержки указываются в варианте проекта.
Вариант № 6.
Порт приёма : 1a1a2a4c4
Таймер: 2Cч
2б2б7б10т15
Порт выдачи: 3в1в9в12в13в15в19
2.
Цели проекта.
1. Разработать функциональную схему контроллера на основе БИС микропроцессорного комплекса 580 серии.
2. Разработать программу работы модулей (БИС) проектируемого контроллера.
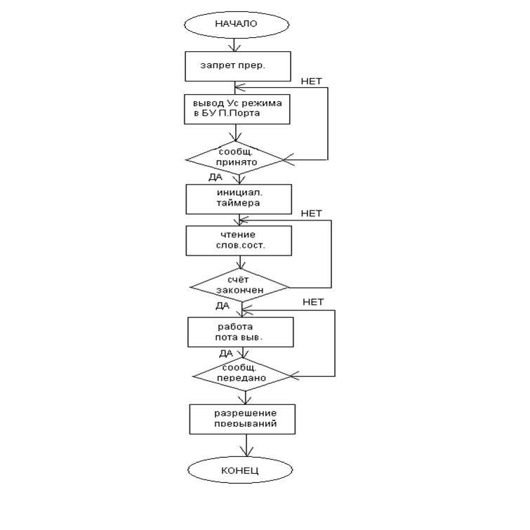
3. Блок схема алгоритма работы контроллера

Вычисление УС параллельного порта и слова для сравнения, время задержки для таймера, УС1
УС2
для таймера, УСреж. последовательного порта, УСком. последовательного порта.
Параллельный порт производит приём байтов в режиме 0 по каналу А с единичным значением по 4-му разряду канала С.
УС 0-го режима параллельного порта
| D7 |
D6 |
D5 |
D4 |
D3 |
D2 |
D1 |
D0 |
| 1 |
0 |
0 |
1 |
1 |
0 |
0 |
1 |
D7- признак УС1
D6,D5 – режим 0 канала А
D4 – ввод по каналу А
D3 – ввод старших разрядов канала С
D2 – режим 0 канала В
D1 – режим ввода по каналу В
D0 – ввод младших разрядов канала С

- Управляющее слово параллельного порта = 99H
.

- Слово для сравнения = 10H
.
УС режима работы таймера
| D7 |
D6 |
D5 |
D4 |
D3 |
D2 |
D1 |
D0 |
| 1 |
0 |
0 |
0 |
0 |
0 |
1 |
0 |
D7,D6 – номер счётчика
D5,D4 – запись младших и старших байтов Ксч
D3,D2,D1 – режим 1
D0 - 16-тиричная система

- УС режима работы таймера = 82H
| D7 |
D6 |
D5 |
D4 |
D3 |
D2 |
D1 |
D0 |
| 1 |
1 |
1 |
0 |
1 |
0 |
0 |
0 |
D7,D6 – команда READBACK
D5,D4 – считывание СС
D3,D2,D1 – по второму счётчику
D0 – безразлично(не используется)

- УС состояния таймера = Е8H
Определение Ксч
=
Tзадержки
х
Fработы.сч
15х10-3
с х 2х106
Гц=30х103
раз.

- задержка 7530H
УС режима последовательного порта
| D7 |
D6 |
D5 |
D4 |
D3 |
D2 |
D1 |
D0 |
| 1 |
1 |
1 |
1 |
1 |
1 |
1 |
1 |
D7,D6 – асинхронный режим с длительностью стоп бита 2Тх
D5 – контроль по чету
D4 – наличие контроля
D3,D2 – длинна символа 8-ми разрядов
D1,D0 – скорость передачи данных 1-64

- УС режима последовательного порта = FFH
УС команды последовательного порта
| D7 |
D6 |
D5 |
D4 |
D3 |
D2 |
D1 |
D0 |
| 0 |
0 |
0 |
1 |
0 |
1 |
0 |
1 |
D7 – ввод режима поиска синхросимволов отменён (ЕN
)
D6 – программный сброс адаптера (IR
)
D5 – запрос готовности приёмника БУ принять данные (RTS)
D4 – сброс ошибок в СС (ЕR
)
D3 – формирование низкого уровня на входе TxD
D2 – запрет приёмника (RxEN)
D1 – нет запроса готовности БУ выдать данные в порт
D0 – передача разрешения

- УС команду последовательного порта = 15H
5.Программа работы контроллера
| АДРЕС
|
КО
|
КОММЕНТАРИЙ
|
| Работа порта приёма
|
| 0А00 |
F3 |
запрет прерываний. |
| 0А01 |
06 |
(В2)-рег.(В) MVI B |
| 0А02 |
05 |
количество байт инф. принимаемых в порту. |
| 0А03 |
16 |
(В2)-рег.(D) MVID |
рег DE содержат адрес ОП куда надо записать данные |
| 0А04 |
OB |
старший разряд адреса ячейки памяти. |
| 0А05 |
1E |
(В2)-рег.(Е) MVI E |
| 0А06 |
FF |
младший разряд адреса ячейки памяти. |
| 0А07 |
3E |
MVIA (следующий байт в аккумулятор) |
загр. В аккум УС парал.порта |
| 0А08 |
99 |
УС реж. параллельного порта |
| 0А09 |
D3 |
OUT (вывод УС из аккум. В БУ) |
загр. УС из аккум. в БУ парал.порта |
| 0А0А |
9B |
БУ пар.порта |
| 0А0В |
DB |
IN (загрузка содержимого канала С в аккум) |
цикл проверяющий готовность порта принимать информацию если 4-ый разряд канала С 1- готов
0-не готов.
|
| 0А0С |
9A |
адрес канала С |
| 0А0D |
E6 |
ANI (поразрядная конъюнкция) |
| 0A0E |
10 |
выделение 4-го разряда |
| 0A0F |
CA |
JZ (A==0 ―› переход (В3 В2)) |
условный переход |
| 0A10 |
OB |
L-младший байт перехода. |
| 0A11 |
OA |
H-старший байт перехода. |
| 0A12 |
DB |
IN (загрузка аккум. из В2) |
загрузка содерж. рег. В2 по кан. А в аккум |
| 0A13 |
98 |
адрес канала А |
| 0A14 |
12 |
STAX (A) ―›M по адр. в паре регистров (E)(D) |
| 0A15 |
05 |
DCRB (B)-1 |
уменьшение на 1 адресов ОП рег. В Е |
| 0A16 |
1D |
DCRE (E)-1 |
| 0A17 |
F8 |
MOVA,B для сравнения (В) ―›(А) |
сод. рег.В помещ. в аккум для послед ср. |
| 0A18 |
C2 |
JNZ (A≠0 ―› переход на В3 В2) |
условный переход |
| 0A19 |
OB |
L-младший байт перехода |
| 0A1A |
0A |
H-старший байт перехода |
| 0A1B |
C3 |
JMP―›B3B2 |
безусловный переход на таймер |
| 0A1C |
00 |
L-младший байт перехода |
| 0A1D |
08 |
H-старший байт перехода |
| Работа таймера
|
| 0800 |
3E |
MVI A |
загрузка в аккум. УС1
таймера |
| 0801 |
82 |
УС1
таймера |
| 0802 |
03 |
OUT |
вывод УС1
в БУ таймера |
| 0803 |
72 |
адрес БУ таймера |
| 0804 |
3E |
MVIA |
загрузка данных по задержке в СЧ2
|
| 0805 |
0C |
младший байт задержки |
| 0806 |
D3 |
OUT |
| 0807 |
71 |
адрес СЧ2
|
| 0808 |
3E |
MVI A |
| 0809 |
10 |
старший байт задержки |
| 080А |
D3 |
OUT |
| 080В |
71 |
адрес СЧ2
|
| 080C |
3E |
MVI A |
загрузка в таймер УС2
для считывания СС |
| 080D |
E8 |
УС2
счётчика для считыв. СС |
| 080E |
D3 |
OUT |
| 080F |
72 |
адрес БУ таймера |
| 0810 |
DB |
IN |
загрузка СС из БУ в аккумулятор |
| 0811 |
72 |
адрес БУ таймера |
| 0812 |
E6 |
ANI (поразрядная конъюнкция) |
проверка окончания счёта 1-кон. 0-не конец |
| 0813 |
40 |
выделение 6-го разряда |
| 0814 |
CA |
JZ (A==0 ―› переход (В3 В2)) |
сравнение аккум. с 0 если 0-переход 1-дальше. |
| 0815 |
10 |
L-адр.перехода |
| 0816 |
08 |
H-адр.перехода |
| 0817 |
C3 |
JMP |
безусловный переход на порт выдачи |
| 0818 |
00 |
L-адр.задержки |
| 0819 |
09 |
H- адр.задержки |
| Работа порта выдачи
|
| 0900 |
06 |
MVI B |
загрузка в параллельный порт управляющего слова режима и управляющего слова
команды
|
| 0901 |
05 |
кол-во байт информации |
| 0902 |
1E |
MVI E |
| 0903 |
FF |
L разряда вдреса |
| 0904 |
3E |
MVI A |
| 0905 |
FF |
УСреж. П-
|
| 0906 |
D3 |
OUT |
| 0907 |
81 |
адресБУП-
|
| 0908 |
3E |
MVI A |
| 0909 |
15 |
УСком. П-
|
| 090A |
D3 |
OUT |
| 090B |
81 |
адресБУП-
|
| 090C |
1A |
LDAX D,E |
вывод информации в порт |
| 090D |
D3 |
OUT |
| 090E |
81 |
адресбуфера данныхП-
|
| 090F |
05 |
DCRB (код кол-ва байт) |
уменьшение В-1 Е-1 |
| 0910 |
1D |
DCRE (мл. разряд адреса в ОП) |
| 0911 |
78 |
MOVA,B (из В в аакум.) |
згр. из В в аккум |
| 0912 |
C2 |
JNZ (A≠0) ―› перех. на В3В2 |
условный переход если А≠0 переход если А=0 след. ком.
|
| 0913 |
0C |
L (мл.адрес перехода) |
| 0914 |
09 |
H (ст.адрес перехода) |
| 0915 |
F8 |
Е1 (разрешение прерываний) |
| 0916 |
76 |
HTL (останов) |
6. Схема контроллера.

7.Вывод:
Мы практически разработали функциональную схему контроллера на основе БИС микропроцессорного комплекса 580 серии и программу работы модулей проектируемого контроллера, который должен по запросу от управляемого объекта вызвать подпрограмму приёма в параллельном или последовательном коде N-байтов управляющего сообщения, в котором указывается произвольный управляющий шеснадцатиричный код, и записать его в модуль оперативной памяти. Затем перейти к подпрограмме временной задержки, реализуемую таймером. После истечения заданного времени задержки контроллер должен перейти к подпрограмме выдачи N-байтов принятого и задержанного управляющего сообщения в последовательном или параллельном коде в управляемый объект. Способ приёма и выдачи управляющей информации, время задержки указываются в варианте проекта.
Таким образом, проделав данную работу мы практически применили наши знания о модулях микропроцессорной ЭВМ. Закрепили знание команд микропроцессора В580ВМ80. Полностью разобрались с принципами составления управляющих слов портов ввода-вывода и таймера.
|