Организация платных мед.услуг в г.Болотное
Введение
Актуальность. Происходящие в последние 10 лет стремительные изменения в политическом устройстве и экономике страны привели к созданию новых условий, в которых приходится функционировать учреждениям российского здравоохранения. Эти условия определяются стихийным характером преобразований, резким ростом стоимости медицинских услуг для населения, дефицитом государственного финансирования, потерей одного из важнейших преимуществ советского здравоохранения - доступности медицинской помощи, равной для всех групп населения, и очевидными доказательствами несоответствия в целом оказываемой помощи современному уровню, существующему в экономически развитых странах. Проблемы российского здравоохранения широко обсуждаются не только в отечественной, но и в зарубежной печати.
В настоящее время медицинские учреждения обрели статус юридических лиц со всеми правами и обязанностями, характерными признаками которых является наличие в собственности, хозяйственном ведении или оперативном управлении обособленного имущества, наличие самостоятельного баланса.
Кроме того кардинально поменялся сам принцип финансирования медицинского учреждения. Если раньше финансировалось само учреждение независимо от объема выполненных работ, то в условиях рыночных отношений оплачивается стоимость оказанной медицинской услуги.
Таким образом, медицинские учреждения стали участниками гражданского оборота, правовое положение которых определяется Гражданским кодексом РФ.
Объект и предмет исследования. Объектом исследования является процесс предоставления платных медицинских услуг. Предметом исследования является создание предприятия по оказанию услуг в области лечебного и профилактического массажа.
Цель исследования. Целью исследования является разработка теоретических и практических аспектов создания предприятия по оказанию услуг в области лечебного и профилактического массажа.
Гипотеза. При организации предоставления платных медицинских массажных услуг возможно использовать не покупные массажеры, а массажеры, изготовленные руками детей в рамках уроков трудовой дисциплины. Это позволить значительно сократить расходы на покупку инвентаря и позволить снизить себестоимость массажных услуг.
Задачи исследования. Для достижения поставленной цели в работе необходимо решить следующие задачи: рассмотреть теоретические аспекты предпринимательской деятельности в здравоохранении; разработать бизнес-план по созданию массажного кабинета; рассмотреть аспекты управления персоналом массажного кабинета; рассмотреть обеспечение условий и организации труда в массажном кабинете.
Метод исследования. Методами исследования являлись: изучение и анализ литературы по правилам и особенностями предоставления платных медицинских услуг, изучение технологии изготовления ручных массажеров, экономический анализ, сравнительный анализ.
Новизна. Массажеры в качестве инвентаря для массажа при предоставлении платных медицинских услуг, изготовленные руками детей в рамках уроков трудовой дисциплины, используются впервые.
Теоретической и методологической основой для работы послужили труды отечественных и зарубежных авторов: И.Т. Балабанова, В. Беренса, Л.П. Куракова, И.А. Иванниковой, В.М. Попова, В.А. Горемыкина, М.Ш. Левина, А.А. Сергеева, Э.А. Уткина и др. Информационной базой работы послужили законодательные и нормативные акты РФ.
Структура дипломной работы. Дипломная работа состоит из трех глав, введения, заключения и библиографии.
Во введении обосновывается актуальность темы, формулируются цели, задачи, предмет, объект, гипотеза, а также характеризуются приемы и методы исследования, определяется новизна.
Первый раздел содержит обзор литературы, концептуальную, методологическую и методическую оценку изучаемой проблемы. В ней рассматриваются основные теоретические положения выбранной темы, проводится анализ различных подходов, формулируется собственный взгляд на изучаемую проблему.
Второй раздел представляет технологическую часть работу, где рассматривается технология изготовления ручных массажеров в рамках школьной трудовой дисциплины.
В третьей разделе проведено обоснование бизнес-плана по организации массажного кабинета.
В четвертом разделе представлена методическая разработка уроков основам экономики в начальной школе.
В работе имеется 3 приложения, 2 иллюстрации, 13 таблицы, библиографический список содержит 26 наименований источников. Общий объем дипломной работы составляет 74 страницы.
Глава I. Особенности предпринимательской деятельности в здравоохранении
1.1 Сущность и принципы организации предпринимательской деятельности
Под предпринимательством, или предпринимательской деятельностью, понимают инициативную самостоятельную деятельность граждан и их объединений, осуществляемую на свой риск и под свою имущественную ответственность, направленную на получение прибыли.
За словом «предпринимательство» стоит предприятие, производство продукта (полезной вещи) или услуги (невещественного продукта). Часто предпринимательскую деятельность называют бизнесом.
Предпринимательская деятельность представляет собой совокупность последовательно или параллельно осуществляемых сделок, каждая из которых ограничена сравнительно непродолжительным, четко очерченным временным интервалом. [18, c. 66]
При этом под сделкой понимается основанное на письменном договоре или устном соглашении взаимодействие двух или нескольких хозяйствующих субъектов в интересах получения взаимной выгоды. Гражданский кодекс РФ определяет сделку следующим образом: «Сделками признаются действия граждан и юридических лиц, направленные на установление, изменение или прекращение гражданских прав и обязанностей». Предпринимательство - это деятельность, направленная на получение прибыли путем создания и реализации определенной продукции или услуг. Предпринимательство может осуществляться лишь в условиях рыночной экономики. Основные характеристики, компоненты предпринимательства регламентированы Гражданским Кодексом (ГК) РФ. [4]
Предпринимательская деятельность (предпринимательство) представляет собой инициативную самостоятельную экономическую деятельность граждан и их объединений, направленную на получение прибыли или дохода. При этом имеется в виду не просто получение какой-то массы прибыли, а получение такой ее величины, которая позволит предприятию развиваться нормальными темпами.
Содержание предпринимательской деятельности можно иллюстрировать следующей формулой, отражающей процедуру увеличения получаемых средств или дохода:
Д-Т ... П ... Т*-Д* (1.1)
где:
Д - объем первоначального капитала;
Т - стоимость приобретенных основных фондов и оборотных средств, рабочей силы;
П - производство продукции (товара) или услуг;
Т* - вновь произведенные товары, обладающие большей стоимостью;
Д* - сумма денег, полученная за проданный товар.
Предпринимательская деятельность возможна, если на длительный период обеспечено условие:
Д*>Д
Основные принципы предпринимательства представлены в таблице 1.1.
Таблица 1. 1 - Основные принципы предпринимательства [12, c. 63]
| Наименование принципа |
Сущность принципа |
| 1 |
2 |
| добровольность |
привлечение на добровольных началах для ведения предпринимательской деятельности имущества и денежных средств физических и юридических лиц |
| самостоятельность |
самостоятельное формирование программы своей деятельности, самостоятельный выбор поставщиков и потребителей производимой продукции, установление цен в соответствие с законодательством;
самостоятельный найм и увольнение работников согласно законодательству;
самостоятельное осуществление внешнеэкономической деятельности
|
Продолжение табл. 1.1
| Свобода |
свободное привлечение в своей деятельности любых необходимых ресурсов (материальных, трудовых, природных, финансовых), за исключением видов, запрещенных законодательством РФ;
свободное распоряжение чистой прибылью
|
Законодательство о предпринимательстве предусматривает возможность осуществления предпринимательской деятельности с использованием средств производства, имущества, ценностей, как самим их собственником, так и другим субъектом, управляющим его имуществом на праве хозяйственного ведения, предоставленном собственником.
В Приложении А представлена сравнительная характеристика организационно-правовых форм, предусмотренных действующим законодательством при создании нового предприятия. Можно отметить, что наиболее распространенной формой, а также наиболее простой в регистрации с точки зрения законодательства является Общество с ограниченной ответственностью, под которым понимается учрежденное одним или несколькими физическими и (или) юридическими лицами хозяйственное общество, уставной капитал которого разделен на доли определенных учредительными документами размеров (ООО). [10, c. 82]
Секрет ее популярности в диспозитивности действующего законодательства РФ в лице, прежде всего ГК РФ и Закона об обществах с ограниченной ответственностью.
Во-первых, закон не запрещает в уставе общества устанавливать максимальный размер доли участника общества, что позволяет ограничить возможность сосредоточения большей части уставного капитала в одних руках и изменения соотношения долей участников общества.
Во-вторых, денежная оценка не денежных вкладов в уставной капитал общества, утверждается единогласным решением участников общества. И если только номинальная стоимость доли участника общества, оплачиваемой не денежным вкладом, составляет более двухсот минимальных размеров оплаты труда (из расчета 1 МРОТ для этих целей – 100 руб.: 20 000 рублей), такой вклад должен оценивать независимый оценщик. При минимальном размере уставного капитала в 100 МРОТ (т.е. 10 000) большой перечень имущества может быть внесен без необходимости привлечения оценщика: компьютер, копировальный аппарат, мебель и т.д. Это упрощает и удешевляет стоимость открытия ООО.
В-третьих, продажа или уступка иным образом участником общества своей доли (части доли) третьим лицам допускается, если это не запрещено уставом общества – такие запреты могут быть установлены против не только продажи, но и мены, дарения. Фактически, такой запрет направлен против увеличения числа или (и) смены участников общества. Может быть предусмотрен не запрет, а обязанность участника получить согласие общества или всех остальных участников на передачу доли названными способами. Это касается наследников граждан и правопреемников юридических лиц, являвшихся участниками общества.
В-четвертых, участник общества вправе в любое время выйти из состава. Никто не может ограничить это право участника общества. Все договоренности о таких запретах не имеют силы.[14, c. 44]
В-пятых, к положительным моментам относится более упрощенная по сравнению с АО система управления обществом: например, для директора уставом общества может быть предусмотрено, что для совершения крупных сделок не требуется решения общего собрания участников общества и совета директоров (наблюдательного совета) общества, в обязанности общества не входит создание резервного фонда, в обществах с числом до 15 участников можно не образовывать ревизионную комиссию (не избирать ревизора) и т.д.
1.2 Предпринимательская деятельность в здравоохранении, принципы и правовые аспекты
В Российской Федерации медицинскую предпринимательскую деятельность могут осуществлять юридические лица - коммерческие предприятия различных организационно-правовых форм (открытые и закрытые акционерные общества, общества с ограниченной ответственностью, общества с дополнительной ответственностью и т.п.), а также некоммерческие организации (учреждения, общественные и религиозные организации (объединения), фонды, ассоциации и союзы и др.) в той мере, поскольку это необходимо для достижения их уставных целей и задач - и физические лица - граждане, зарегистрированные в качестве лиц, занимающихся предпринимательской деятельностью без образования юридического лица (индивидуальные предприниматели, иными словами – частнопрактикующие врачи). [24, c. 162]
Особенности предпринимательской деятельности в сфере медицинского бизнеса связаны со следующими обстоятельствами:
1) Медицинская деятельность имеет своим объектом такие особо ценные нематериальные блага как здоровье и жизнь человека, и неблагоприятный результат лечения может привести к тяжелым последствиям для пациента.
2) Медицинская сфера является предметом особого внимания государства и в значительной мере регулируется ведомственно – отраслевыми административными установлениями – инструкциями, методическими указаниями Министерства здравоохранения РФ, региональных комитетов здравоохранения, Федерального фонда обязательного медицинского страхования (ОМС).
3)Значительную роль в медицине играют профессиональные стандарты, врачебный опыт, квалификация и специализация лица, непосредственно оказывающего медицинскую услугу.
4) Медицинская деятельность, за исключением отдельных случаев, связанных с экстренным вмешательством в целях предотвращения неблагоприятного исхода, по своему правовому содержанию является оказанием общественно – значимых услуг. Медицинская услуга представляет собой осуществление мероприятий или их комплекса, направленных на профилактику заболеваний, их диагностику и лечение, имеющих самостоятельное значение и определенную стоимость.
5) Отношения между производителем и получателем медицинской услуги, как правило, имеют договорную природу, но различаются источником финансирования, то есть в том случае, если услуга оказывается для гражданина бесплатно, имеют место отношения по договору в пользу третьего лица, при которых плательщиками являются фонд обязательного медицинского страхования, муниципальное образование или государство, а потребитель выступает в качестве выгодоприобретателя. При этом на потребителя услуги распространяется законодательство о защите прав потребителей.
6) Субъектами отношений по поводу оказания медицинских услуг выступают, с одной стороны – лицо, оказывающее такие услуги, имеющее необходимые профессиональные знания и навыки, подтвержденные соответствующими документами, с другой - физическое лицо – потребитель, нуждающийся в получении соответствующей услуги.
7) Медицинское вмешательство, имеющее целью достижение блага для здоровья, может породить сопутствующие проблемы. Например, применение некоторых медикаментов, методов лечения или диагностики создает побочные неблагоприятные эффекты. В связи с этим, особую роль приобретает информирование получателя услуги обо всех как благоприятных, так и возможных неблагоприятных последствиях, связанных с оказанием услуги и согласие пациента на медицинское вмешательство.
8) В медицине большую сложность представляет определение и квалификация причин неблагоприятного исхода, определение меры ответственности лица, оказавшего услугу. Вред здоровью в связи с медицинским вмешательством может наступить по причине позднего обращения получателя услуги к врачу, симуляции, несчастного случая, неизлечимости патологии средствами современной медицины, невыполнения пациентом рекомендаций и иных причин, не связанных непосредственно с виной врача.
9) В отличие от работ и иных услуг, результат которых материализуется в созданных или измененных вещах, медицинская услуга, как правило, характеризуется отсутствием осязаемого результата, и более того ожидаемый результат может вообще полностью отсутствовать, при абсолютно надлежащем исполнении. Множество медицинских услуг имеет большую стоимость и (или) уникальный характер. В связи с этим сложную проблему представляет оценка качества оказываемых медицинских услуг
10) Самостоятельным направлением медицинской деятельности является народная медицина. С частной медицинской деятельностью тесно связана фармацевтическая деятельность, также требующая лицензирования.
Складывающиеся в Российской Федерации в последние годы рыночные отношения в сфере оказания медицинских услуг, то есть появление новых видов возмездных медицинских услуг, а также перевод многих бесплатных ранее видов медицинской помощи на платную основу, привели к необходимости появления новых форм регулирования возникающих в связи с этим отношений, использующих как правовые, так и иные методы. [27, c. 60]
Рассмотрим нормативно-правовую базу, регулирующую частную медицинскую практику в Российской Федерации.
Деятельность врачей частной практики в Российской Федерации регламентирована лишь частично Основами законодательства Российской Федерации об охране здоровья граждан (ст.56). Оказание платных медицинских услуг регламентируется постановлением Правительства РФ от 13.01.1996 г. N°27 «Об утверждении Правил предоставления платных медицинских услуг населению медицинскими учреждениями». [3]
Основу правовой среды бизнеса в России составляют Конституция РФ, кодексы, федеральные законы, Указы Президента Российской Федерации, постановления и распоряжения Правительства Российской Федерации, акты министерств и ведомств (постановления, распоряжения, инструктивные письма, инструкции, приказы, разъяснения, указания и т. п.), акты субъектов Российской Федерации и органов местного самоуправления. Основные акты гражданского права представляют основу для развития специальной нормативной базы, способствующей в сочетании с формированием новых правовых институтов становлению и развитию рыночных отношений.
Действующая в настоящее время Конституция Российской Федерации, принятая всенародным голосованием 12 декабря 1993 г., закрепляет фундаментальные основы социально-экономического устройства общества. В ней признается существование многообразия форм собственности (государственной, муниципальной, частной, иных форм), их равная защита со стороны государства. Нормальное существование разнообразных форм собственности предполагает свободное перемещение товаров, услуг и финансовых средств, поддержку конкуренции, свободу экономической деятельности. Конституция РФ закрепляет и гарантирует гражданские права и свободы, в том числе право на частную собственность, имущество, свободное использование своих способностей и имущества для предпринимательской и иной, не запрещенной законом экономической деятельности. Российская Федерация в соответствии с Конституцией имеет единую денежную и кредитную системы, единый государственный бюджет и единую систему налогов. [16, c. 27]
Гражданский кодекс Российской Федерации (ГК РФ) регулирует правовое положение участников гражданского оборота, отношения между лицами, осуществляющими предпринимательскую деятельность, основания возникновения права собственности и других вещных прав, договорные и иные обязательства, имущественные и неимущественные отношения, основанные на равенстве, автономии воли и имущественной самостоятельности их участников.
Часть первая Гражданского кодекса (введена в действие с 1 января 1995 г.) определяет основания возникновения гражданских прав и обязанностей, способы их осуществления и защиты. Здесь даются определения понятий физического и юридического лица, предпринимательской деятельности, индивидуального предпринимателя, предприятия, его организационно-правовой формы, правоспособности и дееспособности, общие положения об обязательстве и договоре.
Часть вторая Гражданского кодекса Российской Федерации (введена в действие с 1 марта 1996 г.) является логическим продолжением части первой ГК РФ, развивает конкретные правила об отдельных видах договоров и внедоговорных обязательствах, возникающих в связи с проведением конкурса, причинением вреда и неосновательным обогащением. [4]
Гражданский кодекс определяет основания возникновения и особенности организации предприятий, их основные организационно-правовые формы: хозяйственные товарищества (полное товарищество, товарищество на вере, а также простое и негласное товарищество), хозяйственные общества (общество с ограниченной ответственностью, общество с дополнительной ответственностью, акционерное общество), производственные кооперативы, государственные и муниципальные унитарные предприятия. Порядок создания и деятельности предприятий отдельных организационно-правовых форм регулируется дополнительно особыми федеральными законами. [5,c. 180]
Здесь же следует отметить такую немаловажную сторону медицинской практики, как ответственность предпринимателей на рынке медицинских услуг за нарушение правил ведения предпринимательской деятельности. [14, c. 187]
Следует помнить, что за нарушения правил ведения предпринимательской деятельности могут быть применены не только меры финансовой и налоговой ответственности к организации, но и уголовной - к руководителю. В соответствии со статьей 34 Конституции РФ любой гражданин РФ вправе заниматься предпринимательской и иной незапрещенной законом экономической деятельностью. [1]
Для того, чтобы вести предпринимательскую деятельность, необходимо зарегистрироваться в соответствующем государственном органе и получить свидетельство о регистрации, а если нужно (в случаях, установленных законом), то и лицензию. В противном случае деятельность лиц (которая при наличии регистрации и лицензии могла бы быть признана предпринимательской) классифицируется как незаконное предпринимательство.
Уголовная ответственность за осуществление предпринимательской деятельности без регистрации или без лицензии предусмотрена статьей 171 Уголовного кодекса РФ. [7, c. 28]
Лицо, осуществляющее предпринимательскую деятельность без лицензии или с нарушением условий и требований, указанных в лицензии, может быть привлечено к уголовной ответственности, если одновременно: нарушены условия лицензирования; причинен крупный ущерб или извлечен доход в крупном размере; установлено, что крупный ущерб или доход в крупном размере возник именно из-за нарушения условий лицензирования
1.3 Правила предоставления платных медицинских услуг
Платные медицинские услуги осуществляются в рамках действия лицензии на медицинскую деятельность и договора с гражданами на оказание медицинских услуг.
Предоставление медицинских услуг населению осуществляется врачом при наличии у него сертификата специалиста и лицензии на медицинскую деятельность.
Врач обязан обеспечить соответствие предоставляемых платных медицинских услуг населению требованиям к методам лечения, разрешенным к применению в установленном законом порядке.
Врач обязан предоставить пациенту бесплатную, доступную, достоверную информацию:
- о режиме работы;
- о перечне платных медицинских услуг с указанием их стоимости;
- об условиях предоставления и получения этих услуг;
- о квалификации специалиста;
- о степени безопасности для здоровья пациента в результате использования лечебных методик и процедур (в т.ч. их отдаленных последствий).
Предоставление платных медицинских услуг оформляется договором, которым регламентируются условия и сроки их получения, порядок расчетов, права, обязанности и ответственность сторон. [17, c. 25]
Потребители, получающие платные медицинские услуги, вправе требовать предоставления услуг надлежащего качества, сведений о наличии: лицензии на медицинскую деятельность; сертификата специалиста; санитарной книжки у медицинского работника; калькуляции стоимости оказанной услуги.
Потребители обязаны:
- оплатить стоимость услуги;
- неукоснительно выполнять предписания врача, обеспечивающие качественную медицинскую помощь;
- предоставлять необходимые для диагностики и лечения достоверные сведения.
Врач несет ответственность перед пациентом за неисполнение или ненадлежащее исполнение условий договора, а также, в случае причинения вреда здоровью и жизни потребителя, если выше указанное не связано с форс-мажорными обстоятельствами или действиями самого больного.
Пациент вправе предъявлять требования о возмещении убытков, причиненных неисполнением условий договора, возмещении ущерба в случае причинения умышленного вреда его здоровью и жизни, а также компенсации за причинение морального вреда в соответствии с установленным законом порядке и настоящими правилами.
Время оказания медицинских услуг устанавливается врачом и согласуется с пациентом. В случае нарушения пациентом установленных требований и неявки на прием (в том числе явки в неустановленное время или в нетрезвом состоянии), выплаченные пациентом суммы не подлежат возврату. Претензии и споры, возникающие между пациентом и врачом, разрешаются по соглашению сторон или судом в соответствии с установленным законом порядке.
Глава II. Технология изготовления ручного массажера для ног
Массажер - это простой прибор, оказывается, полезен для большинства современных людей, которые очень редко ходят босиком и занимаются в основном сидячей работой.
Массажеры используются как вспомогательные механические средства для всех видов профессионального массажа: классического, сегментарного, соединительнотканного, точечного, а также спортивного, косметического и корректирующего фигуру.
Массажеры предварительно хорошо разогревают ткани и сохраняют силы массажиста.
Большие массажеры, благодаря существенному собственному весу, значительно быстрее вызывают гиперемию в массируемых тканях, в силу чего значительно сокращается предварительная стадия профессионального массажа и облегчается работа массажиста.
Малые массажеры рекомендуется применять при массаже головы, шеи при бессоннице и головных болях. Очень полезен косметический массаж лица малым массажером. Воздействие этих массажеров особенно приятное, теплое, деликатное. Такие массажеры рекомендуются детям, чувствительным, нервным людям в подавленном состоянии.
Если массаж проводится с лечебной целью, то профессиональные знания и опыт массажиста лучше любой инструкции определят методику использования массажеров для целенаправленного лечебного воздействия.
В настоящее время разработано целое семейство массажеров для профессионального массажа.
Важно также, что валики для этих массажеров изготовлены из материала, известного своим лечебным воздействием - эбонита - биологически приемлемого для человеческого тела и экологически чистого.
Эбонит (от греч. ebenos - черное дерево), - твердый продукт вулканизации природного каучука, отличающийся высокими электроизолирующими свойствами, а также кислото- и щелочестойкостью. Эбонит при трении электризуется положительными зарядами. При скольжении эбонита по телу в поверхностных тканях создаются естественные отрицательные заряды статического электричества, которые активизируют биотоки, стимулирующие трофические функции клеток. В медицине известо электротерапевтическое воздействие эбонита на организм. [18, c. 126]
Применение массажеров с эбонитовыми валиками помимо собственно массажного воздействия дает хороший лечебный эффект при следующих заболеваниях:
- радикулиты ( массаж спины в поясничной области 10-15 минут);
- миозиты (массаж в области болезненности 10-15 минут, 5-7 процедур);
- онемения конечностей (ежедневный массаж области суставов в течение 10-15 дней, затем перерыв на 5-7 дней);
- запоры, колиты (массаж живота утром натощак круговыми движениями по часовой стрелке в течение 2-3 минут);
- бронхиты, астма, пневмония (массаж спины в области лопаток в течение 10-15 минут);
- при головных, зубных болях, респираторных заболеваниях, гриппе, гайморите и фронтите (массаж лица в направлении основных массажных движений 1 -2 раза в день в течение 15 минут).
Важно заметить, что эбонит "стареет" (зеленеет) на солнце, поэтому хранить массажеры следует в затемненном месте.
Использование массажеров:
- снимает усталость,
- улучшает кровообращение,
- устраняет мускульные боли,
- улучшает состояние позвоночника, устраняет боли в позвонках,
- повышает иммунитет, способствует увеличению продолжительности жизни,
- укрепляет симпатическую нервную систему, костномозговые клетки,
- активизирует работу всех внутренних органов,
- тренирует мышцы груди и живота,
- снижает содержание жировых отложений,
- улучшает состояние кожных покровов,
- предотвращает появление морщин,
- помогает при неврастении, люмбаго, невралгии.
По данным медицины, множество «болевых точек» ног сосредоточено именно на ступнях. Их массаж снимает усталость, восстанавливает здоровье, придает бодрость и повышает настроение.
Массажеры бывают разные и для разных видов массажа. Рассмотрим технологию изготовления массажера для ступней.
Массажер для ступней может состоять из рамки, внутри которой устанавливаются стальные прутки, а на них, как бусы, насаживаются деревянные ролики. Если ноги поставить на ролики и двигать ими, то ролики будут приятно массировать ступни. Изготовление массажера можно организовать в рамках уроков трудовой дисциплины в школе г. Болотного.
Массажер должен быть расположен горизонтально или наклонно, что позволит скатываться или бежать по нему, как по «бегущей» дорожке. Его также можно будет положить вместо коврика перед стулом.
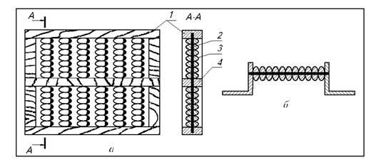
Рамку изготовляют из деревянных брусков (рис. 2.1, а) или металлических уголков (рис. 2.1, б). Чтобы прутки меньше прогибались, посредине надо установить продольный брусок-перемычку, и тогда на массажер можно будет становиться двумя ногами.

Рисунок 2.1 – Устройство массажера: а = с деревянной рамкой, б – с рамкой из металлического уголка; 1 – рамка из бруска, 2 – пруток, 3 – ролик, 4 - перемычка
Ролики вытачивают из плотной древесины на токарном станке. Их форма бывает круглой или овальной, гладкой или с зубчиками (рис. 2.2).
Ролики можно выточить и из пластмассы, но найти такие пластмассовые заготовки трудно, поэтому я выбираю деревянную конструкцию.

Рисунок 2.2 – Ролики круглой и овальной формы в разрезе
На чертеже, эскизе или рисунке должно быть изображено все необходимое для изготовления изделия, проставлены размеры, указаны материалы и т. д.
Поскольку изделие состоит из нескольких деталей, то для его изготовления необходим сборочный чертеж со спецификацией.
Необходимое оборудование, которое понадобится на изготовления массажера:
- токарный станок СТД-120М - предназначен для вытачивания цилиндрических поверхностей, торцевания и обрезки, внутреннего точения и сверления, обработки плоских поверхностей на планшайбе;
Технические характеристики станка представлены в табл. 2.1.
Таблица 2.1. - Технические характеристики станка СТД-120М
| ТЕХНИЧЕСКИЕ ХАРАКТЕРИСТИКИ |
СТД-120М |
| Наибольшая длина заготовки, (мм) |
500 |
| Максимальный диаметр обработки, (мм) |
240 |
| Число скоростей, (шт) |
2 |
| Частота вращения шпинделя, (об/мин): |
| - наибольшая |
2350/2050 |
| - наименьшая |
980/670 |
| Напряжение, (В) |
380(220) |
| Мощность, (квт) |
0,4 |
| Габариты, (мм) |
1250х575х550 |
| Масса, (кг) |
100 |
- станок ТВ-3. На станке выполняются следующие работы: токарная обработка, фрезерование, расточка, сверление, нарезание резьбы, шлифование и полирование, заточка инструмента.
Технические характеристики станка представлены в табл. 2.2.
Таблица 2.2. - Технические характеристики станка [22, c. 65]
Наибольший диаметр обрабатываемого изделия, мм - над станиной - над поперечными направляющими |
15090 |
| Наибольшая длина обрабатываемого изделия, мм |
400 |
| Частота вращения шпинделя, об/мин |
200-3200 |
| Количество ступеней частот вращения шпинделя |
9 |
| Шаг нарезаемых метрических резьб, мм |
0,2-2,5 |
| Наибольший диаметр сверления по стали, мм |
6 |
| Мощность, кВт |
0,37 |
| Габариты, мм |
840x410x375 |
| Масса станка без принадлежностей, кг |
85 |
В качестве материалов служат бруски из сосны.
Сосна — самый доступный материал, имеющий свои достоинства и недостатки.
Достоинства сосны как материала: невысокая стоимость, широкая распространенность, относительная легкость обработки. Недостатки: наличие смолы, невысокая твердость, неоднородность древесины по плотности и структуре.
Вспомогательные материалы: верстка, линейка, карандаш, угольник, ножовка поперечная, рубанок, стамески, кронциркуль, профильный резец, сверлильный патрон, сверло d 6,5 мм.
Для рамки надо подобрать бруски из сосны сечением 40-30 мм, выпилить по размерам и прострогать. На продольных брусках сверху закруглить (с радиусом 3–5 мм) острые кромки. Затем разметить и просверлить в брусках отверстия под прутки диаметром 6 мм, причем среднее просверлить насквозь, а наружные — на 20 мм. Выточить ролики продольным резцом и просверлить их насквозь на токарном станке.
Собрать массажер: вставить прутки и надеть ролики; скреплять бруски шурупами следует снизу, прикрепляя более тонкие поперечные бруски к продольным (отверстия под шурупы нужно просверлить предварительно).
Перед тем как приступить к изготовлению, нужно сделать чертежи и составить технологическую карту (табл. 2), где расписать все этапы работы. Однако по ходу пришлось вносить изменения в конструкцию и технологию. Пришлось отказаться от регулируемого наклона массажера. Испытания массажера показали, что крепление шурупами не обеспечивает твердую форму рамки: она дает перекосы, как на шарнирах. Места крепления шурупами пришлось склеить. Впредь следует рамку делать с жестким креплением. На поперечных брусках пришлось скруглить острые кромки, чтобы не порезать ступни ног. Это легче было бы сделать еще до сборки.
В целом массажер отвечает своему назначению, а в наклонном положении с него приятно скатываться.
Таблица 2.3 - Технологическая карта на изготовление массажера
| № п/п |
Операция |
Инструменты и оборудование |
| 1 |
2 |
3 |
| 1 |
Выбрать брусок 30 х 40 мм, разметить и выпилить детали: 3 шт. длиной 500 мм и 4 шт. длиной 390 мм; выстрогать их |
Верстка, линейка, карандаш, угольник, ножовка поперечная, рубанок |
| 2 |
Разметить и просверлить отверстия в продольных брусках под прутки: средний – насквозь, наружные – на глубину 20 мм (рис. 3)

|
Верстак, линейка, угольник, карандаш, шило, сверлильный станок, сверло d 6 мм |
| 3 |
Оцилиндровать на станке СТД- 120М березовый брусок 40 мм до d 35 мм. Выточить и высверлись ролики на станке ТВ-6 фасонным резцом

|
Школьный станок СТД-120М, стамески, кронциркуль, станок ТВ-6, профильный резец, сверлильный патрон, сверло d 6,5 мм |
| 4 |
Разметить прутки из проволоки d 6 мм, выправить их молотком и нарезать на длину 370 мм |
Верстак слесарный, линейка, плита правильная, молоток, ножовка по металлу, напильник |
| 5 |
Вставить прутки в средний брусок, надеть ролики; вставить прутки в наружные бруски; собрать рамку; разметить и высверлить в сборе отверстия под шурупы, ввинтить их |
Верстак столярный, молоток, линейка, карандаш, шило, сверлильный станок, сверла d 4,2 и 3,5 мм, отвертка |
Схематично процесс изготовления массажера можно представить на рис. 2.3.

Рисунок 2.3 – Схема изготовления массажера
Как видно из табл. 2.3, процесс изготовления массажера включает шесть основных операций.
1. Нужно выбрать брусок 30 х 40 мм, разметить с помощью угольника, линейки, карандаша и выпилить с помощью ножовки детали: 3 шт. длиной 500 мм и 4 шт. длиной 390 мм; выстрогать их с помощью рубанка);
2. Разметить с помощью линейки, угольника, шила и карандаша отверстия, высверлить их на сверлильном станке, используя сверло диаметром 6 мм) под прутки: средний – насквозь, наружные – на глубину 20 мм);
3. На станке СТД- 120М оцилиндровать березовый брусок, выточить с помощью станка ТВ-6 ролики
4. Разметить прутки из проволоки d 6 мм, выправить их молотком и нарезать на длину 370 мм
5. Вставить прутки в средний брусок, надеть ролики; вставить прутки в наружные бруски; собрать рамку; разметить и высверлить в сборе отверстия под шурупы, ввинтить их.
Затраты на изготовление массажера минимальные. Все деревянные части можно сделать из отходов древесины. Металлический пруток стоит 100 руб., 12 шурупов — 35 руб., т. е. всего 135 руб.
На изготовление массажера потребовалось:
— 7 брусков сечением 30-40 мм: длиной 500 мм (3 шт.) и длиной 390 мм (4 шт.);
— около 3 м бруска сечением 35-35 мм (на ролики, с учетом припусков на их закрепление в станке);
— металлический пруток: 370 мм - 10 = 3700 мм.
— 12 шурупов - 4 мм и длиной 50 мм.
Таким образом, себестоимость массажеров составляет: 135 рублей.
Изготовленные на уроках труда массажеры можно использовать для массажа в массажном кабинетах.
Глава
III. Бизнес-план создания массажного кабинета в г. болотное
3.1 Резюме
В данном разделе рассматриваете проект создания массажного кабинета в г. Болотное.
Инициатором бизнес-плана выступает ИП Белозерцев Н.С. В бизнес-плане рассматривается возможность организации массажного кабинета в ПЛУ г. Болотное.
Особенность представления массажных услуг является то, что предлагается не только мануальный массаж, но также и массаж с использованием ручных массажеров. Ручные массажеры изготовлены в рамках трудовой дисциплины и их применение вместо покупных значительно снижает себестоимость медицинской массажной услуги, что повышает конкурентоспособность услуги.
Стоимость одного сеанса массажа составляет 56,25 руб.
Годовой доход от реализации массажных услуг составляет 506297,5 руб.
Прибыль предпринимателя составляет 112517,5 руб.
Рентабельность проекта составляет 59,35 %.
Срок окупаемости проекта составляет 1,7 года.
3.2 Характеристика предприятия
Инициатор проекта – ИП Белозерцев Н.С. Индивидуальный предприниматель Белозерцев Н.С. зарегистрирован в качестве индивидуального предпринимателя 21 января 2006 года, что подтверждено свидетельством о регистрации № 11119, выданным регистрационными органами города Болотного.
Персонал организации состоит из 6 человек: директор (он же индивидуальный предприниматель), бухгалтер, 2 медсестры, секретарь, уборщица.
3.3 Актуальность разработки бизнес-плана
Массаж - одно из старейших лечебных средств, используемых человеком с далекой древности, проверен временем и тесно связан с культурой развития человечества.
Происхождение понятия массажа скрывается в глубине веков и до конца не известно.
Массаж с его составляющими (тактильными, механическими, психологическими) обладает многочисленными лечебными свойствами: гуморально- и лимфотрофическими, оксигенирующими, метаболическими, нейрорелаксирующими, иннервационномодифицирующими.
Итоговыми и результирующими свойствами массажа можно назвать два: снятие порочной «мышечной защиты» при болевом синдроме в целом и устранение дефанса паравертебральных мышц при дорсопатиях в частности формирование гармонично-структурного и эстетически совершенного мышечного корсета человеческого тела.
Покров человеческого тела, глубоко расположенные ткани (подкожная, клетчатка, мышцы, надкостница), а также внутренние органы образуют единое функциональное целое. Кожный покров находится в непосредственном соприкосновении с внешней средой и активно участвует в жизнедеятельности организма. Это огромное рецепторное поле. В коже содержатся нервные волокна и их окончания, сосуды, мышцы, потовые и сальные железа и другие образования. Чистая, здоровая кожа участвует в дыхании, кровообращении, регуляции тепла в обмене веществ, выработке ферментов, очищение организма от вредных шлаков и избыточного количества воды, т.е. кожа функционирует как вспомогательные легкие, сердце, печень, почки: в сутки кожа выделяет 650г. пота (это 27% суточного объема воды, выделяющейся из организма), большое количество солей. При нагрузке кожа может выделить за 1 час до 3,5 л пота. Кожа - чувствительная сложнейшая система. [15, c. 140]
В ней содержится свыше 3 млн. болевых рецепторов. Подсчитано, что в среднем на 1 см кожи расположены 2 тепловые, 12 холодовых, 25 осязательных и 150 болевых точек. Массаж кожи не только воздействует на ее структурные слои, но и влияет на нее через многочисленный экстеро и интерорецепторы. При массаже механическим путем удаляются с кожи отжившие клетки, что значительно улучшает кожное дыхание, и усиливает выделение продуктов распада. При массаже кожные сосуды расширяются, кровообращение улучшается, активизируется питание кожи и деятельность заложенных в ней желез. Повышается тонус кожи, она становится гладкой, эластичной, упругой, розовой, чистой. Многообразие рецепторов, заложенных в коже, позволяет достичь положительных результатов при лечении различных заболеваний при непосредственном воздействии на определенные локальные области кожи, соответствующие участки проекции отдельных внутренних органов. Массаж в зависимости от метода его осуществления подразделяется на 2 группы: ручной и аппаратный. Ручной массаж является основным методом, а аппаратный дополнительным.
Очевидные результаты применения массажеров следующие:
- Очищение кожи от омертвевших клеток эпидермиса, омоложение кожи, повышение кожно-мышечного тонуса.
- Расслабление и релаксация мышечной ткани, приводящая к снятию боли.
- Уменьшение венозного застоя, ускорение капиллярного кровотока, повышение тонуса сосудов, приводящие к улучшению функционального состояния как массируемого участка, так и всего организма в целом, снятие воспалений и отеков.
- Ускорение оттока лимфы от тканей, что приводит к выведению продуктов распада и очищению организма от шлаков, реабилитация тканей после травм и т.д.
- Улучшение функционирования периферической и центральной нервных систем, через посредство которых массаж «запускает» сложную цепь рефлекторных реакций, приводящих к реабилитации органов и исчезновению первичных патологических процессов.
Данная услуга является востребованной, особенно в настоящее время, когда многие люди настолько заняты работой, что у них совсем не остается времени на спорт. Массаж позволяет улучшить здоровье и общее самочувствие.
3.4 Маркетинговый план
Медицинские услуги, как и другие товары, попадающие на рынок, в своей потребительской ценности проходят ряд стадий, которые называются стадиями жизненного цикла: внедрение, рост, зрелость, насыщение, спад. На стадии внедрения требуются большие затраты, на прибыль рассчитывать не приходится. Задача этой стадии - создать основу для последующих. Чем быстрее пройдена ранняя стадия, тем более успешной может считаться маркетинговая деятельность.
Стадия роста характеризуется началом эффективной деятельности. Затраты стабилизируются, появляется прибыль. Желательно также быстрее преодолеть эту стадию, для чего необходимо расширение рынка сбыта.
Стабилизация деятельности учреждения означает его вступление в фазу зрелости. Задача состоит в том, чтобы как можно дольше задержаться на этой стадии. Кроме того, маркетинговые службы уже на этой стадии должны думать о перспективе дальнейшего развития данной услуги, ее модификации или замене.
Раньше или позже полезность услуги снижается, наступает спад. Сокращается экономическая эффективность. Если спад остановить не удается (например, путем выхода на новые рынки), производство услуги целесообразно прекратить, предложив новую (новые) услуги.
При разработке услуги (новой или усовершенствованной старой) необходимо определить:
1) потребность в данном виду услуг:
2) необходимые для ее реализации средства, оборудование, специалисты;
3) их наличие (и достаточность) в ЛПУ. Например, предлагая на рынок медицинских услуг такую, как вакуум-аспирация, производитель должен ответить на ряд вопросов:
1. Существует ли потребность в этой услуге и насколько она удовлетворяется (данным ЛПУ, ЛПУ - конкурентами), то есть проанализировать спрос (и возможности его увеличения), предложение (его достаточность, оптимальность по ряду позиций), их соотношение.
2. Если представление данной услуги перспективно, необходимо определить, какая для этого и в каких количествах требуется аппаратура, как (где, на каких условиях, по какой цене) она будет приобретена, есть ли отвечающие всем требованиям условия для оказания услуги (площади, соответствие санитарным требованиям); имеется ли подготовленный специалист, способный оказывать данную услугу на высоком качественном уровне.
При установлении цены, во-первых, следует определить ее вид («бюджетные расценки», государственная цена на платные медицинские услуги, договорная цена, тариф на услугу по программам ОМС).
Подлинно рыночными являются договорные цены. При определении их уровня необходимо:
1. Установить цель ценообразования (что зависит от позиции на рынке, долговременных целей учреждения). Например, можно установить заведомо низкую (более низкую, чем у конкурентов) цену на услугу с тем, чтобы привлечь клиентов.
Возможно установление высшей цены (при предоставлении уникальной услуги высокого качества, например, искусственное оплодотворение). Третий возможный вариант - на основании существующих средних рыночных цен. Также цена может устанавливаться на основе затрат.
2. На втором этапе необходимо определить размеры потенциального спроса (и, соответственно, возможную «цену спроса»).
3. Далее следует оценить издержки (для получения четкого представления о «цене предложения»).
4. Полученные расчеты необходимо сопоставить с ценами конкурентов.
5. На основании предыдущего анализа и формируется цена услуги. При этом конкретная методика ценообразования может отличаться (средние издержки плюс прибыль; на уровне текущих цен; с учетом восприятия потребителем, дистрибьютором, дилерами и т.д.).
Сбытовая стратегия ИП Белозерцев ориентирована на формирование и стимулирование спроса на услуги. Основным методом стимулирования спроса является реклама.
3.5 Производственный план
Массажный кабинет можно организовать на базе лечебно-профилактического учреждения г. Болотное. Для организации деятельности массажного кабинета необходимы две медицинские сестры (для ручного массажа и массажа с применением механических массажеров). Основными квалификационными требованиями для персонала являются высокая квалификация, медицинское образование.
Должностные обязанности медицинской сестры представлены в Приложении Б.
Система оплаты труда для медицинских сестер – повременно-премиальная. Предлагается установить должностной оклад медицинской сесте, использующей ручной массаж и механические массажеры в размере 4 000 руб. и медицинской сестре, использующей только ручной массаж в размере 3 000 руб. Кроме того, предлагаются выплаты в размере 2 % от объемов продаж услуг.
Штатное расписание персонала, необходимого для найма при организации массажного кабинета, представлено в табл. 3.1.
Таблица 3.1 - Штатное расписание персонала
| Должность |
Количество |
Система оплаты труда |
Должностной оклад, руб. |
| 1 |
2 |
3 |
4 |
| Бухгалтер |
1 |
Повременная |
5000 |
| Секретарь |
1 |
Повременная |
4500 |
| Медсестра по массажу с использованием ручных массажеров |
1 |
Повременно-премиальная |
4000 |
| Медсестра по мануальному массажу |
1 |
Повременно-премиальная |
3000 |
| Уборщица |
1 |
Повременная |
2500 |
Организационная структура управления ИП Белозерцев простая линейная (рис. 3.1). Структура предельно проста и включает в себя лишь два отдела: бухгалтерский и отдел, непосредственно занимающийся стоматологической деятельностью (медицинский). Главными требованиями к руководящим кадрам в такой структуре являются: высокая квалификация и компетентность руководителя, большой объем информации.
Рис. 3.1 – Организационная структура ИП Белозерцев
Данная структура является органичной. Координация в ней осуществляется преимущественно посредством прямого контроля, права на принятие решений сконцентрированы в руках директора организации. Руководитель принимает на себя всю полноту ответственности, ему подчиняются все сотрудники. Группировка отделов происходит в ИП Белозерцев по функциям. Процесс принятия решений отличается большой гибкостью, централизация власти позволяет быстро реагировать на любые изменения, происходящие во внешней среде. Стратегия предприятия также разрабатывается лично руководителем.
Основными достоинствами применяемой ИП Белозерцев организационной структуры являются:
- Стратегическая реакция. Данная структура является адаптивной и гибкой, она подкреплена полным знанием проблем организации.
- Осознание организацией своей миссии и целей.
Недостатками данной организационной структуры являются:
- Самая рискованная структура, так как все управление замыкается на одном человеке.
- Подавление индивидуальности работников организации, их творческих способностей.
Организация условий труда в массажном кабинете осуществляется в соответствии с Трудовым Кодексом РФ.
Продолжительности рабочего времени в Центре Репродуктивного Здоровья составляет 35 часов в неделю.
Работники предприятия обязаны соблюдать действующие на предприятии правила внутреннего трудового распорядка и графики работы, которыми предусматриваются: время начала и окончания работы (смены), перерывы для отдыха и питания, порядок предоставления дней отдыха, чередование смен и другие вопросы использования рабочего времени.
Во время рабочего дня работнику предоставляются перерывы на личные надобности общей продолжительностью 10 мин.
Перерыв для отдыха и принятия пищи устанавливается не позднее чем через 4 ч после начала работы. Продолжительность перерыва не может быть менее 30 мин. в смену. Для приема пищи на предприятии выделено специальное помещение. Употребление алкогольных напитков до и во время работы, а также на рабочем месте и на территории предприятия после окончания работы не допускается.
О каждом несчастном случае на производстве пострадавший или очевидец в течение смены должен сообщить непосредственному руководителю.
При обнаружении неисправности используемого оборудования, инвентаря, приспособлений и инструмента работник должен сообщить об этом непосредственному руководителю и до ее устранения к работе не приступать. Начинать (продолжать) работу следует после ликвидации неисправности и ее последствий, препятствующих или затрудняющих нормальное производство работ.
За нарушение (невыполнение) требований нормативных актов об охране труда работник привлекается к дисциплинарной, а в соответствующих случаях - к материальной и уголовной ответственности в порядке, установленном законодательством Российской Федерации.
При приеме на работу каждый работник проходит вводный инструктаж по технике безопасности.
После получения вводного инструктажа, а затем первичного инструктажа на рабочем месте работник должен в течение первых 2 - 14 смен (в зависимости от характера работы и квалификации) пройти стажировку и приобрести навыки безопасных способов работы под руководством лица, назначенного приказом (распоряжением, решением) по предприятию. Указания о проведении первичного и повторного инструктажей на рабочем месте и прохождении работником стажировки приведены в типовых инструкциях.
Образец Инструкции по охране труда представлен в приложении В.
Инструкция по технике безопасности предусматривает ознакомление с правилами электро- и пожарной безопасности в Центре Репродуктивного Здоровья. Инструктаж на рабочем месте проводят со всеми вновь принятыми в организацию, переводимыми из одного подразделения в другое, а также с работниками, выполняющими новую работу. Этот вид инструктажа проводят с каждым работником индивидуально с практическим показом безопасных приемом и методов труда. О проведении инструктажа делается запись в журнале регистрации инструктажа на рабочем месте с личными подписями получившего и проводившего инструктаж.
Повторный инструктаж проводят с целью проверки и повышения уровня знаний правил и инструкций по охране труда индивидуально или с группой рабочих по одной профессии не реже чем через 3 месяца.
3.6 Финансовый план
В данном разделе необходимо провести расчет расходов и доходов при реализации проекта.
Смета расходов на реализацию проекта включает затраты на механические массажеры, заработную плату, начисления на заработную плату, амортизационные отчисления, рекламные расходы.
Смета расходов на спортивный инвентарь представлена в табл. 3.2.
Таблица 3.2 – Смета расходов на инвентарь для массажа
| Статьи расходов |
Количество, ед. |
Цена за единицу, руб. |
Сумма затрат, руб. |
| 1 |
2 |
3 |
4 |
| Механические массажеры |
| Массажеры для рук |
10 |
300,00 |
3000,00 |
| Массажеры для спины |
10 |
206 |
2060,0 |
| Вибромассажер |
1 |
1135,00 |
1135,00 |
| Массажеры для ног |
10 |
135,00 |
1350,00 |
| Массажеры для шеи |
10 |
20,80 |
208,00 |
| Массажные кольца |
10 |
25,20 |
252,00 |
| Каток для самомассажа |
10 |
22,80 |
228,00 |
| Весы с ростомером РМ-3 (метал.) |
1 |
3025,00 |
3025,00 |
| Итого затрат |
11258,00 |
Как видно из табл. 3.2, сумма расходов на инвентарь для массажа составляет 11258,0 руб. Расчет амортизационных отчислений представлен в табл. 3.3.
Таблица 3.3 – Расчет амортизационных отчислений
| Статьи расходов |
Сумма затрат, руб. |
Срок службы, лет |
| 1 |
2 |
3 |
| Механические массажеры |
1
|
2 |
3 |
Продолжение табл. 3.3
| Массажеры для рук |
3000,00 |
1 |
| Массажеры для спины |
2060,0 |
5 |
| Вибромассажер |
1135,00 |
5 |
| Массажеры для ног |
1350,00 |
1 |
| Массажеры для шеи |
208,00 |
1 |
| Массажные кольца |
252,00 |
1 |
| Каток для самомассажа |
228,00 |
1 |
| Весы с ростомером РМ-3 (метал.) |
3025,00 |
5 |
| Итого затрат |
11258,00 |
- |
Как видно из табл. 3.3, сумма амортизационных отчислений составляет практически половину от стоимости самого инвентаря для массажа. Это связано со значительным износом инвентаря в процессе массажа. Смета затрат на заработную плату и социальных отчислений представлена в табл. 3.4.
Таблица 3.4 – Смета затрат на заработную плату и социальных отчислений
| Должность |
Количество человек |
Должностной оклад, руб./месяц |
Начисления на оплату труда, руб./месяц |
Итого расходов на оплату труда, руб./месяц |
Итого расходов на оплату труда, руб. /год |
| 1 |
2 |
3 |
4 |
5 |
6 |
| Бухгалтер |
1 |
5000 |
1300 |
6300 |
75600 |
Продолжение табл. 3.4
| 1 |
2 |
3 |
4 |
5 |
6 |
| Секретарь |
1 |
4500 |
1170 |
5670 |
68040 |
| Медсестра по массажу с использованием ручных массажеров |
1 |
4000 |
1040 |
5040 |
60480 |
| Медсестра мануальному массажу |
1 |
3000 |
780 |
3780 |
45360 |
| Уборщица |
1 |
2500 |
650 |
3150 |
37800 |
| Всего расходов на оплату труда, руб./год |
2 |
- |
- |
- |
287280 |
Смета расходов на рекламу представлена в табл. 3.5.
Таблица 3.5 - Смета расходов на рекламу (в год)
| Статьи расходов |
Количество, шт. |
Цена за единицу, руб. |
Сумма затрат, руб. |
| Рекламные буклеты |
10000 |
10 |
100000 |
| Рекламная вывеска |
1 |
1500 |
1500 |
| Заработная плата распространителям рекламы |
5 |
1000 |
5000 |
| Итого затрат на рекламу |
- |
- |
106500 |
Расчет себестоимости услуг представлен в табл. 3.6.
Таблица 3.6 – Расчет потребности в капитале
| Статьи затрат |
Сумма затрат, руб. |
| Инвентарь для массажа |
11258,00 |
| Заработная плата с отчислениями за мес. |
23940 |
| Рекламные расходы за мес. |
8875 |
| Затраты на ремонт и приобретение оборудования |
100000 |
| Итого полная себестоимость |
144073 |
Структуру потребности в капитале более наглядно можно представить на рис.

Рис. 3.2.- Структура потребности в капитале, руб.
Рассчитаем предполагаемый годовой объем продаж услуг.
Предполагается, что в месяц будет реализовано не менее 600 массажных услуг, тогда в год будет реализовано 7200 услуг.
Таким образом, стоимость одного сеанса массажа составляет:
405038/7200 = 56,25 руб.
В расчет принимаются: инвентарь – 11258 руб., заработная плата в год – 284280 руб., затраты на рекламу – 8875 руб., что в целом составляет 405038 руб.
При норме прибыли равной 25 % выручка от реализации одной массажной услуги составляет:
56,25*1,25 = 70,32 руб.
Годовой доход от реализации массажных услуг составляет:
70,32*7200 = 506297,5 руб.
Превышение доходов над расходами (прибыль предпринимателя) представлена в табл. 3.7.
Таблица 3.7 – Расчет прибыли предпринимателя
| Показатель |
Значение, руб. |
| Выручка от реализации услуг |
506297,5 |
| Себестоимость |
393780 |
| Прибыль |
112517,5 |
| Налог на прибыль |
27005 |
| Чистая прибыль |
85512 |
Рентабельность проекта представляет собой отношений чистой годовой прибыли от проекта к потребности в капитале:
85512/144073* 100 = 59,35 %.
Сумма инвестиций в проект представляет собой затраты на подготовку помещения для проведения массажа. При организации массажного кабинета на базе городской поликлиники затраты предположительно составят 100000 руб. (на ремонт помещения, закупку медицинского оборудования).
Срок окупаемости проекта можно определить по формуле:
Q = Инвестиции в проект / Прибыль от реализации проекта
Тогда срок окупаемости составит:
144073/ 85512= 1,7 года, т.е. срок окупаемости проекта составит 1 год и 7 месяцев.
3.7 План по рискам
Целью оценки рисков должно быть умение авторов проекта заранее предугадать все типы рисков, с которыми они могут столкнуться, источники этих рисков и момент, их возникновения. А оценив риски, нужно разработать меры по сокращению этих рисков и минимизации потерь, которые они могут вызвать.
Оценку всех количественных показателей рекомендуется выполнять экспертным путем, т.е. оценку проводят несколько человек (экспертов-участников проекта), исходя из личного опыта. Потом эти оценки складываются и делятся на число экспертов (определяется среднее арифметическое). В данном проекте используется один из наиболее простых и эффективных методов оценки рисков проекта – метод балльной оценки рисков.
Возможные риски проекта представлены в табл. 3.7.
Таблица 3.7 – Возможные риски при реализации проекта
| № п\п |
Виды рисков |
| 1 |
2 |
| 1 |
Неправильные исходные теоретические расчеты и оценки |
| 2 |
Отрицательный результат теоретического обоснования идеи |
| 3 |
Невозможность защитить интеллектуальную собственность |
| 4 |
Несанкционированное использование идеи |
| 5 |
Увеличение стоимости наемного труда |
| 6 |
Неправильная оценка рынка |
| 7 |
Неправильное позиционирование продукта |
| 8 |
Недостаточная востребованность продукта на рынке (отсутствие заказов) |
| 9 |
Ошибочная стратегия работы с потенциальными клиентами |
| 10 |
Недостаточная эффективность работы с потенциальными клиентами |
| 11 |
Недооценка конкурентов |
| 12 |
Увеличение затрат на проект |
| 13 |
Задержка выполнения этапов |
| 14 |
Недостаточная квалификация участников проекта |
Оценка вероятностей наступления события, относящихся к каждому простому риску представлена в табл. 3.8.
Таблица 3.8 - Оценка вероятностей наступления события, относящихся к каждому простому риску
| № |
Простые риски |
Оценка вероятности наступления |
| 1 |
2 |
3 |
| 1 |
Неправильные исходные теоретические расчеты и оценки |
0.2 |
| 2 |
Отрицательный результат теоретического обоснования идеи |
0.2 |
| 3 |
Невозможность защитить интеллектуальную собственность |
0.4 |
| 4 |
Несанкционированное использование идеи |
0.9 |
| 5 |
Увеличение стоимости наемного труда |
0.6 |
| 6 |
Неправильная оценка рынка |
0.5 |
| 7 |
Неправильное позиционирование продукта |
0.4 |
| 8 |
Недостаточная востребованность продукта на рынке (отсутствие заказов) |
0.3 |
| 9 |
Ошибочная стратегия работы с потенциальными клиентами |
0.4 |
| 10 |
Недостаточная эффективность работы с потенциальными клиентами |
0.4 |
| 11 |
Недооценка конкурентов |
0.5 |
| 12 |
Увеличение затрат на проект |
0.3 |
| 13 |
Задержка выполнения этапов |
0.3 |
| 14 |
Недостаточная квалификация участников проекта |
0.3 |
Существует масса критериев для определения удельного веса каждого риска. В данном случае критерием будет выступать величина потерь от наступления какого либо события (рисков, перечисленных выше).
Классификация рисков по величине потерь представлена в табл. 3.9.
Таблица 3.9 - Классификация рисков по величине потерь
| № |
Простые риски |
Оценка ущерба для проекта |
| 1 |
Неправильные исходные теоретические расчеты и оценки |
9 |
| 2 |
Отрицательный результат теоретического обоснования идеи |
8 |
Продолжение табл. 3.9
| 3 |
Невозможность защитить интеллектуальную собственность |
8 |
| 4 |
Несанкционированное использование идеи |
9 |
| 5 |
Увеличение стоимости наемного труда |
4 |
| 6 |
Неправильная оценка рынка |
8 |
| 7 |
Неправильное позиционирование продукта |
7 |
| 8 |
Недостаточная востребованность продукта на рынке (отсутствие заказов) |
10 |
| 9 |
Ошибочная стратегия работы с потенциальными клиентами |
8 |
| 10 |
Недостаточная эффективность работы с потенциальными клиентами |
9 |
| 11 |
Недооценка конкурентов |
8 |
| 12 |
Увеличение затрат на проект |
3 |
| 13 |
Задержка выполнения этапов |
1 |
| 14 |
Недостаточная квалификация участников проекта |
10 |
Общий балл для оценки риска рассчитывался перемножением вероятности наступления рискового события на коэффициент величины ущерба от его наступления:
M = P x I (3.1)
где: M – степень воздействия рисков; P - вероятность возникновения рисков, в соответствии с классификацией (в долях единицы)
I - величина потерь, в соответствии с классификацией (в единицах).
Таблица 3.10 - Общий балл для оценки риска
| № |
Простые риски |
Оценка вероятности наступления |
Оценка ущерба для проекта |
Общий балл |
| 1 |
2 |
3 |
4 |
5 |
| 1 |
Неправильные исходные теоретические расчеты и оценки |
0.2 |
9 |
1.8 |
| 2 |
Отрицательный результат теоретического обоснования идеи |
0.2 |
8 |
1.6 |
| 3 |
Невозможность защитить интеллектуальную собственность |
0.4 |
8 |
3.2 |
| 4 |
Несанкционированное использование идеи |
0.9 |
9 |
8.1 |
| 5 |
Увеличение стоимости наемного труда |
0.6 |
4 |
2.4 |
| 6 |
Неправильная оценка рынка |
0.5 |
8 |
4.0 |
| 7 |
Неправильное позиционирование продукта |
0.4 |
7 |
2.8 |
| 8 |
Недостаточная востребованность продукта на рынке (отсутствие заказов) |
0.3 |
10 |
3.0 |
| 9 |
Ошибочная стратегия работы с потенциальными клиентами |
0.4 |
8 |
3.2 |
| 10 |
Недостаточная эффективность работы с потенциальными клиентами |
0.4 |
9 |
3.6 |
| 11 |
Недооценка конкурентов |
0.5 |
8 |
4.0 |
| 12 |
Увеличение затрат на проект |
0.3 |
3 |
0.9 |
| 13 |
Задержка выполнения этапов |
0.3 |
1 |
0.3 |
Продолжение табл. 3.10
| 1 |
2 |
3 |
4 |
5 |
| 14 |
Недостаточная квалификация участников проекта |
0.3 |
10 |
3.0 |
Классификации рисков, т.е. разделения рисков на конкретные группы по определенным признакам. 1. Для удобства анализа, все риски можно разделить по направлениям, характеризующим направления деятельности компании 2. По балльной шкале оценки рисков можно выделить, например, три группы рисков: с баллом от 1 до 2 – незначительные риски, специальные меры не принимаются; с баллом от 2 до 4 – значительные риски, для них надо разработать комплекс мер по минимизации вероятности их наступления; с баллом от 4 и более – существенные риски, вероятность их наступления велика и ущерб от их воздействия критичен для проекта. В результате, для анализа удобно представить все риски в виде сводной таблицы 3.11.
Таблица 3.11 - Оценка рисков
| № |
Простые риски |
Оценка вероятности наступления |
Оценка ущерба для проекта |
Общий балл |
| 1 |
2 |
3 |
4 |
5 |
| А. Научные риски – связанные с научной разработкой идеи |
| 1 |
Неправильные исходные теоретические расчеты и оценки |
0.2 |
9 |
1.8 |
| 2 |
Отрицательный результат теоретического обоснования идеи |
0.2 |
8 |
1.6 |
Продолжение табл. 3.11
| 3 |
Невозможность защитить интеллектуальную собственность |
0.4 |
8 |
3.2 |
| 4 |
Несанкционированное использование идеи |
0.9 |
9 |
8.1 |
| Б. Производственные риски – связанные с организацией производства |
| 5 |
Увеличение стоимости наемного труда |
0.6 |
4 |
2.4 |
| В. Рыночные риски – связанные с коммерциализацией |
| 6 |
Неправильная оценка рынка |
0.5 |
8 |
4.0 |
| 7 |
Неправильное позиционирование продукта |
0.4 |
7 |
2.8 |
| 8 |
Недостаточная востребованность продукта на рынке |
0.3 |
10 |
3.0 |
| 9 |
Ошибочная стратегия работы с потенциальными клиентами |
0.4 |
8 |
3.2 |
| 10 |
Недостаточная эффективность работы с потенциальными клиентами |
0.4 |
9 |
3.6 |
| 11 |
Недооценка конкурентов |
0.5 |
8 |
4.0 |
| Д. Организационные риски – связанные с управлением проектом |
| 12 |
Увеличение затрат на проект |
0.3 |
3 |
0.9 |
| 13 |
Задержка выполнения этапов |
0.3 |
1 |
0.3 |
| 14 |
Недостаточная квалификация участников проекта |
0.3 |
10 |
3.0 |
Для рисков с баллом более 4 необходимо разработать комплекс мер по снижению их воздействия на проект. В данном случае таким риском является недооценка конкурентов. Для снижения данного риска при реализации проекта необходимо провести профессиональное маркетинговое исследование рынка.
Глава IV. Методическая разработка преподавания основ экономики в начальной школе
4.1 Цели и задачи обучения экономики в начальной школе
Интерес и потребность к экономическому образованию обусловили то, что изучение основ экономики начинается уже с начальной школы. Сегодняшние дети на каждом шагу встречаются с такими понятиями как «мое», «наше», «деньги», «валюта», «бартер», «бизнес» и т.д. Конечно, изучая такие курсы как «Математика», «Ознакомление с окружающим миром», «Трудовое обучение», дети знакомятся с некоторыми экономическими терминами, взаимоотношениями в современном обществе, с различными видами деятельности человека, однако этого недостаточно для формирования и развития личности как субъекта экономической деятельности, развития у детей экономически значимых качеств, повышающих их жизнеспособность.
Цель программы обучения основам экономики – показать младшим школьникам ценность образования, его необходимость для квалифицированного выполнения любой работы. Все темы программы «Наши семьи», «Наш микрорайон», «Наш город», «Наш регион» раскрывают три основных роли, в которых выступает каждый человек, желающий стать полноправным членом общества. Ведь каждый человек является одновременно ЛИЧНОСТЬЮ, ПРОИЗВОДИТЕЛЕМ и ПОТРЕБИТЕЛЕМ.
Развитие человека как ЛИЧНОСТИ включает в себя умение брать на себя ответственность, сопоставлять свои желания и возможности, стремление к сотрудничеству и, в конечном итоге, - достижение собственной цели.
ПРОИЗВОДИТЕЛЬ учится понимать важность и ценность работы, узнает о множестве видов работ, выполняемых людьми, а также о том, какую отдачу работодатель намеревается получить от своих служащих.
ПОТРЕБИТЕЛЬ принимает решения о том, как правильнее распределить ограниченные ресурсы.
Тем пространством, на котором раскрываются эти три роли, является общество. Общество вокруг нас постоянно расширяется, приводя учащихся от небольшого по количеству и расположению, весьма конкретного окружения, к обществу более глобальному и абстрактному.
Для того, чтобы успешно существовать и функционировать в нем нужны определенные навыки. Они и заключаются в СПОСОБНОСТИ ПРИНИМАТЬ РЕШЕНИЯ и в ГОТОВНОСТИ К РАБОТЕ.
С помощью различных форм проведения занятий: уроки, экскурсии, мастерские общения, ролевые игры, конкурсы и т.д., дети лучше понимают и осознают связь между тем, что они узнают в школе и их будущим профессиональным выбором.
Поскольку для учащихся начальных классов одним из ведущих видов деятельности остается игра, в программе вводятся многие экономические понятия посредством игр и на основе практического опыта.
Систематическое изучение программы позволяет постепенно формировать целостную картину экономического мира и его связей с человеческим существованием, осознать влияние экономики на различные стороны жизни человека.
Организация работы по программе помогает учителю решать такие важные цели образования: развитие практического опыта работы в группах, парах; умения думать и принимать решения; давать самооценку деятельности.
4. 2 Разработка уроков по основам экономики в начальной школе
Учебно-методический комплект, предназначенный для обучения младших школьников основам экономики включает в себя методическое пособие и демонстрационный материал для учителя и полный набор дидактических раздаточных материалов и тестов на каждого ученика класса. Это значительно облегчает подготовку учителя к уроку и делает его организационно-деятельностным.
В настоящее время в некоторых школах при обучении младших школьников основам экономики применяют программы, каждая тема которой рассчитана на 5 часов в год. Мы пришли к выводу о необходимости углубления работы по каждой теме, и предлагаем свое тематическое планирование.
1 класс – 18 часов (со второго полугодия). Тема урока «Наши семьи»
Урок №1.Тема: Чудесное место для жизни. (Мастерская творческого письма).
Урок №2. Тема: Чудесное место для жизни. Роль женщины в семье. (Для девочек).
Урок №3. Тема: Чудесное место для жизни. Роль мужчины в семье (Для мальчиков)
Урок №4. Тема: Слова «хочу» и «надо» в наших семьях.
Урок №5. Тема: Слова «хочу» и «надо» в наших семьях. (Мастерская общения)
Урок №6. Тема: Откуда берутся товары и услуги, которые мы обозначаем словами «хочу» и «надо».
Урок №7. Тема: Откуда берутся товары и услуги, которые мы обозначаем словами «хочу» и «надо». (Ролевая игра).
Урок №8. Тема: «Хочу», «надо», товары, услуги, семья.
9. Тема: Профессии наших семей.
Урок №10. Тема: Профессии наших семей. (Экскурсия)
Урок №11. Тема: Профессии наших семей. (Создание альбома)
Урок №12. Тема: Профессии наших семей. (Мастерская творческого письма)
Урок №13. Тема: Что теперь мы знаем о наших семьях.
Урок №14. Тема: Идем в гости к семье…(Заочное путешествие)
Урок №15. Тема: Семья… у нас в классе.
Урок №16. Тема: Семья… у нас в классе.
Урок №17. Тема: Что теперь мы знаем о наших семьях (Мастерская творческого письма)
Урок №18. Тема: Конкурс «Папа, мама, я – дружная семья».
Для наглядности на уроке применять различные рисунки, фотографии, фильмы.
2 класс – 34 часа. Тема «Наш микрорайон»
1. Что мы знаем о наших семьях. Повторение изученного в 1 классе.
Урок №2. Тест «Что я знаю об экономике».
Урок №3. Как работает общество?
Урок №4. Как работает общество? (Мастерская общения)
Урок №5. Как работает общество? Кем быть?
Урок №6. Как работает общество? Модель общества (Мастерская)
Урок №7. «Эмблема магазина»
Урок №8. Как работает общество? Путешествие в космос.
Урок №9. Урок-экскурсия по микрорайону.
Урок №10. Тест «Как работает общество»
Урок №11. Путешествие на кондитерскую фабрику.
Урок №12. Путешествие на кондитерскую фабрику. Технологическая карта.
Урок №13. Путешествие на кондитерскую фабрику. Индивидуальное производство. Конвейер. Брак.
Урок №14. Тест «На кондитерской фабрике». Путешествие пирожка.
Урок №15. Социологический опрос. Культура питания.
Урок №16. Мастерская «Реклама кондитерских изделий» Ярмарка.
Урок №17. Роль правительства.
Урок №18. Роль правительства.
Урок №19. Роль правительства. Сколько стоит «бесплатно»
Урок №20. Тест «Роль правительства»
Урок №21. Мастерская творческого письма. «Письмо редактору газеты»
Урок №22. Сочинение «Если бы я был мэром города».
Урок №23. Ролевая игра «Мы правительство»
Урок №24. Дерево решений.
Урок №25. Дерево решений. Урок – дискуссия.
Урок №26. Дерево решений. Проекты будущего.
Урок №27. Дерево решений. Проекты будущего.
Урок №28. Тест «Дерево решений».
Урок №29. Дерево решений. Урок-встреча со специалистами-строителями.
Урок №30. Путешествие рубля.
Урок №31. Путешествие рубля. Из истории денег.
Урок №32. Путешествие рубля. Новые российские деньги.
Урок №33. Путешествие рубля. Оборот денег.
Урок №34. Тест «Что теперь я знаю об экономике». Вручение дипломов.
3 класс – 33 часа. Тема: « Наш город»
Урок № 1. Повторение изученного в 1 и 2 классах.
Урок № 2. Тест « Что я знаю об экономике»
Урок № 3. Урок – викторина «Профессия строитель» (о строительных специальностях)
Урок № 4. Проект. Что это такое?
Урок № 5. Урок-мастерская «Мы строим дом» Масштаб.
Урок № 6. Урок-мастерская «Мы строим дом»
Урок № 7. Урок-встреча с интересным человеком –строителем.
Урок № 8. Развитие речи. Сочинение «Если бы я работал (а) в строительном бизнесе….»
Урок № 9. Контрольный тест № 2.
Урок № 10. Из истории строительства городов.
Урок № 11. Экскурсия по городу Пскову.
Урок № 12. Знакомство с экономической концепцией «Город и городское хозяйство»
Урок № 13. Урок- мастерская «Мы строим город». Планировка города.
Урок № 14. Урок-мастерская « Мы строим город»
Урок № 15. Конкурс проектов городов будущего.
Урок № 16. Контрольный тест № 3.
Урок № 17. Экономическая концепция « Город и городское хозяйство»
Урок № 18. Обзор газет и их значение для жизни города.
Урок № 19. Профессии в газетном бизнесе.
Урок № 20. Экскурсия в типографию «Как выпускают газету»
Урок № 21. Урок-мастерская « Мы выпускаем газету»
Урок № 22. Урок-мастерская « Мы выпускаем газету»
Урок № 23. Презентация классной газеты.
Урок № 24. Урок-встреча с журналистом.
Урок № 25. Контрольный тест № 4.
Урок № 26. Продолжение знакомства с экономической концепцией «Город и городское хозяйство»
Урок № 27. Работа с листами « Где бы пообедать?»
Урок № 28. Контрольный тест № 5.
Урок № 29. Продолжение знакомства с экономической концепцией «Город и городское хозяйство»
Урок № 30. Заполнение рабочих тетрадей. Профессии для работы в банке.
Урок № 31. Игра «Неизвестный гость»
Урок № 32. Контрольный тест № 6.
Урок № 33. Итоговый урок. Вручение дипломов.
Чтобы определить уровень знаний школьников по каждой теме до начала изучения программы и после ее завершения, предлагаются контрольные тесты.
Рассмотрим более подробно один из уроков экономики для 1 класса.
Тема: «Чудесное место для жизни». Время урока – 1 академический час
Цель урока - познакомить с понятием «семья – чудесное место для жизни».
Задачи урока:
1. Дать понятие о семье, как члены семьи живут и работают вместе.
2. Разобраться что представляют собой такие понятия как «работа» и «зависимость членов семьи друг от друга».
Арсенал урока:
1. Плакат «Чудесное место для жизни»
2.Набор книжек «Наши семьи»
3.Набор картинок для каждого ученика (все материалы есть в методическом портфеле программы)
Ход урока:
1. Вступительное слово учителя о программе. Тема зашифрована ребусом
-Что, по- вашему мнению, представляет собой семья? (ответы детей)
Вывод: Действительно, семья состоит из людей, которые являются родственниками и живут вместе. Семьи разных людей отличаются одна от другой и в течение жизни состав семьи может меняться. Например: (учитель приводит пример своей семьи, дети приводят примеры своих семей)
-Почему всегда так радостно идти домой? (ответы детей)
-А что еще объединяет людей в семье, кроме того, что они родственники? (забота друг о друге, помощь друг другу)
2. Интересно, а чем обычно вместе занимаются все члены семьи?
(учитель записывает столбиком на доске ответы детей)
3. Вы много назвали важных дел. Давайте вместе рассмотрим плакат. Как называется, кто может прочитать? (рассматривание плаката “Чудесное место для жизни”)
-Чем заняты люди?
-Для чего?
-Хотели бы вы сами жить в таком месте?
-Почему людям нравится жить в таком месте?
Вывод: Много людей из совершенно разных семей живут рядом и стараются создать вместе то, что будет “Чудесным местом для жизни”
_ Хотите побольше узнать об этих семьях, которые изображены на плакате? (работа по книжке “Наши семьи”, чтение, иллюстрирование)
Для того, чтобы книжка получилась красивой и интересной работаем по плану: (план записан на доске, читающие дети озвучивают
1.Прочитай предложение.
2.Найди на плакате человека, о котором прочитал.
3.Найди соответствующую картинку.
4.Вырежи и наклей ее точно посередине листа.
После окончания работы дети читают получившиеся книжки по желанию.
-Как трудятся все члены семей для того, чтобы создать действительно “Чудесное место для жизни”?
Вывод: Только дружно и вместе мы сможем сделать наш дом “Чудесным местом для жизни”
- А что теперь нам надо сделать, чтобы наш класс стал таким местом? (дружно убрать его после работы)
-Кто нам создает чудесное место для жизни?(Мы сами)
4. Подведение итога урока:
Какое открытие сделал каждый для себя сегодня?
Домашнее задание: рассказать о своем открытии дома, сделать страничку для классного альбома “Наши семьи”
Теперь рассмотрим урок экономики для 2 класса.
Тема урока: «Путешествие рубля». Продолжительность урока – 1 академический час.
Цель урока - продолжить знакомство с экономической концепцией «Наш микрорайон», усвоить понятия «бартер», «деньги».
Задачи:
1.Повторить как и почему появились деньги.
2. Узнать как они обращаются.
Арсенал урока:
1. Плакат «Наш микрорайон»
2. Рабочие тетради.
Ход урока:
1. Актуализация знаний.
Повторение о том, что было до того, как люди изобрели деньги.
2. Работа с тетрадью. Как иначе назвать такой обмен? БАРТЕР
Что такое бартер?
А вам приходилось совершать бартер? (дети приводят примеры)
-Хорошо, когда 2 человека совершают бартер, а вот если возникает такая ситуация?
Решение экономической задачи:
У Кирилла есть груша, а хочет яблоко
У Вовы есть яблоко, а хочет он морковку.
У Миши есть морковка, а хочет он грушу.
- Как быть?
- Сложно, еще труднее между большим количеством людей. При этом очень хочется, чтобы обмен был равноценным. Как быть?
2. Совершенно верно. На помощь пришли деньги. Но ведь покупка – это тоже обмен, при котором вы меняете деньги на вещи.
- А как называется сделка, когда деньги меняют на деньги? (размен)
Различить обмен и покупку просто.
Например
(на доске запись):
Саша Ира
1.Ластик 1. Цвет.карандаши
2.Рубли 2.Жевательная резинка
3.Ручка 3.Рубли
4.Книга 4.Немецкие марки
5.Доллары США 5.Шоколадка
6.Марки почтовые 6.Альбом
Задание: Составьте в парах 2 варианта обмена и 2 варианта купли-продажи.
Проверка работы.
( Обратить внимание детей, что в России продажа и покупка возможна только на рубли! Использование другой валюты наказывается законом.)
- А как Саше и Ире воспользоваться имеющейся валютой?
3. Каждое государство имеет свои деньги!
-Какие деньги вы знаете?
-Откуда они берутся?
-Деньги бывают бумажные и металлические. Для чего?
4. Беседа о деньгах России.
-Какие?
-Номинации?
-Почему нет 7 руб? 15 руб?
-Совсем недавно в России начался обмен денег. В каждой семье появились новенькие, хрустящие, блестящие деньги. Но прошло немного времени и вид их изменился: уже помятые, есть надорванные… Почему? (оборот денег)
5. Работа в тетради.
-Как путешествуют деньги? (чтение текста и отслеживание пути рубля от одного заведения к другому ).
-Далее дети по плакату тоже отслеживают путь рубля от банка и снова в банк.
- Почему так много путешествует рубль?
- Зависит ли от этого благосостояние магазинов?
- Как?
- Где начинает и заканчивает свое путешествие рубль? (в банке)
- Зачем нужны банки?
6. Подведение итогов: Какую роль играют деньги в жизни общества?
Домашнее задание: расспросить родителей, какие способы хранения денег используют люди.
Рассмотрим урок экономики для 3 класса.
Тема урока: «Мы идем в банк».
Цель урока - продолжить знакомство с экономической концепцией «Город и городское хозяйство», усвоить понятия «банк», «вклад».
Задачи урока:
1. Дать понятие о значении банка как организации, удовлетворяющей потребности общества, познакомиться с основными функциями банка.
2. Познакомиться с банковской документацией.
Арсенал урока:
1. Карта «Наш город»
2. Рабочие тетради «Банк»
Ход урока:
1. Актуализация знаний.
- Напомните, с какими видами бизнеса мы познакомились, путешествуя по карте «Наш город»?
- Люди, каких профессий работают в этих видах бизнеса?
- Для чего нужно такое разнообразие профессий? (для удовлетворения потребностей и желаний людей; для удовлетворения интересов людей; для заработка денег)
- Совершенно правильно. А что такое деньги?
( это монеты и бумаги, на которые можно купить почти все, что угодно)
- На самом деле это удивительно: почему в обмен на какую-то цветную бумажку можно получить замечательную красивую игрушку или большой вкусный торт? Давайте немного повторим то, что мы изучали о деньгах.
Работаем в группах. Каждой группе я предлагаю обсудить и подготовить ответы на вопросы. О готовности сигнализируйте. (Группам предлагаются следующие задания на карточках:
1. Расскажите, какие деньги действуют на территории России. Назовите их достоинства.
2. Назовите основное назначение денег, перечислите, где и каким образом используют деньги.
3. Перечислите преимущества и недостатки металлических денег.
4. Перечислите преимущества и недостатки бумажных денег.
5. Назовите основные правила бережного обращения с деньгами. Зачем они нужны?
6. Решите задачу: У Саши есть 1 доллар и 3 рубля. Сможет ли Саша купить шоколадку «Сникерс»?)
После подготовки идет проверка и обобщение изученного материала.
- Известно, что деньги служат не только для покупок и платежей… Они являются еще и ценностью, богатством, которое люди берегут. Есть много способов хранения денег. А какие вы знаете?
На доске учитель делает запись: дома, в сейфе, в банке, в долг…..
- Каждый способ имеет свои преимущества и недостатки. Какие? ( обсуждение)
- Но если семья имеет несколько разнообразных способов хранения денег, то как быть фирме или организации? (хранить деньги в банке)
2. Изучение нового материала.
- Сегодня мы совершим заочное путешествие в банк. Найдите на карте города.
Работая, мы должны выяснить:
1. Что такое банк?
2. Какие его основные операции?
3. Люди, каких профессий работают в банке.? На доске
4. Как стать клиентом банка.?
-Поможет нам в этом рабочая тетрадь. Итак, что такое банк? (обсуждение) Возьмите рабочую тетрадь.
Рассмотрите 1 страницу, выберите из предложенного списка правильные на ваш взгляд ответы и напишите их на пустых строчках. ( проверка работы)
- К какому выводу пришли? (вывод по 1 и 2 пункту плана)
Банк- это учреждение, где хранят, обменивают и дают в долг деньги.
- Кто из вас был когда-нибудь в банке?
- Какие впечатления?
- А знаете ли вы профессии людей, которые работают в банке? (карточки: кассир, бухгалтер, операционист, управляющий, сотрудник службы безопасности….)
- Это те, кого мы видим, но множество сотрудников выполняют другие функции.
- Какие обязанности выполняют эти люди? Игра «Таинственный гость» ( загадываем профессии кассир, бухгалтер, сотрудник службы безопасности) Задать можно не более 5 вопросов. Обсудите. И т о г по плану.
- А когда мы придем в банк, то какую роль будем выполнять?
(Клиент – карточка) ( Клиенты-лица, пользующиеся услугами учреждения, постоянные покупатели или заказчики.)
- Где еще употребляется это слово?
- Хотите стать клиентами нашего воображаемого банка?
- Тогда вспомните, что на прошлом уроке вы стали владельцами ресторанов и чтобы хранить деньги, мы отправляемся открывать свой счет в банке.
Рабочая тетрадь: Для того, чтобы стать клиентом банка, необходимо заполнить карточку-договор. Рассмотрите. Что не понятно? Заполните.
- Кто заполняет?
- Кто фиксирует? (операционист)
- Наш ресторан получил за день выручку 3.064 рубля. Нужно заполнить приходный ордер. (Заполнение)
- Кто заполняет?
- Кто фиксирует?
- Кто примет деньги?
Я вас поздравляю. Вы стали клиентами банка. Что для этого нужно было сделать?
Обобщение по плану. На все вопросы плана мы ответили? Кто может рассказать дома или товарищам во дворе?
- А теперь, ответьте мне на вопрос: Кому теперь принадлежат деньги: вам или банку?
( Конечно клиенту, он имеет право взять из банка свои деньги в любое время, т.к. банк их только сохраняет.
- Но деньги в банке не лежат на полочках. Их используют, происходит их оборот, и за это использование клиенту платят проценты, но об этом на следующем уроке.
Таким образом, чтобы эффективно и качественно работать в данном направлении, одного желания учителя недостаточно, нужна подготовка, чтобы он мог компетентно разбираться в вопросах экономики и при всей доступности, грамотно объяснять их детям. Для этого необходимо поурочное планирование уроков.
Заключение
По дипломной работе можно сделать следующие выводы.
По первой главе дипломной работе можно сделать вывод, что платные медицинские услуги осуществляются в рамках действия лицензии на медицинскую деятельность и договора с гражданами на оказание медицинских услуг. Предоставление платных медицинских услуг оформляется договором, которым регламентируются условия и сроки их получения, порядок расчетов, права, обязанности и ответственность сторон.
Во второй главе дипломной работы представлена разработка технологии ручного массажера для ног.
Массажеры используются как вспомогательные механические средства для всех видов профессионального массажа: классического, сегментарного, соединительнотканного, точечного, а также спортивного, косметического и корректирующего фигуру.
Массажеры предварительно хорошо разогревают ткани и сохраняют силы массажиста. В технологической части дипломной работы рассмотрена технология изготовления массажера для ног. Затраты на изготовление массажера минимальные. Все деревянные части можно сделать из отходов древесины. Металлический пруток стоит 100 руб., 12 шурупов — 35 руб., т. е. всего 135 руб.
В третьей главе дипломной работе рассмотрен бизнес-план по организации массажного кабинета в г. Болотное. Инициатором бизнес-плана выступает ИП Белозерцев Н.С. В бизнес-плане рассматривается возможность организации массажного кабинета в ПЛУ г. Болотное.
Особенность представления массажных услуг является то, что предлагается не только мануальный массаж, но также и массаж с использованием ручных массажеров. Ручные массажеры изготовлены в рамках трудовой дисциплины и их применение вместо покупных значительно снижает себестоимость медицинской массажной услуги, что повышает конкурентоспособность услуги.
Стоимость одного сеанса массажа составляет 56,25 руб.
Годовой доход от реализации массажных услуг составляет 506297,5 руб.
Прибыль предпринимателя составляет 112517,5 руб.
Рентабельность проекта составляет 59,35 %.
Срок окупаемости проекта составляет 1,7 года.
В четвертой главе дипломной работы представлена разработка уроков по обучению младших школьников основам экономики. Представлена разработка программы уроков для 1, 2, 3. класса, подробно рассмотрен ход уроков.
Библиографический список
- Конституция Российской Федерации, принята всенародным голосованием 12 декабря 1993 г.
- Федеральный Закон «Об обществах с ограниченной ответственностью» от 08.02.98 г. № 14-ФЗ.
- Постановление Правительства РФ от 13.01.1996 г. N°27 «Об утверждении Правил предоставления платных медицинских услуг населению медицинскими учреждениями»
- Гражданский кодекс Российской Федерации. Ч. 1,2- М, 2002.
- Гражданское право. Том 1.Учебник. Изд.5-е, перераб. и доп. /Под ред. А.П.Сергеева, Ю.К.Толстого. – М.,ПБОЮЛ Л.В. Рожников, 2001, с.180.
- Алексеева В.М., Орлова О.Р., Шамтурина Н.Г. Экономический анализ эффективности альтернативных методов медицинской помощи / Здравоохранение. 2001. № 3, с. 19-30.
- Аналькина Е.А. Управление затратами: Конспект лекций /Е.А. Аналькина, Н. Г. Данилочкина. - М.: ПРИОР, 1998. - 63 с.
- Бахрушина М.Н. Вопросы эффективности управления в здравоохранении / Экономика и жизнь. 2002. № 10, с. 12-15.
- Бердус Л.И. От управления производством - к управлению стоимостью 1 /Л.И. Бердус, А.В. Евсенко // ЭКО.-1997. - № 10. - С. 89-93.
- Бухалков М.И. Внутрифирменное планирование: Учебник для вузов /М.И. Бухалков.- М.: ИНФРА-М, 1999. - 392с.
- Волков О.И., В.К. Скляренко Экономика предприятия: Курс лекций. - М.: ИНФРА-М, 2003. - 280 с. - (Серия «Высшее образование»).
- Вялков А.И., Б.А. Райзберг, Ю.В. Шиленко Управление и экономика здравоохранения: Учебное пособие /Под ред. А.И. Вялкова. - М.: ГЭОТАР - МЕД, 2002. - 328 с. - (Серия «21 век»).
- Гайдаров Г.М., С.Н. Смирнов, И.С. Кицул и др. Дифференцированная оплата труда работников здравоохранения в зависимости от объема и качества работы. - М.: «Медико-научный центр финансово-экономического развития», 2000. - 78 с.
- Гуев А.Н. Предпринимательская деятельность в медицине: Справочник. - М.: Русский врач, 2002.
- Дубровский В.И., Дубровская Н.М. Практическое пособие по массажу. М., 2002. – с. 140.
- Калиниченко А.В., Борцов В.А., Борцова О.А. Охрана труда и техника безопасности в здравоохранении. – Новосибирск, 2004. – 101 с.
- Ларионов А. Д. Бухгалтерский учет: Учебник /А.Д. Ларионов.- М.: эоспект, 1999. - 392с.
- Лоуэн А. Психология тела: биоэнергетический анализ тела. – М.: Институт общегуманитарных исследований, 2000. – 256 с.
- Платные медицинские услуги: Сборник нормативных документов. - М.: АПП «Джангар», 2001. - 304 с.
- Поташник М.М. Управление развитием школы: Пособие для руководителей. - М.: Академия, 1995. - 464 с.
- Смоленцева А.А. Введение в мир экономики. – М.: Педагогика, 2003. – 264 с.
22.Справочник технолога-машиностроителя. / Мглинец А.И., Ловачева Г.Н., Алешина Л.М. и др. –М.: Колос, 2000. –416 с.
- Стародубов В.И., Гончаренко В.Л., Кадыров Ф.Н., Шиляев Д.Р. О разумном сочетании административных и экономических методов управления здравоохранением. //Здравоохранение 2000. - № 2, с.9.
- Тихомиров А.В. Организационные начала публичного регулирования рынка медицинских услуг. – М., Статут, 2001, с.162.
- Тихомиров А.В. Медицинская услуга: Правовые аспекты. – М., ФилинЪ, 1996, с.33.
- Тихомиров М.Ю. Гражданское право. Словарь-справочник. – М., 1996, с.31
- Шевчук С.С. Правовое регулирование оказания медицинских услуг: проблемы совершенствования //Журнал российского права, 2001, № 2, с. 40.
- Экономика здравоохранения / Под ред. А.В. Решетникова. – М.: ГЭОТАР-МЕД, 2003. – 272 с.
- http://school9.aldanedu.ru/buzov.htm
Приложения
| Приложение А |
| Характеристические признаки |
Организационно-правовые формы |
| Хозяйственные товарищества |
Хозяйственные общества |
| Полное товарищество |
Товарищество на вере |
Общество с ограниченной ответственностью |
Общество с дополнительной ответственностью |
Открытые АО |
Закрытые АО |
| 1 |
2 |
3 |
4 |
5 |
6 |
7 |
| 1. Состав участников (учредителей) |
Индивидуальные предприниматели и(или) коммерческие организации |
Полные товарищи - индивидуальные предприниматели и коммерческие организации. Вкладчики - граждане, юридические лица |
Граждане и юридические лица |
Граждане и юридические лица |
Граждане и юридические лица |
Граждане и юридические лица |
| 2. Роль участников (учредителей) |
Непосредственное участие в деятельности товарищества |
Непосредственное участие полных товарищей в деятельности. Вкладчики не принимают участия в его деятельности |
Не требуется непосредственного участия в деятельности общества |
Не требуется непосредственного участия в деятельности общества |
Не требуется непосредственного участия в деятельности общества |
Не требуется непосредственного участия в деятельности общества |
| 3.Ответственность участников (учредителей) |
Несут субсидиарную ответственность принадлежащим им имуществом |
Полные товарищи несут ответственность своим имуществом. Вкладчики несут ответственность в пределах внесенных вкладов |
Несет ответственность в пределах внесенных ими вкладов |
Несут субсидиарную ответственность по обязательствам своим имуществом в одинаковом для всех кратном размере к стоимости вкладов |
Несут ответственность в пределах стоимости принадлежащих им акций |
Несут ответственность в пределах стоимости принадлежащих им акций |
4. Состав учредительных документов
|
Учредительный договор |
Учредительный договор |
Учредительный договор, устав |
Учредительный договор, устав |
Устав акционерного общества |
Устав акционерного общества |
Продолжение табл.
| 5.Уставный фонд |
Формируется складочный капитал |
Формируется складочный капитал |
Формируется уставный капитал, УК не может быть меньше 100-кратного размера минимальной оплаты труда в месяц |
Формируется уставный капитал, УК не может быть меньше 100-кратного размера минимальной оплаты труда в месяц |
Формируется уставный капитал, УК не может быть меньше 1000-кратного размера минимальной оплаты труда в месяц |
Формируется уставный капитал, УК не может быть меньше 100-кратного размера минимальной оплаты труда в месяц |
| 6.Управление юридическим лицом |
Управление осуществляется по полному согласию всех участников (большинством голосов). Каждый участник имеет один голос |
Управление осуществляется полными товарищами Вкладчики не вправе участвовать в управлении |
Высший орган - общее собрание участников. Создается и исполнительный орган (он может состоять и не из участников) |
Высший орган - общее собрание участников. Создается и исполнительный орган (он может состоять и не из участников) |
Высший орган - общее собрание акционеров. При числе акционеров более 50 создается Совет директоров (Наблюдательный совет). Исполнительный орган - коллегиальный (правление, дирекция) или единоличный (директор, ген. директор) |
Высший орган - общее собрание акционеров. Исполнительный орган - коллегиальный (правление, дирекция) или единоличный (директор, ген. директор) |
7. Возможность выпускать акции
|
Невозможно |
Невозможно |
Невозможно |
Невозможно |
Обязано |
Обязано |
Продолжение табл.
| 8. Ограничения на участие в товариществе (обществе), в т.ч. количественные |
Участник может быть полным товарищем только в одном полном товариществе или товариществе на вере |
Участник может быть полным товарищем только в одном полном товариществе или товариществе на вере |
Число участников не должно превышать предела, установленного законом. Запрещено иметь в качестве единственного участника другое хозяйственное общество, состоящее из одного лица. |
Число участников не должно превышать предела, установленного законом. Запрещено иметь в качестве единственного участника другое хозяйственное общество, состоящее из одного лица. |
Число акционеров не ограничено. АО может быть создано одним лицом. АО не может иметь в качестве единственного участника другое хозяйственное общество, состоящее из одного лица. |
Число акционеров не может быть более 50. АО может быть создано одним лицом. АО не может иметь в качестве единственного участника другое хозяйственное общество, состоящее из одного лица. |
| 9. Выбытие участников (учредителей) |
Если товарищество учреждено без указания срока, отказ от участия в нем должен быть заявлен участником не менее, чем за 6 месяцев до выхода. Если товарищество учреждено на определенный срок - только по уважительной причине |
Полные товарищи - как в полном товариществе. Вкладчики имеют право выхода по окончании финансового года |
Право выхода в любое время, независимо от согласия других участников |
Право выхода в любое время, независимо от согласия других участников |
Право выхода в любое время, независимо от согласия других акционеров |
Право выхода в любое время, независимо от согласия других акционеров. Однако акции могут быть проданы только ограниченному кругу лиц по решению большинства акционеров |
Приложение
Б
Должностная инструкция главной медицинской сестры
I. Общие положения
1. Главная медицинская сестра относится к категории руководителей;
2. На должность главной медицинской сестры назначается лицо, имеющее высшее медицинское образование без предъявлений требований к стажу работы или среднее медицинское образование и стаж работы по профилю не менее 5 лет.
3. Назначение на должность главной медицинской сестры и освобождение от нее производится приказом руководителя учреждения.
4. Главная медицинская сестра должна знать:
4.1. Конституцию Российской Федерации.
4.2. Законы Российской Федерации и иные нормативные правовые акты по вопросам здравоохранения.
4.3. Порядок составления графиков работы и расстановки среднего и младшего медицинского персонала.
4.4. Теоретические основы гигиены и организации здравоохранения.
4.5. Организацию социальной и медицинской реабилитации больных.
4.6. Теоретические и организационные основы санитарно-эпидемиологической службы.
4.7. Организацию санитарного просвещения, гигиенического воспитания населения и пропаганды здорового образа жизни.
4.8. Законодательство о труде и охране труда Российской Федерации.
4.9. Правила и нормы охраны труда, техники безопасности, производственной санитарии и противопожарной защиты.
6. На время отсутствия главной медицинской сестры (отпуск, болезнь, пр.) ее обязанности исполняет лицо, назначенное приказом руководителя учреждения.
II. Должностные обязанности
Главная медицинская сестра:
1. Обеспечивает рациональную организацию труда среднего и младшего медицинского персонала, повышение их квалификации.
2. Осуществляет своевременную выписку, распределение и хранение перевязочных материалов, медикаментов и др., в том числе ядовитых и наркотических средств, ведет учет их расходования.
3. Контролирует:
работу среднего и младшего медицинского персонала по приему и выписке больных;
транспортировку больных внутри отделений больницы;
выполнение средним медицинским персоналом врачебных назначений;
санитарно-гигиеническое содержание отделений больницы, одежды и белья больных;
своевременность и качество дезинфекции помещений, где находились инфекционные больные.
III. Права
Главная медицинская сестра имеет право:
1. Участвовать в обсуждении вопросов, касающихся исполняемых ею должностных обязанностей.
2. Вносить на рассмотрение руководства учреждения по совершенствованию качества медицинской помощи населению, улучшению организации труда.
3. Подписывать и визировать документы в пределах своей компетенции.
4. Вносить предложения о поощрении отличившихся работников, наложении взысканий на нарушителей производственной и трудовой дисциплины.
5. Требовать от руководства учреждения оказания содействия в исполнении своих должностных обязанностей и прав.
6. Принимать участие в работе совещаний, конференций, секций, на которых рассматриваются вопросы, относящиеся к профессиональной компетенции.
IV. Ответственность
Главная медицинская сестра несет ответственность:
1. За ненадлежащее исполнение или неисполнение своих должностных обязанностей, предусмотренных настоящей должностной инструкцией, - в пределах, определенных действующим трудовым законодательством Российской Федерации.
2. За правонарушения, совершенные в процессе осуществления своей деятельности, - в пределах, определенных действующим административным, уголовным и гражданским законодательством Российской Федерации.
3. За причинение материального ущерба - в пределах, определенных действующим трудовым и гражданским законодательством Российской Федерации.
Приложение В
ИНСТРУКЦИЯ
для вводного инструктажа по охране труда
Общие положения
Охрана труда - система сохранения жизни и здоровья работников в процессе трудовой деятельности, включающая в себя правовые, социально-экономические, организационно-технические, санитарно-гигиенические, лечебно-профилактические, реабилитационные и иные мероприятия.
Каждый поступающий на работу в организацию должен знать Правила внутреннего трудового распорядка.
Работник обязан:
Работать честно и добросовестно;
Соблюдать дисциплину труда, требования охраны труда;
Правильно применять средства индивидуальной защиты;
Проходить обучение безопасным методом и приемам выполнения работ, инструктаж по охране труда, проверку знаний требований охраны труда;
Немедленно извещать своего непосредственного руководителя или вышестоящего руководителя о любой ситуации, угрожающей жизни и здоровью людей, о каждом несчастном случае, происшедшем на производстве, или об ухудшении состояния своего здоровья, в том числе о проявлении признаков острого профессионального заболевания (отравления);
Проходить обязательные предварительные и периодические медицинские осмотры.
Основные обязанности работодателя:
Обеспечение безопасности работников при эксплуатации зданий сооружений, оборудования, осуществлении технологических процессов, а также применяемых в производстве сырья и материалов;
Обеспечение применения средств индивидуальной и коллективной защиты работников;
Обеспечение соответствующие требованиям охраны труда условия труда на каждом рабочем месте;
Обеспечение режима труда и отдыха работников и другие требования в соответствии с законодательством Российской Федерации и законодательством субъектов Российской Федерации.
Рабочее время и его использование:
Время начала и окончания работы, перерывы для отдыха и питания устанавливаются Правилами внутреннего распорядка, о чем работники извещаются руководителями подразделений;
Администрация обязана организовать учет явки на работу и ухода с работы. Работники, появившиеся на работе в нетрезвом состоянии, не допускаются на работу администрацией в данный рабочий день, рабочую смену.
Каждый работник имеет право на охрану труда, в том числе:
1. На рабочее место, защищенное от воздействия вредных или опасных производственных факторов, которые могут вызвать производственную травму, профессиональное заболевание или снижение работоспособности.
2. На обязательное социальное страхование от несчастных случаев на производстве, в соответствии с законодательством РФ.
3. На получение достоверной информации от работодателя или государственных или общественных органов о состоянии условий и охраны труда на рабочем месте работника, о существующем риске повреждения здоровья, а также о принятых мерах по его защите от воздействия вредных или опасных производственных факторов.
4. На отказ без каких-либо необоснованных последствий для него от выполнения работ в случае возникновения непосредственной опасности для его жизни и здоровья до устранения этой опасности.
5. На обеспечение средствами коллективной и индивидуальной защиты в соответствии с требованиями законодательных и иных нормативных актов об охране труда за счет средств работодателя.
6. На обучение безопасным методам и приемам труда за счет средств работодателя.
7. На профессиональную переподготовку за счет средств работодателя в случае приостановки деятельности или закрытия предприятия, цеха, участка, либо ликвидации рабочего места вследствие неудовлетворительных условий труда, а также в случае потери трудоспособности в связи с несчастным случаем на производстве или профессиональным заболеванием.
8. На проведение инспектирования органами государственного надзора контроля или общественного контроля условий и охраны труда, в том числе по запросу работника на его рабочем месте.
9. На обращение с жалобой в соответствующие органы государственной власти, а также в профессиональные союзы и иных уполномоченные работниками представительные органы в связи с неудовлетворительными условиями и охраной труда.
10. Личное участие или участие через своих представителей в рассмотрении вопросов, связанных с обеспечением безопасных условий труда на его рабочем месте и в расследовании происшедшего с ним несчастного случая на производстве или его профессионального заболевания.
Гарантии права работника на охрану труда
Государство в лице органов законодательной, исполнительной и судебной власти гарантирует право на охрану труда работникам, участвующим в трудовом процессе по трудовому договору (контракту) с работодателем.
Условия трудового договора (контракта) должны соответствовать требованиям законодательных и иных нормативных актов об охране труда. В трудовом договоре (контракте) указываются достоверные характеристики условий труда, компенсации и льготы работникам за тяжелые работы и работы с вредными или опасными условиями труда.
Допуск к работе лиц, не прошедших в установленном порядке обучение, инструктаж и проверку знаний правил, норм и инструкций по охране труда запрещается.
Ограничения на тяжелые работы и работы с вредными или опасными условиями труда
На тяжелых работах и работах с вредными или опасными условиями труда запрещается применение труда женщин детородного возраста и лиц в возрасте до 21 года, а также тех лиц, кому эти работы противопоказаны по состоянию здоровья.
При обнаружении у работника признаков профессионального заболевания и ухудшения здоровья вследствие воздействия вредных или опасных производственных факторов работодатель на основании медицинского заключения должен перевести его на другую работу в установленном порядке.
Медицинские осмотры
Работодатель обязан в случаях, предусмотренных законодательством Российской Федерации, организовывать проведение предварительных (при поступлении на работу) и периодических (в течение трудовой деятельности) медицинских осмотров работников предприятия. Медицинские осмотры работников производятся за счет работодателя.
При уклонении работника от прохождения медицинских осмотров или невыполнении им рекомендаций по результатам проведенных обследований работодатель не должен допускать работника к выполнению им трудовых обязанностей.
Производственный травматизм и его причины
Производственный травматизм - это явление, характеризующееся совокупностью производственных травм. Производственной считается травма, полученная работающим на производстве. Травма является следствием несчастного случая, т.е. воздействия на работающего опасного производственного фактора при выполнении им трудовых обязанностей или задания руководителя работ.
Причины травм весьма разнообразны. Травмы могут возникать по таким причинам, как конструктивные недостатки оборудования, неисправность машин, механизмов, приспособлений и недостаточная механизация тяжелых и опасных операций, неудовлетворительная организация и содержание территории, рабочих мест, отсутствие средств индивидуальной защиты, недостатки в обучении и инструктаже по технике безопасности, нарушение правил эксплуатации транспорта, отсутствие ограждений и предохранительных устройств, нарушение правил и инструкций по технике безопасности, отсутствие должного надзора со стороны администрации за соблюдение правил техники безопасности.
Общие правила безопасности на производстве
К работе по выполнению какого-либо задания работник имеет право приступить только после того, как получен подробный инструктаж на рабочем месте по безопасным методам работы.
Инструктаж на рабочем месте проводят со всеми вновь принятыми в организацию, переводимыми из одного подразделения в другое, а также с работниками, выполняющими новую работу. Этот вид инструктажа проводят с каждым работником индивидуально с практическим показом безопасных приемом и методов труда. О проведении инструктажа делается запись в журнале регистрации инструктажа на рабочем месте с личными подписями получившего и проводившего инструктаж.
Повторный инструктаж проводят с целью проверки и повышения уровня знаний правил и инструкций по охране труда индивидуально или с группой рабочих по одной профессии не реже чем через 3 месяца.
В случае перехода для работы с одного участка на другой, при изменении рабочих операций, при переходе на обслуживание другого вида оборудования, вида работ, каждый работник должен получить дополнительный инструктаж по технике безопасности.
Находясь в подразделении, будьте внимательны. Выполняйте только порученную Вам работу. Работайте только на исправном оборудовании и исправным инструментом. Малейшая неисправность оборудования приводит к аварии и, как следствие, к несчастному случаю.
Электробезопасность
Основными причинами электротравматизма являются: неквалифицированная эксплуатация электроустановок, неудовлетворительное состояние электрохозяйства, грубые нарушения правил безопасности, отсутствие должного надзора при производстве работ. Основные меры безопасности при работе на электроустановках
Не работайте вблизи токоведущих частей оборудования, если они не изолированы и не снабжены защитными устройствами.
Не дотрагивайтесь до открытых токоведущих частей оборудования (распределительные устройства, провода, электродвигатели и т.д.). Включение и выключение электропусковых приборов (рубильников, пускателей) производится только сухими руками.
Не открывайте распределительные электрические щиты, электроприборы, не заменяйте электролампы, если эта работа не вменена в Ваши обязанности. В случае обнаружения электрического напряжения на металлических частях оборудования немедленно сообщите о неисправностях руководителю подразделения.
При обрыве электропроводов не отходя от места повреждения обеспечьте оповещение администрации для принятия срочных мер к устранению повреждения.
Опасность для человека тем меньше, чем меньше продолжительность воздействия тока. Быстрое отключение тока спасает пострадавшего.
ВНИМАНИЕ! О травме, полученной Вами или товарищем на производстве, немедленно сообщите руководителю подразделения и обратитесь в поликлинику, даже если травма незначительная.
Помощь при поражении электрическим током
Освобождение от тока
Прежде всего, пострадавшего необходимо быстро освободить от действия электрического тока. Однако необходимо помнить, что без принятия надлежащих мер предосторожности прикасаться к человеку, находящемуся под током, опасно для жизни. Поэтому следует отключить часть установки, которой касается пострадавший, учитывая при этом что, если пострадавший находится на высоте, после отключения установки и освобождения его от тока он может упасть. В этом случае должны быть приняты меры, обеспечивающие безопасность падения пострадавшего.
Если установку нельзя быстро отключить, необходимо изолировать пострадавшего от токоведущих частей. Для отделения пострадавшего от токоведущих частей или провода, находящегося под низким напряжением, следует воспользоваться сухой одеждой, сухой веревкой, сухой палкой, доской или каким-либо другим непроводником электрического тока.
Нельзя пользоваться металлическими или мокрыми предметами. Можно взяться за одежду пострадавшего, если она сухая и отстает от тела. Нельзя прикасаться незащищенными руками за ноги, так как обувь может быть сырой, а находящиеся в ней гвозди или крючки являются проводниками тока. Для защиты рук при спасении пострадавшего надо надеть резиновые перчатки, галоши или обмотать руки шарфом, спустить на руки свои рукава, накинуть на пострадавшего прорезиненную или просто сухую материю.
Меры первой помощи
Меры первой помощи зависят от состояния, в котором находится пострадавший после освобождения от тока.
1. Если пострадавший в сознании, но до этого был в обмороке или продолжительное время находился под действием тока, то, ввиду возможного ухудшения его состояния, его необходимо все же доставить к врачу. При тяжелом состоянии обязательно вызвать врача (скорую помощь) на место.
2. Пострадавшего, находящегося в бессознательном состоянии, нужно удобно уложить, расстегнуть одежду, создать приток свежего воздуха, удалить лишних людей. Дать понюхать нашатырный спирт, побрызгать водой (но не изо рта), согреть тело, быстро вызвать врача. Если пострадавший плохо дышит, необходимо делать искусственное дыхание и массаж сердца.
3. При отсутствии признаков жизни (дыхания, сердцебиения, пульса) нельзя все же считать пострадавшего мертвым. В этом случае немедленно освободить пострадавшего от стесняющей его одежды, обеспечить доступ свежего чистого воздуха, быстро освободить рот потерпевшего от зубных протезов, слизи, крови и т.д. Если рот стиснут, нужно пальцем нажать на нижнюю челюсть, выдвинуть ее вперед и разжать пострадавшему рот. Чтобы удержать рот в разжатом состоянии следует вставить между зубами какой-либо продолговатый предмет, обернутый в платок. Язык, если он глубоко запал, следует вытянуть, захватив носовым платком. Затем необходимо начать делать искусственное дыхание и делать его непрерывно до прибытия врача. Недопустимо для оживления пораженного током зарывать его в землю.
Оживление организма, пораженного электрическим током, может быть произведено несколькими способами. Все они основаны на проведении искусственного дыхания, но самым эффективным является способ «рот в рот». Способ искусственного дыхания «рот в рот» заключается в том, что оказывающий помощь производит выход из легких в легкие пострадавшего через специальное приспособление (трубку или непосредственно рот в рот или в нос пострадавшего). При отсутствии на месте происшествия необходимого приспособления следует раскрыть рот у пострадавшего, удалить из него посторонние предметы и слизь, запрокинуть голову и оттянуть нижнюю челюсть. После этого оказывающий помощь делает глубокий вдох и с силой выдыхает в рот пострадавшего, при этом оказывающий помощь плотно прижимает свой рот к лицу пострадавшего так, чтобы, по возможности, зажать ему нос. После этого оказывающий помощь откидывается назад и делает новый вдох. В этот период грудная клетка пострадавшего опускается и произвольно делает пассивный выдох. При невозможности полного охвата рта пострадавшего вдувать воздух в его легкие следует через нос, плотно закрыв при этом рот пострадавшему. Вдувание воздуха в рот или нос можно производить через марлю, салфетку или носовой платок. При проведении искусственного дыхания нельзя допускать охлаждения пострадавшего (не оставлять на сырой земле, каменном, бетонном или металлическом полу, подстелить под пострадавшего что-либо теплое, укрыть его сверху).
Помощь при отравлении ядовитыми газами
При отравлении ядовитыми газами (угарным газом, ацетоном, природным газом, парами бензина и т.д.) появляются головные боли, шум в ушах, головокружение, тошнота, рвота, потеря сознания, резкое ослабление дыхания, расширение зрачков. Следует немедленно вывести пострадавшего на свежий воздух и организовать подачу кислорода для дыхания. Необходимо сразу вызвать врача. До прихода врача пострадавшего следует уложить, опустив голову и приподняв ноги, дать выпить холодной воды и понюхать нашатырный спирт. Класть на голову примочки и лед не рекомендуется. Дать выпить большое количество молока.
Требования законодательных актов о расследовании несчастных случаев на производстве
Требования статей 227-231 ТК РФ устанавливает единый порядок расследования и учета несчастных случаев на производстве, обязательное для предприятий, учреждений и других организаций всех форм собственности.
Расследованию и учету подлежат несчастные случаи (травмы, в том числе полученные в результате нанесения телесных повреждений другим лицом, острое отравление, тепловой удар, обморожение, утопление, поражение электрическим током, молнией, ионизирующим излучением, укусы насекомых и пресмыкающихся, телесные повреждения, нанесенные животными, повреждения, полученные в результате взрывов, аварий, разрушения зданий, сооружений и конструкций, стихийных бедствий и других чрезвычайных ситуаций), повлекшие за собой необходимость перевода работника на другую работу, временную или стойкую утрату им трудоспособности либо его смерть и происшедшие при выполнении работником своих трудовых обязанностей на территории организации или вне ее, а также во время следования к месту работы или с работы на транспорте, предоставленном организацией. Работодатель или лицо, им уполномоченное, обязан:
1. Обеспечить незамедлительное оказание пострадавшему первой помощи, при необходимости доставку его в учреждение скорой медицинской помощи или любое иное лечебно-профилактическое учреждение;
2. Организовать формирование комиссии по расследованию несчастного случая;
3. Обеспечить сохранение до начала расследования обстоятельств и причин несчастного случая обстановки на рабочем месте и оборудования такими, какими они были на момент происшествия (если это не угрожает жизни и здоровью работников и не приведет к аварии). Расследование обстоятельств и причин несчастного случая должно быть проведено в течение 3 суток с момента его происшествия. По материалам расследования составляется акт по форме Н-1, один экземпляр выдается на руки пострадавшему.
|