Задание на выполнение работы
Схема исследуемой цепи:

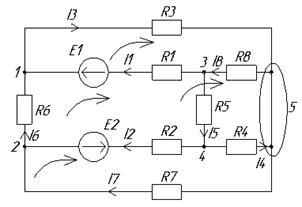
Рис. 1. Принципиальная схема исследуемой цепи
Таблица 1. Параметры элементов схемы
| Элемент схемы |
E1
|
E2
|
R1
|
R2
|
R3
|
R4
|
R5
|
R6
|
R7
|
R8
|
| U, V |
20 |
47 |
| RF
, W |
51 |
130 |
175 |
240 |
300 |
140 |
179 |
500 |
Пункт 1.
Рассчитаем значения токов ветвей методом уравнений Кирхгофа. Для расчета используем схему, приведенную на рис. 1. Данная схема содержит 5 узлов, 8 ветвей, 2 источника ЭДС и не содержит источников тока. Подсчитаем количество уравнений системы, составленной по методу Кирхгофа.
Количество уравнений для первого закона равно:

где Nу
– количество узлов рассматриваемой принципиальной схемы.
Количество уравнений для второго закона равно:
,
где Nв
, NT
– количество узлов и источников тока соответственно.
Подставив значения, получаем, что количество уравнений, составленных по первому закону равно 4, а по второму также 4. Приняв положительное направление обхода контуров и направления токов в ветвях, отметим это на схеме (рис. 2.).

Рис. 2
Составим систему уравнений, основываясь на направлениях токов и положительном направлении обхода.

Подставив значения сопротивлений резисторов из таблицы 1, сформируем матричное уравнение вида AX= B, где
 
Решая указанную систему, получаем искомую матрицу Х, которая содержит значения токов.

Найденные токи перечислены в таблице 2.
Таблица 2
| Номер тока |
1 |
2 |
3 |
4 |
5 |
6 |
7 |
8 |
| Значение тока, mA |
11 |
-16 |
2 |
7 |
-9 |
-10 |
6 |
2 |
Пункт 2.
Рассчитаем токи в исходной схеме по методу контурных токов. Количество уравнений для данного метода равно количеству уравнений для второго закона Кирхгофа, которое было подсчитано ранее. Исследуемая принципиальная схема содержит 4 контура, в которых действуют 4 контурных тока, направления которых показаны на рис. 3.

Рис. 3. Условные положительные направления контурных токов
Учитывая эти положительные направления можно записать систему уравнений по методу контурных токов в общем виде:
 
Собственные сопротивления контуров:

Общие сопротивления контуров:

Контурные Э.Д.С.:

Матрицы, составленные по представленным данным имеют вид:
 
Решив систему, получим:

Зная контурные токи, находим токи в ветвях:

Сравнивая значения токов, полученные методом контурных токов и методом уравнения Кирхгофа, видим, что они практически совпадают.
Пункт 3.
Рассчитаем токи методом узловых напряжений. Схема с нумерацией узлов и условными положительными направлениями узловых напряжений показана на рис. 4.

Рис. 4. Направления узловых напряжений.
Анализируемая схема содержит четыре независимых узла, значит количество уравнений будет равно количеству уравнения первого закона Кирхгофа, а общий вид системы для определения узловых напряжений будет таким:
 
Собственные проводимости узлов:

Общие проводимости узлов:

Узловые токи:

Матрицы имеют вид:
 
Решив систему, получим:

Зная узловые напряжения, найдем токи ветвей. Для этого воспользуемся вторым законом Кирхгофа:

Найденные токи совпадают с рассчитанными ранее другими методами.
Пункт 4.
Преобразование заданной схемы в трёхконтурную.


Рис. 5. Преобразование заданной схемы в трёхконтурную
Изменяются параллельно соединённые участки цепи одним эквивалентным.



Пункт 5.
Рассчитаем токи в исходной схеме по методу контурных токов. Схема содержит три независимых контура с тремя контурными токами, она изображена на рис. 6.

Рис. 6. Нахождение тока в преобразованной цепи
Необходимо составить систему уравнений для первого и второго уравнения Кирхгофа.
Составляем матрицу для получения нужных токов.
 
Получаем искомые токи:

Пункт 6.
Расчёт тока в заданной ветке методом эквивалентного генератора.
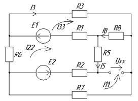
После разрыва исследуемой ветви схема примет вид, показанный на рис. 7.

Рис. 7.
После разрыва ветви схема упрощается: резисторы теперь образуют одну ветвь с током .
Рассчитаем напряжение холостого хода, составив уравнение второго закона Кирхгофа:
.
Для того, чтобы рассчитать , необходимо знать токи знать токи и . После разрыва схема содержит 3 независимых контура и 4 независимых узла. Поэтому рассчитаем токи методом контурных токов. Система уравнений в общем виде будет такой:

Собственные сопротивления контуров:

Общие проводимости узлов:

Узловые токи:

Матрицы имеют вид:
, 
Ее решение: Искомые токи  
Теперь можно найти :

Для расчета исключим из схемы источники энергии, оставив их внутренние сопротивления. Для этого имеющиеся в схеме источники напряжения необходимо замкнуть накоротко. Схема без источников имеет вид (рис. 8):

Рис. 8. Схема для определения 
В принципиальной схеме резисторы , и соединены треугольником. Заменим это соединение эквивалентной звездой , , . Имеем:


После замены схема имеет вид (рис. 9):

Рис. 9.
Проведём нужные преобразования ещё раз:


Рис. 10.
После сделанных преобразований мы имеем еще один условный треугольник ,

Рис. 11.

Эквивалентное сопротивление генератора можно найти следующим способом:

Для проверки правильности расчетов определим по формуле эквивалентного генератора ток в ветви с в исходной схеме:

Этот ток практически совпадает с найденным ранее, что свидетельствует о буквальной правильности вычислений.
| Ток |
Метод уравнений закона Кирхгофа |
Метод контурных токов |
Метод узловых напряжений |
Метод уравнений Кирхгофа для преобразованной схемы |
Метод эквивалентного генератора |
| I1
|
0,11 |
0,11 |
0,11 |
| I2
|
-0,16 |
-0,16 |
-0,12 |
| I3
|
0,02 |
0,02 |
0,02 |
-0,02 |
| I4
|
-0,07 |
-0,07 |
0,07 |
-0,1 |
-0,07 |
| I5
|
-0,1 |
-0,1 |
-0,1 |
| I6
|
-0,01 |
-0,01 |
-0,01 |
0,01 |
| I7
|
0,06 |
0,06 |
0,06 |
0,06 |
| I8
|
0,02 |
0,02 |
0,02 |
| I9
|
0,15 |
| I10
|
0,11 |
|