Банк рефератов содержит более 364 тысяч рефератов, курсовых и дипломных работ, шпаргалок и докладов по различным дисциплинам: истории, психологии, экономике, менеджменту, философии, праву, экологии. А также изложения, сочинения по литературе, отчеты по практике, топики по английскому.
Полнотекстовый поиск
Всего работ:
364139
Теги названий
Разделы
Авиация и космонавтика (304)
Административное право (123)
Арбитражный процесс (23)
Архитектура (113)
Астрология (4)
Астрономия (4814)
Банковское дело (5227)
Безопасность жизнедеятельности (2616)
Биографии (3423)
Биология (4214)
Биология и химия (1518)
Биржевое дело (68)
Ботаника и сельское хоз-во (2836)
Бухгалтерский учет и аудит (8269)
Валютные отношения (50)
Ветеринария (50)
Военная кафедра (762)
ГДЗ (2)
География (5275)
Геодезия (30)
Геология (1222)
Геополитика (43)
Государство и право (20403)
Гражданское право и процесс (465)
Делопроизводство (19)
Деньги и кредит (108)
ЕГЭ (173)
Естествознание (96)
Журналистика (899)
ЗНО (54)
Зоология (34)
Издательское дело и полиграфия (476)
Инвестиции (106)
Иностранный язык (62791)
Информатика (3562)
Информатика, программирование (6444)
Исторические личности (2165)
История (21319)
История техники (766)
Кибернетика (64)
Коммуникации и связь (3145)
Компьютерные науки (60)
Косметология (17)
Краеведение и этнография (588)
Краткое содержание произведений (1000)
Криминалистика (106)
Криминология (48)
Криптология (3)
Кулинария (1167)
Культура и искусство (8485)
Культурология (537)
Литература : зарубежная (2044)
Литература и русский язык (11657)
Логика (532)
Логистика (21)
Маркетинг (7985)
Математика (3721)
Медицина, здоровье (10549)
Медицинские науки (88)
Международное публичное право (58)
Международное частное право (36)
Международные отношения (2257)
Менеджмент (12491)
Металлургия (91)
Москвоведение (797)
Музыка (1338)
Муниципальное право (24)
Налоги, налогообложение (214)
Наука и техника (1141)
Начертательная геометрия (3)
Оккультизм и уфология (8)
Остальные рефераты (21692)
Педагогика (7850)
Политология (3801)
Право (682)
Право, юриспруденция (2881)
Предпринимательство (475)
Прикладные науки (1)
Промышленность, производство (7100)
Психология (8692)
психология, педагогика (4121)
Радиоэлектроника (443)
Реклама (952)
Религия и мифология (2967)
Риторика (23)
Сексология (748)
Социология (4876)
Статистика (95)
Страхование (107)
Строительные науки (7)
Строительство (2004)
Схемотехника (15)
Таможенная система (663)
Теория государства и права (240)
Теория организации (39)
Теплотехника (25)
Технология (624)
Товароведение (16)
Транспорт (2652)
Трудовое право (136)
Туризм (90)
Уголовное право и процесс (406)
Управление (95)
Управленческие науки (24)
Физика (3462)
Физкультура и спорт (4482)
Философия (7216)
Финансовые науки (4592)
Финансы (5386)
Фотография (3)
Химия (2244)
Хозяйственное право (23)
Цифровые устройства (29)
Экологическое право (35)
Экология (4517)
Экономика (20644)
Экономико-математическое моделирование (666)
Экономическая география (119)
Экономическая теория (2573)
Этика (889)
Юриспруденция (288)
Языковедение (148)
Языкознание, филология (1140)

Лабораторная работа: Исследование процесса ректификации в насадочной колонне периодического действия

Название: Исследование процесса ректификации в насадочной колонне периодического действия
Раздел: Рефераты по химии
Тип: лабораторная работа Добавлен 10:27:55 15 мая 2010 Похожие работы
Просмотров: 17 Комментариев: 14 Оценило: 2 человек Средний балл: 5 Оценка: неизвестно     Скачать

Министерство образования РФ

Государственное образовательное учреждение высшего профессионального

образования.

Самарский государственный технический университет.

Кафедра: «Химическая технология и промышленная экология»

Лабораторная работа

Исследование процесса ректификации в насадочной колонне периодического действия

Выполнил: студент III – ХТ – 2 Степанов В. Н.

Принял: преподаватель Чуркина А. Ю.

Cамара, 2006 г.


Цель работы:

· Ознакомление с процессом периодической ректификации в насадочной колонне;

· Определение величины флегмового числа, числа ступеней изменения концентрации, числа единиц переноса и коэффициента массопередачи;

Описание экспериментальной установки:

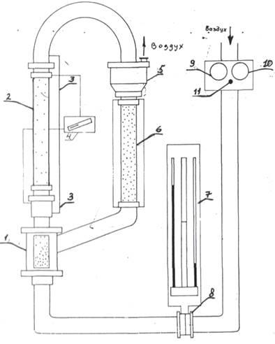
Рис. 1 Экспериментальная установка.

1 – центральная ректификационная колонка; 2 – конденсатор, 3 – краник для отбора дистиллята, 4 – мерная колба, 5 – трехгорлая колба, 6 – штуцер, 7 – нагреватель, 8 – ЛАТР, 9 – капельник, 10 – капельник.

Табл. 1. Рабочие характеристики колонны

Высота, заполненная насадкой, м l = 0,6
Внутренний диаметр колонны, см d = 1,3
Насадка кольца из нихромовой проволоки диаметр проволоки 0,3 мм
число витков 2-3

Обработка результатов эксперимента:


Этап 1.

1. Определяем величину критерия Архимеда

2. Находим критерий Рейнольдса для режима витания частиц:

,

3. Определяем значение теоретической скорости витания частиц:

,

4. Находим величину критического критерия Рейнольдса:

5. Определяем критическую скорость псевдоожижения:

6. Число псевдоожижения:

.

7. Определяем расход воздуха, соответствующий режиму витания:

8. Находим величину экспериментальной скорости витания частиц:

Результаты расчетов приведены в табл. 2.


Этап II.

1. Находим расход воздуха для режима пневмотранспорта:

2. Находим расход полиэтилена:

3. Величина порозности слоя полиэтилена:

4. Общие потери напора для каждого из режимов пневмотранспорта:

а) Статический напор, равный весу столба твердых частиц и воздуха

б) Потери напора на трение воздуха о стенки:

, где:

, поскольку:

,

Скорость воздуха: .

в) Потери на трение частиц о стенки:

г) Потеря напора на разгон частиц:

.

Табл. 2 Результаты обработки эксперимента:

Этап работы Расход воздуха, Vв, м3/с Скорость воздуха, м/с Расход полиэтилена, G, кг/с Порозность, ε Потеря напора, Па
∆Рcm ∆Рв ∆Р ∆Рp
Псевдо-ожижение 0.0034 6.4579 ___ _____ _____ _____ _____ _____
Пневмо-транспорт
1 0.0055 10.3036 0.0080 0.9772 327.6828 104.5330 448.6034 34.6019

По полученным данным строим график зависимости :

Вывод:

Оценить/Добавить комментарий
Имя
Оценка
Комментарии:
Привет студентам) если возникают трудности с любой работой (от реферата и контрольных до диплома), можете обратиться на FAST-REFERAT.RU , я там обычно заказываю, все качественно и в срок) в любом случае попробуйте, за спрос денег не берут)
Olya05:20:50 27 августа 2019
.
.05:20:49 27 августа 2019
.
.05:20:48 27 августа 2019
.
.05:20:47 27 августа 2019
.
.05:20:47 27 августа 2019

Смотреть все комментарии (14)
Работы, похожие на Лабораторная работа: Исследование процесса ректификации в насадочной колонне периодического действия

Назад
Меню
Главная
Рефераты
Благодарности
Опрос
Станете ли вы заказывать работу за деньги, если не найдете ее в Интернете?

Да, в любом случае.
Да, но только в случае крайней необходимости.
Возможно, в зависимости от цены.
Нет, напишу его сам.
Нет, забью.



Результаты(286383)
Комментарии (4153)
Copyright © 2005-2021 HEKIMA.RU [email protected] реклама на сайте