Факультет:
Специальность:
экология
Дисциплина:
прикладная экология
Курсовая работа
На тему:
«Расчет батарейного циклона»
Вариант 8
Задание
В батарейном циклоне (рис. 4) требуется очищать от пыли 7700 м3
/ч газа при температуре 300 °С. Плотность газа (при 0 °С и 760 мм рт. ст.) 1,3 кг/м3
. Барометрическое давление составляет 98 634 Н/м2
(750 мм рт. ст.). На входе в батарейный циклон газы находятся под разрежением 294,0 Н/м2
(30 мм вод. ст.). Гидравлическое сопротивление батарейного циклона не должно превышать 392 Н/м2
(40 мм вод. ст.). Плотность пыли 2400 кг/м3. Запыленность газа 50 г/м3
при 0 °С и 700 мм рт. ст. Пыль слабо слипающаяся.
| № |
Объёмный расход газа, м3
/ч |
t
,
o
C
потока |
Плотность пыли, кг/м3
|
Барометри-ческое давление, Н/м2
|
| 8 |
7700 |
300 |
2400 |
98634 |
В данной курсовой работе представлена схема батарейного циклона и его элементов на рис. 2, 3.
Содержание
Введение. 4
1. Теоретическое обоснование метода очистки в батарейном циклоне. 10
1.1 Общие сведения о циклонах. 10
1.2 Очистка запыленных газов в батарейном циклоне. 14
2. Технологическая схема батарейного циклона и его элементов. 16
3.Технологический расчет батарейного циклона. 18
Заключение. 20
Список используемой литературы:22
Введение
Длительное время локальные загрязнения атмосферы сравнительно быстро разбавлялись массами чистого воздуха. Пыль, дым, газы рассеивались воздушными потоками и выпадали на землю с дождем и снегом, нейтрализовались, вступая в реакции с природными соединениями. Сейчас объемы и скорость выбросов превосходят возможности природы к их разбавлению и нейтрализации. Поэтому необходимы специальные меры для устранения опасного загрязнения атмосферы. Основные усилия сейчас направлены на предупреждение выбросов загрязняющих веществ в атмосферу. На действующих и новых предприятиях устанавливают пылеулавливающее и газоочистное оборудование. В настоящее время продолжается поиск более совершенных способов их очистки.
Степень опасности промышленных отходов изменяется от таких безвредных материалов, как песок, и до диоксинов, являющихся одними из самых токсичных веществ. Удаление вредных отходов, угрожающих как здоровью человека, так и состоянию окружающей среды, – неотложная задача мирового масштаба. Хотя вредные отходы составляют только примерно 15% всех промышленных отходов, крайняя степень наносимого некоторыми из них вреда требует, чтобы они удалялись правильно и тщательно.
Газообразные промышленные отходы включают в себя смеси нескольких компонентов (азотоводородная смесь, аммиачно- воздушная смесь, смесь диоксида серы и фосгена); не вступившие в реакции газы (компоненты) исходного сырья; газообразные продукты; отработанный воздух окислительных процессов; сжатый (компрессорный) воздух для транспортировки порошковых материалов, для сушки, нагрева, охлаждения и регенерации катализаторов; для продувки осадков на фильтровальных тканях и других элементах; индивидуальные газы (аммиак, водород, диоксид серы и др.); газопылевые потоки различных технологий; отходящие дымовые газы термических реакторов, топок и др., а также отходы газов, образующиеся при вентиляции рабочих мест и помещений. Пылеобразование происходит в процессах измельчения, классификации, смешения, сушки и транспортирования порошковых и гранулированных сыпучих материалов.
Для обезвреживания и очистки газообразных и газопылевых выбросов используют
· сухие методы
· мокрые методы
· электрические методы
Кроме того, аппараты отличаются друг от друга как по конструкции, так и по принципу осаждения взвешенных частиц. В основе работы сухих аппаратов лежат гравитационные, инерционные и центробежные механизмы осаждения или фильтрационные механизмы. В мокрых пылеуловителях осуществляется контакт запыленных газов с жидкостью. При этом осаждение происходит на капли, на поверхность газовых пузырей или на пленку жидкости. В электрофильтрах отделение заряженных частиц аэрозоля происходит на осадительных электродах.
В настоящее время методы очистки запыленных газов классифицируют на следующие группы:
1. «Сухие» механические пылеуловители.
2. Пористые фильтры.
3. Электрофильтры.
4. «Мокрые» пылеулавливающие аппараты.
В данной курсовой работе рассмотренны аппараты относящиеся к механическим пылеуловителям. К сухим механическим пылеуловителям относятся аппараты, в которых использованы различные механизмы осаждения: гравитационный, инерционный и центробежный.
Инерционные пылеуловители
. При резком изменении направления движения газового потока частицы пыли под воздействием инерционной силы будут стремиться двигаться в прежнем направлении и после поворота потока газов выпадают в бункер. Эффективность этих аппаратов небольшая.
Жалюзийные аппараты
. Эти аппараты имеют жалюзийную решетку, состоящую из рядов пластин или колец. Очищаемый газ, проходя через решетку, делает резкие повороты. Пылевые частицы вследствие инерции стремятся сохранить первоначальное направление, что приводит к отделению крупных частиц из газового потока, тому же способствуют их удары о наклонные плоскости решетки, от которых они отражаются и отскакивают в сторону от щелей между лопастями жалюзи. В результате газы делятся на два потока. Пыль в основном содержится в потоке, который отсасывают и направляют в циклон, где его очищают от пыли и вновь сливают с основной частью потока, прошедшего через решетку. Скорость газа перед жалюзийной решеткой должна быть достаточно высокой, чтобы достигнуть эффекта инерционного отделения пыли.
Обычно жалюзийные пылеуловители применяют для улавливания пыли с размером частиц >20 мкм.
Эффективность улавливания частиц зависит от эффективности решетки и эффективности циклона, а также от доли отсасываемого в нем газа.
Циклоны
. Циклонные аппараты наиболее распространены в промышленности.
В промышленности циклоны подразделяются на высокоэффективные
и высокопроизводительные.
При больших расходах очищаемых газов применяют групповую компоновку аппаратов. Это позволяет не увеличивать диаметр циклона, что положительно сказывается на эффективности очистки. Запыленный газ входит через общий коллектор, а затем распределяется между циклонами.
Батарейные циклоны
- объединение большого числа малых циклонов в группу. Снижение диаметра циклонного элемента преследует цель увеличения эффективности очистки.
Вихревые пылеуловители.
Отличием вихревых пылеуловителей от циклонов является наличие вспомогательного закручивающего газового потока.
Динамические пылеуловители
. Очистка газов от пыли осуществляется за счет центробежных сил и сил Кориолиса, возникающих при вращении рабочего колеса тягодутьевого устройства.
Фильтры.
В основе работы всех фильтров лежит процесс фильтрации газа через перегородку, в ходе которого твердые частицы задерживаются, а газ полностью проходит сквозь нее.
В зависимости от назначения и величины входной и выходной концентрации фильтры условно разделяют на три класса: фильтры тонкой очистки, воздушные фильтры и промышленные фильтры.
Электрофильтры.
Очистка газа от пыли в электрофильтрах происходит под действием электрических сил. В процессе ионизации молекул газов электрическим разрядом происходит заряд содержащихся в них частиц. Ионы абсорбируются на поверхности пылинок, а затем под воздействием электрического поля они перемещаются и осаждаются к осадительным электродам.
При выборе аппаратов для очистки газа следует принимать во внимание технико-экономические показатели их работы, при определении которых необходимо учитывать степень очистки газа, гидравлическое сопротивление аппарата, расход электроэнергии, пара и воды на очистку, стоимость аппарата и стоимость очистки газа (обычно все расходы относят к 1000 м3
очищаемого газа). При этом должны быть приняты во внимание факторы, от которых зависит эффективность очистки: влажность газа и содержание в нем пыли, температура газа и его химическая агрессивность, свойства пыли (сухая, липкая, волокнистая, гигроскопическая и т. д.), размеры частиц пыли и ее фракционный состав и пр.
Ниже приведены некоторые усредненные характеристики распространенных газоочистительных аппаратов, таблица 1.
Как видно из этих данных, инерционные пылеуловители и циклоны пригодны лишь для отделения сравнительно крупных частиц и могут бытьиспользованы для предварительной, грубой очистки от сухой, нелипкой и неволокнистой пыли. Вместе с тем эти аппараты не требуют высоких капитальных и эксплуатационных затрат. Их не рекомендуется применять для отделения мелкой пыли с размерами частиц менее 10 мкм.
Инерционные пылеуловители и циклоны часто используют в качестве первой ступени очистки перед более эффективными газоочистительными аппаратами, например перед электрофильтрами.
Таблица 1
| Аппараты
|
Максимальное содержание пыли
в газе, кг/м3
|
Размеры
отдельных частиц, мкм
|
Степень очистки,
%
|
Гидравлическое
сопротивление,
Н/м2
|
| Пылеосадительные камеры |
– |
Более 100 |
30—40 |
– |
| Жалюзийные пылеуловители |
0,02 |
Более 25 |
60 |
500 |
| Циклоны |
0,4 |
Более 10 |
70—95 |
400—700 |
| Батарейные циклоны |
0,1 |
Более 10 |
85—90 |
500—800 |
| Рукавные фильтры |
0,02 |
Более 1 |
98—99 |
500—2500 |
| Центробежные скрубберы |
0,05 |
Более 2 |
85—95 |
400—800 |
| Пенные пылеуловители |
0,3 |
Более 0,5 |
95—99 |
300—900 |
| Электрофильтры |
0,01—0,05 |
Более 0,00599 |
99 и менее |
100—200 |
Циклоны и батарейные циклоны целесообразно применять для очистки газов с относительно высоким содержанием пыли, причем батарейные циклоны рекомендуется использовать при больших расходах очищаемого газа.
Рукавные фильтры применяют для тонкой очистки газов от сухой или трудноувлажняемой пыли, размеры частиц которой превышают 1 мкм,например для улавливания цемента, сажи, окислов цинка и т. д. Они эффективно работают при очистке газов от волокнистой пыли, например, асбестовой, но не пригодны для удаления липкой и влажной пыли.
Для весьма полной очистки газов от мелкодисперсной пыли используют мокрые пылеуловители и электрофильтры. Мокрые пылеуловители применяют тогда, когда желательно или допустимо охлаждение и увлажнение очищаемого газа, а отделяемая пыль химически не взаимодействует с орошающей жидкостью и может быть впоследствии выделена из жидкости, если пыль является ценным продуктом. Эти пылеочистители достаточно просты в изготовлении, а стоимость аппаратуры и затраты на ее обслуживание меньше, чем для электрофильтров.
При электрической очистке газов можно получить весьма высокую степень улавливания взвешенных частиц. При этом расход энергии невелик вследствие малого потребления тока и низкого гидравлического сопротивления электрофильтров. Расход энергии на очистку 1000 м3
/чгаза составляет в них обычно 0,2–0,3 кВт·ч.
Для очистки сухих газов используют преимущественно пластинчатые электрофильтры, а для отделения трудноулавливаемой пыли и туманов – трубчатые. Электрофильтры являются относительно дорогостоящими и сложными в эксплуатации аппаратами. Они мало пригодны для очистки газов от твердых частиц, имеющих очень малое удельное электрическое сопротивление и в некоторых других случаях.
1. Теоретическое обоснование метода очистки в батарейном циклоне
1.1 Общие сведения о циклонах
Циклоны - наиболее распространенные аппараты пылеочистки. Применяются на предприятиях металлургии, химической и нефтяной промышленности, в энергетике, деревообработке и других отраслях.
При небольших капитальных затратах и эксплуатационных расходах циклоны в зависимости от характеристик улавливаемой пыли, типа и режима работы циклона обеспечивают эффективность очистки газов 80-95% частиц пыли размером более 10 мкм.
Циклоны
рекомендуется использовать для предварительной очистки газов и устанавливать перед высокоэффективными пылеулавливающими агрегатами
(например, фильтрами и электрофильтрами
). В ряде случаев достигаемая эффективность циклонов оказывается достаточной для выброса газов или воздуха в атмосферу.
Циклоны выбирают в зависимости от:
· объема воздуха, необходимого для аспирации,
· размера частиц продукта,
· требуемой степени очистки,
· условий выгрузки осажденного продукта
изготовляют в климатических исполнениях: У1-4 и УХЛ4 по ГОСТ 15150-69.
Преимущества предлагаемых пылеулавливающих агрегатов
:
· эффективная очистка воздуха в помещениях;
· экономия энергии на подогрев наружного воздуха;
· локализация отходов в бункер-накопитель (пыли, стружки и др.).
Циклоны могут использоваться как для предварительной очистки газов и устанавливаться перед тканевыми фильтрами или электрофильтрами, так и самостоятельно.
В зависимости от расхода очищаемого газа циклоны могут устанавливаться по одному (одиночные циклоны) или объединяться в группы из двух, четырех, шести или восьми циклонов (групповые циклоны). Циклоны могут применяться для очистки газов от нескольких сотен до сотен тысяч кубометров в час.
Циклоны могут изготавливаться с «левым» и «правым» вращением газового потока. Обычно «правым» принято называть вращение потока в циклоне по часовой стрелке (если смотреть со стороны выхлопного патрубка), «левым» - вращение потока против часовой стрелки. Направление вращения выбирают исходя из условий компоновки циклона в схеме, а также расположения циклонов в группе.
Эффективность очистки газа в циклоне в основном определяется его типом, размером, дисперсным составом и плотностью частиц улавливаемой пыли, а также вязкостью газа.С уменьшением диаметра циклона и повышением до определенного предела скорости газа в циклоне эффективность очистки возрастает.
Особенностью работы циклонов является то, что эффективность очистки газа резко снижается при подсосе атмосферного воздуха внутрь циклона, особенно через бункер. Экспериментальные исследования показали, что 1 % подсоса воздуха снижает эффективность очистки на величину от 1 до 4 %, поэтому подсос должен быть сведен к минимуму.
Для пыли заданного дисперсного состава она может быть рассчитана исходя из кривых фракционной эффективности, приведенных в соответствующих нормативных материалах, таких как: «Руководящие указания по Проектированию, изготовлению, монтажу и эксплуатации циклонов НИИОГАЗ» (Всесоюзное объединение по очистке газов и пылеулавливанию, Ярославль, 1971), и ряде других.
Важной величиной, характеризующей энергетические затраты на очистку газа циклоном, является его коэффициент гидравлического сопротивления. Коэффициенты гидравлического сопротивления циклонов, приведенные в специальном каталоге, отнесены к средней скорости газов в поперечном сечении цилиндрической части корпуса циклонов.
Другой, весьма важной характеристикой циклона, является его стойкость к абразивному износу, которая определяет долговечность работы аппарата. Абразивный износ возникает вследствие концентрации частиц у стенок циклона и динамического воздействия частиц со стенками.
Исследования характера износа различных элементов циклона показывают, что наибольший износ наблюдается в верхней части корпуса циклона на участке входа запыленного газа в циклон и внизу конической части циклона. Интенсивность абразивного износа циклонов в зависимости от конкретных условий эксплуатации может достигать 12-20 мм в год.
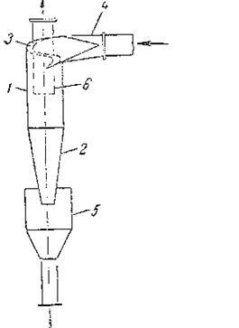
Циклоны пылеуловители
(рис. 1) состоят из вертикального цилиндрического корпуса 1
с коническим днищем 2
и крышкой 3. Запыленный газ поступает тангенциально со значительной скоростью (20–30 м/с)
через патрубок 4
прямоугольного сечения в верхнюю часть корпуса циклона. В корпусе поток запыленного газа движется вниз по спирали вдоль внутренней поверхности стенок циклона. При таком вращательном движении частицы пыли, как более тяжелые, перемещаются в направлении действия центробежной силы быстрее, чем частицы газа, концентрируются в слоях газа, примыкающих к стенкам аппарата, и переносятся потоком в пылесборник 5
. Здесь пыль оседает, а очищенный газ, продолжая вращаться по спирали, поднимается к верху и удаляется через выхлопную трубу 6.
Движение частиц пыли в циклоне обусловлено в основном вращательным движением потока газа по направлению к пылесборнику (влияние сил тяжести частиц имеет в данном случае значительно меньшее значение). Поэтому циклоны можно устанавливать не только вертикально, но также наклонно или горизонтально.
Фиктивная скорость очищаемого газа (в м/с)в цилиндрической части циклона может быть определена по формуле

где ρ – плотность газа, кг/м3
.
Для широко распространенных циклонов НИИОгаз отношение Δр
/ρ равно 500 – 750 м2
/с2
.
Значение коэффициента гидравлического сопротивления ζп
, отнесенного к wn
,
принимают, согласно опытным данным, после чего определяют диаметр D
цилиндрической части циклона по уравнению расхода. Остальные размеры аппарата находят по значению D.
Степень очистки газов определяют по нормалям и номограммам, составленным на основе опытных данных, в зависимости от фракционного состава пыли и ее плотности, начальной запыленности газов, допускаемого гидравлического сопротивления и т. д.
Циклоны из углеродистой стали (нормализованные) применяются для очистки газов, имеющих температуру не более 673 К (400 °С). Газы с более высокими температурами очищают в циклонах, изготовленных из жаропрочных материалов; в этих случаях корпус циклона часто футеруют изнутри термостойкими материалами (шамотным кирпичом, огнеупорными плитками и др.).
Наиболее низкая температура газов, поступающих на очистку в циклон, должна быть не менее чем на 15–20 о
С выше их точки росы, чтобы не происходили конденсация паров влаги и образование шлама, что вызывает резкое ухудшение очистки.
Как известно, степень очистки газа в циклонах зависит от величины фактора разделения Кр
= w
2
/
rg
. Из этого выражения видно, что степень очистки газа в циклонах может быть повышена либо путем уменьшения радиуса вращения потока запыленного газа, либо путем увеличения скорости газа. Однако повышение скорости газа вызывает значительное возрастание гидравлического сопротивления циклона и увеличение турбулентности газового потока, ухудшающей очистку газа от пыли. Уменьшение радиуса циклона приводит к снижению его производительности. Поэтому часто для очистки больших количеств запыленных газов вместо циклона большого диаметра применяют несколько циклонных элементов значительно меньшего диаметра (их монтируют в одном корпусе). Такие циклоны называются батарейными циклонами
, или муль
тициклонами.
1.2 Очистка запыленных газов в батарейном циклоне
На рис. 2 показан батарейный циклон
, состоящий из параллельно работающих циклонных элементов, смонтированных в общем корпусе 1.
Запыленный газ через входной патрубок 2
попадает в газораспределительную камеру 3,
ограниченную трубными решетками 4,
в которых герметично закреплены циклонные элементы 5
. Газ равномерно распределяется по отдельным элементам, действие которых основано на том же принципе, что и работа обычных циклонов. Очищенный газ выходит из элементов в общую камеру и удаляется через патрубок 6.
Пыль собирается в коническом днище (бункере) 7
.
Устройство циклонных элементов показано на рис. 3. Газ поступает в элементы не тангенциально, а сверху через кольцевое пространство между корпусом 1
и выхлопной трубой 2.
В кольцевом зазоре установлено закручивающее лопастное устройство 3
в виде «винта» (рис. 3, а), имеющего две лопасти, наклоненные под углом 25°, или «розетки» (рис. 3, б)
с восемью лопатками, расположенными под углом 25° или 30°. При помощи такого устройства обеспечивается вращение газового потока. Пыль из элемента ссыпается через пылеотводящий патрубок 4
в общую пылесборную камеру аппарата.
Широко распространенные батарейные циклоны изготовляются с нормализованными элементами диаметром 100, 150 и 250 мм;они рассчитаны на очистку газов с содержанием пыли 0,05–0,1 кг/м3
.
Степень очистки газа в батарейных циклонах несколько отличается от степени очистки его в обычных циклонах (см. рис. 1) и составляет 65–85% (для. частиц диаметром 5 мкм),
85–90% (для частиц диаметром 10 мкм)
и 90 – 95% (для частиц диаметром 20 мкм).
Для нормальной работы батарейного циклона необходимо, чтобы все его элементы имели одинаковые размеры, а очищаемый газ – равномерно распределялся между элементами. В этих условиях гидравлическое сопротивление элементов будет одинаковым.
Батарейные циклоны целесообразно применять, когда улавливаемая пыль обладает достаточной сыпучестью и исключена возможность ее прилипания к стенкам аппарата, что затрудняло бы очистку элементов. Батарейные циклоны обычно используют, когда расходы запыленного газа велики и применение нескольких обычных циклонов менее экономично.
Циклоны всех видов отличаются простотой конструкции (не имеют движущихся частей) и могут быть использованы для очистки химически активных газов при высоких температурах. По сравнению с аппаратами, в которых отделение пыли осуществляется под действием сил тяжести или инерционных сил, циклоны обеспечивают более высокую степень очистки газа, более компактны и требуют меньших капитальных затрат.
К недостаткам циклонов относятся: сравнительно высокое гидравлическое сопротивление (400–700 Н/м2
,,
или 40–70
мм вод. ст.
),
невысокая степень улавливания. частиц размером менее 10 мкм(70–95%), механическое истирание корпуса аппарата частицами пыли, чувствительность к колебаниям нагрузки по газу.
В циклонах рекомендуется улавливать частицы пыли размером более 10 мкм.
2. Технологическая схема батарейного циклона и его элементов

Рис. 1. Циклон конструкции НИИОгаз.
1
– корпус;
2
– коническое днище;
3
– крышка;
4
– входной патрубок;
5
– пылесборник;
6
– выхлопная труба.

|
 

Рис. 2. Батарейный циклон:
1 –
корпус циклона;
2
– входной патрубок;
3
–газораспределительная камера;
4
– трубные решетки;
5
– циклонные элементы;
6
– выходной патрубок для очищенного газа;
7
– коническое днище (бункер).

Рис. 3. Элементы батарейного циклона:
а
– элемент с закручивающим устройством «винт»;
б
– элемент с закручивающим устройством «розетка»;
1
– корпус элемента;
2 –
выхлопной патрубок;
3 –
закручивающее устройство;
4
– пылеотводящий патрубок.
3.Технологический расчет батарейного циклона
Условие:
В батарейном циклоне (рис. 4) требуется очищать от пыли 7700 м3
/ч газа при температуре 300 °С. Плотность газа (при 0 °С и 760 мм рт. ст.) 1,3 кг/м3
. Барометрическое давление составляет 98 634 Н/м2
(750 мм рт. ст.). На входе в батарейный циклон газы находятся под разрежением 294,0 Н/м2
(30 мм вод. ст.). Гидравлическое сопротивление батарейного циклона не должно превышать 392 Н/м2
(40 мм вод. ст.). Плотность пыли 2400 кг/м3. Запыленность газа 50 г/м3
при 0 °С и 700 мм рт. ст. Пыль слабо слипающаяся.
Решение.
Характеристики циклонных элементов типа БЦ с розеточным направляющим аппаратом в случае улавливания слабо слипающейся пыли с плотностью 2400 кг/м3
при Δр/ρ = 736 м2
/с2
(или Δр
/γ =75 м ) приведены в табл. 2.
На основании данных этой таблицы выбираем циклонные элементы диаметром 150 мм (допускаемая запыленность газа до 35 г/м3
).
Определим плотность газа при рабочих условиях:
ρ = ρ 0 ∙ (T/T+t)∙(p/p0)
ρ = = 0,609 (кг/м3
).
По условию потеря Δр
не должно превышать 392 Н/м2
( 40 мм вод. ст. ).
Соотношение Δр
/γ = 392/ 0,609 = 643,6( м2
/с2
) (или Δр
/γ = 40/0,609=65,7 м) не выходит из рекомендуемых пределов 540 – 736 м2
/с2
( или 55 – 75 м ).
Для направляющего аппарата типа розетки с углом наклона лопастей к горизонтали 25о
коэффициент гидравлического сопротивления ξ = 90.
Скорость газа в цилиндрической части циклонного элемента w
ц
определяем из формулы:


Расход газа на один элемент батарейного циклона:
V
1
= 0,785D
2
∙ 3600w
Ц
= 0,785·0,1502
·3600·3,78 = 240 (м3
/ч) .
Требуемое число элементов: n =
7800(м3
/ч) / 240(м3
/ч) = 32,5 (шт.).
Принимаем:
п
= 32 шт.
Располагаем их в четыре ряда по ходу газа (восемь элементов в каждом ряду).
Таблица 2
Диаметр
элемента, мм
|
Наибольшая
допускаемая
запылённость,г\м3
(при 0 о
С и
760 мм рт. ст.
|
Степень улавливания пыли (%) при диаметре частиц: |
Коэффициент гидравлического сопротивления ξ при угле наклона лопастей |
| 5 мкм |
10 мкм |
15 мкм |
25о
|
30о
|
| 250 |
75 |
72 |
84 |
93 |
90
|
65
|
| 150 |
35 |
78 |
88 |
95 |
| 100 |
15 |
82 |
91 |
96 |
Заключение
В данной курсовой работе произведен расчет батарейного циклона. В результате этого были получены следующие данные: число мультициклонов получилось равным 32. Располагаем их в 4 ряда по ходу газа, по 8 элементов в каждом ряду. Скорость газа в цилиндрической части циклонного элемента w
ц
- 3,78 м/с, а расход газа на один элемент батарейного циклона - 240 м3
/ч.
Для нормальной работы батарейного циклона необходимо, чтобы все его элементы имели одинаковые размеры, а очищаемый газ – равномерно распределялся между элементами. В этих условиях гидравлическое сопротивление элементов будет одинаковым.
Батарейные циклоны довольно широко распространены в промышленности. Они имеют следующие достоинства:
- отсутствие движущихся частей в аппарате;
- надежность работы при высоких температурах вплоть до 50ºС;
- возможность улавливания абразивных пылевых материалов при защите внутренних поверхностей циклонов специальными покрытиями;
- улавливание пыли в сухом виде;
- почти постоянное гидравлическое сопротивление аппарата;
- успешная работа при высоких давлениях;
- простота изготовления.
Но несмотря на многочисленные достоинства, они имеют и недостатки:
- плохое улавливание частиц размером менее 10 мкм;
- невозможность использования циклонов для очистки газов от липких загрязнителей;
- сравнительно высокое гидравлическое сопротивление;
- механическое истирание корпуса аппарата частицами пыли;
- чувствительность к колебаниям нагрузки по газу.
Поэтому для усовершенствования данного процесса очистки промышленных выбросов рекомендуется: повысить эффективность улавливания частиц пыли размером меньше 10мкм; рекомендуется понизить гидровлическое сопротивление; использовать механически стойкие материалы для корпуса аппарата, которые будут меньше истираться частицами пыли. А также для увеличения степени улавливания пыли требуется использовать диаметр элемента равным 100 мм. В этом случае эффективность улавливания повышается до 90%.
Таким образом, для очистки газообразных и газопылевых выбросов с целью их обезвреживания или извлечения из них дорогих и дефицитных компонентов применяют различное очистное оборудование и соответствующие технологические приемы. Выбор того или иного типа устройства зависит от конкретных условий работы установок и требований, предъявляемых к его работе: наибольшее значение коэффициента осаждения материала, минимальное сопротивление разгрузочного устройства, надежность в эксплуатации. Поэтому, в последнее время предпочтение отдается батарейным циклонам.
Список используемой литературы:
1. Алиев Г.М.-А. Техника пылеулавливания и очистки промышленных газов. М.: Металлургия, 1986 г., 544 с.
2. Дытнерский Ю. И. Процессы и аппараты химической технологии: Учебник для вузов. Часть 2. Массообменные процессы и аппараты. М.: Химия. 1992. – 384 с.
3. Калыгин В.Г. Промышленная экология. М.: изд. МНЭПУ, 2000, 240 с.
4. Оборудование, сооружения, основы проектирования химико-технологических процессов защиты биосферы от промышленных выбросов. Под ред. Родионова А.И., Кузнецова Ю.П. и др. М.: Химия, 1985 г., 352 с.
5. Павлов К.Ф., Романков П.Г., Носков А.А. Примеры и задачи по курсу процессов и аппаратов химической технологии. - Л.: Химия, 1987.
6. Степановских А.С. Охрана окружающей среды. Учебник для вузов. М.: ЮНИТИ, 2002 г., 560 с.
7. Ужов В.Н. и др. Очистка промышленных газов от пыли. М.: Мысль, 1991 г.,292 с.
|