|
Содержание:
Введение …………………………………………………………………..стр. 2
1. Классификация плугов……………………………………………………3-5
2. Агротехнические требование к вспашке………………………………….6
3. Устройство плугов……………………………………………………..7-12
4. Подготовка к работе плугов……………………………………………13-18
5. Техническое обслуживание плугов………………………………………19
6. Техника безопасности при работе с плугами…………………………20-22
Список используемой литературы……………………………………………23
Введение:
Наука о сельскохозяйственных машинах начала формироваться в конце XIX века. Её основоположник академик Василий Прохорович Горячкин. Он занимался не только изучением особенностей устройства машин, выпускаемых различными заводами, но и посвятил свою жизнь созданию новой технической дисциплины, называемой им «Земледельческая механика»
Академик В.П. Горячкин был первым в мире ученым, который приступил к теоретическому и научно-экспериментальному обоснованию устройства и работы сельскохозяйственных машин и их рабочих органов, четко определил вопросы науки о них и дал законченные решения или указал методику по многим теоретическим вопросам. Под его руководством в 1913 году организована научная машиноиспытательная станция при Московском сельскохозяйственном институте, ставшая впоследствии основной для организации крупных научно-исследовательских институтов. За 40 лет плодотворной деятельности В.П. Горячкиным опубликовано свыше 60 крупных научных работ, получивших мировую известность.
Благодаря классическим трудам В.П. Горячкина, сложилась стройная наука о сельскохозяйственных машинах, послужившая основной подготовки высококвалифицированных инженерных кадров по механизации сельского хозяйства.
Нашей Родине принадлежит приоритет не только в формировании науки о сельскохозяйственных машинах, но и в создании целого ряда машин.
1.
Классификация плугов.
Плуги классифицируют по назначению, роду применяемой тяги, способу агрегатирования с трактором, конструкции и числу корпусов.
По назначению тракторные плуги делятся на две группы:
Общего назначения и специальные.
Плуги общего назначения применяют в полеводстве для старопахотных земель, за исключением почв, засоренных камнями.
Лемешные плуги общего назначения маркируют буквами ПЛН (навесные) и (полунавесные) и цифрами. Первая цифра означает число корпусов, вторая - ширину захвата одного корпуса в сантиметрах (например П ЛН – 5 – 35).
Плуги специального назначения
– это плуги для каменистых почв, кустарниково-болотные, плантажные, садовые, лесные, виноградниковые и ярусные.
По роду применяемой тяги плуги делятся на конные, тракторные и канатные тяги.
Конные плуги используют на небольших участках, где невозможна вспашка тракторными плугами.
Тракторные плуги
– это основные современные орудия для вспашки.
Плуги канатной тяги применяют там, где работа тракторного плуга затруднена (например, в горной местности и при обработке заболоченных земель).
По способу агрегатирования тракторные плуги делятся на навесные, полунавесные и прицепные.
Навесные плуги просты по устройству и обладают наименьшей массой. При работе с ними требуется поворотная полоса небольшой ширины. Однако в транспортном положении они сообщают трактору сравнительно большой опрокидывающий момент.
Полунавесные плуги характеризуются меньшим удельным сопротивлением, чем навесные, но большим радиусом поворота. В транспортном положении часть массы плуга воспринимается его задним колесом.
Прицепные плуги, в конструкцию которых входят три колеса и прицеп, обеспечивают достаточную устойчивость хода и высокое качество вспашки в условиях, где плугами других типов сделать это трудно. Современные прицепные плуги - это плуги специального назначения, (садовые, ярусные, кустарниково-болотные).
По конструкции плужного корпуса различают плуги лемешные, дисковые, комбинированные, ротационные и чизельные.
Лемешные плуги наиболее распространены и являются древнейшими орудиями.
Дисковые плуги применяют для вспашки тяжелых, пересохших и переувлажненных почв на полевых и других землях.
Комбинированные и ротационные плуги проходят широкую производственную проверку.
Чизельные плуги, как безотвальные, лишь условно относятся к плугам, так как в их работе отсутствует главный признак вспашки – оборот пласта. Это – глубокорыхлители.
Семейства объединяют плуги одинакового назначения и высокой степенью унификации сборочных единиц и деталей.
Семейство унифицированных плугов – это плуги общего назначения со всеми корпусами (скоростными, полувинтовыми, винтовыми, безотвальными, вырезными, с почвоуглубителями).
Семейство плугов для каменистых почв включает плуги с корпусами, снабженными автоматическими предохранительными механизмами.
Семейство оборотных плугов оснащают право и левооборачивающими корпусами.
Семейство ярусных плугов предназначено для малоплодородных почв с целью улучшения их плодородия.
2. Агротехнические требования.
Сроки проведения.
Операцию проводят осенью, через 2 недели после лущения стерни, при появлении всходов сорняков. Качественные показатели
. Глубина вспашки 20-24 см оптимальна для большинства культур. Коэффициент выравненности, характеризующий равномерность вспашки по глубине, должен быть не менее 95%. Отклонение среднего арифметического значения фактической глубины вспашки от заданной не должно превышать ±5% на неровных участках и ±10% на ровных. Отклонение фактической ширины захвата плуга от конструктивной допускается ±10%. При вспашке добиваются, чтобы ширина и толщина пластов были одинаковыми, растительные остатки, сорные растения и удобрения полностью (не менее 95%) заделаны, а гребни пластов имели одинаковую высоту (не более 5 см). Не допускаются высокие свальные гребни, глубокие развальные борозды между отдельными проходами и скрытые огрехи. Глыбистость, т.е. суммарная площадь, занимаемая комками более 10см, допускается не более 15% от площади пашни. Огрехи не допускаются, перекрытие смежных проходов 15-20 см. Выравненность поверхности: длина профиля не более 10,5 м на отрезке 10 м. Во время первых двух-трех проходов проводят необходимые регулировки агрегата.
3.
Устройство плугов.
Плуг
состоит из основных рабочих органов
- ножа, предплужника, корпуса, который в свою очередь состоит из стойки, лемеха, отвала, полевой доски и из вспомогательных – рамы, опорных колес, механизма регулирования с трактором, а некоторые, например, ПКГ-5-4ОВ имеют гидромеханизм и пневмогидросистему. На плугах для работы на почвах, засоренных камнями. Предплужники и нож не устанавливаются.
Качество вспашки
определяется конструкцией корпуса плуга, геометрической формой и расположением его рабочей поверхности относительно дна и стенки борозды. корпуса по конструкции подразделяют на: отвальные, вырезные с почвоуглубителем, безотвальные с выдвижным долотом, дисковые, комбинированные, для ромбической вспашки, рабочий орган чизельного плуга.
По форме рабочей поверхности отвальные корпуса подразделяют на цилиндрические, культурные, полувинтовые и винтовые.
В плугах отечественного производства наиболее распространены рабочие поверхности отвалов двух типов - культурная для вспашки старопахотных и несвязанных почв, которая обладает хорошими крошащими свойствами и оборачивает пласт примерно на 52°; полувинтовая для вспашки связанных, задернелых, кустарниково-болотных и засоренных камнями почв.
Культурные корпуса выпускают трех типов для работы на скоростях до 7 км/ч, 7-9 км/ч и 9-12 км/ч, которая указывается в технической характеристике плуга.
Скоростные плуги имеют более короткий, чем у плугов, работающих на скоростях до 7 км/ч, отвал. Бороздовой обрез отвала срезан по кривой, чтобы не задирался повернутый пласт почвы. Отвал оснащен сменной грудью. Полевая доска его шире, так как она воспринимает большие усилия.
Вырезной корпус
применяется для отвальной вспашки подзолистых почв с небольшим пахотным горизонтом с одновременным углублением его на 4-5 см. Корпус снабжен двумя лемехами, в промежутке между которыми проходит без оборота нижняя часть пласта, подрезанная лемехом. Оставшаяся верхняя часть пласта поступает на отвал и оборачивается так же, как и обычным плугом. На корпусе может устанавливаться выдвижное долото.
Корпус с выдвижным долотом снабжен долотом, закрепленным на стойке; конец долота выступает за носок лемеха на 20-30 мм. Долото способствует хорошему заглублению корпуса и предотвращает поломку лемеха при встрече его с камнями или корнями деревьев. Плуги с данными корпусами используются для вспашки твердых суглинистых и глинистых почв.
Корпус с почвоуглубителем предназначен для вспашки подзолистых, каштановых и маломощных черноземов с одновременным углублением рыхления слоя на 6-15 см без выноса нижних слоев. Для этого сзади корпуса с помощью кронштейна устанавливается стрельчатая почвоуглубительная лапа с шириной захвата 26 или 30 см.
Безотвальный корпус применяется для рыхления почвы в ветроэрозионных и засушливых районах. Пласт почвы, подрезанный лемехом и поднятый уширителем, крошится без перемешивания частиц, образуя пустоты для накопления влаги в осенне-зимний период. Стерня же в большей части остается на поверхности. Щиток защищает стойку корпуса от истирания.
Комбинированный корпус предназначен для вспашки тяжелых почв с одновременным интенсивным рыхлением лопастями ротора почвенного пласта. Ротор вращается на валу с частотой 268—507 оборотов в минуту. Поле, вспаханное комбинированным корпусом, имеет ровную, хорошо взрыхленную поверхность и не требует дополнительной обработки. Привод ротора осуществляется от вала отбора мощности (ВОМ) трактора.
Корпус для ромбической вспашки применяют на плугах некоторых зарубежных фирм. Он снабжен двумя лемехами: нижним, как у обычного плуга, и боковым, крепящимся к стойке.
Дисковой корпус применяют для вспашки тяжелых твердых почв, засоренных древесными корнями, а также переувлажненных, например, при возделывании риса. Сферический диск крепится к стойке с помощью кронштейна. Плоскость вращения режущей кромки диска наклонена к дну борозды под углом 70 °, а направление движения плуга образует угол атаки 40—45°. Диск, заглубленный на 25—35 см, движется поступательно вместе с агрегатом и, одновременно вращаясь на подшипниках шпинделя (под действием сопротивления почвы), сдвигает отрезанный пласт ее и сбрасывает в борозду с оборотом. При этом не уплотняется дно борозды.
Рабочие органы применяются для рыхления почвы на глубину до 45 см, например, на рыхлителе-щелевателе РЩ-3,5.
Для основной обработки почв применяются: навесные плуги ПЛН-3-35, ШШ-4-35, ШШ-5-35, ПКС-4-35, ПН-8-35, ПГЛ-7-40; полунавесные ПЛН-6-35, ПКГ-5-40В; прицепные ПГС-З-ЗО и др.

Основными частями плуга
являются: рабочие органы — корпус 2, предплужник 1, рама 3, нож 4, опорное колесо 5 и винт регулировки опорного колеса 6, прицепное устройство 7.
Плуг ПЛП-5-35 применяют для вспашки почв
с удельным сопротивлением до 9 Н/см2
на глубину до 30 см и агрегатируют с тракторами класса тяги 30 и 40 кН.
Для обеспечения нормальной работы плугов при обработке старопахотных почв, засоренных камнями различных размеров и форм, скрытыми в толще обрабатываемого слоя или частично выступающими над поверхностью поля на плугах ПКГ-5-40, ПГП-7-40 и др. устанавливается гидропневматический предохранитель
. Основными узлами его являются: пневмогидроаккумулятор (ПГА) со штуцером и поршнем, манометр, кран, гидроцилиндр, маслопроводы. Каждый корпус плуга управляется гидроцилиндром с помощью грядиля и шарнирных опор. Для лучшего крошения и оборачивания пласта на корпусе установлены углосним, перо и долото.
Пневмогидроаккумулятор поршневого типа представляет собой закрытый цилиндрический сосуд вместимостью 6,3 л, разделенный на две части (газовую и масленую) с помощью поршня. Верхняя камера заполнена сжатым азотом с начальным давлением 60—90 МПа.
Во время работы все корпуса удерживаются от выглубления давлением газа, находящегося в газовой полости ПГА. При встрече с препятствием сопротивление перемещению корпуса в почве возрастает, корпус выглубляется и смещает плунжер гидроцилиндра. Рабочая жидкость вытесняется в ПГА, перемещает поршень 5, газ дополнительно сжимается, т.е. в ПГА аккумулируется энергия. Эта энергия используется для автоматического возвращения корпуса в рабочее положение после обхода препятствия.
Газовую полость ПГА заряжают азотом из специального баллона, подключив его к штуцеру. Для зарядки ПГА маслом магистраль через запорный кран гибким маслопроводом включают в гидросистему трактора. По окончании зарядки кран закрывают. При работе на легких почвах устанавливают давление 6—9 МПа, а на тяжелых — 9—11 МПа.
Агрегатируется ШХ-5-40В с тракторами Т-150К, ДТ-75С, Т-4А, навесная система которых должна быть смонтирована только по трехточечной схеме. Высота присоединительного треугольника автосцепки СА-2-700 мм (без удлинителей). Производительность за час основной работы равна 1,2—2 га/ч.
К специальным плугам
основной обработки почвы относятся кустарниково-болотные ПБН-100, ПКБ-75 для обработки почвы на глубину 30—50 см; плантажные ППУ-50А, ППН-40, ППН-50 для предпосадочной вспашки почвы под сады и виноградники на глубину 40—80 см, садовые ПСГ-3-30, ПС-4-30 для вспашки в междурядьях садов почв с удельным сопротивлением до 9 Н/см2
; ярусные ГШЯ-4-40, ПТН-3-40 для основной обработки малоплодородных подзолистых, солонцовых и каштановых почв с целью их коренного улучшения (их применяют также для глубокой вспашки почв под посевы сахарной свеклы, посадку садов, хлопчатника и виноградников); ямокопатели диаметром 1,0; 0,8; 0,6 и 0,3 м на глубину до 100 см для посадки саженцев и установки столбов КЯУ-100, КПЯ-100, КШШ1-60.
4.
Подготовка плугов к работе
Подготовка плуга к работе включает:
- проверку комплектности, правильности сборки и оценку технического состояния; - установку на плуге рабочих органов; - настройку плуга на заданную глубину вспашки; - проведение технического ухода.
Проверку правильности сборки выполняют на ровной площадке. Полевые обрезы лемехов и отвалов у корпусов должны находиться в одной вертикальной плоскости и выступать за поверхность стойки на 5...8 мм. Выступание отвалов за лемеха в сторону непаханого поля не допускается.
Головки болтов, крепящих лемехи и отвалы предплужников и корпусов, должны быть заподлицо с рабочей поверхностью. Стык лемеха с отвалом должен быть плотным, допускается щель не более 2 мм. Превышение отвала над лемехом не допускается.
Консоль дискового ножа должна поворачиваться на стойке на угол 20°, а нож свободно, без заеданий вращаться на оси.
Лезвия лемехов у всех корпусов должны быть параллельны, а носки и пятки лемехов - лежать на параллельных прямых. Проверку проводят натягиванием шпагата от лемеха первого корпуса до лемеха последнего корпуса. Отклонение носков и пяток лемехов от шпагата допускается не более 5 мм.
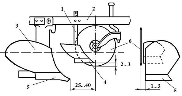
Установка рабочих органов на плуге сводится к расстановке предплужников и дискового ножа (рис. 1). Стойки 1 предплужников закрепляют на раме 2 плуга так, чтобы пласты почвы с корпусов 3 свободно проходили в промежутки между предплужниками и корпусами. Расстояние между носками лемехов предплужника 4 и лемехов корпусов 5 по ходу должно быть 25...30 см при ширине захвата корпуса 35 см и 35...40 см у плугов с шириной захвата корпуса 40 см.
 Рис. 1 Установка предплужника и ножа на раме плуга: 1 – стойка предплужника; 2 – рама плуга; 3 – корпус; 4 – лемех предплужника; 5 – лемех корпуса; 6 – дисковый нож
Полевой обрез предплужника должен лежать в плоскости полевого обреза корпуса; допускается отклонение в сторону поля до 15 мм. Если глубина хода предплужника 10 см, то лезвие лемеха предплужника 4 должно быть выше лезвия лемеха корпуса 5 на величину, зависящую от глубины пахоты. Например, при глубине вспашки 25 см она составит 15 см, при 30 см - 20 см.
Дисковый нож 6 устанавливают впереди предплужника так, чтобы его плоскость была вынесена в поле от полевого обреза корпуса на 1...3 см, а от полевого обреза предплужника - на 1 см. Центр диска располагают над носком лемеха предплужника, или на 3...5 см впереди него, а нижнюю точку лезвия - на 2...3 см ниже его носка.
Подготовка трактора заключается в проверке его исправности, проведении ежесменного технического обслуживания и настройке механизма навески.
Для работы с плугом механизм навески трактора ДТ-75М настраивается на двухточечную схему (рис. 2). Для этого втулку 5 закрепляют на нижней оси со смещением на 140 мм вправо от продольной оси симметрии трактора. Вилки нижних тяг 2 и 9 отсоединяют от боковых шарниров и прикрепляют к скобе втулки 5, Передние концы ограничительных цепей 10 соединяют с вилками бугелей трактора, а задние со скобами нижних продольных тяг.
 Рис. 2. Навеска трактора ДТ-75, собранная по двухточечной схеме: 1 – стяжка цепей; 2, 9 – продольные тяги; 3 – раскосы; 4 – гидроцилиндр; 5 – втулка; 6 – ось; 7 – верхняя тяга; 8 – рычаг подъема; 10 – цепь.
Втулку цапфы верхней тяги 7 навески устанавливают на валу так, чтобы она находилась с одной вертикальной плоскости с втулкой 5, и закрепляют упорами.
Правый и левый вертикальные раскосы 3 устанавливают с внешней стороны от рычагов подъема 8.
Для навешивания плуга трактор ДТ-75М подают к нему задним ходом так, чтобы шаровые шарниры нижних тяг навески можно было надеть на пальцы подвески плуга и застопорить быстросъемными штырями. Затем соединяют верхнюю тягу с вилкой рычага подвески плуга и стопорят. Правым раскосом 3 регулируют горизонтальность рамы плуга в поперечной плоскости. Длина левого раскоса должна быть постоянной и составлять 720...770 мм. Положение рамы плуга в продольной плоскости регулируют изменением длины
верхней тяги навески.
Длину ограничительных цепей регулируют так, чтобы концы нижних тяг 2 и 9 имели боковое качание не более 20 мм в обе стороне. При вспашке ограничительные цепи ослабляют.
Настройка плуга на заданную глубину вспашки проводится так. Плуг агрегатируют с трактором, выезжают на ровную площадку, трактор колесами или гусеницами заезжает на прокладки, высота которых должна соответствовать заданной глубине вспашки, уменьшенной на глубину погружения колеса в почву (1...2см) и переводят плуг в рабочее положение (рис. 3). Под пятки лемехов корпусов подкладывают дощечки толщиной 10 мм, а под опорное колесо (колеса) ставят подкладки, высота которых меньше заданной глубины вспашки на 2...3 см. Задние колеса полунавесных плугов должны опираться при этом на площадку. Изменяя длину верхней тяги навески трактора и правого раскоса, устанавливают раму плуга параллельно площадке. Вращая винты механизмов опорных колес опускают колеса до соприкосновения с прокладками и затягивают стопорные болты для предотвращения смещения колес при работе. Окончательно глубину вспашки устанавливают в поле.
 Рис. 3. Настройка плуга на заданную глубину вспашки
Подготовка поля заключается в осмотре участка и устранении помех, выборе направления пахоты и способа движения агрегата, разбивке участка на загоны, разметке поворотных полос и провешивании линии первого прохода агрегата.
Обычно пахоту проводят вдоль участка. На склонах, с целью уменьшения смыва почвы, пашут поперек склона.
Для прокладки первых борозд и опашки границ поворотных полос первые проходы агрегата необходимо выполнять припашкой всвал за три прохода или вразвал за четыре прохода агрегата.
Плуг для первого прохода припашки всвал устанавливают так, чтобы первый корпус скользил по поверхности поля или пахал на 1/3 заданной глубины, а последний пахал на заданную глубину (это достигается укорачиванием правого раскоса навески трактора). Второй проход выполняется так, чтобы все корпуса пахали на заданную глубину, при этом первый корпус должен идти по следу предпоследнего корпуса. Третий проход выполняют, как и при обычной пахоте.
Для первого и второго проходов при припашке вразвал плуг регулируют так, чтобы первый корпус скользил по поверхности поля, а последний был заглублен на половину заданной глубины пахоты (это достигается укорачиванием правого раскоса и опусканием опорного колеса). После этого все корпуса устанавливают на заданную глубину вспашки и выполняют третий и четвертый проходы, направляя первый корпус по следу предпоследнего корпуса. При этом засыпается развалъная борозда и образуется небольшой свальный гребень.
При вспашке трактор ДТ-75М ведут так, чтобы расстояние от обреза правой гусеницы до стенки борозды было 10...15 см. При работе пахотного агрегата золотник распределителя масла должен быть установлен в "плавающее" положение.
Для запашки разъемных борозд плуг регулируют так, чтобы первый корпус пахал на заданную глубину или на 5...6 см глубже и шел рядом с открытой бороздой, а задний скользил по поверхности поля (это достигается укорачиванием верхней тяги механизма навески трактора и подъемом опорного колеса плуга).
5. Техническое обслуживание плугов.
Основное техническое обслуживание ежесменное
, которое проводится в начале, во время и в конце смены. После окончания полевых работ проводят послесезонное обслуживание, куда входит подготовка машин к хранению. Ежесменное техническое обслуживание машин проводится одновременно с техническим обслуживанием трактора. Ежесменное техническое обслуживание плугов
включает в себя следующие операции: очистку рабочих органов; проверку установки и крепления к раме предплужников и дисковых ножей; проверку состояния и надежности креплений лемехов корпусов, и предплужников, при необходимости — замену лемехов; контроль состояния осей и колес; наличие колпачков и масленок; проверку вращения дисковых ножей и в случае биения или заедания во втулке — устранение неисправностей; проверку состояния рамы, стоек корпусов, предплужников и устранение неисправностей; смазку втулок колес плуга.
6.
Правила техники безопасности при обработке почвы
При установке машин (орудий) на заданный режим работы или замене лемехов плуга, лап культиваторов, зубьев борон машин (орудий) ставить на специальные опоры, во избежание случайного падения машин.
При затачивании лап культиваторов, лемехов и др. рабочих органов пользоваться рукавицами и защитными очками.
Убедиться в наличии и исправности индивидуальных средств защиты и средств очистки рабочих органов.
Рабочие органы почвообрабатывающих машин очищают только после остановки агрегата: от налипшей почвы - специальными чистиками, а от сорняков и растительных остатков - специальными крючками.
Бороны укладывать для хранения в штабеля зубьями вниз.
В сухую и ветреную погоду механизатор должен работать в защитных очках.
Работа с плугами.
При обслуживании плугов в поднятом состоянии фиксировать их подставками.
Запрещается выезд тракторного агрегата, если гидросистема не удерживает плуг в поднятом состоянии.
Оставлять плуг в поднятом состоянии на остановках и стоянках.
Перед началом движения подайте сигнал. Трогайтесь с места плавно, без рывков.
Прежде, чем поднять или опустить плуг, нужно убедиться, что вокруг никого нет.
Категорически запрещается:
· работать с неисправным плугом;
· находиться возле агрегата во время поворота;
· поворачивать агрегат при ослабленных цепях навески;
· регулировать плуг и подтягивать болты на ходу или в транспортном состоянии;
· очищать плуг на ходу или в транспортном состоянии;
· ремонтировать плуг при работающем тракторе или в транспортном состоянии.
Перед транспортировкой зажмите ограничительные цепи навесной системы и максимально поднимите плуг.
Следить, чтобы шток поршня не оседал.
При транспортировке плуга снять прицепку для борон. Переезды с прицепкой для борон запрещаются.
Перед заменой лемехов под полевые диски и опорное колесо подложить деревянные колодки.
Категорически запрещается работать с незатянутым крепежом рабочих органов.
Работа с лущильниками.
Во время движения агрегата категорически запрещается находиться на раме лущильника, между лущильником и трактором, впереди агрегата и близко сбоку от него.
Крутые повороты лущильника категорически запрещаются. Во время работы на поворотах секции должны быть подняты в транспортное положение. Скорость трактора не должна превышать 15 км/ч.
Ремонт, смазку, обтяжку, регулировку, установки чистиков и глубины обработки, очищать диски - только при полной остановке агрегата и выключенном двигателе трактора.
Во время сборки и ремонта остерегайтесь порезов рук и ног острыми лезвиями дисков, особенно при подкатывании дисковых секций и монтаже их на брусья секций. Поднятые с помощью гидросистемы, регулируемые дисковые секции предохраните подставками от опускания при случайном выключении или неисправности гидросистемы.
Очистку лущильника от соломы и растительных остатков производите специальным ручным чистиком, прилагаемым к машине.
При отсоединении лущильника от трактора не оставляйте секции в поднятом положении.
Список использованной литературы
1. А.Н. Постников, М.Г. Объедков, О.В. Лескова Правила производства основных механизированных работ в севооборотах Нечерноземной зоны, Москва, 2004
2. Курсовой проект по дисциплине «Эксплуатация машинно-тракторного парка» для агрономических специальностей, Издательство МСХА, Москва, 1991
3. Методические материалы для подготовки заданий и курсового проекта по эксплуатации машинно-тракторного парка, Москва 2004
4. Эксплуатация машинно-тракторного парка // Под общ. ред. Р.Ш. Хабатова. – М.: ИНФРА-М, 1999.
|