Міністерство освіти і науки України
Дніпропетровський національний університет
Хімічний факультет
Реферат на тему:
«Искусственное выращивание рубинов»
Виконав: студент
групи
Перевірив:
к.х.н., доцент кафедри
аналітичної хімії
Дніпропетровськ
2008
СОДЕРЖАНИЕ
ВВЕДЕНИЕ.. 3
ЖЕНЕВСКИЕ РУБИНЫ... 4
ОГЮСТ ВЕРНЕЙЛЬ. 6
МЕТОД ВЕРНЕЙЛЯ НА СОВРЕМЕННОМ ЭТАПЕ.. 9
«ДЖЕВА». 13
ЗВЕЗДНЫЕ КАМНИ.. 15
ДРУГИЕ МЕТОДЫ... 16
СПИСОК ЛИТЕРАТУРЫ... 19
ВВЕДЕНИЕ
Рубин и сапфир — минералы, которые хотя и различаются по внешнему виду, обладают идентичной кристаллической структурой и свойствами, за исключением присутствия незначительных концентраций элементов-примесей, придающих им характерные цвета. Еще в 1672 г. Роберт Бойль отметил, что «твердость рубина и сапфира настолько одинакова, что ювелиры считают их одним камнем, различающимся только цветом», и подтвердил эту мысль указанием на одинаковый удельный вес. Рубин и сапфир состоят в основном из окиси алюминия А12
О3
, кристаллическую форму которой минералоги называют корундом. Применение термина «глинозем» к этим материалам нередко приводит к путанице, поскольку он относится ко всем формам окиси алюминия, а название «корунд» используют только для кристаллического материала. Чистый корунд бесцветен, и геммологи называют такую природную разновидность «белым сапфиром». Большинство людей полагают, что сапфир — это драгоценный камень синего цвета, но он может быть желтым, розовым, оранжевым, сине-зеленым и бесцветным. Рубин же — это только «красный сапфир», хотя следует заметить, что это название он получил задолго до того, как стало, известно сходство их свойств. Характерный цвет рубину придает примесь хрома, а присутствие других элементов-примесей меняет окраску. Наиболее высоко ценимый оттенок имеет цвет «голубиной крови», хотя, вероятнее всего, у ювелиров нет привычки резать голубей, чтобы посмотреть, насколько цвет их камня соответствует этому идеалу!
Все формы корунда обладают высокой твердостью, что в сочетании с великолепным цветом привело к большой популярности рубина и сапфира, которыми украшают кольца и другие ювелирные изделия. Корунд широко используется также в различных инструментах и приборах, в том числе в часовых механизмах (в качестве подшипников и подпятников для вращающихся частей).
ЖЕНЕВСКИЕ РУБИНЫ
Хотя мелкие кристаллы рубина были синтезированы Годэном, а также Фреми и Фейлем, однако камнями, которые на некоторое время поколебали устои сообщества ювелиров, были так называемые женевские рубины. Об этих камнях впервые сообщил в 1886 г. П. Жантаз, минералог Музея истории природы в Париже. Первоначально считалось, что это природные рубины, однако группа ювелиров высказала сомнение и предоставила Жантазу образец с тем, чтобы он высказал свое мнение. Жантаз роконсультировался с проф. М. Фриделем из Сорбонны, а также с М. Вандерхимом, президентом Синдиката алмазов и драгоценных камней, и все сошлись во мнении, что это— синтетический рубин. Решающим фактором было наличие в кристаллах очень мелких пузырьков. Такие пузырьки обычны для кристаллов, выращенных при плавлении в высокотемпературном пламени. Природные кристаллы могут содержать жидкие, твердые и даже газовые включения, но никогда в них не наблюдается правильного расположения мелких газовых пузырьков, столь характерных для кристаллов, выращенных с использованием горелок с водородом или светильным газом в смеси с кислородом.
Насколько трудно было ювелирам, занимающимся торговлей камнями, распознавать синтетические рубины, можно судить по сообщению торговой газеты от 1890 г., процитированному Робертом Вебстером в его классической книге «Самоцветы»: «Берлинский ювелир только что стал жертвой любопытного обмана. Недавно он получил информацию от фирмы из Цюриха, в которой предлагались рубины по необыкновенно низкой цене, и вступил с этой фирмой в переговоры по поводу их покупки. Он приобрел 25 рубинов и заплатил за них 4500 марок (в то время 225 фунтов стерлингов), получив гарантию от фирмы, что камни подлинные. Вскоре после этого ювелир узнал о фальшивых рубинах, которые настолько искусно подделаны, что вводили в заблуждение даже знатоков. Встревоженный ювелир направил свою покупку в Париж на Проверку Синдикату торговцев драгоценными камнями, где кристаллы обследовали непререкаемые авторитеты. Они сообщили, что камни не являются подделкой. Это настоящие рубины, но очень мелкие и соответственно дешевые, которые скреплены друг с другом настолько искусно, что обнаружить это весьма затруднительно. Ювелир написал в Цюрих, чтобы фирма приняла камни обратно, однако его просьба была отклонена. Отказ обоснован был тем, что фирма гарантировала только подлинность рубинов, но в ее обязательствах не упоминался их размер».
Так родилась легенда, что женевские рубины являются «реконструированными» из очень мелких природных кристаллов.
Представление о том, что женевские рубины состоят из фрагментов природных кристаллов, каким-то образом соединенных друг с другом, существовало среди специалистов вплоть до 1969 г., когда Курт Нассау из лаборатории «Белл» в Нью-Джерси и Роберт Кроунингшилд из Геммологического института Америки в Нью-Йорке сообщили о результатах своих исследований женевского метода. Их заключение сводилось к тому, что сплавление мелких кристаллов не приводит к образованию прозрачных рубинов. Они установили, что в использованном способе применялись растертый до порошка материал и газовая горелка, причем выращивание кристаллов проводилось в три стадии. В первую пламя направлялось на холмик рубинового порошка и расплавляло его с образованием маленького шарика на вершине. Затем расплавленная часть удалялась и на ее месте оставалось полукруглое углубление. Пламя направлялось на новую верхнюю поверхность, в результате чего снова получался примерно круглый шарик, но уже несколько большего размера, чем в начальную стадию. На вершину этого шарика подавался раздробленный материал. Необходимое тепло для расплавления материала и роста кристаллов подводилось с помощью двух горелок, ориентированных или горизонтально или наклонно под небольшим углом к вертикали. Между пламенем горелок располагалась втулка, через которую подавался порошок.


Реконструкция женевского метода Нассау и Кроунингшилдом основана на нескольких фактах, в частности на анализе содержания хрома в различных частях кристалла. Использовав метод, который им удалось воспроизвести, эти исследователи вырастили точно такие же кристаллы, как и образцы, для которых достоверно известно, что они относятся к женевским рубинам. Попытки же «реконструировать» рубины с использованием мелких обломков природных кристаллов привели к получению поликристаллического агрегата с серыми границами между индивидуальными обломками. Поддерживают выводы Нассау и Кроунингшилда и некоторые факты, упоминаемые в письме, направленном в 1953 г. д-ру Эдуарду Губелину из Люцерна (Швейцария) мистером Бассером, в котором он утверждает, что выращивал в молодости женевские рубины. Бассер упоминает многостадийность процесса, применение составной горелки, вращение кристалла и использование платиновой трубки. Относительная сложность процесса выдвигала проблему предотвращения растрескивания рубинов.
ОГЮСТ ВЕРНЕЙЛЬ
Точно не известно, знал ли хотя бы в общих чертах Огюст Вернейль о сущности метода получения «женевских рубинов», но он был осведомлен о том, что Марк Годен во Франции уже изготовлял кристаллы рубина с использованием кислородно-водородной горелки. В 1869 г. Годен представил в Академию наук в Париже небольшую коллекцию драгоценных камней на основе корунда, которые были изготовлены с помощью его кислородно-водородной «шалюмо»1
. Этот термин впоследствии употреблял и Вернейль для обозначения своей горелки. Коллекция Годена включала синий сапфир, «изумруд», «топаз», прозрачный камень «имитирующий алмаз» и «перидот». Чтобы порошок глинозема был более сыпучим, Годен считал необходимым добавлять к нему в довольно значительных пропорциях кремнезем SiO2
, но, поскольку кремнезем способствует образованию стекла и затрудняет кристаллизацию расплава, он опасался, что продукты его синтеза будут представлены стеклами. В то время аппаратура, позволяющая отличать стекла от кристаллов, была недостаточно совершенна, поэтому нет уверенности, получал ли действительно Годен кристаллы сапфира.
Вернейль концентрирует свои усилия на усовершенствовании метода выращивания кристаллов при плавлении в пламени и в 1891 г. добивается столь существенного прогресса, что депонирует в Академии наук статью о деталях своего нового аппарата и методики. На этой стадии его работ, по-видимому, была достигнута основная цель — получение довольно крупных кристаллов, но беспокоило их растрескивание. Эта проблема была вскоре решена уменьшением площади контакта кристалла и кристаллоносца, что описывалось во второй, депонированной в Парижской Академии наук статье. Содержание обеих статей не было известно до 1910 г., когда оно было раскрыто в заявке Вернейля.
  
Кристаллы, выращенные по методу Вернейля, известны как були (бульки), по-видимому, в связи с тем, что первоначально они имели примерно округлую форму. (Термин «буля» широко использовался при описании популярной во Франции игры, в которой тяжелые шары диаметром около 10 см стараются подкатить как можно ближе к Цели). Этот термин, введенный Годеном и применявшийся Вернейлем, теперь стал обычным в лексиконе специалистов по выращиванию кристаллов и геммологов, несмотря на то, что кристаллы, которые выращивают сейчас, имеют цилиндрическую форму.
В 1900 г. ассистент Вернейля Марк Паккье демонстрирует рубины на Всемирной выставке в Париже. Отчет о камнях написал геммолог И. Фридлендер, который пришел к выводу, что рубины получены новым методом, а не по технологии женевских. Рубины на Парижской выставке пользовались большим спросом, хотя детали процесса не раскрывались до 1902 г.
Начиная свой первый письменный отчет, который был опубликован спустя два года, Вернейль отмечает, что Годен применял слишком высокие температуры и поэтому у него получались непрозрачные кристаллы. Новая идея Вернейля заключалась в применении вертикальной горелки с подачей порошка глинозема в пламя через поток кислорода. Порошок встряхивается в потоке газа под действием вибратора с электрическим приводом. Использование газонепроницаемого резинового сальника позволяет передавать толчки вибратора к сосуду, содержащему порошок глинозема, без утечки кислорода. В холодной части пламени помещен керамический штифт, на котором собираются капли жидкого глинозема, образующиеся при плавлении порошка, просыпающегося через горячую зону пламени. Пламя окружается керамическим муфелем, играющим роль изолятора и защищающим растущую булю от «сквозняков». Этот муфель снабжен смотровым окном, которое в оригинальном аппарате Вернейля заделывалось слюдой. Чрезмерный нагрев верхней части аппарата за счет потока тепла из горячей зоны предотвращается применением водяного охлаждения.
В начальной стадии роста були порошок, попадая на штифт, затвердевает и образует конус из материала относительно невысокой плотности. В дальнейшем конус перемещают в горячую зону пламени, где его вершина начинает плавиться. В этот момент образуется несколько кристаллов, но один из них ориентирован в направлении наибольшей скорости роста. Он подавляет рост остальных кристаллов и служит затравкой для развивающейся були. На ранней стадии роста чрезвычайно важно мастерство оператора, поскольку во время селекции кристаллов может понадобиться регулировка температуры пламени или скорости подачи порошка. После того как в центральной части начнется преобладающий рост одного кристалла, чтобы увеличить диаметр були повышают скорость подачи питающего порошка и постепенно увеличивают температуру пламени регулировкой скорости потока кислорода. Верхняя поверхность були становится округлой, и на нее подают свежие порции глинозема в виде падающих капель расплава. Далее подставку со штифтом опускают со скоростью, соответствующей скорости роста були.
Наиболее важным условием для выращивания кристаллов высокого качества является равномерная подача порошка, поэтому большие усилия тратятся на приготовление питающего материала с тем, чтобы он обладал хорошей сыпучестью. Если порошок слишком грубый, внедрение крупных холодных частичек может вызвать затвердевание тонкого расплавленного слоя. Тогда зарождается много мелких кристаллов и буля утрачивает структуру монокристалла. Применение слишком мелкого порошка связано с опасностью испарения глинозема в пламени. Оптимальные размеры частиц лежат в субмикронном интервале (меньше тысячных долей миллиметра). Частицы должны иметь правильную форму, так как только в этом случае они одинаково реагируют на воздействие вибратора. Вернейль получал глинозем из аммониевых квасцов, содержащих около 2,5% примеси хромовых квасцов. (Эта концентрация хрома обеспечивала получение камней красного цвета.) Порошок такого состава нагревался до разложения квасцов и образования окислов, которые измельчались и просеивались через проволочное сито для селекции частиц необходимого размера.
Вернейль в течение 2 часов выращивал були весом 2,5—3 г (12—15 карат). Були были округлой формы, и некоторые из них имели диаметр 5—6 мм. Более детальное описание процесса с чертежами аппарата содержится в публикации 1904 г. Этот аппарат вместе с первыми выращенными таким способом кристаллами теперь выставлен в Школе инженерного искусства и ремесел в Париже. Вернейль занимался также проблемой вибратора, который стряхивает порошок в поток кислорода, и позднее заменил его молоточком, работающим от мотора. Это простое и разумное приспособление используется и в большинстве современных аппаратов, применяемых для выпуска коммерческой продукции.
Из описаний, опубликованных Вернейлем, ясно, что он был в основном доволен качеством полученных им рубинов, которые обладали «восхитительной» флуоресценцией, той же твердостью, что и природные рубины, и были пригодны для высококлассной полировки. Однако ему не было известно, что искусственные рубины отличаются от природных камней вариациями интенсивности окраски и присутствием газовых пузырьков, возникающих тогда, когда содержание кислорода в пламени не поддерживается на необходимом довольно низком уровне.
После публикации 1904 г. Вернейль направляет свои усилия на получение сапфира. Тогда не было известно, какой элемент обусловливает синий цвет этого камня, однако ему пригодились сведения о том, что природным камням этот цвет придает совместное присутствие окислов железа и титана. В это время Вернейль работал консультантом фирмы «Л. Хеллер и сын» в Нью-Йорке и Париже. В его сапфирах содержались добавки 1,5% окиси железа и 0,5% окиси титана вместо окиси хрома, используемой в рубинах. Синяя окраска кристаллов обусловлена довольно сложным механизмом. Обычно цвет драгоценных камней связан с поглощением света характерной длины волны определенным элементом, особенно так называемыми переходными элементами, такими, как железо, кобальт, никель и хром. Если из спектра белого света удалить определенную полосу цветов, то свет, попадающий в глаз, будет окрашен в так называемый дополнительный цвет. Например, рубины потому красного цвета, что хром в кристаллической решетке корунда поглощает зеленый свет. Чтобы сапфир приобрел синий цвет, необходимо поглощение желто-оранжевого света. Такое поглощение имеет место, когда происходит электронный «скачок» внутри кристалла от атомов железа к атомам титана. Поэтому для окраски кристалла в синий цвет требуется совместное присутствие железа и титана.
В 1911 г. были опубликованы патенты на выращивание сапфира, в последнем из которых содержались сведения об очистке от пузырьковых пятнышек, о кривых линиях роста и о растрескивании кристаллов — типичного явления для синтетических сапфиров. В 1913 г. годовой объем производства искусственного сапфира достиг 6 млн. карат (1200 кг), а рубина—10 млн. карат (2000 кг). Вернейль, благодаря которому это стало возможным, умер 13 апреля того же года в возрасте 57 лет.
МЕТОД ВЕРНЕЙЛЯ НА СОВРЕМЕННОМ ЭТАПЕ
Метод Вернейля, называемый иначе методом плавления в пламени, относится к методам кристаллизации с ограниченной зоной расплава (рис. 3). Он заключается в том, что вещество в виде порошка (размер частиц 2—100 мкм) сыплется из бункера через газовую горелку и попадает на верхний оплавленный торец монокристаллической затравки, медленно опускающейся с помощью специального механизма. Пролетая через кислородно-водородное пламя, частицы шихты оплавляются и попадают в тонкую (толщиной ~ 0,1 мм) пленку расплава. Так как затравка медленно опускается, то пленка расплава кристаллизуется с нужной скоростью, постоянно пополняясь сверху. При согласованном расходе шихты, водорода и кислорода и скорости опускания затравки толщина пленки поддерживается практически постоянной. На рис 4 приведена фотография установки КАУ-1 для кристаллизации по методу Вернейля. Эта установка позволяет выращивать кристаллы в форме стержней диаметром до 20 мм и длиной до 500 мм (рис.5). С целью уменьшения остаточных напряжений в кристаллах разработаны различные конструкции газовых горелок, создающие дополнительный обогрев кристалла при его росте. В этом случае диаметр кристалла может достигать 40 мм.
Распространение метода Вернейля связано с успешным его применением для выращивания монокристаллов рубина, лейкосапфира, алюмомагниевой шпинели MgAl2
O4
и рутила ТiO2
.
Метод Вернейля обладает рядом преимуществ, среди которых следует выделить:
- отсутствие контейнера, в результате чего снимаются проблемы физико-химического взаимодействия расплава с материалом контейнера, а также проблема возникновения остаточных напряжений из-за упругого воздействия стенок контейнера;
- возможность проведения процесса кристаллизации в области 2000° С на воздухе, причем окислительно-восстановительный потенциал атмосферы кристаллизации регулируется за счет изменения относительного содержания кислорода и водорода в пламени;
- техническую простоту и доступность наблюдения за ростом кристаллов.
Метод Вернейля, однако, имеет определенные недостатки, к которым следует отнести:
- трудность подбора оптимального соотношения между скоростью опускания затравки, подачей шихты и расходом рабочих газов;
- возможность попадания в расплав примесей из рабочих газов, поскольку расход их значителен (02
0,7 м3
/ч, Н2
1,5—2 м3
/ч), а также из воздуха и керамики печи;
- развитие высоких температурных градиентов в зоне кристаллизации (30—50 град/мм), способствующих возникновению в кристаллах больших внутренних напряжений (до 10—15 кГ/мм2
).
Метод Вернейля технически просто позволяет видоизменять форму растущего кристалла. Например, несоосность горелки и механизма перемещения позволяет выращивать кристаллы в форме труб (рис. 6, а). Этот способ позволяет также получать керамические трубы, используемые для изготовления муфелей печи аппарата Вернейля.
На рис. 8, б, в приведены различные схемы аппарата Вернейля, позволяющие выращивать монокристаллы пластинчатой формы, а также в форме дисков, полусфер и конусов.
Газопламенный нагрев, используемый в аппарате Вернейля, основан на выделении теплоты при реакции
Н2
+ 1
/2
O2
= Н2
O + 57, 8 ккал/моль.
Максимально возможная температура в кислородно-водородном пламени порядка 2500° С. Она ограничена тем, что при более высоких температурах идет диссоциация продуктов горения, сопровождающаяся поглощением тепла.
Для повышения температуры в аппарате Вернейля используют другие источники нагрева: плазменный, электронно-лучевой, радиационный, электродуговой и др.
Плазменный нагрев заключается в реакциях ионизации, а затем деионизации одно- и двухатомных газов, таких, как аргон, гелий, азот, кислород, а также их смесей. Ионизация этих газов осуществляется либо электродуговым разрядом, либо с помощью индукции на частоте 4—8 Мгц. На рис. 7 представлена схема аппарата с плазменным нагревом. Несмотря на возможность получения таким методом сверхвысоких температур (~16 000° С), его использование ограничено техническими трудностями, связанными с подачей шихты в пленку расплава. Поток шихты сильно влияет на распределение температуры в плазме, а следовательно, на ее стабильность.
 
Представляет интерес радиационный (световой) нагрев, когда излучение вольфрамовой лампы мощностью 5—10 квт фокусируется на торец затравки, а затем осуществляется рост по методу Вернейля (рис. 8). Такая система удобна особенно для поисковых исследований, так как позволяет изолировать источник нагрева от кристаллизационной камеры. С помощью этой системы технически просто создать контролируемую атмосферу, а также нужную ее чистоту, однако кристаллы растут напряженными. На установке, схема которой приведена на рис. 8, были получены тугоплавкие кристаллы корунда, магний-алюминиевой шпинели (MgAl2
O4
), рутила (ТiO2
), окиси иттрия (Y2
O3
) и др.
Близкой к методу Вернейля является кристаллизация в электрической дуге, отличающейся тем, что наряду с получением высокой температуры создается направленный поток электрически заряженного вещества (рис. 9). Такой способ получил распространение для выращивания монокристаллов металлов, полупроводников, а также диэлектриков, обладающих существенной электропроводностью вблизи температуры плавления.


«ДЖЕВА»
Несколько фирм занималось производством рубинов и сапфиров, но наибольшего успеха добился Хранд Джевахирджан, который ранее работал на фабрике по выращиванию рубинов женевского типа в Париже. Джевахирджан понял преимущества печи Вернейля и еще с 1903 г. начал использовать его метод. В 1905 г. он переводит производство в большой цех в Виллар-Боно близ Лиона, а затем на фабрику в Аруди в Нижних Пиренеях. В 1914 г. Джевахирджан снова переводит производство, на этот раз туда, где и сейчас располагается фирма,— в Монте близ Женевского озера в Швейцарии. При использовании технологии, основанной на плавлении в пламени, решающим фактором, определяющим рентабельность производства, является стоимость кислорода и водорода для горелок, поэтому с первых же дней становления фирмы, известной как «Джева», пристальное внимание было уделено вопросам экономики получения этих газов. В первые годы синтеза драгоценных камней кислород и водород производились на месте традиционными способами и даже продавались как побочные продукты. В 1948 г. компания монтирует оборудование для получения этих газов путем электролиза воды. Приемлемая цена получаемых таким образом кислорода и водорода может быть достигнута только при условии дешевой электроэнергии. В этом смысле расположение завода у подножия Альп, где гидроэлектростанции дают относительно недорогую электроэнергию, можно считать идеальным. Позднее кислород начали получать при испарении жидкого воздуха, что было также экономически выгодно при условии низких цен на электроэнергию. О высокой рентабельности производства фирмы «Джева» можно судить хотя бы по такому факту. В конце 60-х годов, когда в лаборатории рубины выращивались для научных целей, розничная цена ограненного камня фирмы «Джева» была ниже стоимости кислорода и водорода, необходимых для выращивания кристалла того же размера в лаборатории. Если не считать Восточной Европы и, может быть, Китая, эта фирма занимает господствующее положение в коммерческом производстве за пределами Японии, где находится главный производитель и поставщик — фирма «Накадзуми». В 1946 г. фирма «Джева» установила около 1400 печей, и современная производительность завода — около 300 млн. карат, или 60 000 кг. Кристаллы корунда используются в основном при производстве часовив других инструментах, но фирма «Джева» выращивает рубины также для лазеров, и ее материалы были использованы на искусственном спутнике Земли «Тельстар».
В настоящее время изготовление драгоценных камней не является основным производством фирмы «Джева», тем не менее компания ведет исследования по легированию кристаллов различными добавками и получению камней необычных цветов. В современном перечне цветных корундов содержится 32 разновидности этого камня, хотя последний из них помечен «№ 75», что указывает на широкий спектр расцветок, достигнутых в разные годы. Метод плавления в пламени пригоден и для получения шпинели, для которой характерна еще более широкая палитра окрасок. Шпинель— минералогическое название алюмината магния (МgА12
O4
). Первый синтез этого минерала с помощью плавления в пламени приписывается ученику Вернейля Л. Пари. Изучая влияние различных добавок на цвет корунда Пари обратил внимание на то, что магний вкомбинации с другими элементами вызывает существенное изменение окраски кристаллов. В конце концов он понял, что такое изменение связано с перестройкой кристаллической структуры материала були.
При использовании смеси одной части окиси магния (МgO) с одной частью глинозема (Аl2
O3
) не получаются були хорошего качества. В печах с кислородно-водородными горелками лучшего результата удается достичь, когда смеси обеднены магнезией. Були высокого качества имеют формулу, в которой на 5 частей Аl2
Оз приходится 2 части MgО. Это различие состава синтетических и природных камней позволяет легко идентифицировать их на основе измерения некоторых физических свойств, например плотности.
Придание синтетическим шпинелям и корундам свойств совсем не родственных им минералов, таких, как александрит или аквамарин, поднимает вопрос о терминологии. Синтетическую шпинель, имеющую вид аквамарина, следует рассматривать как «имитацию», и, может быть, разумнее называть этот материал «бледно-голубой шпинелью», чем считать ее подделкой аквамарина.
В середине 30-х годов произвели сенсацию бесцветные шпинели, когда они продавались как заменители алмаза — «алмазы Джурадо». Изощренная реклама и небольшое число лабораторий по определению Драгоценных камней привели часть покупателей и торговцев ювелирными изделиями к мысли о том, что эти камни нельзя отличить от алмазов, и создалась кратковременная паника, вызванная боязнью падения цены на алмазы. Секция драгоценных камней Лондонской торговой палаты была вынуждена выступить по радио с заявлением, содержащим заверения в том, что не составляет большого труда отличить «алмазы Джурадо» от истинных алмазов. Действительно, шпинель по сравнению с другими камнями не лучший заменитель алмаза.
ЗВЕЗДНЫЕ КАМНИ
В 1947 г. отделение «Линде» компании «Юнион карбайд корпорейшн» в Ист-Чикаго с помощью метода Вернейля начало производить звездные сапфиры и рубины. В 1949 г. этот метод был запатентован. Звездные камни получили название за свой необычный вид, если рассматривать кристалл вдоль его главной оси. Шесть блестящих полос радиально расходятся от центра кристалла так, что создается впечатляющая картина, соответствующая символическому изображению звезды или звездочки. Такое явление в корунде вызывается присутствием тонких иголочек титаната алюминия (А12
TiO5
), которые вытянуты в полоски, располагающиеся в соответствии с симметрией кристаллической структуры под углом в 60° относительно друг друга. Это достигается добавлением в порошок глинозема небольших количеств рутила (TiO2
). В процессе формирования були рутил растворяется в расплавленном слое глинозема, но при охлаждении после кристаллизации були выделяется в форме иголочек, но в основном уже в виде А12
TiO5
, образующегося в результате взаимодействия рутила и глинозема. В соответствии с патентом «Линде» наилучшие результаты достигаются при добавлении в порошок от 0,1 до 0,3% рутила и при последующем отжиге були при 1100—1500° С в течение нескольких часов для выделения иголочек А12
TiO5
. Звездные камни обычно изготавливаются в виде достаточно выпуклых кабошонов; в этом случае они наиболее эффектны.
Основная сложность при изготовлении звездных камней— добиться равномерного распределения иголочек А12
TiO5
с тем, чтобы звезда занимала всю ширину камня. Специалисты из фирмы «Линде» обнаружили, что наилучшие результаты достигаются изменением скорости потока кислорода, которое приводит к периодическим вариациям температуры. Удобнее всего это делать с помощью клапана, частично перекрывающего подачу кислорода. Было обнаружено, что эта процедура приводит к периодическому изменению распределения иголочек. Если при низкой скорости потока кислорода иголочки распределяются по всей ширине були, то высокая скорость потока способствует кристаллизации их только в периферической части. Наиболее эффектно звездный рисунок проявляется, когда толщина Чередующихся слоев составляет 1 мм. Эта процедура демонстрирует одно из главных преимуществ искусственных драгоценных камней перед природными: специалист, выращивающий кристаллы, контролирует условия изготовления материала и может изменять их длядостижения наилучшего результата. Любители природных кристаллов допускают возможность определенной обработки камней с целью улучшения их облика, например нагревание циркона, но они не имеют возможности контролировать условия, при которых первоначально росли кристаллы. Только в редких случаях природный звездный камень может в чисто зрительном восприятии конкурировать со своим рукотворным двойником.
Фирма «Линде» изготавливает звездные камни и другим способом, когда предварительно отшлифованный кабошон из камня, синтезированного без добавок рутила, погружается в расплав рутила, для того чтобы образовался очень тонкий слой иголочек. Лишь после этого производится окончательная полировка. Такие камни отличаются от обычных звездных камней большей прозрачностью, но не продаются в широких масштабах.
Кроме рубина и сапфира звездные камни фирмы «Линде» представлены разновидностями пурпурного, зеленого, розового, желтого и коричневого цветов, а также дымчато-синего и дымчато-красного. Сообщалось о бесцветном звездном сапфире. Такая конкуренция вызвала падение цен на синтетические звездные корунды. Фирма «Линде» прекратила их производство и продала свое оборудование, хотя все еще имеются в продаже камни компании «Элвин» из Нью-Джерси. По-видимому, в настоящее время основным поставщиком звездных камней, которые еще очень популярны в США, становится фирма «Джева».
ДРУГИЕ МЕТОДЫ
В последние годы появилось большое число научных работ по выращиванию корунда и шпинели методом плавления в пламени. Главное внимание в них уделяется соотношению между дефектами в кристаллах и условиями, при которых выращивается буля. Основное несовершенство этого метода выращивания кристаллов заключается в наличии ступенчатого градиента температур между горячей областью пламени, где располагается расплавленная вершина були, и более холодной нижней частью. Резкое изменение температуры вдоль оси були создает сильные напряжения в кристалле, и при извлечении из печи були часто растрескиваются (вдоль) с образованием двух полуцилиндрических фрагментов. Температурный градиент может быть уменьшен введением в печь дополнительных нагревателей. Для этих целей можно использовать электрический нагреватель, смонтированный вдоль оси в нижней части пламени, или четыре маленькие кислородно-водородные горелки, расположенные под прямым углом. Однако кристаллы, выращенные с такими предосторожностями, остаются более напряженными, чем полученные другими методами. Криволинейная зональность и присутствие газовых пузырьков, которые наблюдал еще Вернейль в своих первых булях, и сейчас часто встречаются в кристаллах, что дает возможность геммологам отличать природные камни от искусственно выращенных плавлением в пламени (хотя эти два типа камней неразличимы с расстояния в один фут или около этого). Чарлзом Сахаджаном описаны исследования, выполненные в Кеймбриджской лаборатории военно-воздушных сил. Он привел данные по влиянию различных элементов-примесей на цвет корунда: меди (золотистый), марганца (розовый), ванадия (пурпурный, но изменяется в зависимости от освещения), кобальта (серо-зеленый), никеля (желтый), железа (серый), титана (желтый), хрома+ванадия (от синего до красного), кобальта+ванадия (от бледно-синего до красного), кобальта+хрома (каштановый), железа+титана (сине-зеленый). Также сообщается об окрашивающем воздействии некоторых элементов на шпинель: хрома (розовый, светло-красный или темно-красный), кобальта+хрома (светло-синий) и марганца+ванадия (желто-зеленый).
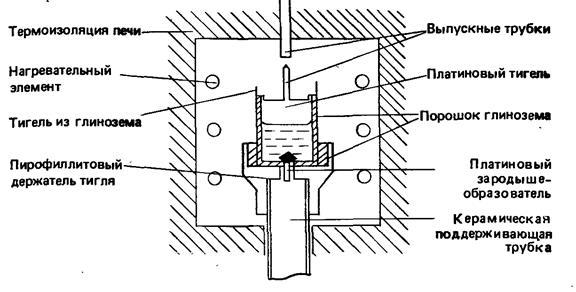
Поскольку установить, что рубины выращены при плавлении в пламени, довольно просто, предпринимались попытки получить материал, больше соответствующий природному, для чего применялись различные методы. Рубины, наиболее близкие к природным, получались теми методами, в которых использовались плавни. Хотя рубины, выращенные из раствора в расплаве, были известны еще в XIX в., интерес к ним возник только тогда, когда в исследовательских Лабораториях начали изучать применение высококачественных кристаллов рубинов в мазерах и лазерах. Эта область исследований начала развиваться в конце 1950-х годов. Для этих целей нз раствора-расплава выращивались кристаллы пластинчатого габитуса Эриком Уайтом в исследовательской лаборатории «Хёрст», Уэмбли, Бобом информацию при определении условий образования природных кристаллов. Камни «Кашан» производились только до 1972 г., но имели и ряд других поставщиков, кроме Чэтема.
Рубины из раствора в расплаве также производились Пьером Жильсоном, о чем сообщалось в 1975 г., однако в списке коммерческой продукции компании они не приводятся и не поступают в широкую торговлю. Эти рубины выращивались на бесцветных затравках и обнаруживают «вуаль» включений, что не является необычным для кристаллов, получаемых этим методом. В качестве плавня, возможно, использовался молибдат лития или свинца.
Исследования по синтезу рубина из раствора в расплаве все еще продолжаются, и интересную информацию об этом методе выращивания кристаллов содержат работы Коити Ватанабе из университета Гунма в Японии. Д-р Ватанабе и его коллеги в качестве плавня используют криолит (Nа3
АlF6
) и применяют градиентную методику. Глинозем помещают в донной части тигля под диафрагмой. Насыщенный расплав благодаря конвекции подается к затравочным кристаллам, которые расположены выше диафрагмы.
Начиная с 1960-х годов в связи с развитием лазерной техники потребность в рубинах резко возросла. Это привело к широкому Распространению выращивания кристаллов методом вытягивания из расплава, впервые разработанным Дж. Чохральским в 1918 г. Температура, необходимая для плавления рубина, при этом обычно достигается применением высокочастотного индукционного нагревателя. Электрическая энергия мощностью в несколько киловатт с частотой порядка 100 килоциклов в секунду подается через охлаждаемую водой спираль из медной трубки в несколько дюймов в диаметре и в длину. Так как ток в спирали меняется с большой частотой, в электропроводах материалах, находящихся вблизи спирали, индуцируется энергия. современном варианте метода Чохральского энергия подается к иридиевому тиглю, содержащему расплавленный глинозем, через внешний тигель, который изготовлен из какого-либо дешевого материала. Температура устанавливается несколько более высокая, чем точка плавления глинозема. Затравочный кристалл, вырезанный в требуемом кристаллографическом направлении, располагают таким образом, что его нижний конец погружается несколько ниже поверхности расплава. Верхний конец затравки охлаждается отводом тепла через кристалло-держатель до температуры ниже точки плавления, и поэтому он остается твердым. Обычно затравочный кристалл вращают для того, чтобы избежать колебаний температуры по периферии затравки. Выращивание кристалла осуществляется путем медленного поднимания («вытягивания») его с постоянной скоростью, для чего используются мотор и механизм с винтовой резьбой. Оператор меняет температуру расплава таким образом, чтобы диаметр кристалла постепенно увеличивался до требуемой величины. В современных наиболее крупных аппаратах он достигает 10 или даже 15 см. В процессе роста кристалла до необходимой длины диаметр сохраняют постоянным. Контроль за диаметром растущего кристалла в настоящее время достигается с помощью различных автоматических устройств. Это производится путем непрерывного взвешивания кристалла или тигля, наблюдения за тепловым излучением от криволинейной поверхности расплава (мениска), которая окружает края кристалла, или за отражением от этого мениска света лазерного луча. Метод Чохральского применяется не только для получения рубина, но и является укоренившимся методом выращивания монокристаллов кремния для нужд электронной промышленности, в частности для изготовления транзисторов и интегральных схем.

Рубины, полученные по методу Чохральского, пригодны для огранки, и их можно продавать, но выпускать их как драгоценные камни коммерчески невыгодно, так как они более дорогой продукт, чем рубины, выращенные плавлением в пламени, и к тому же явно отличаются от природных камней. Основным признаком кристаллов, полученных методом вытягивания из расплава, являются полосы роста, колебания интенсивности окраски, обусловленные нестабильностью конвекции расплава или неравномерностью вращения кристалла. Компанией «Линде» запатентовано производство звездных камней по методу Чохральского, но материал, который поступает в продажу, получен, вероятно, плавлением в пламени.
Рубины выращивают также гидротермальным способом, когда глинозем и окись хрома растворены не в солевом расплаве, а в воде при высоких температурах и давлениях. В конце 1950-х годов таким методом получали рубины Альберт Болмен и Боб Лодайз в лаборатории «Белл» и Дик Путтбах, Роджер Белт и Роч Мончамп Эртроне, Нью-Джерси. Они использовали затравочные кристаллы а к воде добавляли карбонат натрия. Такие добавки называю минерализаторами. Гидротермальные рубины никогда не продавались как драгоценные камни в отличие от гидротермальных изумрудов.
Несмотря на популярность рубинов, выращенных из раствора расплаве, сапфиры, полученные таким же способом, почти неизвестны. Они могут быть изготовлены по той же методике, что и рубины, поэтому трудно объяснить их редкость, хотя разумеется рубины значительно более популярны. В отчете лаборатории по определению драгоценных камней в Хаттон-Гардене высказывается сожаление по поводу существования весьма искусных подделок, когда «головка» из природного зеленого или желтого сапфира склеивается с основой из синего синтетического сапфира. Такой камень, вправленный в кольцо, трудно отличить от натурального синего сапфира, поскольку при проверке с помощью линзы обнаруживаются типичные для природного сапфира включения (в головке), а спектроскопия показывает светопоглощение, типичное для синего сапфира (в основании). Обман можно обнаружить только в случае, если погрузить камень в жидкость и рассматривать сбоку. Сапфиры из раствора-расплава описанным выше методом выращивают Коити Ватанабе, Чэтем н фирма «Делтроник кристал индастрис» в Денвилле, Нью-Джерси. Последняя также продает рубины, полученные этим способом.
Шпинели из раствора-расплава выращивают в виде высококачественных кристаллов, но использовать их как самоцветы не имеет смысла. Большинство полученных шпинелей бесцветные и производятся для научных целей. Насколько известно автору, окрашенные шпинели из раствора-расплава выращивают только Эрик Уайт и Джон Вуд из Имперского колледжа в Лондоне. Добавление к шихте шпинели окислов никеля, кобальта, марганца, хрома и меди окрашивает кристаллы соответственно в бирюзово-синий, темно-синий, желтый, красный и бледно-зеленый цвета очень приятных оттенков. Кристаллы выращивают из раствора в расплаве фторида свинца с использованием необычной методики, основанной на испарении плавня в течение 6—7 суток через небольшое отверстие в крышке тигля при постоянной температуре (1200 °С). Таким образом получают кристаллы до 2,5 см в диаметре. Шпинели, выращенные из раствора-расплава, не могут составить конкуренцию кристаллам, полученным методом плавления в пламени, ввиду низкой стоимости последних.
Интересный новый метод выращивания корунда (хотя он не имеет большого значения для геммологии) показывает, что возможно выращивание кристаллов очень сложной формы с чрезвычайно высокими скоростями. Такой метод, известный как рост из пленки с закрепленными краями, успешно развивается фирмой «Тайко». Суть его в том, что жидкий глинозем поднимается из резервуара вследствие капиллярного эффекта, представляющего собой тенденцию жидкости к подъему по тонким отверстиям за счет сил сцепления между жидкостью и материалом, в котором сделано отверстие. (Этот же эффект обусловливает подъем воды и питательных веществ по стеблям растущих растений.) Расплавленный глинозем «смачивает» фильеру, в которой сделано отверстие, причем форма фильеры может быть очень сложной. Так как жидкость контактирует с затравочным кристаллом, который затем поднимается с постоянной скоростью, глинозем, затвердевая, приобретает форму, обусловленную конфигурацией фильеры. Таким образом получают монокристаллы корунда очень сложного сечения, например в виде пустотелой прямоугольной трубки с шестью круглыми отверстиями. Скорости роста могут достигать 2 см и более в минуту. Удивительное зрелище, когда видишь, как на барабан навиваются кристаллические нити со скоростью более метра в час. Этот материал нашел различное применение, хотя можно предположить, что качество корунда не столь высокое, как кристаллов, полученных традиционными методами с низкими скоростями роста. До сих пор метод Тайко не применяется для получения ювелирных камней, но, возможно, он будет использоваться для получения рубина и сапфира необычной формы ювелирами-новаторами.
СПИСОК ЛИТЕРАТУРЫ
1. Вильке К.-Т. Методы выращивания кристаллов. Пер. с нем. Рейтера Л.А. Под ред. Петрова Т. Г., Пунина Ю.Г. Л.: Недра, 1968.
2. Выращивание кристаллов. Пер. с нем. Рейтера Л.А. Под ред. Петрова Т. Г., Пунина Ю.Г. Л.: Недра, 1977.
3. Смит Г. Драгоценные камни. Пер. с англ. Арсанова А.С. Под ред. Петрова В.П. Изд. 2-е. М.: Мир, 1984.
4. Современная кристаллография /(в четырёх томах). Том 3. Образование кристаллов. Чернов А.А., Гиваргизов Е.И., Багдасаров Х.С. и др. М.: Наука, 1980.
5. Эллюэл Д. Искусственные драгоценные камни. Пер. с англ. Изд. 2-е. – М.: Мир, 1986. – 160 с.
|