МІНІСТЕРСТВО ОСВІТИ І НАУКИ УКРАНЇНИ
ЖИТОМИРСЬКИЙ ДЕРЖАВНИЙ ТЕХНОЛОГІЧНИЙ УНІВЕРСИТЕТ
Кафедра автомобілів і механіки технічних систем
БАЛЮК Владислав Юрійович
Класифікація пристроїв для очищення відпрацьованих газів двигуна внутрішнього згоряння від
частинок
сажі
РЕФЕРАТ
зі спеціальності 05.22.20 – експлуатація та ремонт засобів транспорту до вступного іспиту в аспірантуру
Житомир
2010
ЗМІСТ
| ВСТУП . . . . . . . . . . . . . . . . . . . . . . . . . . . . . . . . . . . . . . . . . . . . . . . . . . . . . . . . . . . . |
3 |
| 1. |
Короткий аналіз пристроїв для очищення газів від
дисперсних частинок у промисловості . . . . . . . . . . . . . . . . . . . . . . . . . . . . . . . .
|
5
|
| 2. |
Короткий аналіз відомих винаходів і патентів
по очищенню відпрацьованих газів двигуна
внутрішнього згоряння від частинок сажі . . . . . . . . . . . . . . . . . . . . . . . . . . . .
|
10
|
| 2.1. |
Спосіб очищення шляхом механічного сепарування . . . . . . . . . . . . . . . . |
11 |
| 2.2 |
Спосіб плазмового допалювання . . . . . . . . . . . . . . . . . . . . . . . . . . . . . . . . |
14 |
| 2.3 |
Електрофільтрування . . . . . . . . . . . . . . . . . . . . . . . . . . . . . . . . . . . . . . . . |
15 |
| 2.4 |
Комбіновані системи очищення . . . . . . . . . . . . . . . . . . . . . . . . . . . . . . . . |
16 |
| 3 |
Класифікація пристроїв для очищення
відпрацьованих газів ДВЗ від частинок сажі . . . . . . . . . . . . . . . . . . . . . . . . . . . .
|
21
|
| ВИСНОВКИ . . . . . . . . . . . . . . . . . . . . . . . . . . . . . . . . . . . . . . . . . . . . . . . . . . . . . . . . |
27 |
| СПИСОК ВИКОРИСТАНОЇ ЛІТЕРАТУРИ . . . . . . . . . . . . . . . . . . . . . . . . . . . . |
29 |
ВСТУП
Природа – цілісна система з безліччю збалансованих зв'язків. Порушення цих зв'язків приводить до зміни сталих у природі кругообертах речовин та енергії. Сучасним суспільством у виробництво й споживання залучається така кількість речовин та енергії, що у сотні разів перевершує біологічні потреби людини. Сьогодні виробнича діяльність людства пов’язана з використанням різноманітних природних ресурсів, які охоплюють більшість сьогодні хімічних елементів. Високий рівень і швидке наростання антропогенного навантаження на навколишнє природне середовище являється основною причиною сучасної екологічної кризи. Самі гострі проблеми даної кризи пов'язані зі станом атмосфери, гідросфери й літосфери.
Насьогоднішній день зменшення забруднення атмосферного повітря токсичними речовинами, які виділяються промисловими підприємствами та автомобільними транспортом, є однією з найважливіших проблем, які стоять перед людством. Забруднення повітря дуже сильно впливає на людину й навколишнє середовище. Матеріальний збиток, що викликаний забрудненням повітря, важко оцінити, однак навіть за неповним даними він вже є досить великим. Автомобіль не розкіш, а засіб пересування. Без автомобіля сьогодні немислиме існування людства. При інтенсивній урбанізації й рості мегаполісів автомобільний транспорт став самим несприятливим екологічним фактором в охороні здоров'я людини й природного середовища в місті. Таким чином, автомобіль стає конкурентом людини за життєвий простір.
За останні десятиліття людство остаточно переконалося, що першим винуватцем забруднення атмосферного повітря – одного з основних джерел життя на нашій Планеті, є дітище науково-технічного прогресу – автомобіль. Автомобіль, поглинаючи настільки необхідний для протікання життя кисень, разом з тим інтенсивно забруднює повітряне середовище токсичними компонентами, що наносять відчутну шкоду всьому живому й неживому.
Одним з компонентів у складі відпрацьованих газів автомобіля є сажа. Сажа являє собою аморфне тіло без кристалічних решіток. У відпрацьованих газах дизельного двигуна сажа складається з невизначених часток з розмірами 0,3...100 мкм.
Причина утворення сажі полягає в тому, що енергетичні умови в циліндрі дизельного двигуна виявляються недостатніми, щоб молекула палива зруйнувалася повністю. Більш легкі атоми водню дифундують у багатий киснем шар, вступають із ним у реакцію і «ізолюють» інші вуглеводневі атоми від контакту з киснем.
Вплив частинок сажі на організм людини розкрито ще неповністю, але точно відомо, що перебуваючи у зваженому стані, вони абсорбують на своїй поверхні найсильніші канцерогенні речовини (бенз(а)пірен), що надзвичайно небезпечно для людського організму. У зв'язку з цим норми викидів сажі у відпрацьованих газах постійно стають жорсткішими.
Розроблено безліч способів та пристроїв для рішення завдання по зниженню концентрації сажі у відпрацьованих газах автомобілів і промисловості в цілому. На сторінках даного реферату буде проведено аналіз найбільш відомих винаходів і патентів по цій темі, а також виведена їх класифікація. Даний аналіз та класифікація із зазначенням позитивних та негативних показників різних типів пристроїв дадуть змогу правильно обрати шлях для створення нових способів та пристроїв для очищення відпрацьованих газів ДВЗ від сажі, а також можуть слугувати хорошим посібником для людей, які тільки починають ознайомлюватись з даним питанням.
1.
Короткий аналіз пристроїв для очищення газів від дисперсних частинок у промисловості
Другим після автотранспорту забруднювачем атмосфери є промисловість великих міст. До складу її викидів крім сажі також входить велика кількість і інших зважених частинок – пилу. Тому приступити до вивчення способів і пристроїв очищення відпрацьованих газів автомобілів без аналізу пристроїв очищення промислових газів від пилу й сажі через її більш ранній розвиток буде неправильним.
Перші спроби обмежити забруднення повітряних просторів великих міст відносяться ще до початку середніх віків. Законодавчі заходи, що видавалися під тиском громадськості, протягом тривалого часу носили паліативний характер. На зорі промислового виробництва на початку XIX століття потужні клуби диму, що виривалися з фабричних труб й обплутували темною завісою міста, розглядалися як свого роду індекс виробництва й свідчили про процвітання країни. У результаті бурхливий розвиток промисловості з безплановим розміщенням промислових підприємств вже в середині позаминулого століття приводило до створення для населення зовсім нестерпних умов.
Із часом відповідне законодавство обмежило граничну концентрацію пилу та сажі в повітряних викидах, що позитивно вплинуло на стан атмосферного повітря.
Однак з укрупненням промислового виробництва зросла абсолютна кількість дисперсного матеріалу, що викидався. Ця обставина, а також складність контролю над дійсною забрудненістю повітряних викидів й, у першу чергу, недосконалість пристроїв для уловлювання забруднювачів сприяють великому забрудненню атмосферного повітря.
Перший патент на конструкцію пиловловлювача-циклона був виданий в 1880 р., а перший електрофільтр був побудований тільки в 1906 р. Сьогодні існує й застосовується на практиці велика кількість пристроїв для очищення викидів різної конструкції, дія яких заснована на використанні різних фізичних принципів. За принципом дії дані пристрої можна розділити на чотири групи: гравітаційні, інерціонні (сухі та мокрі), вловлювачі й фільтри контактної дії, електричні вловлювачі й фільтри [1]. Існує також багато різновидів «мокрих» фільтрів, в яких дисперсні забруднювачі поглинаються рідкими плівками або відокремлюється при промиванні газів рідинами.
Гравітаційні вловлювачі діють на принципі використання гравітаційних сил, або сил ваги, що зумовлюють осідання з повітря дисперсних часток. На цьому принципі заснований устрій камери пилоосідання.
Інерціонні вловлювачі (сухі та мокрі) діють на принципі використання інерційних сил, що виникають при зміні напряму руху забрудненого повітряного або газового потоку. До таких пристроїв відносяться циклони різноманітної конструкції, відцентрові скруббери та циклони-промивачі, струминні вловлювачі типу ротоклон і вловлювачі Вентурі.
Вловлювачі й фільтри контактної дії затримують дисперсні частинки при пропущенні забрудненого повітря або газу через сухі або змочені пористі матеріали: тканину, шар синтетичних волокон, папір, дротяну сітку, шари зернистих матеріалів, керамічних і металевих кілець тощо.
Електричні вловлювачі й фільтри очищають повітря (або газ) від зважених у ньому часток (пил, туман, сажа) шляхом їх іонізації при проходженні через електричне поле.
Найбільш широко використовувана апаратура для виділення механічних домішок з газів представлена на рисунку 1, де наочно показана область застосування того або іншого типу апарата залежно від дисперсного складу часток, які вловлюються. Необхідність у такій великій кількості типів поглиначів пояснюється різноманіттям умов вловлювання.

Рис. 1. Діапазон застосування різних апаратів залежно від розміру дисперсних часток
Звертає на себе увагу те, що для вловлювання високодисперсних аерозолів (розміром менше 1 мкм) використовуються в основному фільтри контактної дії. Такі апарати вимагають періодичної заміни фільтруючого матеріалу й розраховані на малі концентрації дисперсної фази при малій швидкості фільтрації, тобто мають порівняно малу продуктивність й економічно дорогі. Головним недоліком таких фільтрів є зміна в часі продуктивності, гідравлічного опору й ефективності вловлювання. Тому не завжди представляється можливим з повною вірогідністю оцінити їхню працездатність. Крім того, слід зазначити, що існують труднощі добування з фільтруючого матеріалу осаджених аерозольних часток, що необхідно, наприклад, в установках, призначених для контролю навколишнього середовища, з метою проведення подальших аналізів, а також складність експлуатації при вловлюванні аерозолів, що містять отруйні, радіоактивні, займисті й інші шкідливі й небезпечні речовини.
Електричні фільтри відрізняються незначним гідравлічним опором, досить високою ефективністю вловлювання й надійністю роботи. Однак для вловлювання в цих апаратах аерозольних часток розміром менш 1 мкм необхідна ретельна підготовка газів, які очищаються: попереднє (грубе) очищення, зволоження й охолодження газів, а також укрупнення зважених частинок. Цев свою чергу значно ускладнює схеми очищення.
У теорії та практиці електростатичного осадження доказано, що сучасні електрофільтри не можуть забезпечити ефективність близьку до 100%, тому що не всі дрібні частки досягають електродів-осаджувачів через малу швидкість їхнього дрейфу та турбулентності газового потоку, а великі частки легко зриваються зі стінок і несуться потоком. Слід зазначити, що деякі продукти мають такі фізичні властивості, які виключають можливість ефективного вловлювання їхніх зважених часток в електрофільтрах. Прикладом тому є активна сажа, легка за вагою, що має дуже малий питомий електричний опір.
Отже представляється доцільним, використовуючи підготовку газу перед електрофільтрами, забезпечити осадження укрупнених часток у більш простих та економічних апаратах, наприклад, мокрого типу. В останні роки значний розвиток у вітчизняній промисловості та за рубежем одержали мокрі способи очищення.
Апарати мокрого очищення, застосовувані в промисловості, мають наступні переваги.
По-перше, вони мають більш високу ефективність уловлювання дисперсних частинок у порівнянні із сухими механічними апаратами. Деякі типи мокрих фільтрів (скруббери Вентурі) можуть бути застосовані для часткового очищення газів від високодисперсних часток.
По-друге, мокрі фільтри можуть не тільки успішно конкурувати з такими високоефективними пиловловлювачами, як волокнисті та тканинний фільтри, але й використовуватися в тих випадках, коли останні не можуть бути використані, наприклад, при високій температурі й підвищеній вологості газів, при небезпеці загоряння й вибуху газів, які очищаються, або частинок, що уловлюються.
По-третє, апарати мокрого очищення газів одночасно зі зваженими частками можуть уловлювати пароподібні й газоподібні компоненти.
Недоліками даних фільтрів є складність реалізації даного способу очищення й залучення додаткового рідинного фільтрування робочого тіла.
У ряді випадків вибір очисного обладнання визначається обсягом газу, що очищається, і техніко-економічними обґрунтуванням. Наприклад, фільтри з матерії та електрофільтри застосовуються, як правило, у тих випадках, коли вартість матеріалу, що вловлюється, окупає витрати на їх обладнання. Та потрібно не забувати, що обсяг цих фільтрів такий великий, що їхнє використання часто пов'язане з будівництвом спеціальних приміщень.
2.
Короткий аналіз відомих винаходів і патентів по очищенню відпрацьованих газів двигуна внутрішнього згоряння від частинок сажі
На сьогоднішній день одним з головних забруднювачів атмосфери дисперсними частками (сажею) великих міст є автомобільний транспорт. У зв'язку із цим екологічні вимоги до сучасного автомобіля являються сьогодні пріоритетними. Ведуться спроби розробки повністю екологічно безпечного автомобіля.
Екологічна безпека – це властивість автомобіля знижувати негативні наслідки впливу його експлуатації на учасників руху й навколишнє середовище. Вона спрямована на зниження токсичності відпрацьованих газів, зменшення шуму, зниження радіоперешкод при русі автомобіля.
Незважаючи на численні спроби замінити двигун внутрішнього згоряння (ДВЗ) яким-небудь іншим, який не виділяє токсичні речовини, альтернативи йому поки немає. А якщо принципово новий двигун і з'явиться, то переналагодження виробництва для його крупносерійного випуску вимагатимуть грандіозних капіталовкладень, і відбудеться це далеко не відразу. Разом з тим уже зараз людство підійшло до тієї межі, коли без екологічно чистого автомобіля просто не обійтися. І вихід поки бачиться один – треба якщо не повністю виключити, то у всякому разі звести до мінімуму шкідливі викиди ДВЗ.
У зв'язку із цим ведуться численні розробки різноманітних фільтрів, каталізаторів, допалювачів відпрацьованих газів автомобіля, які покликані максимально поліпшити показники екологічної безпеки автомобіля. Незважаючи на значну кількість розробок і патентів у даній області техніки, автотранспорт як і раніше далекий від екологічної досконалості та вносить до 70% сумарного токсичного забруднення атмосфери міст планети. Варто відзначити, що більшість способів і пристроїв очищення відпрацьованих газів, які використовуються на автотранспорті, аналогічні способам і пристроям очищення промислових газів. Відрізняються вони від останніх в основному меншими розмірами й спрямованістю фільтрації.
Всі відомі винаходи у вигляді способів і пристроїв екологічного очищення відпрацьованих газів ДВЗ можна розділити на внутрішні (безпосередньо в самому ДВЗ) і зовнішні (очищення відпрацьованих газів, у випускному тракті ДВЗ) [2]. Внутрішні способи очищення досягаються шляхом зміни конструкції двигуна та пов’язані з оптимізацією робочого процесу. До даних способів відносяться оптимізація форми впускних та випускних каналів, які створюють направлений рух повітря в камері згоряння, підвищення тиску впорскування, наприклад за допомогою насос-форсунок, оптимізація камери згоряння, наприклад, за рахунок зменшення «шкідливих» об’ємів та форми виїмки у поршні. Застосування даних способів впливає на показали викидів сажі двигуном як вторинна дія, оскільки вони розраховані в основному для оптимізації показників роботи самого двигуна, що в свою чергу покращує показники викидів шкідливих речовин разом з відпрацьованими газами. Зовнішні методи очищення відпрацьованих газів ДВЗ, як і в промисловому очищенні, у більшості випадків засновані на використанні різних фізичних принципів, про що говорилося вище. Багато з них орієнтовані саме на вловлювання й/або утилізацію часток сажі. Проведемо короткий аналіз відомих винаходів і патентів по цій темі.
2.1.
Спосіб очищення шляхом механічного сепарування
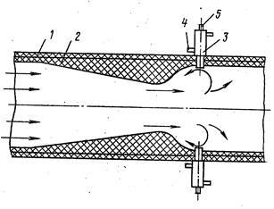
Відомі способи й пристрої механічного сепарування твердих і рідких домішок відпрацьованих газів, характерних для дизельного транспорту, шляхом обертання потоку відпрацьованих газів, з наступним нагромадженням сажі й мастила в спеціальних бункерах із систематичним видаленням. Прикладом даного способу може служити пристрій для очищення відпрацьованих газів ДВЗ, який зображено на рисунку 2 [3].

Рис. 2. Механічний сепаратор відпрацьованих газів з наступним нагромадженням сажі та мастила:
1 – корпус; 2 – впускний патрубок; 3 – випускний патрубок; 4 – ротор; 5 – вісь; 6 – вставка; 7 – сильфон; 8 – ребро жорсткості; 9 – магнітодроти; 10 – багатофазна обмотка; 11 – датчик тиску; 12 – трубопровід для відводу; 13 – регулятор витрати повітря; 14 – дренажна трубка; 15 – шлях руху газів; 16 – шлях руху домішок.
Пристрій для очищення відпрацьованих газів ДВЗ шляхом механічного сепарування працює наступним чином.
Ротору 4, встановленому на осі 5, надається обертальний рух. Обертання ротора 4 за рахунок сил аеродинамічного тертя повідомляє газу в корпусі 1 обертально-поступальний рух, спрямований убік обертання ротора 4 і від впускного патрубка 2 до випускного 3. Таким чином, усередині корпуса 1 формується досить стійкий газовий потік, що засмоктує відпрацьовані гази з вихлопного колектора ДВЗ у нижню частину корпуса 1, а потім – у зазор між ротором 4 і вставкою 6, яка встановлена всередині корпуса 1. Стрілками 15 показано напрямок вертикального руху газів. У зазорі під дією відцентрових сил, зумовлених обертальною складовою загального руху газів, тверді й рідкі частки, що містяться у відпрацьованих газах, переміщаються до вставки 6 й осідають на ній, що показано стрілками 16. Очищені в такий спосіб відпрацьовані гази через випускний патрубок 3 ідуть в атмосферу. Вставка 6 виконана знімною й при досягненні певного ступеня забруднення заміняється на нову. Як матеріал для вставки 6 рекомендується використовувати непроклеєний картон, повсть, багатошарові матеріали, які добре вбирають сажу, мастила та інші домішки, що містяться у відпрацьованих газах ДВЗ. Сильфон 7 служить для сполучення пристрою з вихлопними колекторами ДВЗ різних типів. Відомо, що відпрацьований газ ДВЗ містить забруднення в дрібнодисперсному стані, тому для ефективного їхнього осадження необхідні досить великі відцентрові сили. Крім того, для забезпечення досить великої пропускної здатності пристрою потрібна і висока вертикальна швидкість газів всередині корпуса 1. Для виконання цих умов необхідна висока частота обертання ротора 4, а щоб забезпечувати механічну міцність і твердість ротора 4 при такій частоті обертання всередині нього виконані ребра жорсткості 8.
Для обертання ротора 4 можуть використовуватися електродвигун постійного струму або магнітодроти. Схеми підключення обох варіантів приводу показані відповідно на рисунках 3,а та 3,б.
 
а) б)
Рис. 3. Схеми підключення приводу ротора пристрою сепарування відпрацьованих газів: 17 – джерело електроенергії; 18 – водяний реостат; 19 – електродвигун постійного струму; 20 – обмотка збудження; 21 й 22 – додаткові резистори; 23 – випрямляч; 24 – трансформатор; 25 й 26 – діоди; 27 – керований випрямно
-
інверторний перетворювач; 28 – вимикач.
Недоліками даного способу є складність реалізації, значні енерговитрати і велика матеріалоємність, оскільки об'єм сажі, яка сепарується, є досить великий через її низьку густину. Термічне ж розкладання сажі економічно недоцільне й приводить до збільшення обсягу окису вуглецю.
2.2.
Спосіб плазмового допалювання
Відомі плазмові способи й пристрої допалювання відпрацьованих газів, шляхом пропущення відпрацьованих газів через факел низькотемпературної плазми. Прикладом даного способу може служити пристрій зображений на рисунку 4 [4].

Рис.4. Плазмовий допалювач відпрацьованих газів:
1
–
камера допалювання; 2
–
ділянка у вигляді труби Вентурі з термостійкого матеріалу; 3 – канал для підводу повітря; 4
–
паливна форсунка; 5
–
електрод.
Даний пристрій реалізує плазмовий спосіб очищення працює наступним чином.
Потік відпрацьованих газів, проходить ділянку 2, при цьому його швидкість зростає за рахунок зменшення прохідного перерізу. За ділянкою 2 відбувається зрив потоку і його турбулізація. Турбулизований відпрацьований газ попадає в струмінь низькотемпературної повітряної плазми, яка генерується електродами 5, у цю ж зону додатково подається паливо через форсунки 4. Низькотемпературна повітряна плазма й паливо в результаті реакції між собою являється генераторами активних часток, які, змішуючись із турбулизованими відпрацьованими газами, приводять до активізації горіння продуктів неповного згоряння відпрацьованих газів, у тому числі й частинок сажі.
Крім того, подача палива через форсунки 4 приводить до підвищення температурного рівня процесу у всій камері 1 допалювання, а отже, до більш інтенсивного впливу продуктів плазмохімічних реакцій на продукти неповного згоряння відпрацьованих газів.
Реакції, що відбуваються при змішанні низькотемпературної повітряної плазми з додатковим паливом, приводять до утворення надрівноважних концентрацій атомів і радикалів, а також великої кількості продуктів неповного перетворення вуглеводнів. Наявність таких частинок у зоні хімічних реакцій дозволяє різко інтенсифікувати процес нейтралізації відпрацьованих газів.
Утворення заряджених і хімічно активних частинок відбувається в турбулізованому потоці відпрацьованих газів, що сприяє інтенсивному розподілу центрів хімічної реакції по об'єму потоку, а також збільшує швидкість реакції й сприяє більш повному її протіканню, тобто підвищує ефективність нейтралізації відпрацьованих газів.
Недоліками даного способу є значні енерговитрати при використанні додаткового палива, несприятливі температурні режими вихлопної труби при її перегріві плазмою. Крім того, зростає обсяг окислювача, що призводить до збільшення об’ємів відпрацьованих газів.
2.3.
Електрофільтрування
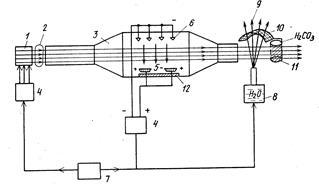
Відомі способи й пристрої электрофільтрування відпрацьованих газів ДВЗ [5] шляхом впливу електричним полем на електрично заряджені частки (тверді та рідкі) відпрацьованих газів з їхнім електростатичним осадженням на спеціальні електроди з наступним систематичним видаленням осаду. Даний спосіб покладений в основу пристрою зображеного на рисунку 5, який реалізує даний спосіб наступним чином.

Рис. 5. Пристрій для електрофільтрування відпрацьованих газів ДВЗ:
1 – ДВЗ; 2 – відпрацьовані гази; 3 – камера; 4 – блок тиристорного запалювання; 5 та 6 – електроди; 7 – генератор; 8 – впорскувач аерозолі; 9 – аерозоль; 10 – пластина; 11 – відстійна ємність; 12 – сітка.
Очищення відпрацьованих газів, у пристрої реалізується так.
Відпрацьовані гази 2 від двигуна 1 надходять у камеру 3, у якій від електродів 5 й 6 обробляються електричними імпульсами високої напруги від блоку 4 тиристорного запалювання, потім водяною аерозолю 9 від впорскувача 8. Обробку відпрацьованих газів 2 електричними імпульсами й подачу в них водяної аерозолі здійснюють із частотою запалювання паливної суміші у двигуні 1. Шпаруватість обробки відпрацьованих газів 2 електричними імпульсами регулюють задаючим генератором 7. Вологу з розчиненими в ній домішками конденсують на пластині 10 і збирають у відстійній ємності 11, сажу збирають на сітці 12 поблизу електродів 5 та 6 і систематично видаляють, а очищені вихлопні гази випускають у навколишнє середовище.
Недоліками способу є низька надійність через труднощі забезпечення надійної електроізоляції різноіменно заряджених пластин електрофільтру в умовах осадження сажі та кіптяви на внутрішній поверхні пластин і високих температур, а також значне додаткове використання електричної енергії мережі автомобіля.
Відомі також способи очищення відпрацьованих газів від сажі шляхом її электротермічного розкладання. Однак даний спосіб є енергозатратним і неприйнятний для автотранспорту з йогонизькою потужністю електрогенератора.
2.4.
Комбіновані системи очищення
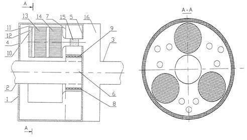
Особливої уваги вимагають комбіновані системи очищення відпрацьованих газів ДВЗ. Прикладом такого пристрою може служити пристрій, що комбінує в собі сажовий каталітичний фільтр, каталітичний блок відновлення оксидів азоту й каталітичний блок окислювання оксиду вуглецю й вуглеводнів, запатентований в Російській Федерації [6]. На малюнку 6 зображені поздовжній і поперечний розрізи даного пристрою.

Рис. 6. Комбінований пристрій очищення відпрацьованих газів ДВЗ:
1 – корпус; 2 – вхідний патрубок; 3 – вихідний патрубок; 4 – кремнеземна тканина; 5 – торець; 6 – перфорована ділянка; 7 – перфорована перегородка; 8 – сажовий фільтр грубого очищення; 9 – електронагрівальний елемент; 10 – оболонка; 11 – порожнина; 12 – сажовий фільтр тонкого очищення; 13 – каталітичний блок відновлення оксидів азоту; 14 – каталітичний блок окислювання оксиду вуглецю й вуглеводнів; 15 – вогнегасний фільтр; 16 – резонаторна камера.
Цікавим моментом у конструкції пристрою є те, що на внутрішню поверхню корпуса й у сажових фільтрах грубого та тонкого очищення даного, а також на поверхні каталітичного блоку відновлення оксидів азоту й каталітичного блоку окислювання оксиду вуглецю й вуглеводнів нанесено каталізатори, які виконані на основі складного оксиду Cux
Co2+
y
Co3+
2y
Srz
Zr0,5z
Ti1-(0,5x+2y+z)
О2
.
Робота даного пристрою для очищення відпрацьованих газів двигуна внутрішнього згоряння здійснюються таким чином.
Відпрацьовані гази ДВЗ надходять по трубі вхідного патрубка 2. Ударяючись о внутрішню поверхню торця 5 корпуса 1, і змінивши напрямок руху, газовий потік надходить через перфоровану ділянку 6 труби вхідного патрубка 2, каталітичний сажовий фільтр 8 грубого очищення й отвори в перфорованій перегородці 7 у внутрішній простір корпуса 1, де розташовані оболонки 10. При цьому великі й середні частинки сажі затримуються каталітичним сажовим фільтром грубого очищення 8, де відбувається їхнє каталітичне окислювання.
При русі газового потоку усередині порожнини 11 внаслідок зміни напрямку потоку й зіткнення газів з каталізатором на кремнеземній тканині 4, нанесеної на внутрішню поверхню корпуса 1, частинки сажі осідають на каталізаторі й каталітично окисляються до оксидів вуглецю.
Ще раз змінивши напрямок руху, газовий потік проходить через каталітичний сажовий фільтр 12 тонкого очищення, що завершує очищення газів від часток сажі, після чого він проходить через пористий каталітичний блок 13 відновлення оксидів азоту, а потім і через пористий каталітичний блок 14 окислювання оксиду вуглецю й вуглеводнів. Після цього газовий потік проходить через вогнегасний фільтр 15, що виключає проскакування полум'я й забезпечує пожежну безпеку пристрою, надходить у резонаторну камеру 16, у якій за рахунок розширення газів знижується температура й швидкість газового потоку. Резонаторна камера 16 у сукупності з іншими елементами пристрою забезпечує зниження акустичних коливань газового потоку, що через вихідний патрубок 3 викидається в атмосферу.
Варто відзначити, що кількість оболонок 10 в конструкції може змінюватись в залежності від об’єму відпрацьованих газів ДВЗ.
При запуску холодного двигуна, при роботі двигуна в умовах негативних температур, а також для регенерації каталітичних елементів пристрою для очищення відпрацьованих газів двигуна внутрішнього згоряння передбачене включення електронагрівального елемента 9, установленого усередині сажового фільтра грубого очищення 8. Після виходу двигуна на оптимальний тепловий режим або завершення циклу регенерації каталітичних елементів електронагрівальний елемент 9 вимикають.
Були проведені експериментальні дослідження показників роботи пристрою для очищення відпрацьованих газів, двигунів внутрішнього згоряння марок Д2500.И, ДТ2500.И, Д4000.И, ДТ4000.И, у процесі яких вимірялися питомі викиди токсичних компонентів, таких як СО, СНх
, NOx
і дисперсних частинок (сажі).
Витримка по викидах сажі з результатів експериментальних досліджень пристрою представлена в таблиці 1, де наведені порівняльні дані для зазначених двигунів при їхній роботі без пристрою для очищення відпрацьованих газів та із запропонованим пристроєм. З таблиці видно, що показники викиду сажі в відпрацьованих газах двигунів внутрішнього згоряння із встановленим на них пристроєм для очищення, значно покращенні в порівнянні із викидами сажі відпрацьованих газів, які не фільтрувалися даним пристроєм.
Таблиця 1
Результати випробувань комбінованого пристрою очищення відпрацьованих газів ДВЗ
| Питомі викиди сажі, г/(кВт·год) |
Марка двигуна |
| Д2500.И |
ДТ2500.И |
Д4000.И |
ДТ4000.И |
| Номінальна потужність двигуна, кВт (к.с.) |
| 34 (46) |
41 (56) |
54 (73) |
74 (100) |
| Без пристрою |
0,9 |
0,6 |
0,6 |
0,5 |
| З пристроєм |
0,2 |
0,1 |
0,1 |
0,1 |
Незважаючи на численні позитивні показники даного пристрою, він все-таки не є ідеальним. Адже показники питомих викидів дисперсних часток (сажі), ресурс роботи й інші покращення й оптимізація пристрою все ще можливі. У даному напрямку на кафедрі Автомобілів і механіки технічних систем Житомирського державного університету ведуться розробки, які вже принесли конкретні успіхи. Через великий потенціал даного пристрою й гарні показники його роботи даний фільтр був взятий за прототип для досліджень. Розроблено спосіб і конструкція, що дозволяють поліпшити процес фільтрування часток сажі. В основі даної оптимізації лежить виведена на кафедрі формула оптимальної температури частинки сажі для найкращого її осадження на фільтруючому матеріалі. Це дозволить не тільки поліпшити показники фільтрування відпрацьованих газів ДВЗ від частинок сажі, але й збільшити ресурс і показники окисно-відновлювальних каталізаторів, оскільки вони будуть менш забруднені даними частинками під час роботи.
Варто відзначити, що дана розробка кафедри може використовуватися й на інших пристроях очищення відпрацьованих газів ДВЗ від частинок сажі з механічним способом очищення.
3.
Класифікація пристроїв для очищення відпрацьованих газів ДВЗ від частинок сажі
На основі аналізу пристроїв для очищення відпрацьованих газів ДВЗ від частинок сажі була виведена їхня класифікація з відображенням позитивних та негативних властивостей. Дана класифікація для наочного ознайомлення представлена на рисунку 7, а її повна версія виглядає наступним чином:
1. За місцем розташування:
а) внутрішні:
· за способом очищення (дані методи орієнтовані на оптимізацію показників роботи самого двигуна, що в свою чергу приводить до поліпшення показників викидів токсичних газів
):
- оптимізація форми впускних та випускних каналів, які створюють направлений рух повітря в камері згоряння;
- підвищення тиску впорскування, наприклад за допомогою насос-форсунок;
- оптимізація камери згоряння, наприклад, за рахунок зменшення «шкідливих» об’ємів та форми виїмки у поршні.
б) зовнішні:
· за способом очищення:
- механічного очищення, які за дією на частинки сажі поділяються на:
- інерціонні уловлювачі
(+ гарні показники вловлювання сажі, можливість вловлювання рідких домішок відпрацьованих газів;
- складність конструкції, велика металоємність, великі енерговитрати, складність відновлення працездатності
);
- фільтри контактної дії
(+ гарні показники вловлювання сажі, вловлювання часток сажі малого розміру;
- мала продуктивність, малий термін служби фільтруючого елемента, зміна в часі продуктивності, гідравлічного опору й ефективності
);
- хімічного допалювання
(+ малі енерговитрати;
- дорожнеча матеріалів, малий термін служби, можливість роботи у вузькому спектрі умов
);
- плазмового допалювання
(+ гарні показники очищення й нейтралізації відпрацьованих газів;
- великі енерговитрати, використання додаткового палива, несприятливі теплові режими у вихлопній системі, зростання обсягу відпрацьованих газів, складність конструкції
);
- електричного очищення
(+ гарні показники уловлювання сажі, малий гідравлічний опір, можливість керування інтенсивністю та шпаруватістю очищення;
- потреба в попередній підготовці відпрацьованих газів перед очищенням, великі енерговитрати, складність конструкції
).
2. За кількістю стадій очищення:
а) з однією стадією
(+ простота конструкції, мала металоємність;
- невисокі показники уловлювання сажі, малий термін служби
);
б) з декількома стадіями
(+ гарні показники уловлювання сажі, великий термін служби;
- складність конструкції, велика металоємність, залежність між показниками стадій
).
3. За споживанням електроенергії мережі автомобіля:
а) які підключаються до мережі автомобіля
(+ гарні показники уловлювання сажі, можливість контролю й керування пристроїв за допомогою програмних комплексів;
- великі енерговитрати; складність конструкції
);
б) які не підключаються до мережі автомобіля
(+ малі енерговитрати, простота конструкції;
- невисокі показники уловлювання сажі, неможливість контролю й керування пристроїв за допомогою програмних комплексів
).
4. За зниженням шумності викиду відпрацьованих газів:
а) с резонаторною камерою
(+ зниження шумового забруднення, можливість використання певних видів фільтрації на багатоциліндровому двигуні;
- збільшений гідравлічний опір, складність конструкції
);
б) с лабіринтовою системою
(+ зниження шумового забруднення, можливість використання певних видів фільтрації на багатоциліндровому двигуні, можливість поліпшення очищення відпрацьованих газів за рахунок зміни напрямку руху газів;
- великий гідравлічний опір, складність конструкції, велика металоємність
);
в) без зниження гучності
(+ малий гідравлічний опір, простота конструкції, мала металоємність;
- відсутність зниження шумового забруднення, неможливість використання певних видів фільтрації на багатоциліндровому двигуні
).
5. За спрямованістю очищення:
а) які фільтрують тільки дисперсні частинки
(+ простота конструкції, мала металоємність, малий гідравлічний опір;
- неповнота очищення й нейтралізації відпрацьованих газів
);
б) які виконують додаткову функцію, в свою чергу за цією функцією поділяючись на:
(+ додаткове очищення й нейтралізація відпрацьованих газів;
- складність конструкції, більша металоємність, збільшений гідравлічний опір, залежність між показниками очищення окремих речовин та між стадіями очищення
)
· які фільтрують рідкі домішки (мастила та ін.);
· які окислюють оксид вуглецю й вуглеводню;
· які відновлюють оксиди азоту.
6. За можливістю відновлення працездатності:
а) з можливістю очищення або заміни фільтруючого елемента
(+ можливість продовження терміну служби, можливість контролю стану пристрою;
- складність конструкції, велика металоємність, велика трудомісткість при очищенні, зміна параметрів очищення з часом
);
б) з самоочищенням, які в залежності від способом самоочищення поділяються на:
(+ великий термін служби, відносна сталість параметрів очищення в часі;
- складність конструкції, велика металоємність, збільшення об'єму відпрацьованих газів
)
· допалювання часток електропровідним елементом;
· допалювання з введенням додаткового палива;
· відновлення введенням додаткового повітря.
в) без можливості відновлення працездатності
(+ простота конструкцій, мала металоємність;
- малий термін служби, зміна параметрів очищення з часом
).
З аналізу пристроїв для очищення відпрацьованих газів ДВЗ від сажі видно, що найкращі показники роботи мають комбіновані пристрої. Варто також відзначити, що у «чистому» вигляді пристрої для очищення майже не існують, оскільки їх малофункціональність та відносно мала продуктивність не дають можливості добитися потрібних показників очищення. Комбіновані пристрої одночасно мають декілька критеріїв за певними ознаками. А це значить, що кожний модуль такого фільтра надає йому своїх переваг та недоліків. З рисунку 7, на якому представлена структура розробленої класифікації, видно, що можливих поєднань таких модулів можна провести безліч. Тому при розробці нового пристрою для очищення відпрацьованих газів ДВЗ від сажі потрібно поєднанням декількох модулів, зважаючи на їх переваги та недоліки, а також можливу сумісну роботу, добитися такого тандему, при якому загальні показники пристрою будуть оптимальними. В даному випадку мається на увазі, що показники очищення мають бути максимально приближені до повного виключення забруднювачів при відносно максимальній простоті конструкції.

Рис. 7. Класифікація пристроїв для очищення відпрацьованих газів ДВЗ від частинок сажі
ВИСНОВКИ
Для того щоб зберегти людству автомобіль необхідно якщо не виключити, то звести до мінімуму шкідливі викиди. Роботи в цьому напрямку ведуться в усьому світі й дають певні результати. Автомобілі, які випускають у наш час у промислово розвинених країнах, викидають шкідливих речовин в 10-15 разів менше, ніж 10-15 років тому. У всіх розвинених країнах відбувається збільшення жорсткості нормативів на викиди шкідливих речовин автомобіля при його роботі. Відбувається не тільки кількісне пожощення норм, але і їхня якісна зміна. Так, замість обмежень по димності введене нормування твердих часток, на поверхні яких адсорбуються небезпечні для здоров'я людини ароматичні вуглеводні й зокрема, канцерогенний бенз(а)пірен. Постійно розширюється список речовин, вміст яких повинен знаходиться під контролем.
Автомобілі, які експлуатуються в нашій країні, не відповідають сучасним європейським обмеженням по токсичності й викидають шкідливих речовин істотно більше ніж закордонні аналоги. Існує декілька найбільш важливих причин відставання нашої країни в цій сфері:
- низька культура експлуатації автомобілів. Кількість несправних автомобілів, що перебувають в експлуатації, дотепер досить велика.
- відсутність жорстких законодавчих вимог до екологічних якостей автомобілів. З початку 90-х років стандарти, що збереглися протягом 20 років майже без змін, почали істотно відставати від європейських норм. При відсутності досить жорстких вимог до токсичності викидів, споживач не зацікавлений купувати екологічно більш чисті, але при цьому більш дорогі автомобілі, а виробник не схильний їх випускати.
- непідготовленість інфраструктури до експлуатації автомобілів, обладнаних відповідно до сучасних екологічних вимог.
- на відміну від європейських країн, у нас в країні дотепер ускладнене впровадження нейтралізаторів і фільтрів відпрацьованих газів автомобілів.
Незважаючи на всі ці негативні фактори, розробки нових і поліпшення вже існуючих фільтрів і нейтралізаторів триває. Варто вірити, що всі ці сили не будуть витрачені даремно, і у самому близькому майбутньому наведені вище й багато інших розробок можна буде побачити на автомобілях, які щойно з’їхали з конвеєру, і які будуть відповідати всім нормам екологічної безпеки під час всього терміну своєї служби людству.
СПИСОК ВИКОРИСТАНОЇ ЛІТЕРАТУРИ
1. Классификация обеспыливающих устройств и характеристика их действия [електронний ресурс] / Режим доступу: http://promventil.ru/klassifikaciya-obespylivayushhix-ustrojstv-i-xarakteristika-ix-dejstviya.html
2. Сажевый фильтр с каталитическим покрытием. Устройство и принцип действия: пособие по программе самообразования. – М.: ООО “ФОЛЬКСВАГЕН Груп Рус”, 2005. – 36 с. : ил.
3. Пат. 2023175 Российская Федерация, МПК F01N3/02, B01D45/14. Устройство для очистки отработавших газов двигателя внутреннего сгорания [Текст] / Карминский В.Д., Соломин В.А., Филь Е.С., Калинченко С.Ю. ; заявитель Ростовский институт инженеров железнодорожного транспорта; патентообладатель Карминский Валерий Давидович, Соломин Владимир Александрович, Филь Евгений Сергеевич, Калинченко Светлана Юрьевна. – № 4928455/06 ; заявл. 18.04.1991 ; опубл. 15.11.1994. – 4 с.: ил.
4. А. с. 1460368 СССР МКИ4 F 01 J 3/08 Способ нейтрализации отработавших газов двигателя внутреннего сгорания и устройство для его осуществления [Текст] / Г.Ф. Романовский, Ю.А. Шаповалов (СССР). – № 4270109/25-06 ; заявл. 31.03.87 ; опубл. 23.02.89, Бюл. № 7. – 3 с. : ил.
5. А. с. 1404664 СССР МКИ4 F 01 N 3/08 Способ очистки выхлопных газов двигателя внутреннего сгорания [Текст] / В.Д. Дудышев, В.И. Деженин (СССР). – № 3926866/25-06 ; заявл. 02.07.85 ; опубл. 23.06.88, Бюл. № 23 – 2 с. : ил.
6. Пат. 2267618 Российская Федерация, МПК F01N3/033, Способ очистки отработавших газов двигателя внутреннего сгорания и устройство для его осуществления [Текст] / Мазалов Ю.А. (RU), Меренов А.В. (RU), Кобец В.А. (BY), Илюкович А.А. (BY) ; заявитель и патентообладатель Общество с ограниченной ответственностью "НОВОТОРГ" (RU). – № 2004113388/06 ; заявл. 30.04.2004 ; опубл. 10.01.2006. – 12 с. : ил.
|