Міністерство аграрної політики України
Державний
агроекологічний університет
Факультет механізації сільського господарства
Кафедра загальнотехнічних дисциплін
ГІДРАВЛІКА
Конспект лекцій
Житомир 2004
УДК 514.18:681.3.067(075.8)
Розглянуто кафедрою
загально технічних дисциплін,
протокол № _ від ________ р.
і методичною комісією факультету
механізації сільського господарства,
протокол № _ від ________ р.
Рецензенти:
Кучеров С.Ф., Кухарець С.М. Гідравліка. Конспект лекцій. – Житомир: Державний агроекологічний університет, 2004. – 116с.:іл.
Конспект лекцій висвітлює основні питання курсу “Гідравліка”. Призначений для студентів факультету механізації. Особливо корисним буде для самостійної підготовки студентів заочної форми навчання.
ã Державний агроекологічний університет, 2004 р.
ЗМІСТ
ВСТУП
1 Рідини і їх фізико-механічні властивості
1.1 Рідина
1.2 Основні властивості краплинних рідин
1.2.1 Густина
1.2.2 Питома вага однорідної рідини
1.2.3 Стисливість
1.2.4 Пружність рідини
1.2.5 Температурне розширення
1.2.6 В’язкість
1.2.7 Ідеальна рідина
1.2.8 Сили, що діють в рідині
2 Гідростатика
2.1 Гідростатичний тиск і його властивості
2.2 Диференціальні рівняння рівноваги рідини
2.3 Основне рівняння гідростатики
2.4 Закон Паскаля
2.5 Сила тиску рідини на плоску стінку. Центр тиску
2.6 Сила тиску рідини на криволінійні поверхні
3 Основи кінематики і динаміки рідини
3.1 Основні поняття і визначення
3.2 Рівняння нерозривності для усталеного руху рідини
3.3 Рівняння Бернуллі при усталеному русі ідеальної рідини
3.4 Рівняння Бернуллі для елементарної струминки і потоку в’язкої рідини
3.5 Гідравлічні опори і втрати енергії (напору) при русі рідини
3.6 Режими руху рідини. Критерій Рейнольдса
3.7 Визначення втрат енергії при ламінарному режимі течії рідини в трубі круглого поперечного перерізу
3.8 Турбулентний режим і визначення втрат енергії потоку в трубах круглого поперечного перерізу
3.8.1 Деякі відомості про структуру турбулентного потоку
3.8.2 Поняття про гідравлічно гладкі і шорсткі труби
3.8.3 Визначення коефіцієнта гідравлічного тертя при турбулентному режимі
3.8.4 Місцеві гідравлічні опори
4 Витікання рідини через отвори і насадки при сталому напорі
4.1 Витікання через малі отвори в газове середовище
4.2 Витікання рідини через малі затоплені отвори
4.3 Витікання рідини через насадки
5 Гідравлічний удар в трубах
6 Гідравлічний розрахунок напірних трубопроводів
6.1 Класифікація трубопроводів
6.2 Розрахунок простих трубопроводів
6.2.1 Розрахункові рівняння
6.2.2 Характеристика трубопроводу. Потрібний напір
6.3 З’єднання трубопроводів
6.3.1 Послідовне з’єднання
6.3.2 Паралельне з’єднання
6.3.3 Розгалужений трубопровід
7 Водопостачання
7.1 Джерела водопостачання
7.2 Системи водопостачання
7.3 Водозабірні споруди
7.3.1 Споруди для забирання поверхневих вод
7.3.2 Споруди для забирання підземних вод
7.4 Фільтрація
7.4.1 Фільтрація ґрунтових вод
7.4.2 Приплив води до дренажних колодязів
7.5 Водоочисні споруди
7.6 Водопровідна мережа
7.7 Режим водоспоживання і визначення розрахункових об’єкмів водоспоживання
7.8 Основи розрахунку водопровідної мережі і її елементів
8 Каналізація
8.1 Загальні відомості
8.2 Склад стічних вод
8.3 Методи очищення стічних вод
8.4 Основні відомості з розрахунку каналізаційних мереж
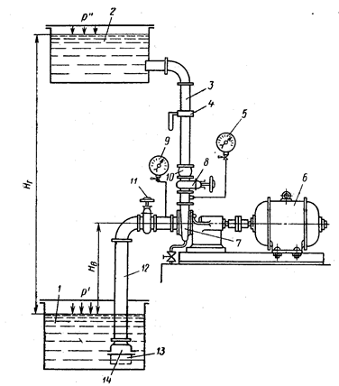
9 Гідромашини
9.1 Відцентрові, лопатеві
9.1.1 Принцип дії лопатевого насоса
9.1.2 Основні технічні і експлуатаційні показники відцентрових насосів
9.1.3 Насосна установка і її характеристика
9.1.4 Робота насоса на мережу
9.1.5 Послідовна і паралельна робота насосів на мережу
9.2 Об’ємні гідромашини
9.2.1 Загальні зауваження
9.2.2 Основні параметри, що оцінюють роботу об’ємних гідромашин
9.2.3 Поршневі насоси, силові і моментні гідроциліндри
Гідравліка – прикладна наука, яка вивчає закони рівноваги і механічного руху рідини і розробляє на основі теорії і експерименту способи використання цих законів для розв’язання різних задач інженерної практики.
Слово “гідравліка” походить від сполучення двох грецьких слів – hydor (вода) і aulos (труба) – і означає течію води по трубах.
Зміст сучасної гідравліки незрівнянно ширший. Питання, що вивчаються в гідравліці, охоплюють рух води не тільки в трубах, але і у відкритих руслах (каналах, річках ), в різних гідротехнічних спорудах і системах, а також рух інших рідин (нафта, масла, розчини) в трубопроводах і гідромашинах. На підставі цього сучасну гідравліку розглядають як одну з галузей механіки – механіку рідини.
Математичний апарат гідравліки спирається на такі науки, як математика, фізика, теоретична механіка. В свою чергу, вона є базовою дисципліною при вивченні курсів: гідроприводи, насосні, вентиляційні установки, гідромашини, водопостачання, каналізація та інші.
Гідравліку поділяють на дві частини: гідростатику і гідродинаміку, причому остання містить у собі і кінематику рідині. Гідростатика вивчає закони рівноваги рідин і їх силову дію на тверді стінки, що обмежують об’єми рідин; гідродинаміка – закони руху рідин і їх взаємодію з твердими стінками або тілами, які знаходяться в потоці рідини.
1.1 Рідина
Рідиною називають неперервне (суцільне) фізичне середовище, яке володіє властивістю текучості і майже повною відсутністю опору на розрив.
Текучість рідини обумовлена неспроможністю її сприймати дотичні напруження в стані спокою, через що вона не має власної форми, а приймає форму тієї посудини, в якій знаходиться.
Розрізняють рідини краплинні і газоподібні. Перші – майже нестисливі (вода, масла, спирт ), другі – легкостисливі ( повітря і інші гази ). Характерною відмінністю цих рідин є також наявність у крапельних і відсутність у газоподібних вільної поверхні – поверхні поділу між рідиною і газоподібним середовищем.
Гідравліка, як правило, розглядає тільки краплинні рідини, але в тих випадках, коли можна нехтувати стисливістю газів, цілком допустимо використовувати і до газів закони і залежності гідравліки.
1.2.1 Густина. Для однорідної рідини густина
. |
(1.1) |
1.2.2 Питома вага однорідної рідини
. |
(1.2) |
Зв’язок між густиною і питомою вагою дається формулою
. |
(1.3) |
В наведених формулах m-маса рідини; V-об’єм рідини; G-вага рідини в об’ємі V; g=9,81м/с2
-прискорення вільного падіння.
1.2.3 Стисливість
Стисливість - це властивість рідини змінювати свій об’єм під дією тиску. Стисливість рідини характеризують коефіцієнтом об’ємного стиснення.
, |
(1.4) |
де V0
-початковий об’єм рідини; V1
-обєм рідини після збільшення тиску на DР; DV=V1
-V0
зміна об’єму рідини.
1.2.4 Пружність рідини
Характеристикою пружних властивостей рідини є модуль об’ємної пружності Ер
- величина, обернена коефіцієнту об’ємного стиснення:
. |
(1.5) |
Так, наприклад, для води bр
=48,510-11
м/Н2
і, відповідно, модуль пружності Е=2,1·109
Па Модуль пружності мінеральних масел, які використовують в системах гідроприводу, при температурі t=200
С дорівнює (1,35...1,75)·103
Мпа.
Властивість рідини змінювати свій об’єм в залежності від зміни температури оцінюють коефіцієнтом об’ємного розширенняbt
, |
(1.6) |
де V0
-початковий об’єм рідини; V1
-об’єм рідини після збільшення температури на DT градусів.
Для води при різних тисках і температурах bt
=0,00014...0,00066; для нафтопродуктів bt
=0,0006...0,0008.
1.2.6 В’язкість
В’язкість (внутрішнє тертя) – це здатність рідини чинити опір відносному зсуву своїх частинок під дією зовнішніх сил. Ця властивість протилежна текучості: більш в’язкі рідини (гліцерин, масла) менш текучі і навпаки (ефір, спирт). При шаруватій течії рідини між окремими її шарами, що рухаються з різними швидкостями (рис 1.1), виникають дотичні напруження, які за гіпотезою Ньютона пропорційні швидкості відносного зсуву du шарів:
 |
(1.7) |

В формулі (1.7), яку отримав у 1883р. проф. Н.П.Петров, m-коеф. пропорційності, що має назву динамічного коеф. в’язкості (або просто динамічна в’язкість); du-приріст швидкості, який відповідає приросту координати dn; -градієнт швидкості по нормалі n до напрямку руху.
В системі СІ одиницею динамічної в’язкості є Па·с, а в системі СГС-1Пуаз, причому 1Пуаз=0,1Па·с.
На практиці більш часто користуються кінематичною в’язкістю, якою називають відношення динамічної в’язкості рідини до її густини:
 |
(1.8) |
Одиницею вимірювання кінематичної в’язкості є Стокс (1Ст) і сантистокс (1сСт):
1Ст=1см2
/с=10-4
м2
/с
1сСт=10-2
Ст=10-6
м2
/с;
В’язкість краплинних рідин суттєво залежить від температури і зменшується при зростанні останньої. Так, наприклад, для води при t=00
С n=1.7810-6
м2
/с, а при t=1000
С n=0,2810-6
м2
/с. Вплив тиску на в’язкість рідини стає помітним при величинах, більших 10Мпа .
На відміну від краплинних рідин кінематична в’язкість газів зростає при збільшенні температури.
1.2.7 Ідеальна рідина
З метою спрощення розв’язання багатьох задач механіки рідини користуються поняттям “ідеальної” рідини. Ідеальною рідиною називають таку умовну рідину, яка характеризується абсолютною нестисливістю і повною відсутністю в’язкості, тобто сил тертя при її русі.
Очевидно, що при вивченні властивостей рідин, які знаходяться у стані спокою, нема потреби розрізняти реальну і ідеальну рідини.
1.2.8 Сили, що діють в рідині
Внаслідок текучості в рідині діють не зосереджені, а тільки розподіленні по її поверхні чи об’єму сили. Всі вони поділяються на зовнішні і внутрішні.
Рівновагу рідини розглядають при дії на неї зовнішніх сил, причому останні можуть бути поверхневими, тобто такими, що діють безпосередньо на граничну поверхню даного об’єму рідини (атмосферний тиск, сили тертя), і масовими, які дєють на всі частинки маси цього об’єму. Якщо рідина однорідна (r=const),то масові сили називають і об’ємними (сили тяжіння, сили інерції).
Очевидно, що поверхневі сили прямо пропорційні площі граничної поверхні рідини, а масові(об’ємні) –масі (об’єму) рідини.
В гідравліці масові сили часто характеризують одиничними масовими силами , які являють собою відношення масової сили до маси даного об’єму рідини, тобто прискорення.
Проекції результуючої одиничних масових сил (результуючого прискорення) на осі декартової системи координат Oxyz прийнято позначати через X, Y, Z.
2. Гідростатика
2.1 Гідростатичний тиск і його властивості
Такі властивості, як текучість і неспроможність чинити опір розтягуючим зусиллям, дозволяють сформулювати умови рівноваги певного об’єму рідини: рідина може зберегти свій стан рівноваги тільки в тому випадку, якщо зовнішні сили, що діють на граничну поверхню даного об’єму, напрямлені по внутрішнім нормалям до цієї поверхні.

Розглянемо довільний об’єм рідини, що знаходиться в рівновазі під дією зовнішніх сил (рис 2.1). Розсічемо цей об’єм на дві частини деякою січною площиною w і відкинемо верхню частину І.
Тоді на частину ІІ з боку відкинутої частини буде діяти певна сила Р, яка повинна бути перпендикулярною до січної площини. Цю стискуючу силу називають силою гідростатичного тиску. Якщо на січній площині виділити елементарну площинку Dw, то на неї буде діяти частина DР сили Р.
Границя відношення DР/Dwназивається гідростатичним тиском р в даній точці рідини:
 |
(2.1) |
або
. |
(2.2) |
Середній гідростатичний тиск, який діє на площі w, визначають за формулою:
. |
(2.3) |
Одиницею тиску в системі СІ є паскаль (1Па=Н/м2
).
Гідростатичний тиск характеризується трьома властивостями.
1. Гідростатичний тиск завжди напрямлений по внутрішній нормалі до поверхні, на яку він діє, і створює тільки стискуючі напруження.
Ця властивість безпосередньо виходить із визначення тиску, як напруження від нормальної стискуючої сили.
2. В будь-якій точці рідини гідростатичний тиск однаковий по всім напрямам.

Щоб довести це виділимо в об’ємі рідини призму з основою у вигляді трикутника АВС (рис 2.2а) і замінимо дію зовнішнього об’єму рідини на її бокові грані відповідними силами. Оскільки призма знаходиться у стані рівноваги, то трикутник цих сил повинен бути замкнутим (рис 2.2б).
Силовий трикутник подібний трикутнику АВС і тому  . Якщо поділити всі члени даного рівняння на довжину призми Dl, то в знаменниках будуть стояти площі відповідних граней призми. При спрямуванні розмірів призми до нуля у відповідності з рівнянням 2.1 отримаємо:
| РАВ
=РВС
=РАС
=P, |
(2.4) |
що і потрібно було довести.
3. Гідростатичний тиск в точці залежить тільки від її положення у просторі, тобто р=f(x,y,z).
Цей висновок виходить з викладеного вище.
2.2 Диференціальні рівняння рівноваги рідини
Виділимо в нерухомій рідині нескінченно малий об’єм у вигляді паралелепіпеда з ребрами dx, dy, dz (рис 2.3). Подумки відкинемо рідину, що оточує паралелепіпед, і замінимо її дію відповідними силами. Припустимо, що на ліву грань діє тиск р. Тоді на праву грань А1
В1
С1
D1
, яка знаходиться на відстанні x+dx, буде діяти тиск .
Відповідно, сила тиску на ліву грань АВСD буде дорівнювати
, |
а на праву
(
Рис.2.3
Знак (-) показує, що сила діє у від’ємному напрямі осі х)
Крім сили тиску на паралелепіпед може діяти рівнодіюча масових сил (тяжіння, відцентрова, інерції), проекція якої на вісь х буде:
, |
де Х-проекція прискорення (одиничної масової сили) на вісь х;
dV-об’єм паралелепіпеда.
Рівняння рівноваги сил, що діють на паралелепіпед в напрямі осі х, має вигляд:
чи, після спрощень,
Аналогічно можна отримати рівняння рівноваги сил відносно осей y і z
Таким чином, кінцево маємо систему:
 |
(2.5) |
Рівняння (2.5) є основними диференціальними рівняннями рівноваги рідини (рівняння Ейлера).
Щоб привести рівняння Ейлера до вигляду, зручного для інтегрування, помножимо кожне з рівнянь (2.5) відповідно на dx, dy, dz і складемо їх почленно:
Ліва частина цього рівняння є повним диференціалом тиску dp, тому:
 |
(2.6) |
Рівняння (2.6) називається основним диференціальним рівнянням гідростатики.
Зі співвідношення (2.6) можна отримати рівняння для поверхні рівного тиску (поверхні рівня). Для такої поверхні p=const і при r=const будемо мати:
 |
(2.7) |
Частинним випадком поверхні рівня є вільна поверхня рідини.
Поверхні рівня мають такі властивості:
1) дві різні поверхні рівня не можуть перерізати одна одну;
2) зовнішні об’ємні сили напрямленні по нормалі до поверхні рівня.
Розглянемо найбільш поширений випадок рівноваги рідини, коли вона знаходиться тільки під дією сили тяжіння. Тоді проекції одиничних масових сил на координатні осі будуть такими: Х=0, Y=0, Z=-g (координатну вісь Oz вважаємо напрямленою вверх), і рівняння поверхні рівного тиску (2.7) набуває вигляду:
Звідкіля
 |
(2.8) |
Таким чином, при рівновазі рідини в полі сил тяжіння поверхні рівня являють собою сім’ю горизонтальних площин. Однією з поверхонь рівного тиску буде і вільна поверхня рідини.
Визначимо тиск в довільній точці А об’єму рідини, що міститься в закритій посудині (рис.2.4) і знаходиться у стані спокою.
При X=0, Y=0, Z=-g основне диференціальне рівняння гідростатики (2.6) запишеться так:

Рис.2.4
Після інтегрування в припущенні r=const отримаємо:
, |
(2.9) |
де С-стала інтегрування.
Сталу інтегрування визначимо з граничних умов на вільній поверхні рідині в посудині, де z=z0
, p=p0
. Маємо:

і тоді
,
|
(2.10)
|
де h=z-z0
– заглиблення точки А під вільну поверхню.
Це і є основне рівняння гідростатики, яке виражає залежність тиску в даній точці рідини в стані спокою від виду рідини і відстані точці від вільної поверхні.
В рівнянні (2.10) р - абсолютний тиск в даній точці рідини, р0
- зовнішній абсолютний тиск на вільній поверхні рідини; - тиск стовпа рідини в даній точці. Всі складові рівняння мають розмірність тиску (ПА, кПА, МПА).
Основному рівнянню гідростатики можна надати іншого вигляду, якщо поділити всі його члени на ρg:
 |
(2.11) |
В цьому рівнянні складові мають лінійну розмірність (М).
Зв’язок між тиском, виражений в одиницях тиску (ПА), і тиском в лінійних одиницях (метрах стовпа рідини) дає загальна формула
 |
(2.12) |
У відкритих резервуарах, водоймищах тощо зовнішнім тиском на вільну поверхню рідини є атмосферний тиск (рат
,, рбар
). В таких випадках рівняння (2.10) записують у формі
 |
(2.13) |
В техніці часто зустрічаються випадки, коли абсолютний тиск в даній точці рідини . Тоді величину називають надлишковим тиском:
Якщо , то надлишковий тиск називають манометричним тиском:
 |
(2.14) |
якщо то надлишковий тиск буде від’ємним і величину - називають вакууметричним тиском або вакуумом:
 |
(2.15) |

Рис.2.5
Зв’язок між абсолютним, манометричним і вакуумометричним тиском графічно проілюстрований на рис.2.5.
Гідростатичний закон розподілу тиску, виражений формулою (2.11), cправедливий для будь-якого положення координатної площини хОу. Цю площину називають площиною порівняння. Величина , где z – геометрична висота розташування точки над площиною порівняння, р – абсолютний тиск, називається гідростатичним напором і позначається через ; величину , в якій р – надлишковий тиск, називають п’єзомеричним напором і позначають через . Як виходить з формули (2.11) напори і є сталими для всіх точок даної маси рідини, що знаходиться в стані спокою.
2.4 Закон Паскаля
З основного рівняння гідростатики можна бачити, що при зміні зовнішнього тиску ро
на величину , тиск у всіх точках даного об’єму рідини змінюється на теж саме значення . Таким чином, рідина має властивість передавати тиск. В цьому і полягає закон Паскаля: тиск, який виникає на граничній поверхні рідини, що знаходиться в стані спокою, передається всім частинкам цієї рідини по всім напрямам без зміни його величини.
На законі Паскаля ґрунтується принцип дії різноманітних гідравлічних пристроїв, за допомогою яких тиск передається на відстань /гідравлічний прес, гідравлічний домкрат, гідромультиплікатор та інші./
2.5 Сила тиску рідини на плоску стінку. Центр тиску
Визначимо силу тиску рідини на площину ω плоскої стінки, яка розташована під довільним кутом до горизонту. Розв’язання задачі зручно проводити в системі координат хОу, вісь Оу якої напрямлена вздовж стінки, а вісь Ох співпадає з лінією перетину стінки і вільної поверхні рідини. Для зручності вісь Ох повернута на кут 900
, (рис.2.6).
Очевидно що між будь – якою координатою у і глибиною занурення h існує зв’язок: 
Сила тиску dР на довільну елементарну площину dω

де ро
– тиск на вільній поверхні рідини густиною ρ.
Повна сила тиску на площину w стінки:

*
)
Рис. 2.6
Для зручності вісь Ох повернута на кут 90о
Інтеграл є статичним моментом площини W відносно осі Ох, величина якого дорівнює добутку ω на відстань її центра ваги до осі Ох тобто

Тоді
 |
(2.16) |
де hс
– глибина занурення центра ваги стінки площиною ω. Сила тиску самої рідини без урахування зовнішнього тиску p.
 |
(2.17) |
У випадку, коли плоска стінка горизонтальна і розміщена на глибині h ,то hc
=h і
 |
(2.18) |
Якщо плоска стінка вертикальна α=90о
і hc
=yc
.
Досить часто в інженерних розрахунках важливо не тільки визначити величину сили тиску рідини, але й знайти точку прикладення її рівнодіючої – так званий центр тиску.
Для цього користуться теоремою Варіньйона: момент рівнодіючої сили дорівнює алгебраїчній сумі моментів сладових її. Відповідно до рис.2,6 можна записати

де уd
– координата центра тиску , Р=Рнад
– сила тиску рідини.
Тоді
 |
(2.19) |
Тут – момент інерції змоченої площини ω відносно осі Ох ; ус
ω – статичний момент цієї площини.
На підставі теореми про моменти інерції відносно паралельних осей /теорема Гюйгенса/

де Ic
– момент інерції плоскої фігури відносно осі, що проходить через її центр ваги паралельно осі Ох, тому залежності (2.19) можна надати вигляду
. |
(2.20) |
Визначення сили сумарного тиску рідини на поверхні довільної форми в загальному випадку зводиться до визначення трьох складових цієї сили і трьох моментів /в системі координат Оху/
В техніці переважно мають справу з циліндричними або сферичними поверхнями, які мають вертикальну площину симетрії.
Розглянемо посудину з боковою стінкою циліндричної форми, котра заповнена рідиною, на вільну поверхню якої діє тиск р0
і визначимо силу тиску на ділянку АВ цієї стінки в двох випадках:
1) рідина знаходиться над стінкою (рис.2.7а);
2) рідина знаходиться під стінкою. (рис.2.7б).

a), б)
Рис.2.7
В першому випадку виділимо об’єм АВСD рідини, обмежений ділянкою АВ стінки, вертикальними поверхнями АD і ВС, що проведені через границі цієї ділянки, і вільною поверхнею рідини. Сумарну силу тиску Р на ділянку АВ розкладемо на дві складові: вертикальну РВ
і горизонтальну РГ.
З умови рівноваги об’єму АВСD у вертикальному напрямі знаходимо що
, |
(2.21) |
Де G- вага виділеного об’єму рідини; ωГ
– площа проекції поверхні АВ на горизонталь.
В свою чергу сила ваги . Об’єм рідини, що міститься в геометричній фігурі АВСD часто називають “тілом тиску” і позначають через Vтт
. З урахуванням цього рівняння (2.21) запишеться у формі
. |
(2.22) |
При визначенні горизонтальної складової сили тиску на поверхню АВ потрібно урахувати, що сили тиску на поверхні ВС і DЕ взаємно зрівноважуються. Тоді
. |
(2.23) |
В останньому рівнянні hc
– заглиблення центра ваги (мас) вертикальної проекції поверхні АВ – ωв
Очевидно, що повна сила тиску на циліндричну поверхню
. |
(2.23) |
Коли рідина розташована під стінкою рис.2.7б складові Рв
і Рг
також визначаються формулами 2.21 або 2.22 і 2.23 , але мають протилежний напрям. При цьому під силою ваги G розуміють вагу рідини в об’ємі АВСD, хоча останній не заповнений рідиною; тіло тиску VТТ
є фіктивним.
Слід відмітити, що в тих випадках, коли циліндрична поверхня є коловою, лінія дії рівнодіючої сил тиску напрямлена по радіусу.
3.1 Основні поняття і визначення
Кінематика і динаміка рідини /гідродинаміка/ суттєво відрізняється від кінематики і динаміки твердого тіла. Якщо окремі частини абсолютно твердого тіла жорстко з’єднані між собою, то в рухомій рідині такі зв’язки відсутні: рідке середовище складається з безлічі частинок, які рухаються одна відносно другої. Тому в основу вивчення законів гідродинаміки покладена так звана струминкова модель, що базується на наступних поняттях.
Траєкторія – лінія, вздовж якої рухається деяка частинка рідини.

Рис.3.1
Лінія течії –це крива, що проходить через такі частинки, швидкості яких в даний час напрямлені по дотичним до цієї лінії (рис 3.1).

Рис.3.2
Трубкою течії називають трубчасту поверхню, яка утворена лініями течії, що проходять через всі точки нескінченно малого замкнутого контуру. (рис.3.2).
Частина рідини, що рухається всередині трубки течії, називається елементарною струминкою.
Властивості елементарної струминки при усталеному русі рідини.
1. Так як лінії течії при усталеному русі не змінюють своєї форми з часом, то, і струминка буде незмінною в часі.
2. Оскільки бокова поверхня струминки утворена лініями течії, то проникання рідини через цю поверхню неможливо.
3. Внаслідок малості площини поперечного перерізу елементарної струминки швидкість u і тиск р для всіх точок даного перерізу можна вважати однаковими.
Потоком рідини називають сукупність елементарних струминок.
Русло потоку – поверхня, яка обмежує потік по всій його довжині.
Потоки, що мають вільну поверхню, називають безнапірними потоки, які обмежені з усіх боків твердими стінками, називають напірними.
Живим перерізом (або перерізом) потоку називається в загальному випадку поверхня в межах потоку, перпендикулярна до всіх елементарних струминок.
Довжина лінії , по якій рідина в живому перерізі стикається з твердими стінками русла, називається змоченим периметром і позначається χ.
Відношення площі живого перерізу ω до довжини змоченого периметра називають гідравлічним радіусом RГ
(рис.3.3):
 |
(3.1) |
Витратою називають кількість рідини, що протікає через даний живий переріз за одиницю часу. Цю кількість вимірюють в одиницях об’єму – ; чи в одиницях маси – масова витрата . Зв’язок між ними дає співвідношення
 |
(3.2) |
Для елементарної струминки з рівномірним розподілом швидкостей u по живому перерізу об’ємна витрата
 |
(3.3) |
Рис.3.3
Об’ємна витрата потоку дорівнює сумі об’ємних витрат елементарних струминок, з яких складається потік,
 |
(3.4) |
В інженерних розрахунках користуються поняттям середньої швидкості по живому перерізу υ:
 |
(3.5) |
Під середньою швидкістю розуміється уявна, однакова для всіх точок живого перерізу потоку швидкість, при якій через цей переріз проходить таж витрата, що і при дійсних швидкостях в різних точках даного перерізу.
Тоді для потоку
 |
(3.6) |
Умова руху рідини без утворення розривів (порожнин) характеризується рівнянням нерозривності (суцільності), яке виражає закон збереження маси.
Для елементарної струминки на основі її властивостей кількість рідини, що проходить в одиницю часу по всій довжині струминки, однакова. Тобто, для двох довільних перерізів 1і 2 струминки (рис 3.2).
, |
або
 |
(3.7) |
Рівняння (3.7) називають рівнянням нерозривності для елементарної струминки.
Для потоку рідини при відсутності відводів чи припливів рівняння нерозривності є умовою сталості витрати:
, |
чи
. |
(3.8) |
Останнє рівняння можна записати у вигляді
, |
(3.9) |
звідкіля виходить, що середні швидкості руху рідини в перерізах обернено пропорційні площам цих перерізів.
Розглянемо усталений рух ідеальної рідини, яка знаходиться під впливом тільки масової сили – сили ваги, - і отримаємо для цього випадку рівняння, що зв’язує між собою тиск в рідині і швидкість її руху.

Рис.3.4
Візьмемо одну з елементарних струминок потоку ідеальної рідини і виділимо на ній ділянку довільної довжини, обмежену перерізами 1–1 і 2–2 (рис.3.4). Позначимо через dω1
, p1
, u1
, z1
і dω2
, p2
, u2
, z2
відповідно площі живих перерізів, гідродинамічні тиски, швидкості рідини і висоти центрів ваги даних перерізів над площиною порівняння 0–0.
За нескінченно малий проміжок часу dt відсік 1–2 переміститься в положення .
Застосуємо до виділеного відсіку теорему механіки про зміну кінетичної енергії, згідно з якою приріст кінетичної енергії відсіку за певний проміжок часу дорівнює сумі робіт всіх сил, що діють на відсік за цей же проміжок часу. Оскільки рідина ідеальна, то роботу будуть виконувати сили тиску і сили тяжіння.
Робота сил тиску буде дорівнювати:
. |
Робота сил ваги:
. |
Приріст кінетичної енергії відсіку 1–2 за час dt дорівнює різниці кінетичних енергій ділянок струминки (ділянка 1-2’ не змінює свого положення):
, |
(при перетвореннях враховано, що ; )/
Тоді теорема про зміну кінетичної енергії відсіку струминки буде мати вигляд:
. |
(3.10) |
Поділимо попереднє рівняння на dQdt і після перегрупування складових його отримаємо
. |
(3.11) |
Якщо поділити рівняння (3.13) на комплекс , то після перегрупування складових будемо мати
. |
(3.12) |
Останні два рівняння і є рівнянням Бернуллі для елементарної струминки ідеальної рідини в двох різних формах. Так, всі складові в рівнянні (3.11) мають розмірність тиску, а складові рівняння (3.12) – лінійну розмірність.
З’ясуємо геометричну і фізичну суть рівняння Бернуллі/
Геометрична інтерпретація рівняння:
z – геометрична висота, або геометричний напір;
– п’єзометрична висота, або п’єзометричний напір;
– швидкісна висота, або швидкісний напір.
Тричлен називають повним, або гідродинамічним напором. Оскільки рівняння Бернуллі записане для довільних перерізів струминки, то H0
=const в будь-якому перерізі цієї струминки (рис.3.5).

Рис.3.5
З енергетичної точки зору рівняння Бернуллі є законом збереження питомої енергії ідеальної рідини. Дійсно, якщо рівняння (3.11) записати у вигляді
, |
то – питома енергія положення, Дж/кг;
– питома енергія тиску, Дж/кг;
– питома потенціальна енергія рідини, Дж/кг;
– кінетична енергія віднесена до одиниці маси, Дж/кг.
Можна теоретично довести, що для потоку ідеальної рідини з повільно-змінним рухом сума z+p/ρg для всіх точок живого перерізу є постійною. Крім того, в даному живому перерізі потоку ідеальної рідини швидкості всіх елементарних струминок однакові. Тому рівняння Бернуллі для потоку ідеальної рідини має такий же вигляд як і для елементарної струминки, тобто дається формулами (3.11) і (3.12).
3.4 Рівняння Бернуллі для елементарної струминки і потоку в’язкої рідини
На відміну від ідеальної рідини при русі в’язкої(реальної) рідини частина енергії, яку вона має, витрачається на подолання сил опору (внутр. тертя, вихроутвор. та ін.). Отже питома енергія в будь-якому наступному в напрямі течії поперечному перерізі буде меншою порівняно з питомою енергією в попередньому перерізі. Тому рівняння Бернуллі для елементарної струминки реальної рідини буде мати вигляд
. |
(3.13) |
де – втрати енергії (напору) струминки між обраними перерізами.
Рівняння Бернуллі для потоку реальної рідини отримують інтегруванням рівняння (3.13) з заміною дійсних швидкостей окремих струминок, що утворюють потік, на середню швидкість υ рідини в даному перерізі (рис.3.6):
. |
(3.14) |

Коефіцієнт α, що входить до рівняння Бернуллі, називають коефіцієнтом кінематичної енергії або коефіцієнтом Коріоліса. Він враховує нерівномірність розподілу швидкостей в перерізі потоку і фактично є відношенням дійсної кінетичної енергії потоку в даному живому перерізі до кінетичної енергії, обчисленої за середньою швидкістю потоку. Величина коефіцієнта α в залежності від характеру течії рідини змінюється в межах від 1,04…1,12 до 2. Складова рівняння – це сумарні втрати питомої енергії (напору) потоку між обраними перерізами.
Запишемо рівняння Бернуллі (3.14) в такій формі:
, |
(3.14’) |
де і – повні гідродинамічні напори потоку в перерізах 1–1 та 2–2 відповідно.
Відношення втрат напору до довжини ділянки потоку, обмеженої перерізами 1–1 і 2–2, називають гідравлічним уклоном, або градієнтом втрат напору:
, |
(3.15) |
тут l – довжина ділянки, м.
3.5 Гідравлічні опори і втрати енергії (напору) при русі рідини
Втрати питомої енергії при русі в’язкої рідини, або, як часто їх називають, гідравлічні втрати, обумовлені різними гідравлічними опорами, механізми яких настільки складні, що не дають змоги отримати теоретичні залежності для розрахунків втрат напору. Експериментально доведено, що гідравлічні втрати в значній мірі залежать від швидкості руху рідини, тому в гідравліці їх виражають в частках швидкісного напору за формулою:
 |
(3.16) |
в якій ξ - безрозмірний коефіцієнт пропорційності (коефіцієнт гідравлічних опорів); він показує частку швидкісного напору, яку складає втрачений напір.
Розрізняють два види гідравлічних опорів: місцеві і лінійні опори. Місцеві опори проявляються на коротких ділянках потоку при зміні напряму течії рідини, зміні форми чи величини поперечного перерізу потоку. Напір, що втрачається на долання місцевих опорів, визначають за формулою Вейсбаха:
 |
(3.17) |
де ξМ
– коефіцієнт місцевого опору, який залежить від виду опору і наводиться в довідниках.
Лінійні опори обумовлені силами внутрішнього тертя і виникають по всій довжині потоку рідини, тому вони пропорційні довжині потоку. Втрати напору по довжині (лінійні втрати) визначають за формулою:
, |
(3.18) |
де λ – коефіцієнт гідравлічного тертя (коефіцієнт Дарсі); l – довжина ділянки потоку, на якій підраховують втрати енергії; RГ
– гідравлічний радіус живого перерізу потоку.
Для круглих циліндричних труб діаметр труби d = 4RГ
, отже лінійні втрати:
. |
(3.19) |
Сумарні втрати енергії (напору) між двома живими перерізами потоку, що входять до рівняння Бернуллі будуть дорівнювати:
, |
(3.20) |
де - сума втрат напору по довжині на всіх ділянках русла в межах обраних перерізів; – сума всіх місцевих втрат.
3.6 Режими руху рідини. Критерій Рейнольдса
Експериментальні дослідження показали, що втрати енергії при русі в’язкої рідини суттєво залежать від режиму руху рідини. На наявність різних за структурою потоків режимів течії звернули увагу ще в першій половині ХІХ сторіччя (Хаген, Дарсі та ін.). В 1880 р. Д.І.Менделеєв вказав на наявність двох різних видів руху рідини, які відрізняються один від одного характером залежності сил тертя від швидкості руху. А в 1883 р. англійський фізик Осборн Рейнольдс обґрунтував теоретично і наочно показав існування двох принципово різних режимів течії рідини : ламінарного (від латинського lamina –шар) і турбулентного (від лат. turbulentus - безладний ).
Ламінарний режим характеризується шаруватою течією рідини без перемішування окремих її шарів і без пульсацій швидкості і тиску. Ламінарний режим може установлюватися в капілярних трубках при малих швидкостях руху води, а також при русі рідин з великою в’язкістю (нафта, масла, гліцерин тощо).
При турбулентному режимі течія рідини супроводжується інтенсивним перемішуванням окремих її частинок і пульсаціями швидкостей і тиску. Цей режим характерний при русі води в системах водопостачання і інших рідин при відносно великих швидкостях руху.
Рейнольдс встановив, що критерієм режиму руху рідини є безрозмірна величина, яка являє собою відношення добутку швидкості потоку на характерний лінійний розмір до коефіцієнта кінематичної в’язкості рідини. Цю величину пізніше було названо числом (критерієм) Рейнольдса і позначено через Re. Для потоків рідини в трубах круглого поперечного перерізу число Рейнольдса підраховують за формулою:
, |
(3.21) |
де d – геометричний діаметр труби.
Значення числа Рейнольдса, яке відповідає переходу від ламінарного режиму течії в турбулентний і навпаки, називають критичним. Для труб круглого перерізу:
, |
(3.22) |
тут υкр
– середня критична швидкість руху рідини.
Таким чином, якщо
, |
то режим руху ламінарний; при – турбулентний.
Для каналів з довільною формою поперечного перерізу критерій Рейнольдса визначають за формулою:
 |
(3.23) |
в якій – гідравлічний радіус каналу.
Математично можна довести, що епюра швидкостей в поперечному перерізі труби при ламінарній течії рідини є квадратичною параболою, рівняння якої згідно з рис.3.7 має вигляд:
. |
(3.24) |
В цьому рівнянні: р=p1
–p2
– втрати тиску між двома даними перерізами труби; l – відстань між двома перерізами; r – радіус труби; у – відстань від осі потоку (труби), змінюється від 0 до r ; – динамічний коефіцієнт в’язкості.

Рис.3.7
Очевидно, що максимальна швидкість потоку буде при у=0, тобто на осі труби; величина її визначається формулою:
. |
(3.25) |
де d – діаметр труби.
Середня швидкість рідини виявляється вдвічі меншою за максимальну:
. |
(3.26) |
Втрати напору (енергії) на тертя знаходяться за формулою Пуайзеля, яка виходить зі співвідношення (3.26):
. |
(3.27) |
В останньому рівнянні – об’ємна витрата рідини; ν – кінематичний коефіцієнт в’язкості; ρ – густина рідини.
Якщо гідравлічні втрати виразити не в одиницях тиску, а в лінійній розмірності, то отримаємо такі залежності:
, |
(3.28) |
або
. |
(3.29) |
Закон Пуайзеля можна привести до вигляду формули Дарсі-Вейсбаха (3.18). Для цього помножимо і поділимо праву частину рівняння (3.27) на середню швидкість υ. Після деяких перетворень кінцево отримаємо:
Прирівняємо втрати напору по довжині, визначенні за формулами (3.19) і (3.29):
. |
Звідсіля гідравлічний коефіцієнт тертя при ламінарному режимі
 |
(3.30) |
В загальному випадку ламінарної течії:
. |
(3.31) |
Місцеві опори в трубопроводах при ламінарному режимі течії рідини значно менші порівняно з опором сил гідравлічного тертя; до того ж закономірності їх зміни мало досліджені. Тому місцеві опори враховують як частку лінійних втрат через еквівалентну довжину трубопроводу.
3.8.1 Деякі відомості про структуру турбулентного потоку
Механізм турбулентного потоку значно складніший порівняно з ламінарною течією рідини. При турбулентному режимі частинки рідини безладно перемішуються між собою, а швидкості в будь-якій точці потоку безперервно змінюються за величиною та напрямом.
Для спрощення гідравлічних розрахунків турбулентного потоку вводять поняття осередненої місцевої швидкості, яка, незважаючи на значні коливання миттєвих швидкостей, залишається практично незмінною і паралельною осі потоку. Така заміна робить можливим використання рівняння Бернуллі і для турбулентного потоку рідини.

Рис.3.8
Експериментальні дослідження показують (Прандтль, Нікурадзе), що турбулентний потік в трубах поділяється на дві, різко відмінні частини. Безпосередньо у стінки труби утворюється дуже тонкий шар рідини з ламінарним режимом руху: так званий ламінарний підшарок. Інша, основна частина потоку – турбулентне ядро, в якому відбуваються інтенсивні пульсації швидкості і перемішування частинок (рис.3.8).
Поверхні стінок труб, каналів не бувають абсолютно гладкими, а мають ту чи іншу шорсткість. Висоту виступів шорсткості позначають літерою і називають абсолютною шорсткістю; відношення до радіуса або діаметра труби, тобто , , називають відносною шорсткістю.
З метою спрощення розрахунків користуються поняттям еквівалентної шорсткості , при якій втрати енергії (напору) рідини виходять такими самими, як і при фактичній нерівномірній шорсткості.
В залежності від співвідношення товщини ламінарного підшарка і абсолютної шорсткості розрізняють труби гідравлічно гладкі ( ) і гідравлічно шорсткі ( ). При говорять про перехід від гідравлічно гладких до гідравлічно шорстких стінок.
Для того, щоб можна було розрахувати за формулою Дарсі-Вейсбаха (3.19) втрати напору (енергії) по довжині потоку, необхідно знати коефіцієнт гідравлічного тертя , який при турбулентному режимі руху в загальному випадку залежить від числа Рейнольдса, відносної шорсткості і характеру самої шорсткості.
На основі аналіза результатів великої кількості експериментальних досліджень (І. Нікурадзе, Кольбрук, Ф. Шевелєв та інші) було виявлено, що в залежності від величини числа Рейнольдса всю зону турбулентного режиму руху можна поділити на три області.
1. Область гідравлічно гладких труб, де Reкp
<Reгл
<20 В цій зоні і визначається за формулою Блазіуса:
 |
(3.32) |
2. Перехідна область, або область доквадратичного опору, границі якої визначаються нерівністю 20 <Reпер
<500 . В цій зоні Коефіцієнт гідравлічного тертя підраховують за формулою А. Д. Альтшуля:
. |
(3.33) |
3. Область квадратичного опору (автомодельна область), в якій Reкв
>500 , а Для визначення найчастіше користуються формулою Б.Л.Шіфрінсона:
. |
(3.34) |
При рівномірному русі рідини в області квадратичного опору може бути рекомендована також формула:
, |
(3.35) |
в якій С – коефіцієнт Шезі.
Коефіцієнт Шезі, в свою чергу, можна підрахувати за формулою Агроскіна:
, |
(3.36) |
де п – коефіцієнт шорсткості русла (довідкова величина); RГ
– гідравлічний радіус русла.
Місцеві втрати енергії (напору) в трубах і каналах виникають там, де є перешкоди на шляху потоку (вентилі, засувки, клапани, трійники, коліна і т.д.). Конструктивна різноманітність місцевих опорів не дає можливості отримати загальну залежність для визначення втрат напору для них. Тому місцеві втрати прийнято визначати в частках швидкісного напору , причому швидкість υ, як правило, береться за місцевим опором. Ю.Вейсбахом (1840р.) була запропонована формула /3.1/, згідно з якою місцеві втрати напору:
Коефіцієнт місцевого опору залежить від виду опору, визначається експериментально і наводиться в довідниках для квадратичної області турбулентного режиму течії рідини.
Тільки в кількох випадках може бути розрахований теоретично.
Розглянемо два випадки:
1. Раптове розширення русла (рис.3.9а).
а) б)
Рис.3.9
На основі теореми імпульсів і рівняння Бернулі можна дістати, що втрати напору при раптовому розширенні русла:
 |
(3.37) |
де коефіцієнт втрат при раптовому розширенні
 |
(3.38) |
Якщо ω2
>>ω1
(вхід труби в резервуар великих розмірів), то

Раптове звуження русла (рис.3.9 б).
Втрати напору підраховують за формулою:
 |
(3.39) |
В якій коефіцієнт місцевого опору:
Якщо ω1
>>ω2
,(вихід труби з резервуара), то

В інженерній практиці досить часто доводиться розв’язувати питання витікання рідини через отвори різних форм та розмірів. Такий випадок руху рідини характерний тим, що в процесі витікання запас потенціальної енергії, який має рідина в резервуарі, перетворюється з більшими чи меншими втратами в кінетичну енергію струмини.
Отвір вважається малим, якщо його вертикальний розмір (діаметр d, або висота а для прямокутного отвору) порівняно малий з напором Н (d<0,1H; a<0,1H).
Під терміном “тонка” стінка розуміють таку товщину стінки , при якій вона не впливає на характер витікання ( ).
Струмина, що точиться з отвору (рис.4.1), внаслідок дії відцентрових сил стискується по всьому периметру. Це спричиняє утворення стисненого перерізу струмини С – С з найменшою площиною, де рух рідини можна вважати паралельноструминним.

Рис. 4.1
Відношення площі ωc
стисненого перерізу до геометричної площі отвору ω називають коефіцієнтом стиснення:
. |
(4.1) |
Дослідом встановлено, що для малих отворів з гострими кромками (ребрами) ε=0,60...0,64.
Для одержання розрахункових залежностей по визначенню швидкості витікання і витрати рідини через отвір запишемо рівняння Бернуллі для перерізів 1 – 1 і С – С відносно площини порівняння 0 – 0:
Введемо поняття розрахункового напору, тобто того сумарного напору, під дією якого відбувається витікання рідини; позначимо його НР
.
Тоді:
 |
(4.2) |
і швидкість витікання:
 |
(4.3) |
де
 |
(4.4) |
називають коефіцієнтом швидкості.
Витрати рідини через отвір але 
Тому:
 |
(4.5) |
Тут
– коефіцієнт витрати отвору. |
(4.6) |
При витіканні рідини в рідке середовище, наприклад в сполучених посудинах (витікання під рівень або через затоплений отвір),як це показано на рис. 4.2, швидкість υ і витрату рідини Q визначають за формулами /4.3/ і /4.5/, але в цьому випадку розрахунковий напір НР
буде таким:
 |
(4.7) |
Значення коефіцієнтів витікання (ε, φ, μ) для затоплених отворів приймають такими ж самими, як і у випадку витікання в газове середовище.

Рис. 4.2
Насадком називається коротка труба довжиною l=(2…5)d, втратами напору якої по довжині нехтують.
Основні типи насадків: циліндричні (зовнішні і внутрішні); конічні (збіжні і розбіжні); коноїдні та ін. Для всіх насадків формули швидкості і витрати при витіканні в атмосферу, як і для випадку витікання через малий отвір, мають вигляд:
Значення коефіцієнтів витікання для різних насадків, розрахованих по їх вихідному перерізі при безвідривному режимі течії даються в довідниках з гідравліки.
Гідравлічним ударом називають різку зміну тиску в напірному трубопроводі при раптовій зміні швидкості руху рідини. Останнє може бути спричинено швидким закриттям чи відкриттям засувки, крана, клапана, швидкою зупинкою чи пуском гідродвигуна або насоса. В усіх цих випадках при зменшенні або збільшенні швидкості руху рідини тиск перед запірним пристроєм відповідно різко зростає (позитивний гідравлічний удар) чи падає (від’ємний гідравлічний удар). Причому підвищення тиску може бути настільки великим, що здатне призвести до розриву трубопроводу.
Власне і вивчення природи гідравлічного удару почалося в зв’язку з частими аваріями на нових лініях московського водопроводу, збудованих на кінці ХІХ ст. Причини аварій досліджував видатний російський вчений М.Є.Жуковський (1898), який і розробив теорію гідравлічного удару (1899).
За М.Є.Жуковським при миттєвому закритті засувки (крана) в трубопроводі швидкість руху води перед нею зменшується до нуля і кінетична енергія потоку переходить в потенціальну енергію тиску, яка в свою чергу викликає деформацію стінки трубки і самої рідини. Це підвищення тиску, так звана ударна хвиля, розповсюджується від засувки по всій довжині трубопроводу зі швидкістю c, яку називають швидкістю розповсюдження ударної хвилі (рис.5.1).

Рис.5.1
В припущенні, що кінетична енергія рідини повністю переходить в роботу деформації труби і рідини, а засувка закривається миттєво, М.Є.Жуковський отримав формулу для визначення величини підвищення тиску при гідравлічному ударі, яка має вигляд:
, |
(5.1) |
де швидкість ударної хвилі:
. |
(5.2) |
В цих формулах ρ – густина рідини; υ0
–швидкість при усталеному русі рідини в трубопроводі; Ер,
Ест
– модулі пружності рідини і матеріалу труби відповідно; d – внутрішній діаметр труби; δ – товщина стінки трубопровода.
Величина - це швидкість розповсюдження пружних деформацій, тобто швидкість звуку в середовищі густиною ρ і модулем пружності Ер
. Для води с=1425 м/с, для масел – 1200...1400 м/с.
Формулу М.Є.Жуковського /5.1/ використовують для розрахунків підвищення тиску при так званому прямому гідравлічному ударі, тривалість фази якого (тобто часу, протягом якого ударна хвиля, що виникла біля засувкиі, досягне резервуара, відобразиться від нього і знову підійде до засувки)
, (тут l – довжина трубопроводу.) |
(5.3) |
більше часу закриття засувки tз
.
При tф
<tз
виникає непрямий гідравлічний удар. В цьому випадку підвищення тиску визначають за формулою:
. |
(5.4) |
Гідравлічний удар може бути неповним, якщо початкова швидкість υ0
руху рідини змінюється до деякого значення υ, що має місце, наприклад, при частковому перекритті запірного пристрою. Тоді:
. |
(5.5) |
Доцільно відзначити, що при прямому гідравлічному ударі між швидкістю руху рідини і підвищенням тиску існує таке наближене співвідношення:
 |
(5.6) |
де υ0
– в м/с
6.1 Класифікація трубопроводів
Всі трубопроводи поділяють на прості і складні. До простих відносять трубопроводи сталого чи змінного поперечного перерізу без бакових відгалужень, до складних – трубопроводи з відгалуженнями, складеними з послідовно і паралельно з’єднаних простих трубопроводів.
При гідравлічних розрахунках розрізняють трубопроводи короткі і довгі. Короткими визнаються трубопроводи, при розрахунку яких необхідно враховувати як місцеві втрати, так і втрати напору по довжині. До коротких трубопроводів звичайно відносять масло - і паливопроводи ДВЗ, системи рідинного охолодження, внутрішньобудинкову теплофікаційну мережу і т. д.
Довгими називаються трубопроводи, при розрахунку яких нехтують місцевими втратами напору, або враховують їх як частину (5...10%) поздовжніх втрат напору. До них відносять магістральні трубопроводи, водопровідну мережу тощо.
6.2.1 Розрахункові рівняння
Для простого трубопроводу сталого перерізу довжиною l, (рис.6.1) що має ряд місцевих опорів (наприклад, вентиль1, фільтр 2, зворотній клапан 3 і т.д. ), основним розрахунковим рівнянням є рівняння Бернуллі для початкового І і кінцевого ІІ-го перерізів трубопроводу. При α1
=α2
і υ1
=υ2
воно має вигляд:
. |
(6.1) |

Рис. 6.1
Сумарну втрату напору в загальному випадку виражають формулою:
 |
(6.2) |
де А – опір трубопроводу, т – показник, величина якого для ламінарного режиму течії дорівнює 1, для турбулентного режиму – 2.
При ламінарній течії, якщо нехтувати місцевими втратами, з формули Пуайзеля /3.26/ знаходимо:
 |
(6.3) |
При турбулентній течії в автомодельній області, де т = 2, на підставі формули Дарсі-Вейсбаха маємо:
. |
(6.4) |
Для довгих трубопроводів в області квадратичного спору
. |
(6.5) |
Якщо простий трубопровід складається з „п” послідовно з’єднаних ділянок різних діаметрівто рівняння Бернуллі для початкового і кінцевого перерізів набуває форми
, |
(6.6) |
де сумарні витрати .
Оскільки трубопровід простий, то і тоді
. |
Характеристикою трубопроводу називають графічну залежність сумарних втрат напору в трубопроводі від витрати рідини, тобто залежність 

Рис.6.2
При ламінарному режимі течії і є характеристика трубопроводу лінійна /рис.6.2 а/; при турбулентному режимі і її будують як параболу другого ступеня/рис.6.2 б/.
Замість характеристики трубопроводу в певних випадках доцільно будувати криву потрібного напору. Потрібним напором Hпотр
для простого трубопроводу називається п’єзометричний напір в початковому перерізі, який забезпечує задану витрату рідини в трубопроводі. Якщо цей напір відомий, то його називають заданим напором.
З рівняння /6.1/ для трубопроводу сталого перерізу визначаємо
. |
(6.7) |
В цій формулі статистичний напір .
Для трубопроводу змінного перерізу з (6.6) при α1
=α2
=…1будемо мати
, |
(6.8) |
або
, |
(6.9) |
де
При турбулентному режимі коли m=2, другий і третій члени правої частини рівняння (6.9) об’єднують, а при ламінарному режимі другим членом як правило нехтують.
Крива потрібного напору – це характеристика трубопроводу, зміщена вздовж осі ординат на величину Hcm
(рис.6.3а – при ламінарній течії, рис. 6.3б – при турбулентній).
З наведених вище формул виходить, що потрібний напір – це той напір, який необхідно створити на початку трубопроводу для долання геометричної висоти , тиску в кінцевому перерізі і всіх гідравлічних опорів в трубопроводі.
а)б)
Рис.6.3
6.3.1 Послідовне з’єднання
Декілька послідовно з’єднаних трубопроводів, що мають різні довжини і діаметри можна розглядати як простий трубопровід змінного перерізу (рис.6.4) . На основі рівняння нерозривності витрата рідини на кожній з ділянок буде однаковою, а загальні витрати напору визначаються сумою втрат напору на окремих ділянках, тобто
. |
(6.10) |

Рис.6.4
Якщо побудовані характеристики кожного з послідовно з’єднаних трубопроводів , то сумарну характеристику всього з’єднання можна стримати шляхом додаванням ординат /втрат напору/ окремих характеристик при однакових абсцисах /витратах/.
Таке з’єднання трьох простих трубопроводів між вузловими точками M і N показано на рис. 6.5. Очевидно, що витрата в основній магістралі (тобто до точки М і після точки N)
. |
(6.11) |

Рис.6.5
Втрати напору в будь-якому з простих трубопроводів будуть дорівнювати різниці повних напорів вузлових точок M і N
. |
(6.12) |
З урахуванням формули (6.2) для турбулентного режиму течії будемо мати
 |
(6.13) |
і загальні втрати напору для даного трубопроводу
. |
(6.14) |

Рис. 6.6
Розглянемо методику розрахунку розгалуженого трубопроводу , який складається з трьох віток : 1, 2, 3 (рис.6.6).
При умові, що рідина від точки розгалуження М подається до трьох віток отримаємо:
. |
(6.15) |
Рівняння Бернуллі, складені для переріза в точці М і кінцевих перерізів відгалужень без урахування швидкісних напорів, мають вигляд:
Таким чином, для розв’язання задачі маємо чотири рівняння.
Основною задачею розрахунку розгалуженого трубопроводу є така:
відомі витрата в точці М, всі розміри віток, геометричні висоти Z , тиски в кінцевих перерізах і всі місцеві опори; потрібно визначити Q1,
,Q2
,Q3
, а також потрібний напір в точці розгалуження М – . Можливі і інші варіанти постановки задачі, які розв’язуються на основі наведеної системи рівнянь.
7 Водопостачання
Вода – це необхідний компонент, без якого неможливі існування і розвиток органічного світу: рослин, тварин і людей. Без достатньої її кількості і відповідної якості неможлива діяльність жодної галузі промисловості і сільського господарства. А ця кількість у зв’язку зі зростанням населення, розвитком промислового і сільськогосподарського виробництва неперервно і надзвичайно швидкими темпами збільшується.
За розрахунками вчених з загальної кількості водних ресурсів на Землі в 1386млн.км3
тільки 35млн.км3
(2,5%) припадає на долю прісних вод. На перший погляд це не так вже і мало але справа в тому, що основна частина прісної води знаходиться в такому стані, який робить її важкодоступною. для людини. Майже 70% прісних вод – льодовики, близько 30% знаходиться в водоносних шарах під землею і лише 0,006% її одночасно містять в собі русла всіх річок.
Обмежені ресурси прісних вод вже сьогодні є фактором, що стримує економічний розвиток людства, тому тільки раціональне використовування запасів води і дбайливе відношення до них як до природного багатства дасть можливість подальшого задоволення зростаючих потреб сучасного суспільства.
Природні джерела води поділяють на дві основні групи: поверхневі джерела – річки, озера, водоймища, канали і підземні джерела – різні типи підземних вод.
Характерними особливостями вод поверхневих джерел є їх значна мутність, високий вміст органічних речовин, бактерій, відносно малий солевміст і невелика жорсткість.
Підземні води не містять зовсім або містять дуже мало змулених речовин. Вони, як правило, безкольорові, але часто мають підвищену жорсткість, відрізняються значним вмістом солей заліза та інших елементів.
7.2 Системи водопостачання
Системою водопостачання називають комплекс споруд, які призначені для забезпечення споживачів водою в необхідній кількості, потрібної якості і під певним напором.
В залежності від споживача системи водопостачання виконують функції господарсько-питних, виробничих, протипожежних, поливальних водопроводів.
Забирання води з метою водопостачання можливо з поверхневих і підземних джерел. Для господарсько-питного водопостачання доцільно використовувати підземні води, які мають більш високі показники якості порівняно з поверхневими. Якщо потужність водоносних пластів підземних вод недостатня, або вони не придатні для водопостачання, то використовують поверхневі джерела. Вибір джерела є одним з важливих питань при проектуванні систем водопостачання різноманітних об’єктів. Від джерела в значній мірі залежить тип всієї системи, спосіб водопідготовки, наявність тих чи інших споруд і в кінцевому підсумку вартість її будівництва і експлуатації.
В загальному випадку до системи водопостачання входять такі споруди. (рис. 7.1.).

Рис.7.1. Загальний вигляд системи водопостачання з забиранням води з відкритого джерела (а) і з забиранням підземних вод (б):
1 – водозабірні споруди; 2 і 5 – споруди для підйому і перекачування води; 3 – споруди для очищення води; 4 – збірні резервуари; 6 – водоводи; 7 – водонапірна башта; 8 – водонапірна мережа
1. Водозабірні споруди 1. В залежності від характеру джерела водопостачання споруди для приймання води можуть бути різними. При відкритих джерелах (рис. 7.1а) забирання води здійснюється береговими і русловими водоприймачами різноманітних конструкцій . Забирання підземних вод (рис.7.1б) здійснюють шляхом улаштування колодязів, свердловин, підземних водозбиральних галерей, тощо.
2. Споруди для підйому і перекачування води – насосні станції. Взагалі, коли вода з джерела підлягає очищенню, вона перекачується на очисні споруди насосною станцією І-го підйому 2, а після очищення подається споживачам насосною станцією ІІ-го підйому 5.
3. Споруди для очищення води 3 – необхідні для доведення вихідної якості води до вимог, які висувають до неї споживачі.
4. Збірні резервуари (резервуари чистої води) 4 потрібні для вирівнювання нерівномірності режиму роботи насосних станцій І-го і ІІ-го підйомів і зберігання протипожежних і аварійних об’ємів води.
5. Споруди для транспортування води до місць її розподілу – водоводи 6. Вони являють собою лінії труб чи каналів, по яким вода подається до споживача (місто, селище, промислове підприємство).
6. Споруди для розподілу води по території об’єкта і роздачі її споживачам – водопровідна мережа 8.
7. Споруди для зберігання і акумулювання води – водонапірна башта 7, яка виконує ту ж роль, що і резервуар чистої води. При розташуванні башти за схемою рис. 7.1а систему називають системою водопостачання з баштою на початку мережі; при розташуванні за схемою рис. 7.1б – системою водопостачання з контррезервуара.
Розглянутий варіант загальної схеми водопостачання може бути значно спрощений, якщо якість води джерела відповідає вимогам споживачів. Тоді очисні споруди 3, а іноді і резервуари чистої води 4 і насосна станція ІІ-го підйому 5 можуть бути відсутніми. Можливі також випадки відмови від водонапірних башт.
Але обов’язковими елементами будь – якої системи водопостачання є водозабірні споруди, водоводи і водопровідна мережа.
7.3 Водозабірні споруди
Водозабірні споруди або водозабори призначені для забирання вод з джерела водопостачання.
В залежності від виду природного джерела, яке використовується для водопостачання, водозабірні споруди поділяють на дві групи: споруди для забирання поверхневих вод і споруди для забирання підземних вод.
7.3.1 Споруди для забирання поверхневих вод
Річкові водозабірні споруди улаштовують в місцях, де течія води повільна, глибина достатня для забирання води, а берег стійкий. Місце забирання води повинно бути погоджене з органами санітарного нагляду.
З урахуванням особливостей джерела і умов забирання води спорудження поділяють на берегові та руслові.
Водозаборні споруди берегового типу використовують при відносно крутих берегах і наявності глибин, які забезпечують умови забирання води. Їх розташовують на схилі берега з прийманням води безпосередньо з русла річки. Водоприймачі цих водозаборів бувають двох видів: роздільні (рис.7.2а) і суміщенні з насосною станцією І підйому (рис. 7.2б).
Водоприймачі суміщеного типу складаються з водоприймального колодязя 1 з вхідними вікнами 2, які обладнані гратами для затримання відносно великих предметів. Водоприймальне відділення поділене стінкою на дві камери: приймальну 3 і всмоктуючу 4. У стінці є вікна 8 перекриті сітками з дрібними чарунками, призначеними для затримання планктону, водоростей, дрібного сміття тощо. Вода, яка пройшла через стінки, забирається насосами 5, що установлені в насосному залі 6, і через всмоктуючі труби 7 подається на очищення або до споживача.
Суміщення берегового сітчастого колодязя і насосної станції в одній споруді спрощує обслуговування водозабору, підвищує надійність його роботи і є практично необхідним у випадках використання насосів з малою висотою всмоктування.

Рис.7.2. Водоприймачі берегового типу:
а – роздільний; б – суміщений; 1 – водоприймальний колодязь; 2 – вхідні вікна; 3 – приймальна камера; 4 – всмоктувальна камера; 5 – насоси; 6 – машинний зал; 7 – всмоктувальні трубопроводи; 8 – сітки
Водозабірні споруди руслового типу (рис. 7.3) використовують при відносно положистих берегах, коли необхідні для збирання води глибини знаходяться на великій відстані від берега. Водозабір складається: з оголовка (водоприймального пристрою) 1, самопливних водоводів 2, берегового колодязя 3, і насосної станції 4.

Рис.7.3. Водоприймач руслового типу:
1 – оголовок; 2 – самопливна лінія; 3 – береговий колодязь; 4 – насосна станція
Більша частина централізованих систем сільськогосподарського водопостачання використовує підземні води.
Склад споруд і схеми їх розташування при забиранні підземних вод залежать від глибини залягання водоносного пласта, його потужності, багатоводності, умов залягання, геологічної будови і гідравлічних характеристик, підземного потоку (його напору, швидкості і напряму руху). Крім того потрібно враховувати фізико–хімічні показники води, необхідність її підготовки і знезаражування, а також масштаби водоспоживання. Принципові схеми водозабірних вузлів показані на рис.7.4.
Самою загальною схемою водозабірного вузла по прийманню підземних вод є схема, що включає групу водоприймальних споруд, очисні споруди для їх обробки і знезаражування і подальшої подачі в мережу водоспоживачу (рис.7.4б).
У більшості випадків підземні води не потребують додаткового очищення і тому дуже часто використовують найпростішу схему з подачею води безпосередньо в мережу (рис.7.4а). Природно, в практиці зустрічаються і проміжні схеми, в яких виключені деякі споруди з загальної схеми, або додаються споруди до найпростішої схеми (рис. 7.4 – в,г).

Рис. 7.4. Схеми водозабірних вузлів для приймання підземних вод:
а – з насосною станцією 1-го підйому; б – з очисними спорудженнями і насосною станцією 2-го підйому; в – з водозбиральним резервуаром; г – зі штучними поповненням підземних вод; 1 – водоприймальна споруда; 2 – насосна станція (водопідйомний пристрій); 3 – напірні трубопроводи; 4 – збірний колектор; 5 – водопровідні очисні споруди; 6 – резервуари чистої води; 7 – насосна станція 2-го підйому; 8 – напірні водоводи; 9 – самопливні чи сифонні водоводи; 10 – водозбірний резервуар; 11 – всмоктуючі трубопроводи; 12 – напірний водовод сирої води; 13 – поглинаючі колодязі
Для забирання підземних вод використовують три основних види споруд: вертикальні і горизонтальні водозабори і каптажі.
Водозабірні споруди можуть бути досконалими і недосконалими. Водозабори, які прорізають водоносний пласт повністю і досягають водонепроникного шару, називають досконалими. Ті водозабори, що прорізають водоносний пласт частково, називають недосконалими.
До вертикальних водозаборів відносяться бурові свердловини і шахтні колодязі.
Свердловини (трубчасті колодязі) – найбільш розповсюджений тип водозабірних споруд підземних вод. Їх використовують при відносно глибокому заляганні (більше 30 метрів) водоносних пластів. Основними конструктивними частинами свердловини є кондуктор, технічна колона труб, експлуатаційна колона, захист цементний, водоприймальна частина (фільтр), відстійник, надфільтрова колона (рис.7.5).
Рис.7.5. Схема трубчастого колодязя:
1 – кондуктор; 2 – експлуатаційна колона; 3 – технічна захисна колона; 4 – позатрубна цементація; 5 – сальник; 6 – надфільтрова колона; 7 – робоча частина фільтра (водоприймальна частина); 8 – піщано-гравійна обсипка фільтра; 9 – відстійник; 10 – дерев’яна пробка; 11 – водоупор; 12 – експлуатаційний водоносний пласт; 13 – слабопроникні породи; 14 – міжтрубна цементація
|
|
 Кондуктор – першу колону обсадних труб – установлюють для запобігання попаданню в свердловину забруднених поверхневих вод. В межах водоносного горизонту розташовують фільтрувальну колону, яка складається з водоприймальної – фільтруючої – частини, над фільтрової труби і відстійника. Останній звичайно виконують з глухої труби довжиною 2....5 метрів.
Експлуатаційний (внутрішній) діаметр колони труб, в якому встановлюють корпус насоса і кінцевий діаметр свердловини залежать від типу водопідйомного пристрою, конструкції водоприймальної частини свердловини, а також від необхідності її чищення.
Шахтні колодязі використовують для забирання води з перших від поверхні водоносних пластів, що залягають на глибині до 30 метрів. На відміну від свердловин шахтні колодязі являють собою вертикальну виробку з великими розмірами поперечного перерізу (1...3м). Вони призначені для водопостачання дрібних водоспоживачів – невеликих населених пунктів, промислових підприємств, польових станів, пасовищ, а також для індивідуального водопостачання.
Складається шахтний колодязь з водоприймальної частини 1, ствола 2 і надземної частини (оголовка) 3 (рис. 7.6). Часто для створення запасів води і її відстоювання він може мати водозбірну чи відстійну частину, а для вентиляції – вентиляційну трубу, яка виводиться вище поверхні землі не менше ніж на 2 метри.
Водоприймальною частиною шахтного колодязя в залежності від його конструкції, потужності водоносного пласта і властивостей водоносної породи може бути його дно, бокова поверхня або те і інше одночасно.
Будуються шахтні колодязі з цегли, каменю, дерева, бетону і залізобетону з таким розрахунком, щоб ствол і надземна частина були достатньо міцними і водонепроникними для запобігання потрапляння поверхневих вод і забруднених вод зони аерації.
Горизонтальні водозабори улаштовують в межах водоносного пласта на глибині 6...8м. при незначній його потужності. Водозабір розташовують перпендикулярно до напряму руху ґрунтового потоку з похилом у бік збірного колодязя, звідкіля вода забирається насосами. (рис. 7.7).

Рис. 7.7. Горизонтальний водозабір:
1 – водозабірна галерея; 2 – водоприймальні отвори; 3 – оглядовий колодязь; 4 – водозабірний колодязь; 5 – водопідйомні труби
Для цих водозабірних споруд використовують перфоровані бетонні труби. Навколо труб роблять гравійно–піщану обсипку, яка запобігає попаданню у воду частинок ґрунту. При значній довжині водозаборів улаштовують оглядові колодязі, призначені для огляду, очищення і вентиляції трубопроводів.
Для приймання джерельних вод, що виходять на поверхню землі, будують спеціальні водозабірні споруди – каптажі. На відміну від інших водозаборів підземних вод каптажі створюють не тільки для приймання, але і для концентрованого збирання концентрованої води у вигляді джерел, які виходять на поверхню на значній території.
Рис. 7.8. Схеми каптажних споруд:
а – для приймання висхідних джерел; б – для приймання низхідних джерел; 1 – верхня водовідвідна канава; 2 – водоприймальні отвори каптажної камери; 3 – вентиляційна труба; 4 – глиняно-щебнева відмостка; 5 – залізобетонні кільця каптажної камери; 6 – дерен; 7 – переливна труба; 8 – витратна труба; 9 – залізобетонна плита днища каптажної камери; 10 – підстеляючий шар гравію; 11 – глиняний замок; 12 – гравійний зворотний фільтр; 13 – піщана засипка; 14 – водотривкий шар; 15 – водоносний шар; 16 – скеляста порода з вихідними джеорелами
|
|
В залежності від типу джерела каптажні споруди будують по двом принципово відмінним одна від одної схемам.
Споруди по каптажу висхідних джерел принципово однакові. Вони являють собою водозбірну камеру, призначену для приймання джерельної води і створення її об’єму, що потрібний для нормальної роботи водопідйомного обладнання (рис. 7.8 а). Вода в таких каптажах приймається тільки через дно, яке виконано у вигляді зворотного фільтра.
Каптажні споруди низхідних джерел – це водозбірні камери з боковою водоприймальною поверхнею, яка також виконується у вигляді зворотного фільтра (рис.7.8 б).
7.4 Фільтрація
7.4.1 Фільтрація ґрунтових вод
Рух грунтових вод є частинним випадком руху рідин в пористому середовищі , який називають фільтрацією.
Фільтрація відбувається через шпари (пори) грунту і може бути обмежена знизу і зверху водонепроникними шарами грунту. Така фільтрація називається напірною (рис. 7.9 а). Якщо водонепроникний шар обмежує потік тільки знизу то така фільтрація називається безнапірною (рис. 7.9 б).

Рис. 7.9
В залежності від витрати фільтраційного потоку поверхня його може займати різне положення, аналогічно вільній поверхні у відкритих руслах. Поверхня фільтраційного потоку називається депресійною поверхнею, а крива вільної поверхні – кривою депресії.
Фільтрація може бути ламінарною і турбулентною. Ламінарний рух, як і в трубах, характеризується втратами напору прямо пропорційними швидкості фільтрації в першій степені. Такий рух буває в дрібнозернистих грунтах (водопроникні глини, суглинки, пісковики, піски). В крупнозернистих пісках і матеріалах (гравій, галька, щебінь) установлюється турбулентна фільтрація, при якій втрати напору пропорційні швидкості в степені більше першої.
Основний закон ламінарної фільтрації виражається формулами Дарсі:
 |
(7.1) |
і
. |
(7.2) |
В цих формулах υ – середня швидкість фільтрації; Q – витрата фільтраційного потоку; ω – повна площа перерізу фільтраційного потоку, яка є сумою площі пор ωп
і площі перерізу частинок грунту ωгр
; J – гідравлічний нахил, що являє собою втрату напору по довжині і на одиницю довжини фільтраційного потоку: ; k – коефіцієнт фільтрації.
Коефіціент фільтрації (см/с чи м/с) залежить в основному від розміру і форми зернин грунту, наявності в ньому глинястих частинок і температури рідини. Значення коефіціентів фільтрації деяких грунтів наведені в табл. 7.1
Таблиця 7.1
Коефіцієнти фільтрації ґрунтів
| Тип грунту |
k, см/с |
| Гравій з розміром зерен 4-7 мм |
3,5 |
| Гравій з розміром зерен 2 мм |
3 |
| Пісок чистий |
1,00…0,01 |
| Пісок з домішками глини |
0,01…0,005 |
| Піщано-глинисті ґрунти |
5·10-3
…10-4
|
| Глина |
10-4
…10-7
|
| Глина щільна |
10-7
…10-10
|
| Торф’яні ґрунти |
10-2
…10-3
|
| Мулкі ґрунти |
10-2
…10-3
|
Границі застосування формул Дарсі визначають по критерію переходу від ламінарної фільтрації до турбулентної.
Н.Н.Павловський запропонував критерій існування ламінарної фільтрації у вигляді:
 |
(7.3) |
де ν – кінематична в’язкість рідини; d – середній діаметр зернин ґрунту, ν – середня швидкість фільтрації; m – коефіцієнт пористості ґрунту, рівний відношенню площі пор до повної площі перерізу фільтраційного потоку: .
Значення коефіцієнта пористості для деяких ґрунтів наведені в таблиці 7.2.
Таблиця 7.2.
Коефіцієнти пористості ґрунтів
| Грунт |
m |
| Гравій (2≤d≤20 мм) |
0,30…0,40 |
| Пісок (0,06≤d≤2 мм) |
0,33…0,45 |
| Супісь |
0,35…0,45 |
| Суглинок |
0,35…0,50 |
| Глинистий грунт |
0,40…0,55 |
| Торф’яний грунт |
0,60…0,80 |
Якщо (7.3) не виконується, то має місце турбулентна фільтрація, для якої середню швидкість визначають залежністю
, |
(7.4) |
де показник степеня n знаходиться в межах .
При проектуванні водоприймачів підземних вод однією з основних задач є розрахунок продуктивності водозабору. Цей розрахунок виконують на основі закону фільтрації, з урахуванням гідравлічних умов стану підземного потоку, а також розташування водоприймальної частини колодязя в пласті, що обраний до експлуатації.
Приплив води до досконалого дренажного колодязя. Для досконалого колодязя, тобто такого, що досягає водонепрохідного шару (рис.7.10), і при рівномірному відкачуванні води з нього (Q=const), глибина води в колодязі знизиться від Ho
до ho
, тобто на величину Z. Рівень вільної поверхні води в грунті (водоносному пласті) навколо колодязя буде плавно зменшуватися від природного рівня ґрунтових вод (РГВ) до відмітки в колодязі і утворювати депресивну поверхню. В плоскому перерізі рівень ґрунтових вод на ділянці водозниження буде характеризуватися кривою депресії.
Приплив води (дебіт) до такого колодязя при уклоні водонепрохідного шару J=0 визначають за формулою Дюпюї:
 |
(7.5) |
де H0
– глибина (потужність) водоносного пласту; h0
– глибина води в колодязі; k – коефіцієнт фільтрації ґрунту; r0
– радіус колодязя; R0
– радіус впливу колодязя (радіус депресійної воронки).
Для попередніх розрахунків радіуса впливу значення R0
(м) – можуть бути прийняти такими:
дрібнозернисті ґрунти – R0
=100...200 ;
cередньозернисті ґрунти - R0
=250..600;
крупнозернисті ґрунти – R0
=700...1000.
На практиці для визначення радіуса впливу колодязя часто користуються емпіричною формулою Зихарда:
, |
(7.6) |
в якій Z=H0
-h0
.

Рис. 7.10. Круглий досконалий колодязь:
1- природний рівень ґрунтових вод; 2 – крива депресії; 3 – водоносний шар; 4 – водотривкий шар
Приплив води до досконалого артезіанського колодязя. Артезіанський колодязь забирає воду з водоносного шару, обмеженого зверху і знизу водонепроникними грунтами (рис.7.11). Вода в такому шарі знаходиться під тиском і зветься артезіанською водою. В цьому випадку статичний напір H0
і напір у будь-якому перерізі h відрізняється від потужності а, водоносного шару.
Дебіт (витрата) артезіанського колодязя визначається за формулою:
 |
(7.7) |

Рис.7.11. Приплив води до круглого колодязя
Дебіт недосконалих колодязів. Для недосконалих колодязів при усталеному русі підземних вод їх продуктивність визначають за формулами
напірні водоносні пласти:
 |
(7.8) |
безнапірні водоносні пласти:
 |
(7.9) |
Фільтраційний опір ξ в цих формулах визначають за допомогою графіків (рис.7.12) в залежності від співвідношення l/a і а/r0
, тобто від довжини водоприймальної частини колодязя l і потужності водоносного пласта а, а також потужності і радіуса колодязя r0.

Рис.7.12. Графіки додаткового опору ξ, обумовленого недосконалістю свердловини за ступенем розкиття пласта:
а – при примиканні фільтра колодязя до водоупору; б – при розташуванні фільтра колодязя в середній частині шару
Якість природних джерел води, особливо поверхневих, в більшості випадків не відповідає вимогам санітарних норм до питної води. Тому використовувати її без попереднього очищення не можна. Очищення води полягає в її прояснені (освітленні), знебарвлюванні, знезаражуванні і дезодорації (усуненні запахів і присмаків).
Воду можна очищати як з використанням хімічних реагентів, так і без них. Але за нашого часу більшість водоочисних станцій працюють за схемою з хімічною обробкою води.
На рис. 7.13 зображена широко розповсюджена технологічна схема для глибокого прояснення води з самопливним рухом води, яку використовують при будь-якій продуктивності водоочисної станції і будь-якої якості води.

Рис. 7.13. Схема водоочисної станції з камерою пластівцеутворення, відстійниками і фільтрами
Природна вода подається насосною станцією першого підйому 1 до змішувача 3. Хімічні речовини, так звані (реагенти або коагулянти), для хімічної обробки води, заготовлюються в реагентному цеху 2 і також надходять до змішувача 3, де змішуються з усією масою води, що підлягає обробці. Зі змішувача вода потрапляє в камеру пластівцеутворення 4. Тут відбувається фізико – хімічний процес агломерації (об’єднання) колоїдних і змулених частинок у порівняно великі пластівці, що швидко осідають. Далі вода надходить до відстійників 5, в яких осідає основна маса пластівців. Після відстійників вода проходить через фільтри 6, де затримуються всі частинки, що не встигли осісти у відстійниках.
Прояснена і знебарвлена вода, якщо вона використовується як питна підлягає потім знезаражуванню і збирається в резервуарах чистої води 7. З резервуарів за допомогою насосної станції другого підйому 8 вода подається в мережу.
Водопровідна мережа – один з основних елементів системи водопостачання. Вона являє собою сукупність водопровідних ліній (трубопроводів) для подачі води до місць споживання. Водопровідна мережа складається з водоводів, магістральної мережі і розподільних трубопроводів.
Водоводи прокладають для транспортування від джерела водопостачання до очисних споруд і від резервуарів чистої води до магістральної мережі. Згідно з санітарними нормами і правилами (СНіП), водоводи повинні мати не менше, ніж дві паралельні лінії трубопроводів з відстанню між ними 10…100м і пропускною спроможністю не менше 70% розрахункової витрати системи водопостачання.
Мережа міського, або іншого населеного пункту, призначена для розподілення води по його території, забезпечення можливості відбирання в заданих точках потрібної кількості води і створення необхідних вільних напорів. Крім того, мережа повинна мати певну надійність, тобто підтримувати заданий рівень забезпечення водою споживачів при будь-яких можливих аваріях її ліній.
За характером своєї роботи водопровідні лінії можуть бути поділені на дві категорії: 1) магістральні, які служать, в основному, для транспортування води; 2) розподільні, призначені для роздавання води споживачам.
За конфігурацією відповідні мережі бувають розгалуженими (рис. 7.14а) і кільцевими (рис. 7.14б).
Тупикові мережі не забезпечують безперебійності водопостачання, тому їх можна застосовувати в тих випадках, коли за СНіП допустимі перерви в подачі води або коли є запаси води для постачання об’єкта на час відновлення трубопровіда після аварії.
Для міських, селищних і виробничих водопроводів, як правило, улаштовують кільцеві мережі. При кільцевих мережах завдяки наявності паралельних ліній аварія на будь-якій ділянці не призводить до припинення подачі води споживачам, крім тих, хто постачається безпосередньо від пошкодженої ділянки.
Водопровідна мережа проектується на основі архітектурного панування населеного пункту з урахуванням розташування вулиць, кварталів, окремих великих споживачів води – заводів, фабрик, ферм та інших підприємств, до яких потрібно підводити магістралі. При цьому беруться до уваги взаємне розташування джерела і об’єкта водопостачання, рельєф місцевості, ґрунтові умови, наявність штучних і природних перешкод.

Рис. 7.14. Конфігурація мережі:
а – тупикова; б - кільцева
Взаємна ув’язка перелічених вимог і факторів на стадії проектування називається трасуванням мережі.
Вибір загальної схеми водопостачання як населеного пункту, так і промислових і сільськогосподарських підприємств і споруд є однією з найбільш складних і відповідальних задач, від розв’язання якої залежить і безперебійна подача необхідної кількості води всім споживачам, і вартість будівництва, і експлуатація системи.
Найбільш поширеними в практиці є так звані однозонні схеми водопостачання, які використовують для забезпечення водою споживачів (міст, селищ, промислових і сільськогосподарських підприємств), розташованих на порівняно невеликих територіях зі спокійним рельєфом. Одно зона система може бути без башти, з баштою на початку мережі і з контррезервуаром.
Схему водопостачання без башти застосовують для постачання води об’єктів, що рівномірно витрачають воду протягом доби і необхідність в улаштуванні регулюючих ємкостей відпадає.
Схема з баштою на початку мережі застосовується в тих випадках, коли водоспоживання в межах доби нерівномірна, а водоводи подають воду по мережі в найбільш високу точку місцевості. Башта як би розділяє систему на дві частини. Висота підйому води, а отже, і подача насосів ІІ-го підйому визначаються висотою башти. Мережа живиться від башти, яка є для неї водоживильником.
Якщо найбільш висока точка місцевості знаходиться на протилежній стороні від місця подачі води в мережу водоводами, застосовують схему водопостачання з контррезервуаром. Характерним для такої схеми є те, що в години максимального водоспоживання мережа отримує воду з двох сторін – від водоводу і від контррезервуара, а в години мінімального водоспоживання надлишок води, яку подає насосна станція, транзитом проходить по мережі від водоводу до контррезервуара і поповнює його.
Розміри і потужності окремих елементів інженерних систем водопостачання визначають на підставі заданого або передбаченого в процесі їх експлуатації навантаження. Під навантаженням розуміють розрахункові кількості води, які ці елементи повинні подавати чи транспортувати в одиницю часу, акумулювати або зберігати. Основою для визначення навантажень служать кількість споживаної води, режим її споживання, а також потрібні і допустимі значення тисків у водопровідній мережі.
Розрізняють такі основні категорії споживання води:
1. на господарсько – питні потреби населення;
2. на виробничі потреби промислових підприємств і сільськогосподарських об’єктів;
3. на поливку і мийку територій населених пунктів, поливку зелених насаджень;
4. на гасіння пожеж.
Загальна кількість води, яка повинна бути подана споживачам визначається за нормами, встановленими СНіП для кожної категорії.
Режим водоспоживання не залишається сталим, а змінюється протягом року під впливом природних, соціально – економічних, господарських і технічних факторів. Протягом доби також змінюється погодинна витрата води, що викликано зміною дня і ночі, розпорядком роботи підприємств та іншими випадковими причинами.
Для того, щоб система водопостачання працювала надійно, її розраховують по максимальній добовій витраті Qдоб. max.
Відхилення максимальної добової витрати від середньодобової характеризується коефіцієнтом добової нерівномірності Kдоб.max,
який дорівнює відношенню максимальної добової витрати до середньодобової.
Іноді при розрахунках систем водопостачання потрібно знати мінімальну добову витрату Qдоб.min.
В цьому випадку вводять коефіцієнт нерівномірності Кдоб.min.
, який оцінює відхилення Qдоб.min.
від середньодобової витрати.
Таким чином, розрахункові добові витрати визначають за формулами:
Qдоб.max.
=Кдоб.max·
Qдоб.ср.,
Qдоб.min
=Кдоб.min·
Qдоб.ср.,
|
(7.10) |
Коефіцієнти нерівномірності, які враховують побут населення, режим роботи підприємств, ступінь благоустрою будівель, приймаються рівними: Кдоб.max
=1,1...1,3; Кдоб.min
=0,7...0,9.
Велике значення для визначення розрахункових витрат води має урахування можливих максимальних годинних витрат Qгод.max.
Максимальна годинна витрата за добу найбільшого водоспоживання визначає найбільше можливе навантаження мережі за розрахунковий рік. При мінімальній годинній витраті протягом доби в мережі будуть виникати найбільші напори. Нарешті, середня година витрата може використовуватися для оцінки витрат енергії на подачу води. Ці годинні витрати визначають із формул:
  |
(7.11) |
Коефіцієнти годинної нерівномірності Кгод.max
= Qгод.max
/ Qгод.ср
і Кгод.min
= Qгод.min
/ Qгод.ср
визначають з залежностей, рекомендованих СНіП :
 |
(7.12) |
в яких α – коефіцієнт, що ураховує ступінь благоустрою будівель, режим роботи підприємств та інші місцеві умови, приймається: αmax
=1,2... 1,4 і αmin
= 0,4...0,6; β – коефіцієнт, що ураховує кількість мешканців населеного пункту, має такі значення:
| Кількість мешканців населеному пункті (тис.чол) |
1 |
1,5 |
2,5 |
4 |
6 |
10 |
20 |
50 |
100 |
300 |
| βmax
|
2 |
1,8 |
1,6 |
1,5 |
1,4 |
1,3 |
1,2 |
1,15 |
1,1 |
1,05 |
| βmin
|
0,1 |
0,1 |
0,1 |
0,2 |
0,25 |
0,4 |
0,4 |
0,6 |
0,7 |
0,85 |
Більшість споживачів отримує воду на деякій висоті над поверхнею землі. Це вимагає створення в мережі в місці приєднання вводу напору, достатнього для підйому води на задану висоту, який називають вільним напором Нв
:
де Hг
–геометрична висота підйому води від поверхні землі до самої високої водорозбірної точки, м; hw
– втрати напору у внутрішній мережі, водомірному вузлі і вводі, м; Hзал.
– залишковий напір у диктуючого приладу, м.
Вільний напір при одноповерховій забудові приймають рівним 10м., при більшій етажності додають по 4м. на кожний поверх. На промислових підприємствах вільний напір визначається технологічним процесом.
Максимально допустимий напір водопровідної мережі, обумовлений міцністю труб і водопровідної арматури, не повинен перевищувати 60 м.
Точка мережі, в якій вільний напір в годину максимального водоспоживання буде найменшим, називається диктуючою. Якщо в цій точці буде створено необхідний вільний напір, то у всіх інших точках мережі він буде більшим.
Гідравлічний розрахунок водопровідних мереж виконують з метою визначення втрат напору в них і діаметрів труб окремих ділянок мережі. Втрати напору необхідно знати для визначення висоти водонапірної башти і потрібного напору насосних станцій. Водопровідна мережа повинна бути розрахована на випадки найбільшого водоспоживання і моменту пожежі, яка співпадає за часом з годиною максимального водоспоживання.
При визначенні діаметрів труб ділянок мережі потрібно знати розрахункові витрати води для цих ділянок, тобто кількість води, яка буде проходити через них в розрахункові періоди роботи системи.
Гідравлічний розрахунок мережі на практиці виконують за спрощеною умовною схемою, при якій водовідбір великих водоспоживачів (промислові і сільськогосподарські підприємства, подача води в ємності, пожежні відбори та ін.) ураховують у вигляді зосереджених відборів у відповідних точках мережі (так звані вузлові точки). Тоді сумарний відбір іншими споживачами на одиницю довжини мережі визначається з такого виразу:
 |
(7.14) |
де Q – повна витрата води споживачами в даний розрахунковий момент; ΣQзос.
– сума відборів води великими споживачами; Σlк
– довжина всіх ліній водопровідної мережі; ΣQшл.
– сумарна шляхова витрата води.
Загальний відбір води з кожної ділянки мережі (шляхова витрата)
. |
(7.15) |
де lk
– довжина к-ї ділянки мережі.
Для перевірки правильності визначення шляхових і зосереджених витрат по всій мережі може бути використано співвідношення:
 |
(7.16) |
Розрахункову вузлову витрату будь-якої вузлової точки визначають як суму фактичної зосередженої витрати, що відбирається безпосередньо у вузлі, і півсуми шляхових витрат всіх ділянок, які примикають до даної вузлової точки:
, |
(7.17) |
де n – кількість розрахункових ділянок, що примикають до к-го вузла.
Діаметри труб окремих ділянок мережі визначають за формулою:
. |
(7.18) |
В якій Qк
– розрахункова витрата води через к-ту ділянку; υк
- швидкість руху води в трубопроводі к-ї ділянки.
Швидкість руху води безпосередньо впливає на такі показники як вартість електроенергії, труб, роботи по їх укладанню та ін.
Орієнтовно найбільш економічними швидкостями є швидкості в межах 0,5...2,0м/с. Причому менші значення швидкостей приймають для труб малого діаметра, а більші – для труб великого діаметру.
Мінімальний діаметр труб водопроводу, який об’єднаний з протипожежним, в населених пунктах і промислових підприємствах повинен бути не менше 100мм., а в сільських населених пунктах – не менше 75мм.
Визначення втрат напору в мережі. Оскільки, як правило, протяжність водопровідної мережі будь-якого об’єкта водопостачання досить значна, основними при розрахунку мережі уважають втрати напору на гідравлічне тертя в трубах по довжині. Як відомо, ці втрати можуть бути визначені за формулою Дарсі-Вейсбаха:
. |
Але для розрахунків водопровідних систем зручніше користуватися модифікацією цієї формули, в якій швидкість замінено на витрату:
 |
(7.19) |
де К – коефіцієнт, що зв’язаний з коефіцієнтом гідравлічного тертя λ співвідношенням:
, |
(7.20) |
Q-витрата води; n i m – показники степеня.
В інженерній практиці прийнято визначати втрати напору на одиницю довжини безрозмірною величиною – гідравлічним уклоном . Тоді повні втрати напору для лінії будь-якої довжини:
. |
(7.21) |
Величину гідравлічного уклону і розраховують за таким формулами:
а) залізобетонні а також ненові стальні і чавунні труби при швидкості руху води υ>1,2м/с.
 |
(7.22) |
при швидкості руху води υ<1,2м/с
; |
(7.23) |
б) азбестоцементні труби
; |
(7.24) |
в) пластмасові труби
, |
(7.25) |
в яких d – розрахунковий внутрішній діаметр труб, м.; Q – витрата води, м3
/с; υ – швидкість руху води, м/с.
Значне поширення набули спеціальні таблиці, графіки і номограми для визначення втрат напору. Наприклад, таблиці, складені Ф.А. Шевелевим, дають величини втрат напору на одиницю довжини трубопроводу (і або 1000і ) для всіх стандартних діаметрів труб різних типів в широкому діапазоні витрат і відповідних цим витратам швидкостей.
Гідравлічний розрахунок розгалужених мереж виконується досить просто, якщо відомі витрати води в вузлах мережі. В такому випадку спочатку обчислюють розрахункові витрати, потім призначають діаметри (з урахуванням економічних факторів) ліній мережі, після чого можуть бути визначені втрати напору на кожній ділянці .
Загальна втрата напору по обраному напряму може бути знайдена по формулі:
, |
(7.26) |
як сума втрат напору в послідовно з’єднаних ділянках трубопроводів.
При розрахунках кільцевих мереж користуються такими законами:
1. Сума витрат води, що надходить до даного вузла, дорівнює сумі вузлового відбору з нього і витрат, які витікають з вузла. Це означає, що алгебраїчна сума витрат, що надходять у вузол (береться зі знаком плюс), і витрат, що витікають з вузла (беруться зі знаком мінус), повинна дорівнювати нулю.
2. В кожному замкненому колі мережі, утвореному лініями мережі, сума втрат напору на ділянках, де вода рухається за годинниковою стрілкою, дорівнює сумі втрат напору на ділянках, де рух води напрямлений проти годинникової стрілки, тобто алгебраїчна сума втрат напору в кільці дорівнює нулю.
Існує багато методів розрахунку кільцевих мереж. Виконання таких розрахунків - трудомістка задача, і при значній кількості кілець її розв’язують за допомогою ЕОМ і аналогових пристроїв.
Висота водонапірної башти і потрібний напір насосів. Висоту водонапірної башти або конррезервуара і напір насосів, які подають воду в мережу, визначають при найбільш несприятливих умовах (режимах) її роботи. Башта повинна мати таку висоту, щоб можна було забезпечити необхідні вільні напори в критичних (диктуючих) точках мережі, а напір насосів визначають з розрахунку подачі води в бак башти в баштових системах водопостачання чи забезпечення необхідного напору в найбільш високорозташованих і віддалених від насосної станції точках мережі – в безбаштових.
На схемі водопроводу (рис.7.15) диктуючою є точка А з геодезичною (відмітка відносно поверхні землі)відміткою ZA
. Водонапірна башта розташована в точці Б з геодезичною відміткою ZБ
. Висота водонапірної башти (до дна бака, який встановлено на башті)
 |
(7.27) |
де Нв
– вільний напір в диктуючій точці при максимальному водозаборі;
– сума втрат напору в мережі при максимальному водозаборі на ділянці від водонапірної башти до диктуючої точки А.
Напір насосної станції ІІ підйому визначають з рівняння
 |
(7.28) |
в якому Нр
– максимальна глибина води в резервуарі (баку) башти; Σhн
– втрата напору в водоводах і водопровідної мережі від насосної станції до башти; Zр
– геодезична відмітка насосної станції (рис.7.15).

Рис. 7.15. Схема роботи водопроводу при господарсько-питному водоспоживанні
8 Каналізація
8.1 Загальні відомості
Водопровідна вода, яка була використана людиною в процесі її побутової і виробничої діяльності, а також поверхневі води (дощові, розталі, поливомийні) називаються стічними водами.
Органічні забруднення, що містяться в стічних водах, можуть загнивати і бути сприятливим середовищем для розвивання мікроорганізмів, в тому числі і патогенних (хвороботворних). Хімічні з’єднання, жири, масла, нафтопродукти, отруйні і радіоактивні речовини здатні завдавати великої шкоди ґрунту і водоймищам. Накопичування стічної рідини на поверхні і у глибині ґрунту, у водоймах викликає забруднення навколишнього середовища, виключає можливість використовування водойм для побутових і господарських потреб, і може бути причиною виникнення різних інфекційних захворювань. Все це викликає загрозу для людства і потребує негайного виведення стічних вод за межі житлових зон і їх очищення.
Каналізація (водовідведення) – це комплекс обладнання, мереж і споруд, які призначені для приймання і відведення по трубопроводах за межі населених пунктів чи промислових підприємств забруднених стічних вод з подальшим їх очищенням і знешкоджуванням перед утилізацією або скиданням у водойму.
Існує два види каналізації: вивізна і сплавна.
При організації вивізної каналізації рідкі забруднення збирають у спеціальні приймачі (вигріби) і періодично вивозять автомобільним транспортом на поля асенізації для обробки, або до спеціальних місць, узгоджених з санітарними органами. Вивізну каналізацію улаштовують тільки в невеликих населених пунктах, де використання іншого виду каналізації утруднено. Вивізна каналізація економічно недоцільна і не забезпечує потрібного санітарного стану територій.
При улаштуванні сплавної каналізації стічні води по підземним трубопроводам транспортується на очисні споруди, де вони підлягають очищенню переважно в штучно створених умовах, після чого скидаються в найближчі водойми.
Каналізаційні мережі будують переважно самопливними. Для цього всю територію населеного пункту поділяють на басейни каналізування (території, які обмежені вододілами), де відповідно до рельєфу місцевості прокладають самопливні трубопроводи вуличної мережі і колектори, тобто ділянки каналізаційної мережі, що збирають стічні води з одного чи кількох басейнів каналізування (рис.8.1).

Рис.8.1. Басейни каналізування І, ІІ, ІІІ:
1 – вулична мережа; 2 – головні колектори районів; 3, 5 – районні каналізаційні станції; 4 – напірний трубопровід; 6 – головний колектор; 7 – відвідний колектор; 8 – головна насосна станція; 9 – напірний водовід; 10 – очисні споруди; 11 – спуск у водоймище
Розрізняють три системи відведення стічних вод каналізації міст і населених пунктів.
Загальна система каналізації передбачає відведення всіх категорій стічних вод (побутових, виробничих, дощових) у водойму єдиною системою водовідведення і очищення; при роздільній – дощові води відводяться окремо від побутових і виробничих; при напівроздільній – в систему каналізації крім побутових і виробничих надходять також перші, найбільш забруднені порції дощових вод.
Стічні води являють собою складні фізико–хімічні системи, в яких органічні і мінеральні забруднення знаходяться в розчиненому, колоїдному і нерозчиненому станах. Органічні і неорганічні компоненти забруднень, що знаходяться у стічних водах в колоїдному і нерозчиненому станах, утворюють суспензії, емульсії і піну. Склад стічних вод і концентрація забруднень в них визначаються, в основному, нормами водоспоживання, а також складом виробничих стічних вод.
Ступінь забруднення стічної води органічними речовинами можна визначити по кількості кисню, яке потрібно для окислення органічних речовин за допомогою аеробних мікроорганізмів – мінералізаторів. Загальна кількість кисню, потрібного для окислення органічних речовин аеробними мікроорганізмами, називається біохімічною потребою кисню (БПК) і виражається кількістю кисню в міліграмах на літр (мг/л) чи в грамах на літр (г/л).
Кількість і склад виробничих стічних вод визначається багатьма факторами : галуззю промислового виробництва, типом вихідної сировини, режимом технологічних процесів, можливістю утилізації відходів виробництва, витратою води на одиницю продукції. Виробничі стічні води містять мінеральні і органічні забруднення в самих різних сполученнях.
В зв’язку з тим, що визначення абсолютного складу стічних вод – трудомісткий процес, користуються спрощеним переліком показників, які найбільш повно характеризують їх якість і які використовуються для проектування і розрахунку споруд каналізації. До таких показників відносяться: температура, забарвлення, запах, прозорість, сухий залишок, вміст осідаючих і завислих речовин, БПК, вміст різних форм азота, фосфатів, хлоридів, сульфатів, токсичних елементів (залізо, нікель, мідь, свинець, цинк, хром, миш’як тощо), синтетичних поверхнево-активних речовин, біологічні забруднення. Останні представлені бактеріями, вірусами, грибами, тому стічні води небезпечні в епідеміологічному відношенні.
8.3 Методи очищення стічних вод
Метод і ступінь очищення стічних вод визначають в залежності від місцевих умов з урахуванням можливого використання очищених стічних вод для промислових або сільськогосподарських потреб. Існують механічний, фізико-хімічний і біологічний методи очищення стічних вод.
У результаті механічної очистки зі стічних вод видаляються забруднення, що знаходяться в них в нерозчиненому і, частково, в колоїдному стані. Для механічної очистки використовують грати, піскоуловлювачі, відстійники, жироловки, гідроциклони, фільтри й інші споруди. Грати служать для уловлювання великих забруднень (ганчір’я, паперу та ін.), піскоуловлювачі – для уловлювання нерозчинених мінеральних домішок (піску, шлаку, скла), відстійники – для очищення вод від завислих речовин.
До фізико–хімічних методів відносяться коагулювання, нейтралізація, екстракція, сорбція і т.д. При коагулюванні в стічні води вводять реагент, який сприяє укрупненню частинок (коагуляції), внаслідок чого збільшується кількість утриманих нерозчинених речовин. Такий вид очищення використовують для прискорення осаджування завислих речовин.
Біологічне очищення стічних вод – метод очищення побутових і промислових стічних вод, який полягає в біохімічному руйнуванні (мінералізації) мікроорганізмами забруднень органічного походження, розчинених і емульгованих в стічних водах. В мінералізації органічних з’єднань беруть участь бактерії, які в залежності від відношення їх до кисню поділяються на дві групи : аероби і анаероби. Аероби при диханні користуються розчиненим у воді киснем, анаероби розвиваються без вільного кисню.
Аеробну біологічну очистку здійснюють в умовах, наближених до природних: на полях зрошування і фільтрації, в біологічних ставках, і в штучно створених умовах, коли життєдіяльність мікроорганізмів інтенсифікують подачею повітря, а іноді і чистого кисню, в потік стічних вод що проходять через спеціальні очисні споруди (аеротенки, аерофільтри, біофільтри).
При анаеробному способі очищення використовують метантенки – резервуари значної місткості (до кількох тисяч м3
), де знешкоджують без доступу повітря осади, що виділяються у відстійниках.
Очищення стічних вод здійснюють послідовно на ряді споруд. Механічна очистка, як правило, передує біологічній. Спочатку стічні води очищають від нерозчинених, в вже потім від розчинених органічних забруднень. На рис.8.2 показано одну з поширених схем спільної очистки побутових і виробничих стічних вод.

Рис. 8.2. Вертикальна схема каналізаційної станції очищення з баштовими фільтрами:
1 – грати; 2 – піскоуловлювачі; 3 – первинні відстійники; 4 – резервуар з насосною станцією; 5 – баштові фільтри; 6 – гідроавлічний затвор; 7 – вторинні відстійники; 8 – до хлораторної або на рециркуляцію; 9 – водопровід
На рис.8.3 наведені схеми біологічної очистки на аеротенках з додаванням активного мулу.
Активний мул – це скупчення аеробних мікроорганізмів, які здатні сорбувати на своїй поверхні органічні забруднення і окислювати їх. Мул неперервно циркулює в системі – відділяється у вторинних відстійниках і повертається у стічну воду перед аеротенками. Життєдіяльність мікроорганізмів супроводжується постійним їх приростом. Надлишковий мул, що утворюється при цьому, направляють на зброджування в метантенки разом з осадом з первинних відстійників.
Рис.8.3. Технологічні схеми роботи аеротенків:
а – аеротенк з диференціальною подачею повітря; б – аеротенк-змішувач з розосередженою подачею стічної води і активного мулу; в – аеротенк-змішувач з диференціальною подачею стічної води; г – аеротенки з регенераторами активного мулу; 1 – канал подачі води; 2 – первинний відстійник; 3 – аеротенки; 4 – вторинні відстійники; 5 – трубопровід; 6 – трубопровід очищеної води; 7 - регенератори
|
|
8.4 Основні відомості з розрахунку каналізаційних мереж
Каналізаційну мережу розраховують на часткове наповнення труб. Самопливний режим течії з частковим наповненням поперечного перерізу труб дозволяє:
а) створити певний запас в перерізі труб для пропускання витрати, що перевищує розрахункову;
б) створити кращі умови для транспортування завислих забруднень;
в) забезпечити вентиляцією мережі для виведення зі стічної води шкідливих і небезпечних газів, які з неї виділяються.
Гідравлічний розрахунок мережі виконують з використанням формул усталеного рівномірного руху:
 |
(8.1) |
 |
(8.2) |
в яких Q – витрата рідини, м3
/с; ω – площа живого перерізу потоку,м2
; υ – середня швидкість руху рідини, м/с; RГ
- гідравлічний радіус, м; І – гідравлічний уклон, що при рівномірному русі дорівнює ухилу дна труби; λ – коефіцієнт гідравлічного тертя; g – прискорення сили ваги, м/с2
.
Коефіцієнт гідравлічного тертя визначають за формулою
 |
(8.3) |
де - еквівалентна шорсткість, см; ДГ
=4RГ
– гідравлічний діаметр, см; Re – критерії Рейнольдса; α – безрозмірний коефіцієнт, що залежить від характеру розподілу шорсткості труб і структури потоку рідини зі зависсю (суспензією).
Розрахункові швидкості потоку в каналізаційній мережі належить приймати з умови транспортування піску і інших домішок неорганічного походження, які присутні в стічній рідині.
Самоочисною (критичною) називається швидкість, що відповідає повному суспендованню забруднень, які є в потоці. В залежності від діаметрів труб побутової каналізаційної мережі значення самоочисної швидкості приймають від 0,7 м/с (для труб діаметром 150...250мм.) до 1,5м/с (для труб діаметром 1500мм. і більше).
З другого боку, швидкості потоку не повинні бути надто високими через наявність у стічних водах піску та інших твердих домішках, які викликають стирання і руйнування поверхні труб. Так, у металевих трубопроводах бажано не допускати швидкості більше 8 м/с, а в неметалевих – більше 4 м/с.
Кінцевою метою гідравлічного розрахунку каналізаційних мереж є визначення діаметрів і уклонів трубопроводів, а також складання поздовжнього профілю каналізаційної мережі.
Машиною в загальноприйнятому значенні цього слова називають пристрій, що виконує механічні рухи з метою перетворення енергії, матеріалів чи інформації. Машини, робочим тілом яких є крапельні рідини, називають гідравлічними. В свою чергу, гідромашини розділяють на насоси і гідродвигуни.
Насосом називають гідромашину, яка перетворює механічну енергію приводного двигуна в кінетичну і потенціальну енергію потоку робочої рідини.
Гідродвигун – це гідромашина, в якій енергія потоку робочої сили перетворюється в механічну роботу.
За принципом дії всі гідромашини поділять на динамічні та об’ємні.
В динамічних гідромашинах силова взаємодія між ротором /робочим колесом/ і потоком рідини здійснюється в проточній камері, яка постійно сполучена зі входом потоку в гідромашину і виходом з неї. В результаті цієї взаємодії змінюється в основному кінетична енергія рідини.
В об’ємних гідромашинах взаємообмін енергією між потоком рідини і робочими органами машини відбувається при навперемінному заповненні робочої камери рідиною і витисненні її з робочої камери. При цій взаємодії відбувається в основному зміна потенціальної енергії рідини.
В даному курсі з динамічних гідромашин розглядаються відцентрові лопатеві насоси, які найбільше поширені в мережах водопостачання, а також основні типи об’ємних насосів і гідродвигунів.
9.1 Відцентрові, лопатеві
9.1.1 Принцип дії лопатевого насоса
Схема відцентрового лопатевого насоса показана на рис. 9.1 . Головною частиною насоса є робоче колесо 2, яке складається з фасонних дисків „а” і „б”, з’єднаних між собою профільованими лопатками „в”. Диски і лопатки утворюють проточну камеру насоса. Рідина з усмоктувального патрубка 1 надходить в центральну частину робочого колеса 2. Під дією відцентрових сил, що виникають в результаті силової дії лопаток колеса на рідину, вона переміщується в міжлопатевих каналах від цента до периферії і потрапляє в спіральний видвід 3, з якого подається в напірний патрубок 4 і далі в напірний трубопровід. Спіральний відвід призначений не тільки для уловлювання рідини, що виходить з робочого колеса, але і для часткового перетворення її кінетичної енергії в потенціальну енергію тиску.

Рис. 9.1. Схема відцентрового насосу консольного типу: 1 – підвід рідини; 2 – робоче колесо (а – ведучий диск, б – ведений диск, в – лопатки колеса); 3 – спіральний відвід; 4 – напірний патрубок; 5 – кромка спірального відводу
Робота насоса характеризується його подачею, напором, споживаною потужністю і частотою обертання робочого колеса.
Подачею насоса називається витрата рідини через напірний (вихідний) патрубок. Так само як і витрата, подача може бути об’ємною (Q, м/с3
) і масовою (М, кг/с).
Напір насоса Нн
– різниця питомих енергій потоку при виході з насоса і на вході до нього, виражена в метрах стовпа рідини, яку подає насос:
. |
(9.1) |
В деяких випадках замість напору використовують тиск насоса:
. |
(9.2) |
Потужністю насоса (потужність, що споживає насос) називається енергія, яка підводиться до нього від приводного двигуна за одиницю часу:
, |
(9.3) |
де Мкр
– крутний момент на валу насоса; ω – кутова швидкість обертання вала насоса.
Корисна потужність насоса Nk
– це енергія, яку надає насос рідині, що проходить через нього за одиницю часу:
. |
(9.4) |
Відношення корисної потужності насоса до потужності, яку він споживає, називають коефіцієнтом корисної дії (ККД) насоса:
. |
(9.5) |
В свою чергу, ККД насоса є добутком трьох окремих ККД:
 |
(9.6) |
де h0
– об’ємний ККД, який враховує об’ємні втрати потужності в насосі (втрати внаслідок витікання рідин через щілини) і дорівнює відношенню дійсної подачі насоса до його ідеальної подачі:
 |
(9.7) |
hг
– гідравлічний ККД, який враховує гідравлічні втрати потужності в насосі (втрати на долання гідравлічних опорів в насосі) і рівний відношенню напору насоса Нн
до суми напору насоса і втрат напору в насосі (теоретичний напір):
 |
(9.8) |
hм
– механічний ККД – враховує механічні втрати потужності в насосі (в підшипниках, ущільненнях в механізмі насоса та ін.):
; |
(9.9) |
Nмех
– механічні втрати потужності в насосі.
Кавітаційний запас
Відцентрові насоси забезпечують широку область подач і тисків (напорів), але за умовами роботи на стороні усмоктування для них існують обмеження, причиною яких є можливість виникнення в певних зонах усмоктую чого тракту насоса особливого явища – кавітації. Суть кавітації полягає в утворенні розривів суцільності потоку (каверн) в тих місцях, де тиск знижується до величини тиску насиченої пари (рнп
) при даній температурі рідини. Таке зниження тиску призводить до миттєвого скипання рідини і утворення великої кількості бульбочок, заповнених парою та розчиненими в рідині газами. Ці бульбочки переносяться потоком рідини до зон підвищеного тиску, де також майже миттєво руйнуються внаслідок конденсації пари і розчинення газів. Останнє супроводжується мікроскопічними гідроударами великої потужності, які поступово руйнують робоче колесо насоса.
Для порівняння кавітаційних якостей насосів користуються так званим кавітаційним запасом, тобто перевищенням повної питомої енергії потоку рідини на вході в насос над енергією, що відповідає тиску насиченої пари рідини:
 |
(9.10) |
де рвх
– абсолютний тиск рідини на вході в насос; υвх
– швидкість потоку рідини на вході в насос; рнп
– тиск насиченої пари.
Кавітаційний запас, при якому починається кавітація, називається критичним. Стосовно до лопатевих насосів критичний кавітаційний запас підраховується за формулою С.С. Руднєва:
 |
(9.11) |
в якій n – частота обертання робочого колеса, об/хв.; Q – подача насоса, м3
/с; С – кавітаційний коефіцієнт швидкості, який залежить від конструктивних особливостей насоса (для поширених конструкцій відцентрових насосів С=800...1000).
Допустимий кавітаційний запас – це кавітаційний запас, який гарантує роботу насоса без змін основних технічних показників, що зв’язані з виникненням в насосі кавітації:
 |
(9.12) |
Відцентрові лопатеві насоси мають обмеження стосовно висоти їх розташування над рівнем вільної поверхні рідини у витратному (приймальному) резервуарі, з якого насос усмоктує рідину. Ці обмеження обумовлені тиском на поверхні рідини в приймальному резервуарі, швидкістю потоку і величиною втрат енергії у всмоктуючому водопроводі, температурою і фізичними властивостями рідини, тобто факторами, від яких залежить виникнення кавітації на вході в насос.
Допустиму висоту всмоктування, при якій забезпечується робота насоса без зміни основних технічних показників, зв’язаних з виникненням явища кавітації, визначають за формулою:
 |
(9.13) |
де р0
- абсолютний тиск на поверхні витратного резервуара; рнп
– величина тиску насиченої пари рідини; Shw.вс
– сумарні втрати напору у всмоктуючому трубопроводі.
Характеристиками відцентрового насоса називають графічно зображені залежності напору, потужності, ККД, а інколи і допустимої висоти усмоктування, від подачі насоса при сталій частоті обертання робочого колеса. (рис.9.2).

Рис. 9.2
9.1.3 Насосна установка і її характеристика
Насос /група насосів/ з трубопроводами і відповідним комплектуючим обладнаням називається насосною установкою.
На рис 9.3 зображена напівконструктивна схема насосної установки. До насоса 7, який приводиться в дію електроприводом 6, вода надходить з приймального резервуара 1 по всмоктуючому трубопроводу 12. Насос нагнітає рідину в напірний резервуар 2 по напірному трубопроводу. На напірному трубопроводі є регулююча засувка 8, за допомогою якої можна змінювати подачу насоса. Інколи на напірній магістралі встановлюють зворотній клапан 10, який автоматично перекриває напірну магістраль при зупинці насоса. Якщо тиск в приймальному резервуарі відрізняється від атмосферного, або насос розташований нижче рівня рідини в приймальному резервуарі , то на всмоктуючому трубопроводі встановлюють монтажну засувку 11, яку перекривають при зупинці чи ремонті насоса. На вході у всмоктуючу магістраль передбачають запобіжну приймальну сітку 13 для запобігання засмічування насоса і зворотній клапан 14, що дає змогу залити насос і усмоктуючий трубопровід перед пуском. Робота насоса контролюється витратоміром 4, манометром 5, і мановакуумметром 9.

Рис. 9.3. Схема насосної установки: 1 – приймальний резервуар; 2 – напірний резервуар; 3 – напірний трубопровід; 4 – витратомір; 5 – манометр; 6 – електродвигун; 7 – насос; 8 – регулююча засувка; 9 – мановакуумметр; 10, 14 – зворотний клапан; 11 – монтажна засувка; 12 – всмоктувальний трубопровід; 13 – запобіжна приймальна сітка;
Різницю висот рівнів вільних поверхонь рідини в приймальному і напірному резервуарах називають геометричним напором НГ
насосної установки.
Для того щоб подати рідину по трубопроводах установки з примального (витратного) резервуара до напірного, необхідно витратити енергію на підйом рідини на геометричну висоту НГ
, на подолання різниці тисків р//
-р/
в резервуарах і на подолання сумарних гідравлічних витрат Σhw
усмоктуючого і напірного трубопроводів.
Таким чином потрібний напір установки
, |
(9.14) |
де – статичний напір установки. |
(9.15) |
Характеристикою насосної установки називають графічну залежність потрібного напору від витрати рідини в трубопроводі з насосною подачею.
Статичний напір Нст
належить від витрати рідини в трубопроводі, а витрати в загальному випадку виражають формулою 6.2: .
Тому криву потрібного напору (характеристику насосної установки) будують за рівнянням
. |
(9.16) |
При турбулентному режимі течії гідравлічні втрати пропорційні квадрату витрати і
. |
(9.17) |
Для насосної установки, зображеної на (рис. 9.3), її характеристика показана на (рис. 9.4).

Рис. 9.4. Характеристика насосної установки
Розрахунок трубопроводів(мережі) з насосною подачею виконують на основі найважливішого правила:
при усталеному русі рідини в трубопроводах напір Hн
, що створює насос, завжди дорівнює потрібному напору, тобто
. |
(9.18) |
Графоаналітичний метод розрахунку трубопроводів полягає в побудові на одному графіку в однакових масштабах кривих потрібного напору Hпотр.
=f1
(Q) і характеристики насоса Hн
=f2
(Q) і визначенні точки їх перетину.

Точку перетину кривої потрібного напору і характеристики насоса (точка А на рис. 9.5) називають робочою точкою, так як вона визначає єдиний можливий режим роботи насоса на дану мережу (трубопровід) – його напір HА
=Hпотр
; подачу QA
, потужність NA
і ККД ηА
насоса на цьому режимі.
Для того, щоб отримати іншу робочу точку, необхідно змінити або ступінь відкриття регулюючого пристрою (крана, дроселя, вентиля), тобто змінити криву потрібного напору (рис. 9.6), або частоту обертання вала насоса (рис. 9.7)
 
Рис. 9.6
Рис. 9.7
Спільне підключення насосів до однієї мережі використовують в тих випадках, коли потрібно суттєво збільшити продуктивність насосної установки або підвищити її напір. Можливі варіанти паралельного і послідовного з’єднання насосів. В першому варіанті збільшується подача рідини при майже незмінному напорі, в другому – напір потоку при незмінній подачі.
Паралельна робота насосів можлива при однакових напорах насосів в кожний даний момент. На рис. 9.8 зображені: схема паралельного з’єднання двох різних насосів, їх характеристики Hн
=f(Q) (криві І і ІІ), а також характеристика насосної установки Hпотр
=f(Q).
Для отримання робочої точки потрібно побудувати сумарну характеристику цих насосів НΣ
=f(Q) (криву І+ІІ), для чого складають абсциси (подачи Q) точок кривих І і ІІ при однакових ординатах (напорах НН
). Точка А перетину кривих Hпотр
=f(Q) і І+ІІ буде робочою точкою.
Абсциса точки А визначає сумарну подачу обох насосів, ордината її – напір, який розвивають насоси: . Горизонтальна пряма, проведена через точку А, перетинає характеристики обох насосів вточках В і С, які є робочими точками насосів І і ІІ.
Паралельне включення насосів виправдовує себе економічно лише тоді, коли характеристика насосної установки Hпотр.
=f(Q) є положистою кривою.

Рис. 9.8. Визначення режиму роботи паралельно з’єднаних насосів
Послідовна робота застосовується в тих випадках, коли один насос не може забезпечити потрібного напору. При цьому подача насосів однакова, а загальний напір дорівнює сумі напорів обох насосів при одній і тій же подачі.
На рис 9.9 зображена схема послідовного включення двох різних насосів, характеристики яких показані кривими І і ІІ. Сумарну характеристику (крива І + ІІ ) насосів одержують складанням ординат кривих напорів І і ІІ обох насосів. Перетин сумарної характеристики насосів з характеристикою насосної установки дає робочу точку А. Положення її визначає сумарний напір HI
+HII
обох насосів при подачі Q. Якщо через точку А провести вертикальну пряму, то при перетині цієї кривої з кривими напорів І і ІІ отримаємо напори насосів HІ
і HІІ.
Необхідно мати на увазі, що послідовне з’єднання кількох насосів менш економічне порівняно з використанням одного високонапірного насоса. Це пов’язане з тим, що загальний К.К.Д групи послідовно з’єднаних насосів дорівнює добутку К.К.Д кожного з насосів.

Рис. .9.9. Визначення режиму роботи послідовно з’єднаних насосів
9.2 Об’ємні гідромашини
9.2.1 Загальні зауваження
На відміну від динамічних гідромашин робоча камера об’ємної гідромашини являє собою обмежений простір усередині гідромашини, який періодично змінює свій об’єм за рахунок руху робочих органів(поршня, плунжера, пластини, зуба шестерні, тощо) і навперемінно сполучається з місцями входу потоку рідини в гідромашину і виходу з неї.
До особливостей об’ємних гідромашин можна віднести також практичну незалежність витрати рідини від напору (тиску), який реалізується в гідромашині.
На рис 9.10 для прикладу показана напірна характеристика об’ємного насоса при n=const. Деяке зменшення дійсної подачі Qд
порівняно з теоретичною при підвищенні тиску пояснюється збільшенням об’ємних втрат.

Рис. 9.10.
За кількостю робочих камер гідромашини поділяють на однокамерні і багатокамерні, а за конструктивним виконання робочих органів (витискувачів) – на поршневі, шестеренні, пластинчасті, гвинтові тощо.
Якщо робочі камери переміщуються у просторі в результаті обертального руху робочих органів, то такі гідромашини називаються роторними (радіальні і аксіальні роторнопоршневі насоси і гідродвигуни, пластинчасті насоси і гідродвигуни).
Об’ємні насоси за характером руху вхідної ланки поділяють на обертові (вхідна ланка здійснює обертовий рух) і прямодіючі (зі зворотнь-поступальним рухом вхідної ланки).
Об’ємні гідро двигуни за характером руху вихідної ланки поділяють на силові гідроциліндри (вихідна ланка – шток – здійснює зворотно-поступальний рух відносно корпуса машини), моментні гідроциліндри (вихідна ланка – вал – здійснює зворотно-поворотний рух відносно корпуса машини) і гідромотори (вхідна ланка – вал – здійснює необмежений обертальний рух).
9.2.2 Основні параметри, що оцінюють роботу об’ємних гідромашин
Одним із основних параметрів об’ємних гідромашин, який визначає їх розмір, є робочий об’єм.
Робочим об’ємом називають об’єм нестисливої рідини, що подається насосом або приймається гідродвигуном при відсутності витікання за один оберт чи один хід ведучої ланки насоса або веденої ланки гідродвигуна. Фактично робочий об’єм – це теоретична подача насоса чи теоретична витрата рідини гідродвигуном, за один оберт витискувачів.
Робочий об’єм гідромашини і частота її робочих циклів визначають теоретичну подачу насоса Qн.т.
або теоретичну витрату рідини через гідродвигун Qд.т.
:
, |
(9.19) |
де n – частота обертання (частота робочих циклів) гідромашини;
– робочий об’єм гідромашини (м3
/об; м3
/хід); |
(9.20) |
q0
– об’єм однієї робочої камери, м3
, см3
;
z – кількість робочих камер в гідромашині.
Перетворення енергії в гідромашинах завжди супроводжується втратами, які оцінюються повним К.К.Д гідромашини:
тобто відношенням потужності на виході гідромашини до потужності, що подається на вхід до неї.
Так як і для відцентрових насосів, повний К.К.Д об’ємних гідромашин є добутком трьох частинних К.К.Д: об’ємного ( ), гідравлічного ( ) і механічного ( ):
. |
У насосів звичайно бувають відомими вихідні гідравлічні параметри (тиск, подача), а у гідродвигунів – вхідні, що і обумовлює специфіку їх розрахункових залежностей.
Вихідну потужність насоса і вхідну потужність гідродвигуна визначають за формулами:
. |
(9.21)
(9.22)
|
в яких рн
– тиск, що розвиває насос, Н/м2
; Qн
– подача, тобто об’єм рідини, який видає насос, м3
/с; рд
– тиск, що реалізує гідродвигун, Н/м2
; Qд
– витрата рідини гідродвигуном, м3
/с.
Теоретична потужність
насоса:  |
(9.23) |
двигуна:  |
(9.24) |
В цих формулах: рн.т.
– теоретичний тиск, тобто тиск, який би створював насос при відсутності в ньому втрат тиску Δрн
; Qн.т.
– теоретична подача, тобто подача насоса, яку б він мав при відсутності витікань ΔQн
; рд.т
– теоретичний тиск гідродвигуна, тобто тиск, який би він реалізовував при відсутності в ньому втрат тиску Δрд
; Qд.т.
– теоретична витрата рідини гідродвигуном, тобто витрата при відсутності в ньому витікань ΔQд
Вхідна потужність насоса:
 |
(9.25) |
вихідна потужність гідродвигуна:
 |
(9.26) |
де ηн
, ηд
– повні к.к.д. насоса і двигуна відповідно.
Частинні К.К.Д. об’ємних гідромашин визначають за такими формулами,
насос:
гідродвигун:
Вхідна потужність насоса і вихідна потужність гідро двигуна можуть бути розраховані за величиною крутного моменту на валу (роторні насоси і двигуни) або зусилля на штоку поршня (прямодіючі насоси і гідроциліндри)
 |
(9.29) |
 |
де Мн
, Мд
– крутні моменти на вході насоса і на виході гідродвигуна;
ωн
, ωд
– кутові швидкості вхідного валу насосу і вихідного валу двигуна;
Рн
, Рд
– зусилля на штоку насоса і штоку двигуна відповідно;
υн
, υд
– лінійні швидкості штоків насоса і двигуна.
Поршневі гідромашини класифікують за такими ознаками : кратність дії, конструкція витискувача, кількість робочих циліндрів.
За кратністю дії машини поділяють на машини однократної (простої) і багатократної дії; за конструкцією витискувача – на поршневі, плунжерні, диференціальні, мембранні та інші; по кількості робочих циліндрів – на одно – і багатоциліндрові.
9.2.3.1 Поршневі насоси
Основними елементами поршневих насосів є робочий циліндр, поршень (плунжер) і розподільний пристрій, за допомогою якого циліндр навперемінно сполучається то з лінією усмоктування, то з лінією нагнітання.
На рис. 9.11 зображена принципова схема плунжерного насоса простої дії, на рис. 9.12 – схема поршневого насоса подвійної дії, а на рис. 9.13 – схема диференціального насоса.
У насоса простої дії при переміщенні поршня (плунжера) 2 вправо збільшується вільний об’єм циліндра 1 в результаті чого тиск в ньому падає і відкривається усмоктуючий клапан 3. Рідина з усмоктуючої лінії надходить до циліндра. При русі поршня (плунжера) вліво об’єм циліндра зменшується, тиск рідини підвищується, усмоктуючий клапан закривається, а напірний клапан 4 відкривається і рідина витискується в нагнітальну лінію. Таким чином, насос простої дії за один оберт кривошипного вала один раз усмоктує і один раз подає рідину в мережу. Робочий об’єм насоса простої дії визначається об’ємом циліндра між крайніми положеннями поршня (плунжера) в циліндрі:
 |
(9.30) |
Тут D – діаметр поршня, h=2r – хід поршня; r – радіус кривошипа.

Рис. 9.11. Плунжерний насос однократної дії: 1 – циліндр; 2 – плунжер; 3 – усмоктувальний клапан; 4 – напірний клапан

Рис. 9.12. Схема насоса подвійної дії: 1 і 5 – напірний і усмоктуючий патрубки; 2 – поршень; 3 і 7 – напірні клапани; 4 і 6 – усмоктуючі клапани; 8 - циліндр

Рис. 9.13. Схема диференційного насосу: 1 – плунжерна камера; 2 – основна камера
Середня теоретична подача насоса визначається формулою
, |
(9.31) |
в якій n – частота обертання кривошипа, або число подвійних ходів штока поршня в одиницю часу.
В насосах подвійної дії при ході поршня вправо відкриваються всмоктуючий 6 і нагнітальний 3 клапани, при цьому інші два клапани 4 і 7 закриті. Через клапан 6 рідина всмоктується, а через клапан 3 подається в нагнітальний трубопровід в об’ємі . При ході поршня вліво через клапан 4 відбувається всмоктування рідини, а через клапан 7 – нагнітання. За цей хід в нагнітальну лінію поступає рідина в об’ємі .
Середня теоретична подача насоса подвійної дії складає
 |
(9.32) |
В цій формулі D – діаметр поршня, d – діаметр штока; h – хід поршня; п – число подвійних ходів штока в одиницю часу.
Права частина 1 диференціального насоса – це циліндр плунжерного насоса одинарної дії, а ліва – особлива камера 2, яка з’єднана з напірним трубопроводом. Середня теоретична подача диференціального насосу визначається за формулою (9.32).
Характерними для поршневих насосів величинами є відношення ходу поршня до його діаметра і середня швидкість поршня . Приймають ; .
При розрахунках дійсних параметрів роботи поршневих насосів значення частинних к.к.д. вибирають в таких межах ; ; .
Основним недоліком поршневих насосів є нерівномірність подачі. Так, наприклад, для одноциліндрового насоса однократної дії коефіцієнт нерівномірності складає 314%. Для зменшення пульсацій подачі використовують багатоциліндрові насоси з непарним числом робочих циліндрів.
9.2.3.2 Силові гідроциліндри
Силові гідроциліндри належать до об’ємних гідродвигунів і призначені для надання поступального і зворотно-поступального руху вихідній ланці (штоку). Внаслідок своєї конструкційної простоти і експлуатаційних переваг вони є найпоширенішими гідродвигунами в сучасних машинах з об’ємним гідроприводом. Конструктивно гідроциліндри поділяють на поршневі, плунжерні і телескопічні, а за принципом дії – на одно- і двосторонньої дії (рис. 9.14).
Гідроциліндр односторонньої дії має шток з поршнем, або плунжер, які переміщуються силою тиску, рідини тільки в одну сторону. Зворотний хід штока чи плунжера здійснюється під силою зовнішньої або пружини /рис 9.14 а,б,д,е,/. Гідроциліндр двосторонньої дії має поршень з одно- або двостороннім штоком./рис. 9.14 в,г/. Робоча рідина підводиться навперемінно в обидві робочі порожнини, і рух штока в прямому і зворотному напрямах здійснюються тиском рідини.
Порожнину гідроциліндра, в якій переміщується шток, називають штоковою, а порожнину , де шток відсутній – поршневою.
В залежності від того, яка порожнина гідроциліндра з’єднана в даний момент з напірною гідролінією, а яка з лінією зливу рідини, їх відповідно поділяють на робочу і зливну.
Без урахування втрат, зусилля, яке розвиває шток гідроциліндра визначають за співвідношенням
, |
(9.33) |
в якому рр
– тиск рідини в порожнині ; Se
– ефективна площа поршня.
Теоретична швидкість переміщення поршня визначається за формулою
 |
(9.34) |
де Q – витрата робочої рідини, що находить гідроциліндр.

Рис. 9.14. Схеми гідроциліндрів: а, б – гідроциліндри односторонньої дії з одностороннім штоком; в – гідроциліндр двосторонньої дії з двостороннім штоком; г – гідроциліндр двосторонньої дії з двостороннім штоком; д – плунжерний; е – телескопічний гідроциліндр односторонньої дії
Ефективною площею поршня називають площу торця поршня, на яку діє тиск рідини. Так, з боку безштокової /поршневої / порожнини
, (D – діаметр поршня), |
з боку штокової
, (dшт
– діаметр штока), |
Якщо врахувати об’ємні втрати , то дійсна швидкість переміщення поршня
. |
(9.35) |
Тоді витрата рідини робочою порожниною гідроциліндра
, |
(9.36) |
а витрата рідини, що витікає зі зливної порожнини
 |
(9.37) |
Для точного визначення величини зусилля на штоці гідроциліндра з урахуванням тертя, опору зливної лінії та інших протидіючих сил потрібно виходити з рівняння рівномірного прямолінійного руху поршня. В такому випадку дійсне зусилля, що розвиває шток гідроциліндра, визначається рівнянням
, |
(9.38) |
де – механічний ККД гідроцилндра, – сумарна сила протидії з боку зливної порожнини.
В частинному випадку, коли враховується тертя і опір рідини в зливній порожнині, будемо мати
. |
(9.39) |
В цій формулі рзл
– тиск рідини в зливній порожнині; Sезл
– ефективна площа поршня з боку зливної порожнини.
Слід відзначити, що ККД гідроциліндрів визначається в основному механічними втратами енергії на тертя, оскільки .
9.2.3.3 Моментні гідроциліндри або поворотні гідродвигуни
Моментні гідроциліндри або поворотні гідродвигуни (рис.9.15) надають своїй вихідній ланці (валу) зворотно-поворотний рух необмежений кут.
В сучасній техніці поширені, в основному, пластинчасті поворотні гідродвигуни. Основними елементами пластинчастого поворотного гідро двигуна є корпус (циліндр) 3, в якому розміщена поворотна пластина 1, жорстко з’єднана з вихідним валом 2. Пластина ділить циліндр на дві порожнини, які по черзі з’єднуються з лінією високого тиску. Завдяки перепаду тисків в порожнинах циліндра пластина повертається разом з вихідним валом.

Рис. 9.15. Моментний гідроциліндр: 1 – поворотна пластина; 2 – вихідний вал; 3 – циліндр; р1
– тиск в робочому положенні; р2
– тиск у зливній порожнині
Витрату масла пластинчастим гідродвигуном з пластиною прямокутної форми визначають за формулою:
 |
(9.40) |
де R – зовнішній радіус пластини, м; r – радіус втулки пластини, м; b – ширина пластини, м; ωд
– кутова швидкість вихідного вала, рад/с.
Корисний крутний момент на вихідному валу
|
(9.41) |
Тут рр
– тиск масла в робочій порожнині; рзв
– тиск масла у зливній порожнині.
Крутний момент, який можуть розвивати моментні гідро циліндри досягає 2000...3000 Н·м.
При розрахунках моментних гідроциліндрів можна приймати   .
9.2.3.4 Шестеренчасті насоси і гідромотори
Характерною особливістю шестеренчастих гідромашин є простота їх конструкції, незначні габарити і вага. Частіше вони використовуються як насоси і менш як гідромотори.

Рис. 9.16. Шестеренчаста гідромашина: 1 – корпус; 2 – ведуча шестерня; 3 – ведена шестерня; 4 – торцеві диски; 5 – розвантажувальні канали
Найбільш поширений насос (рис.9.16) із зовнішнім зачепленням складається із корпуса 1, де з невеликими торцевими і радіальними зазорами знаходяться зачеплені дві однакові шестерні, з яких 2 – ведуча і 3 – ведена. При обертанні шестерень, коли зуби виходять із западин, відбувається всмоктування рідини. Далі рідина, яка заповнила западини, переноситься по зовнішній дузі в напрямі обертання шестерень. Коли зуби входять в западини, об’єм камери зменшується і рідина витискується в нагнітальну лінію.
Процес подачі рідини шестеренчастим насосом складний порівняно з насосом інших конструкцій. Тому розрахункові формули для визначення подачі насоса або витрати рідини гідромотором дають похибку від 5 до 30 %.
Середнє значення подачі насоса (витрата рідини гідромотором) підраховують за формулою:
 |
(9.42) |
в якій n – частота обертання шестерні, b – ширина шестерні, m – модуль зачеплення, z – число зубів ведучої шестерні.
Ця формула для поширених конструкцій з кількістю зубів 8...15 і з точністю 2...3% характеризує середню розрахункову подачу (витрату).
Розрахункове значення крутного моменту знаходять за формулою:
 |
(9.43) |
де – перепад тиску, що спрацьовується в гідромоторі.
Розрахункова потужність насоса чи гідромотора :
 |
(9.44) |
У шестеренчастій гідромашині головну частину потужності, що втрачається, складають втрати на тертя. В середньому приймають 
9.2.3.5 Пластинчасті насоси і гідромотори
Пластинчасті гідромашини – це роторні гідромашини з рухомими елементами у вигляді ротора, який здійснює обертальний рух, і пластин (шиберів), що обертаються разом з ротором і в той же час здійснюють зворотно-поступальний рух в пазах ротора.
Пластинчасті гідромашини бувають однократної і багатократної дії, одноступінчасті і багатоступінчасті.
Гідромашина (насос або гідромотор) однократної дії (рис.9.17) складається з ротора 1, вісь обертання якого, зміщена відносно осі статора 2 на величину ексцентриситету е. В пазах ротора встановлені пластини 3, які притискуються до внутрішньої поверхні статора або тиском рідини, або пружинами.
Для відокремлення усмоктуючої порожнини 5 від нагнітальної 6 в статорі передбачені ущільнювальні виступи І-ІІ і ІІІ-ІV. Ущільнення ротора з торців забезпечують диски 4.

Рис. 9.17. Пластинчаста гідромашина: 1 – ротор; 2 – статор; 3 – пластина (шибер); 4 –диски ущільнювальні; 5 – вхідна порожнина; 6 – вихідна порожнина
Кожна камера за повний оберт бере участь в нагнітанні рідини один раз, і тому такий насос (гідромотор) називають насосом однократної (простої) дії.
Середня теоретична подача (витрата) гідромашини буде:
 |
(9.45) |
де b – ширина ротора; е – ексцентриситет; n – частота обертання ротора ; D – діаметр розточки корпуса статора (D=2r); z – число пластин; δ – товщина пластини.
В практиці широко розповсюджені нерегульовані пластинчасті насоси двохкратної дії, перевагами яких є зрівноваженість радіальних сил тиску рідини на пластинчастий ротор, а також більший робочий об’єм і К.К.Д. Фактично насос двохкратної дії складається з двох насосів простої дії, які розміщені в одному корпусі.
Подача насоса двохкратної дії з радіальним розташуванням пластин визначається за формулою:
 |
(9.46) |
в якій, r1
i r2
– більший і менший радіуси статора.
Пластинчасті гідромашини використовують також як гідромотори, для чого в насосах потрібно передбачити механізм притиску пластин до статора в момент пуску мотора.
Середній крутний момент на валу гідромотора простої (однократної) дії знаходять з формули:
 |
(9.47) |
де - перепад тиску, який спрацьовується в гідромоторі, QT
– теоретична витрата гідромотора, n – частота обертання; МТ
– теоретичний крутний момент.
Відповідно, теоретичний (розрахунковий) крутний момент гідромотора двохкратної дії буде дорівнювати:
 |
(9.48) |
9.2.3.6 Радіально – поршневі гідромашини
Роторна радіально – поршнева гідромашина являє собою гідромашину (насос або гідромотор), в якій осі поршнів чи плунжерів перпендикулярні до осі обертання ротора або складають з нею кути більші за 450
На рис. 9.18 зображена принципова схема радіально-поршневої гідромашини. Основними конструктивними елементами таких гідромашин є циліндровий блок 2, поршні 1, розподільний пристрій 3, напрямні обойми 4, канали 5 і 6, а також пристрій, за допомогою якого обойма 4 переміщується відносно осі блока 2 на величину ексцентриситету е. Роль розподільного пристрою виконує порожниста вісь з ущільнювальною перемичкою, на якій розміщений циліндричний блок, що обертається. При обертанні блока циліндри своїми каналами по черзі з’єднуються з каналами всмоктуваннями 5 і нагнітання 6, розташованими в порожнистій осі. Якщо , то поршні обкочуються по обоймі і здійснюють в циліндрах зворотно – поступальний рух. При роботі гідромашини в режимі насоса руху поршнів від центра обертання до периферії відповідає процес всмоктування рідини, а рух поршнів до центра – процесу нагнітання; При роботі гідромашини в режимі мотора робочий хід супроводжується переміщенням поршнів від центра, а витиснення рідини - рухом поршнів до центра. Зміна величини і знаку ексцентриситету дозволяє змінювати величину подачі і напрям потоку рідини.

Рис. 9.18. Схема радіально-поршневої гідромашини: 1 – поршні; 2 – циліндровий блок; 3 – розподільчий пристрій; 4 – напрямна обойма; 5, 6 – канали підведення та відведення робочої рідини
Середня теоретична подача гідромашини:
. |
(9.49) |
Тут d – діаметр поршня; h=2e – хід поршня, який дорівнює подвійній величині ексцентриситету; z – число поршнів; n – частота обертання.
Середню теоретичну величину крутного моменту на валу радіального поршневого гідромотора визначають за формулою:
 |
(9.50) |
де - перепад тиску, який спрацьовує мотор.
9.2.3.7 Роторні аксіально-поршневі гідромашини
Аксіальні роторно-поршневі гідромашини бувають з нахиленою шайбою (рис.9.19 а) і з нахиленим блоком циліндрів (рис.9.19 б). Вони складаються з циліндрового блоку 1, поршнів 2, розподільного пристрою 3, приводного валу 4 і пристрою для зміни кута α нахилу шайби або блока. Максимальне значення кута α=20…300
.

Рис.9.19. Схеми аксіальних роторно-поршневих гідромашин: а – аксіальна роторно-поршнева гідромашина з похилою шайбою; б – аксіальна роторно-поршнева гідромашина з похилим циліндром; 1 – роторно-циліндровий блок; 2 – поршні; 3 – розподільчий пристрій; 4 – приводний вал; 5 – шатуни; 6 – похила шайба; 7, 8 – вікна, що з’єднують поршні з лініями високого і низького тиску; 9 – ведучий диск
При обертанні блока 1 поршні 2, зв’язані шатунами 5 з нахиленою шайбою 6 або ведучим диском 9, здійснюють зворотно-поступальний рух в циліндрах. При віддаленні від розподільного вузла 3 поршні здійснюють всмоктування (насос) або робочий хід (двигун), а при наближенні – нагнітання (насос) або робочий хід (двигун), а при наближенні – нагнітання (насос) чи холостий хід (двигун). Підвід рідини до циліндрів і відвід від них здійснюється через отвори в торці циліндрового блока, які по черзі з’єднуються з розподільними серповидними вікнами 7 і 8, що є в розподільнику 3.
Зміною кута α можна регулювати не тільки подачу, а і напрям потоку рідини в гідромашині.
Середня розрахункова подача (витрата) гідромашини
, |
(9.51) |
де d – діаметр циліндричної камери (поршня); Dб
– діаметр кола на блоці, де розташовані осі циліндрів; z – число циліндрів; n – частота обертання вала машини.
При подачі рідини під тиском в циліндри блока машина буде працювати в режимі гідромотора. Середній крутний момент на вихідному валу розраховують за формулою
, |
(9.52) |
в якій - перепад тиску, що спрацьовується в гідромашині.
|