| Физико-химические методы очистки.
Данные методы используют для очистки от растворенных примесей, а в некоторых случаях и от взвешенных веществ. Многие методы физико-химической очистки требуют предварительного глубокого выделения из сточной воды взвешенных веществ, для чего широко используют процесс коагуляции.
В настоящее время в связи с использованием оборотных систем водоснабжения существенно увеличивается применение физико-химических методов очистки сточных вод, основными из которых являются:
· флотация,
· сорбция,
· ионообменная и электрохимическая очистка,
· гиперфильтрация,
· нейтрализация,
· экстракция,
· эвапорация,
· выпаривание, испарение и кристаллизация.
|
****************************************************************************************************************
| <<< Физико-химические методы очистки воды
кратко
Флотация
Флотация предназначена для извлечения из воды гидрофобных частиц (нефтепродукты) пузырьками газа, подаваемого в сточную воду. В основе этого процесса имеет место молекулярное слипание частиц масла и пузырьков тонкодиспергированного в воде газа. Образование агрегатов «частица — пузырьки газа» зависит от интенсивности их столкновения друг с другом, химического взаимодействия содержащихся в воде веществ, избыточного давления газа в сточной воде и т. п.
Флотация — метод извлечения из жидкости диспергированных и коллоидных включений, основанный на способности частиц прилипать к газовым пузырькам (образуя флотокомплексы) и переходить вместе с ними в пенный слой. Сущность флотационного процесса заключается в специфическом действии молекулярных сил, вызывающих слипание частиц примесей с пузырьками газа, всплывание флотокомплексов и образованию на поверхности жидкости пенного слоя, содержащего извлеченные вещества. Слипание пузырьков воздуха происходит только с гидрофобными частицами (несмачиваемыми водой) или частицами, имеющими гидрофобные участки поверхности. Следовательно, для интенсификации флотационного процесса рекомендуется использовать реагенты, которые, находясь в воде, сорбируются на поверхности частиц, понижая их смачиваемость, а значит, повышают гидрофобизацию загрязнений. Кроме того следует отметить, что понижение поверхностного натяжения повышает эффект флотационной очистки воды. Образование флотокомплексов (агрегатов «частица — пузырьки газа») зависит от интенсивности их столкновения друг с другом, химического взаимодействия содержащихся в воде веществ, избыточного давления газа в сточной воде и т. п.
В зависимости от способа образования пузырьков газа различают следующие виды флотации:
· напорную,
· пневматическую,
· механическую,
· электрофлотацию,
· пенную,
· химическую,
· вибрационную,
· биологическую и др,
В настоящее время на станциях очистки широко используют напорную, пневматическую и электрофлотацию.
|
| 
|

|
| 
|

|
| 
|

|
| 
|

|
Вид содержащихся в воде загрязнений определяет характер флотационной обработки: одним воздухом или воздухом в сочетании с различными реагентами, прежде всего коагулянтами Использование коагулянтов позволяет значительно повысить эффективность флотационной очистки и удалять загрязнения находящиеся в воде в виде стойких эмульсий и взвесей, а также в коллоидном состоянии.
Важное значение имеют также условия и способы удаления пены.
Пена образуется на поверхности воды в результате всплывания пузырьков воздуха, несущих на себе удаляемые из воды примеси. Она должна быть достаточно прочной и не допускать попадания загрязнений в воду. Кроме того, пена должна обладать определенной подвижностью при перемещении её к сбросным устройствам. Устойчивость и подвижность пены зависит от свойств и количества реагентов и загрязнений, вносимых в пенный слой. Стабилизации пены способствует наличие в воде хлопьев коагулянта, мелких частиц взвеси и поверхностно-активных веществ. Как правило, удаление пены из флотатора производят либо кратковременным подъемом уровня воды с отводом ее через лотки, расположенные равномерно по площади камеры, либо с помощью скребковых механизмов (пеногонов), перемещающих пену к сборным лоткам.
****************************************************************************************************************
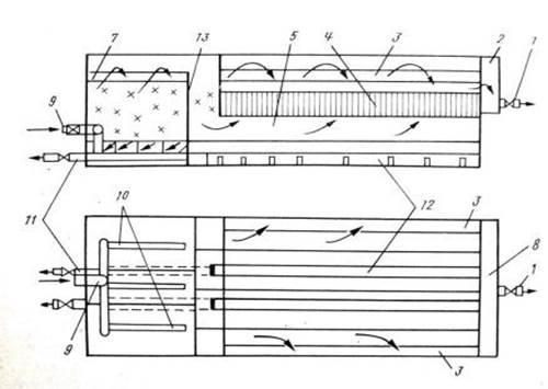
Метод пневматической флотации
|
Метод пневматической флотации. Данный метод основан на подаче сжатого газа (воздуха) в аэрационно-распределительную систему флотокамеры.
Аэрационная система представляет собой мелкопузырчатые аэраторы различных типов – мембранные дисковые аэраторы, перфорированные резиновые шланги, пористые трубы и пластины и т.д. Газ под давлением проходит через отверстия аэраторов и в виде пузырьков одинакового диаметра выходит в очищаемую жидкость. Пузырьки под действием силы Архимеда всплывают, встречая на своем пути частицы загрязнений и образуя с ними довольно устойчивые комплексы.
За счет равномерной подачи воздуха и образования пузырьков с одинаковыми размерами обстановка во флотационной камере спокойная, что обеспечивает надежный подъем флотокомплексов и получение устойчивого пенного продукта.
****************************************************************************************************************
Метод напорной флотации. Сущность этого метода заключается выделении пузырьков газа из пресыщенного раствора при перепаде давления. Газ выделяется в виде микропузырьков, зарождающихся непосредственно на частицах загрязнения, образуя прочные флотокомплексы. В данном методе во флотационную камеру подается два потока воды: очищаемая вода и рабочая жидкость (вода насыщенная растворенным газом в количестве 10% от общего потока). Рабочая жидкость готовится в сатураторе – аппарате, где происходит растворение газа. Рабочее давление в сатураторе составляет 3-9 Бар, время растворения не более 5 минут. В качестве рабочей жидкости может использоваться или исходная вода, но при этом усложняется эксплуатация, или очищенная вода, при этом увеличиваются габариты флотокамеры.
Очищаемая вода равномерно вводится во флотокамеру. Поток рабочей жидкости вводится через форсунки с высокой скоростью - 15-20 м/с. В результате резкого снижения давления на частицах загрязнений выделяется газ и протекает флотационный процесс.
Способ напорной флотации позволяет путем регулирования давления легко изменять количество растворенного воздуха и размер пузырьков, вводимых в обрабатываемую воду, в зависимости от состава взвеси в исходной воде.
Основные достоинства и недостатки метода напорной флотации.
Процесс напорной флотации отличается высокой эффективностью захвата мельчайшими пузырьками воздуха частиц загрязнений за счет того, что пузырьки выделяются из раствора непосредственно на загрязнениях, образуя хорошо сохраняющиеся флотокомплексы. Прочность флотокомплексов обеспечивается за счет малости размеров пузырьков, а также за счет того, что на одной частичке может образоваться несколько пузырьков. Однако скорость подъема таких флотокомплексов довольно низкая, а порой мельчайшие пузырьки не могут поднять частицу и комплекс находится во взвешенном состоянии, что можно увидеть при помощи стереомикроскопа. Таким образом, при напорной флотации обеспечивается прочное слипание пузырьков с загрязнениями, но при этом наблюдается небольшая скорость подъема образующихся флотокомплексов.
****************************************************************************************************************
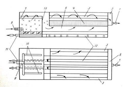
Метод механической флотации.
|
Метод механической флотации.
Основным элементом в данном методе является импеллерный блок, включающий электродвигатель и импеллер в обсадной трубе.
За счет высокой скорости вращения создается воронка и разряжение в нижней части, через отверстия обсадной трубы подсасывается воздух и попадает под вращающиеся лопатки, которые его дробят на мелкие пузырьки. Именно эти пузырьки и распределяются по объему жидкости и благодаря им протекает процесс флотации. Мелкие флотокомплексы, не успевшие подняться, задерживаются в тонкослойном осветлителе.
****************************************************************************************************************
Метод электрофлотации.
Сущность этого метода заключается выделении газовых пузырьков на электродах при прохождении электрического тока.
В настоящее время на станциях очистки широко используют электрофлотацию, так как протекающие при этом электрохимические процессы обеспечивают дополнительное обеззараживание сточных вод. Кроме того, применение для электрофлотации алюминиевых или стальных электродов обусловливает переход ионов алюминия или железа в раствор, что способствует коагулированию мельчайших частиц механических примесей сточной воды.
Для очистки сточных вод электрофлотацией нами разработаны опытные лабораторные и промышленные аппараты с вертикальным и горизонтальным расположением электродов. Аппарат с вертикальным расположением электродов состоит из корпуса и электродов, пространство между которыми заполнено очищаемой жидкостью. При подключении электродов к источнику питания происходит выделение газов на электродах: на аноде - кислорода, на катоде - водорода. Наряду с этим происходит растворение анода, изготовленного из дюралюминия (или стали). Образующийся гидроксид алюминия (железа) сорбирует частицы загрязнений с образованием хлопьев. Одновременно пузырьки кислорода и водорода слипаются с образующимися хлопьями. Флотокомплексы хлопья - пузырьки газов поднимаются вверх и образуют пенный слой.
****************************************************************************************************************
| <<< Физико-химические методы очистки воды
кратко
Сорбция
Сорбцию применяют для очистки жидкостей и газов от растворимых примесей. Процессы сорбции могут протекать:
· на поверхности (адсорбция);
· в объеме (абсорбция).
Адсорбция - называется процесс избирательного поглощения примесей из жидкостей или газов поверхностями твердых материалов - адсорбентов. Особенностью адсорбционных методов улавливания примесей является их относительно высокая эффективность в области малых концентраций примесей при значительных расходах перерабатываемых потоков.
Избирательное поглощение молекул поверхностью твердого адсорбента происходит вследствие воздействия на них неуравновешенных поверхностных сил адсорбента.
Различают два вида адсорбции:
· физическая адсорбция, протекает за счет сил молекулярного взаимодействия,
· химическая адсорбция (хемосорбция), протекает за счет вступления в химическую реакцию молекулы поглощаемого вещества с молекулами поверхности адсорбента.
Процесс физической адсорбции обратимый, поэтому на практике после стадии адсорбции часто проводят обратный процесс – десорбции. Необходимость десорбции обусловлена либо требованием регенерации адсорбента для его последующего использования в процессе адсорбции, либо необходимостью выделить целевой компонент в чистом или концентрированном виде. В качестве адсорбентов используют любые мелкодисперсные материалы: золу; торф; цеолиты; силикагели; опилки; шлаки и глину. Наиболее эффективный сорбент — активированный уголь.
Активированный уголь
Активированный уголь получают термической обработкой дерева, углей (каменного и бурого), антрацита и других углеродосодержащих веществ. Они изготавливаются и используются в виде гранул размером 2—5 мм. Угли, предназначенные для поглощения относительно крупных молекул примесей из жидкостей, должны иметь развитую структуру переходных пор. Активные угли, как правило, имеют хорошие адсорбционные свойства по отношению к молекулам органических веществ, но имеют низкую механическую прочность.
Силикагель
Силикагель получают термообработкой аморфного кремнезема. Мелкопористые силикагели обладают высокой адсорбционной способностью по отношению к молекулам влаги и более высокой по сравнению с активными углями механической прочностью. Выпускаются мелко-, средне- и крупнопористые силикагели. Другим типом неорганических адсорбентов, широко применяемых для осушки различных сред и иных процессов избирательной адсорбции, является активный оксид алюминия и алюмогели, свойства и область использования которых близки к силикагелям.
Алюмогель
Алюмогель - неорганический адсорбент, широко применяемый для осушки различных сред и иных процессов избирательной адсорбции, свойства и область использования алюмогеля близки к силикагелям.
Цеолиты
Цеолиты представляют собой алюмосиликаты и отличаются регулярной пористой структурой. Из мелких кристалликов природных или синтетических цеолитов при помощи связующего или без него формируются гранулы размером 2?4 мм. Цеолиты широко применяются для улавливания паров воды, а также в нефтеперерабатывающей промышленности для очистки и регенерации масел, повышения степени очистки и качества жидких топлив. Как и другие адсорбенты, цеолиты используются для очистки продуктов пищевой промышленности, сточных вод и промышленных газовых выбросов от органических примесей. Цеолиты обладают ионообменными свойствами, которые в настоящее время широко используются в промышленности и сельском хозяйстве. Цеолиты имеют необычайно широкую сферу использования в промышленности и сельском хозяйстве. Они применяются в нефтехимии, как осушитель газов и сред, для очистки питьевых и технических вод, для извлечения радионуклидов, в качестве катализатора, в строительстве, для улучшения почвы, в качестве удобрения, для подкормки животных и т.д.
Промышленные адсорбенты за счет пористой структуры обладают развитой внутренней поверхностью, что позволяет поглощать значительные количества адсорбируемого компонента (до 0,3 кг/кг). Для адсорбционной очистки воды применяют в основном два типа фильтров: зернистые фильтры
и патронные фильтры
.
Абсорбция - называется процесс извлечения компонента из одной фазы и растворение его в другой фазе—в поглотителе.
Требования, предъявляемые к поглотителю:
· 1. высокая поглотительная способность (высокой поглотительной способностью обладают такие поглотители, для которых давление насыщенных паров компонента над его раствором в поглотителе при температуре абсорбции мало);
· 2. поглотитель должен легко десорбироваться (регенерироваться);
· 3. иногда должен обладать селективностью (т.е. поглощать только определенные компоненты);
· 4. должен обладать низкой летучестью (низким давлением паров);
· 5. он должен сохранять свои свойства в процессе работы;
· 6. он должен быть дешевым и доступным;
· 7. не должен оказывать коррозионного действия;
· 8. обладать высоким коэффициентом массопередачи.
Обычно один поглотитель не обладает всеми требуемыми свойствами, поэтому следует выбирать абсорбент по основным свойствам.
Абсорберы представляют собой колонны, в которых протекает поглощающая жидкость, через которую пробулькивает очищаемый газ. Для обеспечения надежного контакта газа с жидкостью, а также увеличения времени пребывания газа в аппарате, в колонне находятся специальные тарелки и насадки. Наиболее просты по конструкции провальные тарелки, их разновидность — гофрированные провальные тарелки. Диаметр сливных отверстий равен 4 - 8 мм. Иногда применяют клапанные провальные тарелки. Их достоинством является то, что когда газ не проходит через колонну жидкость не протекает, т.е. такие тарелки более экономичные.
|
| 
|
| 
|
Под загрязнением водных ресурсов понимают любые изменения физических, химических и биологических свойств воды в водоемах в связи со сбрасыванием в них жидких, твердых и газообразных веществ, которые причиняют или могут создать неудобства, делая воду данных водоемов опасной для использования, нанося ущерб народному хозяйству, здоровью и безопасности населения.
Загрязнение поверхностных и подземных вод можно классифицировать следующим образом :
• механическое - повышение содержания механических примесей, свойственное в основном поверхностным видам загрязнений;
• химическое - наличие в воде органических и неорганических веществ токсического и нетоксического действия;
• бактериальное и биологическое - наличие в воде разнообразных патогенных микроорганизмов, грибов и мелких водорослей;
• радиоактивное - присутствие радиоактивных веществ в поверхностных или подземных водах;
• тепловое - выпуск в водоемы подогретых вод тепловых и атомных электростанций.
Основными источниками загрязнения и засорения водоемов являются недостаточно очищенные сточные воды
промышленных и коммунальных предприятий, крупных животноводческих комплексов; отходы производства при разработке рудных ископаемых, сточные воды шахт и рудников; сточные воды при обработке и сплаве лесоматериалов; стоки водного и железнодорожного транспорта; техногенные отходы предприятий металлургического комплекса и т. д.
Загрязняющие вещества сточных вод, попадая в природные водоемы, приводят к качественным изменениям, которые в основном проявляются в изменении физических свойств воды (появление неприятного запаха, привкуса и др.), в изменении ее химического состава.
Производственные сточные воды
Производственные сточные воды
в основном загрязнены отходами и выбросами производства. Количественный и качественный состав таких стоков разнообразен и зависит от отрасли промышленности, ее технологических процессов. По составу сточные воды делят
на три основные груп пы, содержащие:
• неорганические примеси (в том числе токсические);
• органические примеси;
• неорганические и органические загрязняющие примеси.
К первой группе относятся сточные воды содовых, сульфатных, азотно-туковых заводов, обогатительных фабрик свинцовых, цинковых, никелевых руд и т. д., в которых содержатся кислоты, щелочи, ионы тяжелых металлов и др. Сточные воды этой группы
в основном изменяют физические свойства воды
.
Сточные воды второй группы сбрасывают нефтеперерабатывающие и нефтехимические заводы, предприятия органического синтеза, коксохимические и др. В стоках содержатся различные нефтепродукты, аммиак, альдегиды, смолы, фенолы и другие вредные вещества.Вредоносное действие сточных вод этой группы
заключается, главным образом, в окислительных процессах
, вследствие которых уменьшается содержание в воде кислорода, увеличивается биохимическая потребность в нем, ухудшаются органолептические показатели воды.
Сточные воды третьей группы образуются в процессах гальванохимической обработки поверхностей, производстве печатных плат электронной техники, в коксохимических и других технологических процессах. В составе этих стоков присутствуют неорганические кислоты, ионы тяжелых металлов, ПАВ, масла, красители, смолы и другие вещества.
Нефть и нефтепродукты на современном этапе являются основными загрязнителями внутренних водоемов, вод и морей Мирового океана. Попадая в водоемы, они создают разные формы загрязнения: плавающую на воде нефтяную пленку, растворенные или эмульгированные в воде нефтепродукты, осевшие на дно тяжелые фракции и т. д. При этом изменяется запах, вкус, окраска, поверхностное натяжение, вязкость воды, уменьшается количество кислорода, появляются вредные органи ческие вещества, вода приобретает токсические свойства и представляет угрозу не только для человека. Всего 12 г нефти делают непригодной для употребления тонну воды.
Довольно вредным загрязнителем промышленных вод является фенол. Фенол содержится в сточных водах
многих нефтехимических предприятий и коксохимических производств. При этом резко снижаются биологические процессы водоемов, процесс их самоочищения, вода приобретает специфический запах карболки.
Сточные воды целлюлозно-бумажной промышленности
На жизнь обитателей водоемов пагубно влияют сточные воды целлюлозно-бумажной промышленности
. Окисление древесной массы, разложение смолы и других экстрактивных продуктов сопровождается поглощением значительного количества кислорода, что приводит к гибели икры, мальков и взрослых рыб. Из гниющей древесины и коры выделяют ся в воду различные дубильные вещества, а топляк нередко полностью забивает дно, лишая рыб нерестилищ и кормовых мест. Волокна и другие нерастворимые вещества стоков засоряют воду и ухудшают ее физико-химические свойства. На рыбах и на их корме - беспозвоночных - неблагоприятно отражаются молевые сплавы.
Объекты ядерной энергетики загрязняют реки радиоактивными стоками. Радиоактивные вещества концентрируются в мельчайших планктонных микроорганизмах и в рыбе, затем по цепи питания передаются другим животным. Установлено, что радиоактивность планктонных обитателей в тысячи раз выше, чем радиоактивность воды, в которой они живут.
Радиоактивные сточные воды
Сточные воды, имеющие повышенную радиоактивность
(100 Кюри на 1 л и более), подлежат захоронению в подземных бессточных бассейнах и специальных резервуарах.
Рост населения, расширение старых и возникновение новых городов значительно увеличили поступление бытовых стоков во внутренние водоемы. Эти сточные воды стали источником загрязнения рек и озер болезнетворными бактериями и гельминтами. В еще большей степени загрязняют водоемы моющие синтетические средства, широко используемые в быту. Они находят широкое применение также в промышленности и сельском хозяйстве. Содержащиеся в них химические вещества, поступая со сточными водами в реки и озера, оказывают значительное негативное влияние на биологический и физический режимы водоемов. В результате снижается способность вод к насыщению кислородом, парализуется деятельность бактерий, минерализующих органические вещества.
В связи с расширением пищевой промышленности и животноводства все более дают о себе знать стоки предприятий данных отраслей.
Сточные воды, содержащие растительные волокна, животные и растительные жиры, фекальную массу, остатки плодов и овощей, отходы кожевенной и целлюлозно-бумажной промышленности, сахарных и пивоваренных заводов, предприятий мясомолочной, консервной и кондитерской промышленности, являются причиной органических загрязнений водоемов.
В сточных водах обычно содержится около 60% веществ органического происхождения, к этой же категории органических веществ относятся биологические загрязнения (бактерии, вирусы, грибы, водоросли) в коммунально-бытовых, медико-санитарных водах и отходах кожевенных и шерстомойных предприятий.
Сточные воды тепловых электростанций
Нагретые сточные воды тепловых электростанций
и других производств причиняют «тепловое загрязнение», которое угрожает довольно серьезными последствиями: в нагретой воде меньше кислорода, резко изменяется термический режим, что отрицательно влияет на флору и фауну водоемов, при этом возникают благотворные условия для массового развития в водохранилищах сине-зеленых водорослей - так называемого «цветения воды».
При использовании в технологических процессах вода загрязняется различными органическими и минеральными веществами, в том числе и ядовитыми. Одним из источников загрязнения окружающей среды вредными веществами, и в первую очередь тяжелыми металлами, являютсясточные воды гальванических производств
.
Сточные воды гальванических производств
Гальванические покрытия используются практически во всех отраслях промышленности. В Российской Федерации по оценке специалистов сегодня существует около 7000 таких цехов (только в Москве более 300 гальванических цехов и участков, производств печатных плат электронной техники). Гальваническое производство является одним из крупных потребителей цветных металлов и достаточно дорогих химических реактивов. Оно потребляет не менее 15% никеля, 50% цинка, 70% меди, производимых в нашей стране. Общая поверхность изделий, подвергаемых гальваническому покрытию, к 2002 г. превышала 0,5 млрд м2
/г, а к 2005 г. составила до 2 млрд м2
/г. Несмотря на существенные различия в техноло гии металлопокрытий различных изделий, все они создают в процессе эксплуатации отходы, которые могут находиться в жидком, твердом, пастообразном или газообразном состоянии, представляя собой различную степень опасности и токсичности для окружающей природной среды и человека.
Ежегодно для промывки изделий после гальванических покрытий расходуется не менее 650 млн. тонн чистой воды. Ежегодно при промывке изделий после гальвано-химических покрытий из рабочих ванн выносится не менее 3300 т цинка, 2400 т никеля, 2500 т меди, десятки тысяч тонн других металлов, кислот и щелочей.
Источниками загрязнения окружающей среды в гальванотехнике являются не только промывные воды, но и отработанные концентрированные растворы. Выход из строя рабочих растворов происходит по причинам накопления в электролитах посторонних органических и неорганических веществ и нарушения соотношения основных компонентов гальванических ванн. Сбросы отработанных растворов по объему составляют 0,2-0,3% от общего количества сточных вод, а по общему содержанию сбрасываемых загрязнений достигают 70%. Залповый характер таких сбросов нарушает режим работы очистных сооружений, приводит к безвозвратным потерям ценных материалов.
Попадание неочищенных или недостаточно очищенных сточных вод и других видов отходов, содержащих цветные металлы, в водные объекты наносит ущерб народному хозяйству и окружающей природе не только из-за потерь используемых в производстве металлов, но и вслед ствие огромного негативного их воздействия на окружающую среду. Так, по данным Москомприроды, в Москве за сутки из-за несовершенства технологий обработки сточных вод и осадков сбрасывается в канализацию более 100 тыс. тонн жидких отходов, содержащих около 18 т цветных металлов. В списке городов РФ Москва числится одним из городов с высокой степенью загрязнения воздуха, воды и почвы.
Техногенные источники опасности в последние годы становятся более серьезными факторами экологического риска, чем природные. В Москве насчитывается более 70 химически опасных объектов (ХОО). К химически опасным объектам Москвы относятся две группы предприятий. Первая группа - промышленные предприятия, на которых опасные химические вещества являются исходным сырьем, образуются на промежуточных стадиях технологических процессов, являются конечными продуктами, используются при производстве тех или иных изделий. Вторая группа - это многочисленные объекты пищевой промышленности, в которой сильнодействующие ядовитые вещества используются в холодильных установках и морозильниках (аммиак), оптовые продуктовые базы (аммиак), водоочистные станции (хлор), объекты Мосводоканала, склады и базы химических реактивов и кислот, ТЭЦ (аммиак, серная и соляная кислота), автозаправочные станции (бензин, дизельное топливо) и другие. Нужно отметить, что 50 из 70 химически опасных объектов относятся ко второй группе. Причем, объекты второй группы, как правило, располагаются обычно в черте города - в густонаселенных районах. На ХОО Москвы содержится от 1,5 до 170 т аммиака, от 10 до 400 т соляной кислоты, от 5 до 340 т хлора, до 60 т серной кислоты и до 110 т азотной кислоты.
В то же время на территории Москвы расположено свыше 5 тыс. промышленных предприятий и организаций, в том числе около 2,5 тыс. автотранспортных хозяйств, 13 тепловых электростанций и их филиалов (ТЭЦ), 63 тепловых районных и квартальных станций (РТС и КТС), 103 отопительных котельных, более 1200 промышленных и коммунально-бытовых котельных (КБК). Их сточные воды и выбросы различны и многообразны, поэтому выдача рекомендаций по очистке или утилизации стоков и выбросов затруднительна. Данную проблему невозможно решить, используя глобальный и единый подход. Решение возможно только на базе всестороннего изучения состава стоков, их классификации, а затем подбора соответствующего очистного оборудования.
Сточные воды химической промышленности
Сточные воды, образующиеся на предприятиях химических производств
, а также стоки, отводимые с территории промышленных предприятий, можно разделить на три категории:
• производственные сточные воды (использованные в технологическом процессе производства или образующиеся при добыче полезных ископаемых);
• бытовые стоки (от санитарных узлов производственных и непроизводственных корпусов и зданий, а также от душевых установок, имеющихся на территории промышленных предприятий);
• атмосферные стоки (дождевые и образующиеся от таяния снега).
Производственные сточные воды
можно подразделить на два основных вида: незагрязненные и загрязненные.
Незагрязненные производственные сточные воды
поступают от холодильных, компрессорных, теплообменных аппаратов. Кроме того, такие стоки образуются при охлаждении технологического оборудования и продуктов производства
Загрязненные производственные сточные воды
содержат различные примеси, такие стоки могут быть загрязнены преимущественно органическими или преимущественно минеральными примесями.
Производственные сточные воды можно различать также по физи ческим свойствам, например, по температуре кипения: кипящие при температуре ниже 120 °С, 120-250 °С и выше 250 °С (в зависимости от свойств содержащихся в них примесей).
По степени агрессивности сточные воды разделяют на:
• слабоагрессивные (слабокислые, рН 6-6,5 и слабощелочные, рН 8-9);
• сильноагрессивные (сильнокислые, рН < 6 и сильнощелочные, рН > 9);
• неагрессивные (рН 6,5-8).
Для формирования состава производственных сточных вод большое значение имеет вид перерабатываемого сырья. Так, основным загрязняющим компонентом сточных вод нефтеперерабатывающих предприятий является нефть, нефтепродукты. Состав сточных вод зависит также от технологического процесса, состава исходных компонентов, промежуточных продуктов, выпускаемых продуктов, состава исходной воды, местных условий и от других факторов.
На различных предприятиях даже при одинаковых технологиче ских процессах состав производственных сточных вод, режим водоотведения и удельный расход на единицу выпускаемой продукции будут неодинаковы.
Качественная характеристика производственных сточных вод
важна для выбора метода их очистки, контроля эксплуатации очистных сооружений и сбросом сточных вод, а также для решения вопросов о возможности повторного использования стоков, извлечения и утилизации веществ, загрязняющих воду.
|