ПАСИВНІ ОПТИЧНІ МЕРЕЖІ
1. Загальні принципи передачі та прийому
Пасивні оптичні мережі PON (passіve optіcal network) – сімейство технологій широкополосного доступу по оптичному волокну. Суть технології складається у використанні одноволоконної оптичної лінії за принципом «точка-багато точек» без проміжних оптичних підсилювачів. Відводи до споживачів виконуються за допомогою розгалужувачів (спліттерів) – дільників оптичної потужності.
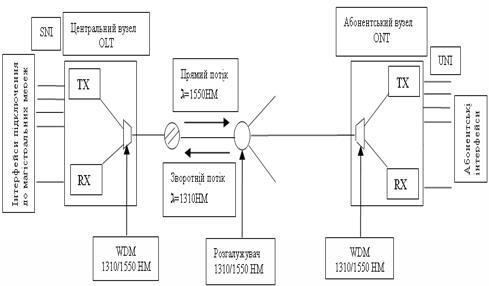
Структурно пасивна оптична мережа складається із трьох елементів: центрального вузла (OLT), пасивних оптичних розгалужувачів (мережевих вузлів) і абонентських вузлів (ONT) (рис. 1).

Рисунок 1 – Загальна структура PON
Вузол OLT забезпечує взаємодію мережі PON із зовнішніми мережами, забезпечує передавання й прийом даних від абонентів (ONT). Розгалужувачі розподіляють оптичний сигнал у необмежену кількість оптичних ліній. Абонентські вузли здійснюють прийом і передавання даних на центральний вузол (OLT).
При передаванні інформації від центрального вузла до абонентського (від OLT до ONT) використовується довжина хвилі 1550 нм. Сигнал від центрального вузла передається по оптичному волокну до розгалужувача, що розподіляє сигнал на кілька волокон. Далі сигнал передається до наступного розгалужувача, що ділить сигнал знову на кілька волокон або пропускає прямо до абонентського вузла.
Абонентський вузол за заголовком кадру визначає його адресат. Якщо кадр призначений абонентові – він обробляється, у іншому випадку – відкидається. Традиційно передачу від OLT до ONT визначають як "прямий" потік.
Передача інформації відразу на всі абонентські вузли призводить до істотного здешевлення встаткування, зменшення трафіку й часу при передачі однієї й тієї ж інформації декільком абонентам, але разом з тим створює проблеми з погляду безпеки даних. Звичайно, відповідно до закладених алгоритмів, абоненти не зможуть приймати непризначені для них кадри. Тому, усвідомлюючи бажання, розробники пропонують різні методи шифрування переданих і прийнятих даних.
Від абонентського вузла в центральний передається зворотний потік на довжині хвилі 1310 нм. Основна складність при цьому полягає в тому, щоб уникнути колізій і забезпечити часовий поділ між моментами передачі для кожного абонентського вузла.
Для цього встановлюється індивідуальний розклад передачі даних з урахуванням виправлень на затримки. Це завдання вирішується за допомогою протоколу TDMA MAC.
Тоді як в традиційній структурі PON використовується тільки одна волоконо-оптична лінія, виникає питання про надійність такого рішення. Розгалужувачі, а також волокно, можна розмістити в захищених каналах, виключивши вплив на них зовнішнього середовища, але єдиний шлях не може бути стійким до відмов за визначенням.
Для підвищення надійності рішення використовують кілька схем, що трактуються на традиційних ідеях резервування оптичних ліній на різних ділянках мережі.
Розрізняють три типи PON: APON/BPON, EPON і GPON.
Технологія APON з'явилася на зорі практичного застосування PON, в 1995 році, коли сімка найбільших телекомунікаційних компаній (Brіtіsh Telecom, France Telecom, Deutsche Telecom, NTT, KPN, Telefonіca і Telecom Іtalіa) створили консорціум FSAN, спрямований на реалізацію ідеї множинного доступу по одному волокну.
Тоді як для телекомунікаційних компаній найбільш близьким протоколом передачі даних у той час був протокол ATM, його й заклали фундаментом нової технології.
У результаті діяльності консорціуму FSAN наприкінці 1998 року з'явився перший стандарт, що описує пасивну оптичну мережу – ІTU–TG.983.1 (таблиця 1). Він базувався на транспорті чарунок ATM через деревоподібну структуру PON і відповідно одержав назву APON (ATM PON).
Таблиця 1
Основні відомості про стандарт PОN G.983.1
| Характеристика |
Специфікація |
| Довжина хвилі для спадаючого потоку (до абонентів) |
базова 1550 нм, нарощування в DWDM 15хх нм, C-band |
| Довжина хвилі для зростаючого потоку |
базова 1310 нм, нарощування в DWDM 15хх нм, C-band |
| Сумарна швидкість передачі для спадаючого потоку, Мбiт/c |
155; 622 |
| Сумарна швидкість передачі для зростаючого потоку, Мбiт/c |
155;622 |
| Бюджет оптичної лінії враховується при визначенні величини максимального розщеплення сигналу на сплiттерi й максимальноi вiдстанi, дБ |
клас А: 5-20
клас В: 10-25
клас C: 15-30
|
| Максимальний розбіт втрат по оптичних шляхах, дБ |
15 |
| Підтримувані типи волокон і вимоги до лінії зв'язку |
ІTU G.652 стандартне одномодове волокно з довжиною хвилі нульової дисперсії на межі 1310 нм |
| Максимальна кількість абонентських вузлів (ОNT), які можна підключити, на одне волокно, що йде з центрального вузла (OLT) |
32 |
| Максимальна відстань ОLT-ONU,км |
20 |
| Тип оптичних з'єднувачів РОN |
SC-PC або FC-PC з коефіцієнтом зворотнього відбиття -35 дБ і краще |
| Вимоги до оптичних компонентів (розгалужувачi, з'єднувачі, де/мультiплексори WDM) |
Відповідно до рекомендації G.671 |
Надалі в ході розвитку стандарту до вже традиційних функцій APON додалися функції передачі голосу й відео, був розширений спектральний діапазон, що дозволило здійснювати додаткові широкомовні послуги (наприклад, HDTV) на третій довжині хвилі.
Розширений таким способом стандарт APON одержав назву BPON (broadband PON). Його загальна схема має вигляд, представлений на рисунку 2.

Рисунок 2 – Загальна структура BPON
На початку нового століття стандарт Ethernet дійшов до певного технологічного рівня й почав використовуватися в корпоративних мережах. Виникла ідея сполучити Ethernet і PON, тому що їхнє злиття дозволило б значно знизити загальну вартість володіння оптичною мережею.
Дану ідею активно просували комісія EFM (Ethernet іn the fіrst mіle) і альянс EFMA (Ethernet іn the fіrst mіle allіance). У результаті їхньої діяльності виникла технологія EPON (Ethernet і PON) і описуючий її стандарт ІEEE 802.3ah (таблиця 2).
Таблиця 2
Основні характеристики стандарту IЕЕE 802.3ah (EPON)
| Характеристики |
Специфiкацiя |
| Швидкiсть передачi |
1 Гбiт/с |
| Кодування в смузi |
8В/10В |
| WDM мультиплексування з частотним планом |
| Довжина хвилi прямого потоку, нм |
1490 (1550) |
| Довжина хвилi зворотнього потоку, нм |
1310 |
| BER |
|
| FEC |
можливе використання корекцii помилок для збiльшення числа вузлiв, пiдключених до одного фiдерного волокна |
| Iнтерфейси для мережi PON |
| Клас 1 |
1000 Base-PX10-D з боку OLT,
1000 Base-PX10-U з боку ONU
|
| Клас 2 |
1000 Base-PX20-D з боку OLT,
1000 Base-PX20-U з боку ONU
|
| Припустиме затухання смуги |
| EPON класа 1 |
прямий/зворотнiй потiк – 21/23 дБ |
| EPON класа 2 |
прямий/зворотнiй потiк – 26/26 дБ |
| Радiус мереж (максимальна дозволена відстань вiд OLT до ONU) |
| EPON класа 1 |
10 км |
| EPON класа 2 |
20км |
Технологія EPON визначає одноволоконну мережу, що використовує хвилі діапазону 1490 нм для прямого потоку й діапазону 1310 нм – для зворотного. Вікно 1550 нм резервується для надання додаткових послуг. Оптичні інтерфейси EРON аналогічні тим, які використовуються в традиційних оптичних мережах.
Як і стандартний Gіgabіt Ethernet, EPON має номінальну бітову швидкість у лінії 1250 Мбіт/с і схему кодування 8В/10В.
Технологія GPON (Gіgabіt PON), використовуючи у своїй назві терміна Gіgabіt, підштовхує до помилкового висновку, що вона є спадкоємицею стандарту EPON. Насправді вона є продовженням APON, тільки замість протоколу ATM у її основу закладений протокол SDH. Головні переваги GPON – підтримка різноманітних мультисервісних додатків і забезпечення швидкості передачі даних до 2,5 Гбіт/с. GPON описується стандартом G.984.3 (таблиця 3).
На сьогоднішній день технологія GPON – найменш розповсюджена технологія сімейства PON. Головна перешкода в її поширенні – висока вартість устаткування.
Основні відмінні елементи технологій APON/BPON, EPON і GPON представлені в таблиці 3.
Таблиця 3
Порівняльний аналіз технологій APON/BPON, ЕРОN, GPON
| Характеристики |
APON (BPON) |
EPON |
GPON |
| Інститути стандартизації/ альянси |
ІTU-TSG15/FSAN |
ІEEE/EFMA |
ІTU-T SG15/FSAN |
| Дата прийняття стандарту |
жовтень 1998 |
липень 2004 |
жовтень 2003 |
| Стандарт |
ІTU-T G.981.x |
ІEEE 802.3ah |
ІTU-T G.984.x |
| Швидкість передачі, прямий/зворотнiй потiк, Мбiт/c |
155/155
622/155
622/622
|
1000/1000 |
1244/155, 622,1244; 2488/622,1244, 2488 |
| Базовий протокол |
АТМ |
Ethernet |
SDH |
| Лінійний код |
NRZ |
8В/10В |
NRZ |
| Максимальний радіус мережі, км |
20 |
20 (>30) |
20 |
| Максимальне число абонентських вузлів на одне волокно |
32 |
16 (32) |
64(128) |
| Додатки |
будь-які |
ІP, дані |
будь-які |
| Довжини хвиль прямого/зворотнього потоків, нм |
1550/1310 (1480/1310) |
1550/1310 (1310/1310) |
1550/1310 (1480/1310) |
| Динамiчний розподіл смуги |
є |
є |
є |
| Захист даних |
шифрування вiдкритими ключами |
шифрування на рівні обслуговуючого ПО |
шифрування вiдкритими ключами |
| Резервування |
є |
є |
є |
2. Практичне застосування
Вже сьогодні у великих клієнтів виникає потреба в якісному підключенні до операторів на швидкості 100 Мбіт/с і вище. Надалі ці потреби будуть активно розвиватися. При цьому варто враховувати, що в найближчому часі розвиток HDTV, відео по запиту, інтерактивних ігор, VoІР і інших технологій призведе до виникнення потреби у високошвидкісних з'єднаннях також і в SOHO - сегменті.
У той же час варто констатувати, що:
– xDSL забезпечує реальну швидкість до 2 Мбіт/с, а її збільшення до кілька десятків Мбіт/с обмежується великою протяжністю (декілька км) вже існуючих систем і низькою якістю прокладених мідних ліній зв'язку;
– гібридні волоконно-коаксиальні мережі дозволяють забезпечити потрібну споживачам швидкість, але їхні конструктивні обмеження по смузі пропускання ведуть до скорочення кількості самих замовників;
– бездротові мережі доступу найближчим часом будуть забезпечувати до 50 Мбіт/с, але при їхньому застосуванні існують ті ж проблеми зі смугою пропущення, безпекою й ліцензуванням мереж.
Виходячи з цього, єдиний шлях, який дозволяє використати переваги сьогоднішніх ІТ-технологій, – це прокладка оптичного кабелю від оператора до бізнес-центру, конкретному корпоративному замовникові, до будинку й, можливо, до кожної квартири.
Але тут виникає питання про ціну побудови такої системи – вартість прокладки кабелю, активного устаткування, обслуговування й т. ін. Крім того, у багатьох ситуаціях прокладка нового волокна є просто неможлива з причині елементарної відсутності місця в каналах кабельної каналізації.
Ось тут і виникає PON, адже з його допомогою можливо значне здешевлення високошвидкісних телекомунікаційних послуг. Завдяки його деревоподібній структурі до центрального вузла підводить тільки одне волокно на 32, 64 або більше (відповідно до конкретної технології) абонентів, інший же кінець лінії перебуває в центрі абонентської групи, що збирається обслуговувати оператор.
Від розгалужувача в цьому випадку теж розподіляється обмежена кількість волокон. Кількість волокон, що відповідає кількості абонентів, прокладається тільки на останній ділянці мережі.
З підрахунками Cornіng Cable Systems, для топології мережі "точка-точка" вартість оптичного волокна становить 41% від загальної вартості одноволоконної системи й 52% у випадку двоволоконної лінії. У мережі PON відносна вартість кабельної системи становить тільки 13-18%.
Крім вартості самого волокна на здешевлення PON впливає відповідна економія каналів для її розміщення, скорочення обсягу робіт по прокладці кабелю. Крім того, економія виникає завдяки використанню пасивних розгалужувачів, а не активних комутаторів, за рахунок використання одного лазеру з боку центрального вузла й т. інш.
За даними компанії Optіcal Solutіons, витрати на інсталяцію мережі PON в 2005 році знизилися більш ніж на 50%, наблизившись до витрат на інсталяцію мідної інфраструктури для доставки мультисервісного трафіку.
Крім фактору здешевлення вартості прокладки до плюсів PON потрібно віднести значне скорочення часу підключення абонента до мережі. Адже тягти волокно потрібно не від центрального вузла, а від найближчого до клієнта розгалужувача.
За підрахунками російських колег, час прокладки традиційної волоконно-оптичної лінії в Москві становить від 4 до 10 тижнів, а прокладка лінії від розгалужувача до клієнта – максимум два тижні, а в більшості випадків 2-3 дня.
При побудові пасивної оптичної мережі великим плюсом є можливість гнучкого додавання нових розгалужувачів і клієнтів, що дозволяє мінімізувати початкові інвестиції при обслуговування нового району, бо виключає потребу закуповувати дорогі комутатори й створювати для них обслуговуючу інфраструктуру.
Напевно, найбільш складним моментом при обслуговуванні PON є діагностика несправностей, тому що в розгалужених деревоподібних системах дуже складно використати рефлектометри.
Однак сьогодні, більшість виробників PON разом з апаратною частиною поставляють ПЗ для збору статистики по кожному порту, по пакетах і т. інш., а це значно спрощує діагностику. Крім того, для діагностики можливих обривів створюють повну рефлектограму мережі, що дозволяє швидко виявляти навіть незначні зміни потужності світлового потоку.
Але, насправді говорячи, імовірність виникнення критичних ситуацій у пасивній оптичній системі є значно меншою, ніж у традиційній оптичній мережі, бо пасивні елементи за визначенням є більш надійнішими ніж активні, а загальна довжина оптоволоконих ліній є значно меншою.
|