Банк рефератов содержит более 364 тысяч рефератов, курсовых и дипломных работ, шпаргалок и докладов по различным дисциплинам: истории, психологии, экономике, менеджменту, философии, праву, экологии. А также изложения, сочинения по литературе, отчеты по практике, топики по английскому.
Полнотекстовый поиск
Всего работ:
364139
Теги названий
Разделы
Авиация и космонавтика (304)
Административное право (123)
Арбитражный процесс (23)
Архитектура (113)
Астрология (4)
Астрономия (4814)
Банковское дело (5227)
Безопасность жизнедеятельности (2616)
Биографии (3423)
Биология (4214)
Биология и химия (1518)
Биржевое дело (68)
Ботаника и сельское хоз-во (2836)
Бухгалтерский учет и аудит (8269)
Валютные отношения (50)
Ветеринария (50)
Военная кафедра (762)
ГДЗ (2)
География (5275)
Геодезия (30)
Геология (1222)
Геополитика (43)
Государство и право (20403)
Гражданское право и процесс (465)
Делопроизводство (19)
Деньги и кредит (108)
ЕГЭ (173)
Естествознание (96)
Журналистика (899)
ЗНО (54)
Зоология (34)
Издательское дело и полиграфия (476)
Инвестиции (106)
Иностранный язык (62791)
Информатика (3562)
Информатика, программирование (6444)
Исторические личности (2165)
История (21319)
История техники (766)
Кибернетика (64)
Коммуникации и связь (3145)
Компьютерные науки (60)
Косметология (17)
Краеведение и этнография (588)
Краткое содержание произведений (1000)
Криминалистика (106)
Криминология (48)
Криптология (3)
Кулинария (1167)
Культура и искусство (8485)
Культурология (537)
Литература : зарубежная (2044)
Литература и русский язык (11657)
Логика (532)
Логистика (21)
Маркетинг (7985)
Математика (3721)
Медицина, здоровье (10549)
Медицинские науки (88)
Международное публичное право (58)
Международное частное право (36)
Международные отношения (2257)
Менеджмент (12491)
Металлургия (91)
Москвоведение (797)
Музыка (1338)
Муниципальное право (24)
Налоги, налогообложение (214)
Наука и техника (1141)
Начертательная геометрия (3)
Оккультизм и уфология (8)
Остальные рефераты (21692)
Педагогика (7850)
Политология (3801)
Право (682)
Право, юриспруденция (2881)
Предпринимательство (475)
Прикладные науки (1)
Промышленность, производство (7100)
Психология (8692)
психология, педагогика (4121)
Радиоэлектроника (443)
Реклама (952)
Религия и мифология (2967)
Риторика (23)
Сексология (748)
Социология (4876)
Статистика (95)
Страхование (107)
Строительные науки (7)
Строительство (2004)
Схемотехника (15)
Таможенная система (663)
Теория государства и права (240)
Теория организации (39)
Теплотехника (25)
Технология (624)
Товароведение (16)
Транспорт (2652)
Трудовое право (136)
Туризм (90)
Уголовное право и процесс (406)
Управление (95)
Управленческие науки (24)
Физика (3462)
Физкультура и спорт (4482)
Философия (7216)
Финансовые науки (4592)
Финансы (5386)
Фотография (3)
Химия (2244)
Хозяйственное право (23)
Цифровые устройства (29)
Экологическое право (35)
Экология (4517)
Экономика (20644)
Экономико-математическое моделирование (666)
Экономическая география (119)
Экономическая теория (2573)
Этика (889)
Юриспруденция (288)
Языковедение (148)
Языкознание, филология (1140)

Дипломная работа: Комплексна механізація технологічних процесів на свинотоварній фермі із закінченим циклом виробництва

Название: Комплексна механізація технологічних процесів на свинотоварній фермі із закінченим циклом виробництва
Раздел: Рефераты по ботанике и сельскому хозяйству
Тип: дипломная работа Добавлен 19:12:37 07 мая 2011 Похожие работы
Просмотров: 7224 Комментариев: 19 Оценило: 3 человек Средний балл: 4 Оценка: неизвестно     Скачать

Міністерство аграрної політики України

Житомирський національний агроекологічний університет

Факультет механізації сільського господарства

Кафедра механізації землеробства

"ДОПУСТИТИ ДО ЗАХИСТУ"

Завідуючий кафедрою Водяницький Г.П.

ДИПЛОМНИЙ ПРОЕКТ

"Комплексна механізація технологічних процесів на свинотоварній фермі із закінченим циклом виробництва"

Спеціальність 7.091.902 „Механізація сільського господарства”

ОКР “Бакалавр”

Дипломник Коробчук Оксана Леонідівна

Керівник ас. Бушма Сергій Валерійович

Консультант доц. Кравець Леонід Григорович

нормо-контроль доц. Кравець Леонід Григорович

Житомир 2011

Зміст

Вступ

1. Аналіз виробничої діяльності підсобного сільського господарства

1.1 Коротка характеристика господарства

1.2 Аналіз галузі рослинництва

1.3 Аналіз галузі тваринництва

1.4 Аналіз цеху механізації

1.5 Аналіз ефективності роботи господарства

1.6 Висновки

2. Комплексна механізація технологічних процесів на свинотоварній фермі із закінченим циклом виробництва

2.1 Зоотехнічні вимоги до технології виробництва на фермі

2.2 Обґрунтування, розрахунок структури стада

2.3 Обґрунтування способу утримання тварин

2.4 Розробка режиму роботи ферми

2.5 Обґрунтування і вибір раціонів годівлі тварин. Розрахунок добової та річної потреби в кормах

2.6 Обґрунтування і вибір типових проектів основних і допоміжних приміщень, сховищ кормів, гною і розрахунок їх необхідної кількості

2.7 Розробка генерального плану і визначення його основних техніко - економічних показників

2.8 Проектування потокових технологічних ліній ферми

2.8.1 Розрахунок ліній приготування кормів (кормоцеху)

2.8.2 Розрахунок лінії роздавання кормів

2.9 Технічне обслуговування машин і обладнання на фермі

3. Конструкторська частина проекту. розробка повітряного водопідйомника (ерліфта)

3.1 Зоотехнічні вимоги до водопідйомників

3.2 Аналіз існуючих водопідйомників і вибір об'єкта розробки

3.3 Розробка технологічної схеми ерліфтної установки і опис процесу її роботи

3.4 Розрахунок ерліфта

4. Охорона праці

4.1 Аналіз стану охорони праці в господарстві

4.2 Основні заходи покращення охорони праці і протипожежної безпеки

4.2.1 Вимоги безпеки та виробнича санітарія

5. Екологічна частина проекту

6. Техніко-економічне обгрунтування проекту

Висновки та пропозиції

Список використаної літератури

Реферат

Основна частина дипломного проекту (без списку використаної літератури і додатків) викладена на 48сторінках пояснювальної записки і 8 аркушах формату А1 графічної частини, відображена у 20 таблицях та ілюстрована 4 рисунками.

Пояснювальна записка складається із вступу, 6 глав, висновків і пропозицій, списку використаної літератури і додатків.

Мета роботи - нарощування виробництва свинини та зниження затрат праці й матеріальних засобів на кожну тонну приросту живої маси свиней у господарстві.

У дипломному проекті розроблено генеральний план ферми; вибрано і визначено необхідну кількість машин для механізації виробничих процесів на фермі; розроблено заходи по охороні праці та навколишнього середовища; розроблено аварійний засіб водопостачання - повітряний водопідйомник; виконано техніко-економічне обґрунтування проекту.

В результаті впровадження розробленої технології виробництва свинини у господарстві очікується зниження собівартості приросту 1 т живої маси свиней на 15%. Результати роботи можуть бути використані інженерно-технічними працівниками проектних і будівельних організацій, а також аграрних підприємств.

Ключові слова: ФЕРМА, ТВАРИНИ, РАЦІОН, КОРМ, ГОДІВНИЦЯ, НАПУВАЛКА, СХОВИЩЕ, ТРАНСПОРТЕР.

Вступ

Свинарство для України поряд з молочно-м'ясним скотарством - традиційна галузь тваринництва. У загальній структурі виробництва м'яса свинина займає друге місце після яловичини і телятини.

Перевага виробництва свинини полягає у цінних якостях свиней - біологічних і господарських; високих приростах, зумовлених скоростиглістю тварин; короткому періоді поросності та великому приплоді за кожний опорос; добрій окупності кормів, яка в деякому відношенні вигідніша, ніж при виробництві інших видів м'яса, зокрема можливістю в певних умовах використовувати харчові відходи; високому забійному виході. Але на превеликий жаль свинарство нині, як і все тваринництво, в занедбаному стані і переживає найважчий кризовий період.

З метою виходу з кризового стану і подальшого забезпечення розвитку свинарства вченими при підтримці уряду розроблені нині такі найважливіші заходи:

- удосконалення способів утримання свиней та впровадження високоефективних типів годівлі і структури кормових раціонів;

- перехід від механізації окремих операцій і процесів до комплексної механізації та автоматизації всіх робіт на основі потокових технологічних ліній;

- широке застосування електричної енергії безпосередньо в технологічних’процесах (електротехнологій);

створення принципово нових високоефективних машин та обладнання.

Частково вищевикладені питання вирішуються в дипломному проекті.

Особливу увагу на проектній фермі приділено сталому забезпеченню

тварин водою. З цією метою розроблено повітряний водопідйомник (ерліфт), який планується вводити в дію як аварійний засіб водопостачання.

1. Аналіз виробничої діяльності підсобного сільського господарства

1.1 Коротка характеристика господарства

Підсобне сільське господарство охоплює один населений пункт, який знаходиться на відстані 38 км від обласного центру та 5 км від районного центру.

У населеному пункті дороги асфальтовані і знаходяться в задовільному стані. Польові дороги - ґрунтові.

Загальна земельна площа господарства складає 1668,3 га, у тому числі: орної землі 1407,13 га; пасовищ - 42,26 га; сінокосів - 124,9 га; багаторічних плодонасаджень - 8 га.

Територія господарства відноситься до центральної лісостепової грунтово-кліматичної зони. Рельєф плоско-рівнинний з незначною кількістю мікровпадин, але на окремих землях зустрічається хвиляста сітка розгалужених балок.

Клімат району - помірно-континентальний. Середнє число днів з температурою понад +5°С складає 200, понад +10°С - 165 і понад +15°С - 120 днів.

Середньорічна кількість опадів становить 502.512 мм. Найбільша кількість опадів випадає в червні - 166 мм, а найменша в лютому - 23 мм.

Відносна вологість повітря влітку - 50.60 %. Сніг випадає в другій або третій декаді листопада. Товщина снігового покриву в лютому сягає 120.150 мм.

Пануючі вітри західні та східні, але часто взимку спостерігаються вітри південно-західного напряму.

На території господарства основну площу займають чорнозем глибокий середньогумусний (структурний), чорнозем глибокий середньогумусний (структурний) вилугуваний та чорнозем глибокий або неглибокий слабозмитий з вмістом гумусу відповідно 4,49; 5,06 і 4,83 %.

Виробничий напрямок господарства зерново-тваринницький.

На території господарства розміщені дві молочнотоварні, одна свинотоварна та одна птахівницька ферми. Середньорічна кількість працівників у господарстві становить 390 чоловік, з них зайнято у тваринництві - 42.

Загальна кількість спеціалістів - 52 чоловіки, з них інженерів - 3, агрономів - 3, зооінженерів - 2, ветлікарів - 3.

1.2 Аналіз галузі рослинництва

Аналізуючи дані таблиці 1.1 бачимо, що посівні площі займають більшу частку в структурі посівів і з року в рік постійно зростають. Так у 2008 році посіви зернових і кукурудзи на силос зросли відповідно на 73 і 13 % порівняно з 2006 роком. Поряд з цим слід відзначити значне зростання посівних площ під соняшником та багаторічними травами. Перші зросли за розглядуваний період майже в 3,2 рази, а другі - в 1,7.

Практично залишились незмінними на протязі всього періоду посіви цукрових буряків.

Площа посіву кукурудзи на зерно у 2008 році скоротилася на 63 % порівняно з 2005 роком, а в 2007 році дану культуру зовсім не вирощували. У 2008 році посіви були відновлені на 78 % порівняно з 2007 роком.

Таблиця 1.1 - Характеристика посівних площ

Культура Площа, га
2005 р. 2006 р. 2007 р. 2008 р.
Зернові 85,7 90 103 148
Цукрові буряки 120 65 120 120
Соняшник 160 223 460 505
Кукурудза на силос 615 652 600 707
Кукурудза на зерно 255 70 - 200
Однорічні трави 435 230 320 500
Багаторічні трави 300 300 254 500

З наведених у таблиці 1.2 даних видно, що найбільш вдалим роком для вирощування зернових, цукрового буряку та соняшнику був 2008 рік, а для решти культур - 2007 рік.

При цьому слід відмітити, що врожайність сільськогосподарських культур у господарстві, навіть у найбільш сприятливі роки, невисока, порівняно з передовими господарствами області. А це значить, що необхідно удосконалювати систему землеробства в господарстві.

Валове виробництво продукції основних сільськогосподарських культур подано в таблиці 1.3 Воно напряму залежить від площі посіву і врожайності культури.

Таблиця 1.2 - Врожайність основних сільськогосподарських культур

Культура Врожайність, т/га
2005 р. 2006 р. 2007 р. 2008 р.
Зернові 3,1 3,5 2,6 2,5
Цукрові буряки 21,7 26,9 15,7 21,3
Соняшник 1,9 2,7 1,5 1,7
Кукурудза на силос 18,4 13,1 14,5 17,4
Кукурудза на зерно 4,1 1,9 - 4,6
Однорічні трави 11,8 10,2 7,7 9,9
Багаторічні трави 29,7 11,0 9,2 13,2

Таблиця 1.3 - Виробництво продукції основних сільськогосподарських культур

культура

Виробництво продукції, т

продукції, т

2005 р. 2006 р. 2007 р. 2008 р.
Зернові 266,7 315,2 267,3 370,8
Цукрові буряки 2601,7 1748,5 1880,7 2553,4
Соняшник 307,0 607,4 453,0 880,0
Кукурудза на силос 11284,5 8569,0 8717,8 12155,0
Кукурудза на зерно 1056,6 134,5 - 921,0
Однорічні трави 5154,0 2350,0 2473,0 4955,0
Багаторічні трави 8915,8 3286,9 2949,3 6620,5

1.3 Аналіз галузі тваринництва

У господарстві протягом 2005-2008рр. намітилась тенденція явного зростання поголів'я всіх груп тварин за винятком птиці. За цей період поголів'я корів, молодняку ВРХ на відгодівлі та свиней зросло відповідно на 19,4; 36,1 і 123,8 % (табл.1.4). Ця тенденція збереглася для корів і в 2008 р. Поголів'я корів у 2004 р. збільшилось відповідно на 50,4 і 79,6 % порівняно з 2007 і 2005 роками.

Аналізуючи дані таблиці 1.5 приходимо до висновку, що господарство досягло значних успіхів у тваринництві. Надої молока стабільні з року в рік і майже досягли межі - 6000 кг від кожної корови на рік. При цьому слід відмітити, що такий рівень продуктивності корів недосяжний для більшості передових господарств району, області та держави.

Вагомих результатів господарство досягло при виробництві яловичини і свинини. Середньодобовий приріст живої маси за останні три роки становить:

молодняку ВРХ на відгодівлі - 425.591 г; свиней - 315.322 г. Ці показники на рівні середніх по господарствам області.

Таблиця 1.4 - Поголів'я тварин

групи тварин

Поголів’я тварин

'я, гол.

2005 р. 2006 р. 2007 р. 2008 р.

Велика рогата худоба

у тому числі:

747 1155 1326 1224
корови 108 124 129 194
молодняк ВРХ на відгодівлі 537 591 731 552
Свині 804 1071 1800 1254
Птиця 1111 4436 3420 2151

Таблиця 1.5 - Динаміка продуктивності тварин

Показник Значення показника
2005 р. 2006 р. 2007 р. 2008 р.

Середньорічний надій

молока від корови, кг

4070 5840 5320 5810

Середньодобовий

приріст живої маси, г: ВРХ

410 534 425 591
свиней 235 322 315 321

1.4 Аналіз цеху механізації

Дані про забезпеченість господарства машинами та обладнанням (табл.1.6) свідчать про достатню матеріально-технічну озброєність і оснащеність галузей рослинництва і тваринництва. Рівень механізації технологічних процесів у тваринництві практично становить 100 %.

Таблиця 1.6 - Характеристика забезпеченості господарства технікою

Назва і марка машини Кількість, шт Назва і марка машини Кількість, шт
Трактори 12 Комбіновані агрегати 5
Автомобілі 11 Косарки 5

Комбайни:

зернозбиральні

кормо - та силосозбиральні

бурякозбиральні

2

4

4

Комплекти для заготівлі сіна (косарка,

ворошилка, валкоутворювач, прес)

2

Кормороздавачі:
КТУ-10 4
Плуги 35 РС-5 2
Дискові борони та лущильники 6 КСП-0,8 2
Назва і марка машини Кількість, шт Назва і марка машини Кількість, шт
Культиватори 38 Комбікормовий агрегат УМК-Ф-2 1

Сівалки:

зернові

бурячні

кукурудзяні

овочеві

соєві

19

3

7

1

1

Транспортери скребкові ТСН-160 12
Скреперні установки УС-250 6

Установки для доїння корів:

УДЕ-8А "Ялинка"

УДС-3

Альфа Лаваль

1

1

1

1.5 Аналіз ефективності роботи господарства

З даних таблиці 1.7 видно, що виробництво молока на 100 га сільськогосподарських угідь з року в рік зростає високими темпами. У 2007 р. зростання цього показника становило 7,2 %, а у 2008 р. - 51,8 %. Виробництво яловичини і свинини на 100 га сільськогосподарських угідь у 2008 р. зменшилось порівняно з 2005 та 2006 роками.

Таблиця 1.7 - Виробництво продукції на 100 га

Вид продукції Виробництво продукції, т
20064р. 2007 р. 2008 р.
Молоко Яловичина Свинина

177,9

23,1

14,2

190,7 27,0 17,6

289,4

19,4

10,9

Примітка. Розрахункова площа - 3544,42 га. Аналіз даних таблиці 1.8 показує, що собівартість 1 т молока, яловичини та свинини з року в рік зростає. Причиною цього є зростання цін на корми і паливно-мастильні матеріали.

Таблиця 1.8 - Собівартість і затрати праці на виробництво продукції

Вид продукції 2006 р. 2007 р. 2008 р.
Собівартість 1 т, грн. Затрати праці на 1 т, год Собівартість 1 т, грн. Затрати праці на 1 т, год Собівартість 1 т, грн. Затрати праці на 1 т, год
Молоко 273,0 104,4 610,0 95,7 693,6 85,6

М м'ясо в живій масі: ВРХ

свиней

6405,0 9068,1 364,1 421,0 10706,0 7804,0 418,5 432,9 10941,0 9068,0

325,9

357,8

Затрати праці по всіх видах продукції у 2006 р. дещо зменшились порівняно з 2005 р. Це пов'язане з ростом рівня механізації та автоматизації виробничих процесів у тваринництві.

1.6 Висновки

З метою підвищення продуктивності тваринництва, зниження затрат праці та собівартості основних видів тваринницької продукції у АПК “Коровинецька" Чуднівського району Житомирської області необхідно:

- зміцнити кормову базу за рахунок підвищення врожайності кормових культур (впровадження агротехнічно правильних і економічно обґрунтованих сівозмін з найбільш раціональною структурою посівних площ; удосконалення системи внесення органічних і мінеральних добрив; впровадження системи обробітку ґрунту, направленої на підвищення родючості і боротьбу з ерозією);

- удосконалювати годівлю тварин за рахунок згодовування кормів тваринам тільки в підготовленому вигляді у відповідності з науково-обґрунтованими раціонами;

- створити автономну матеріально-технічну базу для вирощування івідгодівлі свиней.

механізація ферма сільське господарство

2. Комплексна механізація технологічних процесів на свинотоварній фермі із закінченим циклом виробництва

2.1 Зоотехнічні вимоги до технології виробництва на фермі

Приготування кормів. Збирати кормові культури необхідно в період, коли вони мають найбільшу врожайність та поживну цінність. Допустимий ступінь залишкового забруднення в кормах: домішки землі - 1.2 %, піску - 0,3--Л,0 %, металеві домішки розміром до 2 мм з незагостреними краями - 30 мг на 1 кг корму, насіння отруйних трав - 0,25 %.

Готувати комбікорми необхідно з інгредієнтів розміром частинок 0,2.1,0 мм. Грубі корми слід переробляти до розміру частинок 1.2 мм. Коренебульбоплоди перед згодовуванням (не раніше як за 1,5.2,0 год) рекомендується подрібнювати на частинки розміром 5.10 мм.

Готові кормові суміші повинні задовольняти таким вимогам: вологість - 60.80 %; рівномірність змішування - не менше 90 %; допустиме відхилення (за масою) вмісту грубих і соковитих компонентів у суміші становить ±10 %, кормових дріжджів - ±2,5 %, концентрованих, рибних, молочних, поживних розчинів і мінеральних добавок - ±5 % [1].

Роздавання кормів. Допустимі відхилення від заданої норми видачі для стеблових кормів повинні бути в межах ±15 %, а концентрованих - ±5 %. Незворотні втрати корму в процесі роздавання не повинні перевищувати 1 %. Тривалість циклу роздавання кормів у одному приміщенні мобільними засобами не повинна перевищувати 30 хв, а стаціонарними - 20 хв [2].

Водопостачання. Перерва в подачі води для напування свиней і приготування кормів допускається не більше 3 год, в нічний час - до 6 год. Вода для напування поросят-сисунів і відлучених поросят повинна мати температуру 16.20°С. Температура води для напування дорослих свиней в холодний період року повинна становити 10.16°С (в теплий період не нормується). Доброякісна питна вода повинна мати лужну реакцію на рівні рН 6,5.9,5, жорсткість - не більше 7 мг. екв. /л, окисленість - не більше 2,5 мг/л, вміст свинцю - не більше 0,1 мг/л, а забрудненість (вміст органічних або мінеральних речовин) - не більше 2мг/л [1,2].

Прибирання гною. Система прибирання гною із станків та транспортування його за межі виробничих приміщень повинна: забезпечувати постійну і легко підтримувану чистоту станків, проходів і огорожі; по можливості обмежувати утворення та проникнення шкідливих газів у зону, де знаходяться тварини; бути зручною в експлуатації і не вимагати великих затрат праці на управління, ремонт і санітарно-профілактичну обробку; виключати проникнення заразних елементів з гноєм із однієї секції в іншу [1].

Формування мікроклімату. Гранично допустима концентрація вуглекислого газу в повітрі виробничих приміщень для тварин - 0,2 % (або 2 л/м), аміаку - 20 і сірководню 10 мг/м, кількість повітря, що подається в приміщення, повинна бути не меншою: в холодний період року - 30 м /год, в перехідний - 45 м3 /год, в теплий - 60 м3 /год на 100 кг живої маси свиней. Рівень шуму в приміщеннях від опалювально-вентиляційного обладнання під час його роботи не повинен перевищувати 70 дБ за шкалою "А" стандартного шумовиміру[І].

2.2 Обґрунтування, розрахунок структури стада

Для чіткого функціонування прийнятої технології відтворення молодняку в господарстві із закінченим виробництвом і застосуванням штучного запліднення свиней приймаємо структуру стада, що розроблена Полтавським науково-дослідним інститутом свинарства (табл.2.1) [3].


Таблиця 2.1 - Склад і структура стада

Виробнича група свиней Кількість тварин
% голів

Свиноматки

Поросята до 2 місяців віку

Поросята 2.4 місяці віку

Ремонтний молодняк

Молодняк на відгодівлі

9

23

19

2

47

180

460

380

40

940

2.3 Обґрунтування способу утримання тварин

У свинарстві застосовують дві основні системи утримання свиней: вигульну та безвигульну. Безвигульна система найбільше розповсюджена у великих свинарських господарствах. При цій системі тварин від народження до реалізації утримують у приміщеннях в індивідуальних або групових станках. її недолік у тому, що в спеціалізованих господарствах промислового типу цілорічне безвигульне утримання тварин може призвести до послаблення конституції, знищення їх резистентності, і навіть до захворювань. Тому нормами технологічного проектування свинарських підприємств

передбачається вигульна система утримання всього поголів'я племінних ферм і племінних репродукторів свинокомплексів (крім відлучених поросят), а також для ремонтного молодняку, холостих свиноматок (при груповому утриманні) і маток із встановленою су поросністю на товарних фермах і комплексах промислового типу.

Все інше поголів'я свиней на товарних фермах і великих комплексах, як правило, утримують безвигульно [2]. З урахуванням вищевикладеного на проектній свинотоварній фермі із закінченим виробничим циклом використовуємо вигульну систему утримання тварин. У будівлях свиней будемо розмішувати в групових станках із урахуванням їх віку.

2.4 Розробка режиму роботи ферми

Режим роботи ферми представляється у вигляді конкретних розкладів робочого дня операторів по обслуговуванню свиней і для операторів по приготуванню кормів.

При розробці розпорядку робочого дня встановлюють тривалість, фізіологічно обґрунтований час початку і закінчення роботи, час надання і тривалість обідньої перерви. Розклади робочого дня повинні забезпечувати повне і рівномірне завантаження накопичувачів, своєчасне виконання встановлених обов'язків, раціональний початок і закінчення робочого дня.

Розпорядок робочого дня на свинотоварній фермі із закінченим виробничим циклом розроблено нами згідно рекомендацій [2] і наведено в таблиці 2.2.

Таблиця 2.2 - Розпорядок робочого дня операторів по обслуговуванню свиней на фермі

Виконувана робота Початок, год-хв Кінець, год-хв Тривалість, год-хв
Підготовка до роботи 5-30 5-40 0-10
Огляд поголів'я, обладнання 5-40 6-00 0-20

Приймання кормів, годування і напування

поголів'я

6-00 7-00 1-00
Прибирання гною 7-00 8-30 1-30
Виконання інших робіт 8-30 9-50 1-20
Перерва (відпочинок) 9-50 13-20
Чистка поголів'я, огорож, обладнання 13-20 14-50 1-30

Виконання інших разових робіт, участь у

ветобліку

14-50 16-00 1-10

Прийом кормів, годування і напування

поголів'я

16-00 17-00 1-00
Всього 8-00

2.5 Обґрунтування і вибір раціонів годівлі тварин. Розрахунок добової та річної потреби в кормах

Типові раціони для свиней розробляються у відповідності з набором кормів, виробництво яких найбільш рентабельне і забезпечує максимальне отримання поживних речовин з одиниці площі.

У свинарстві найчастіше використовують три основні типи годівлі свиней з урахуванням природно-кліматичних зон і системи кормовиробництва: концентратно-коренеплідний, концентратно-картопляний і концентратний.

Важливим критерієм при виборі раціонів є середньодобовий приріст живої маси тварин. Плануємо такі показники продуктивності: вихід поросят на одну свиноматку - 16 голів; середньодобовий приріст на дорощуванні та відгодівлі - 385.420 г; середньодобовий приріст на відгодівлі - 450.500 г; виробництво свинини (в живій масі) на початкову голову - 104.113 кг.

З урахуванням вищевикладеного вибираємо концентратно-коренеплідний тип годівлі (характерний для лісостепу України).

Раціони для свиней при даному типі годівлі наведено в таблиці 2.3.

Добову Рд (кг) і річну РР (кг) потребу в кормах розраховуємо за формулами [2]

(2.1)

(2.2)

Таблиця 2.3 - Раціони для свиней

Склад раціонів

Підсисні

свиноматки

Поросята

2-4 місяців

Ремонтний

молодняк

Молодняк на

відгодівлі

зима літо зима літо зима літо зима літо
Ячмінь, кг 0,4 1,7 0,6 1,0 0,7 1,2 0,8 0,9
Кукурудза, кг - 2,3 0,2 - 0,5 0,4 0,5 0,8
Горох, кг 0,4 0,2 0,1 - 0,1 0,1 0,3 0,2
Трав'яне борошно, кг 0,7 - 0,06 - 0,3

-

___

0,2 -
Макуха соняшникова, кг 0,2 0,3 0,2 0,2 0,3 0,2 0,1 -
Знежирене молоко, кг 1,0 1,0 1,2 1,0 1,0 1,0 0,8 0,8
Буряки цукрові, кг 6,0 - 0,7 - 2,5 - 4,0 -
Зелена маса бобових, кг - 6,0 - 0,8 - 2,0 - 3,0
Крейда, г - - 8 5 - - - -
Фосфат знефторений, г - - 10 - 43 - 45 -
Преципітат, г 59 44 - 9 - 43 - 27
Сіль поварена, г 30 30 5 5 13 13 17 17
Премікс, г 60 60 15 15 26 26 34 34

де n1 ,n2 .nn n1 - добова норма видачі корму в розрахунку на одну тварину для різних груп, кг;

m1 , m2 .mn - поголів'я тварин у групах, голів;

РД. Л і РД. З - добова витрата кормів у літній і зимовий періоди року, кг;

tЛ і tЗ - тривалість літнього та зимового періодів використання даного виду корму, днів (приймаємоtЛ = 185 днів,tЗ =180 днів);

k - коефіцієнт, що враховує втрату кормів під час зберігання та транспортування (для концентрованих кормів k= 1,01; для коренеплодів k= 1,03; для зеленої маси k= 1,05).

Розрахункові дані зводимо в таблицю 2.4.

Таблиця 2.4 - Добова та річна потреба в кормах

Корм Потреба в кормах, т
добова

річна

зима літо
1 2 3 4
Горох 442 228 122957,4
Трав'яне борошно 376,4 - 71139,6
Макуха соняшникова 310 230 99333,5
Знежирене молоко 1980 1812 698536,2
Буряк напівцукровий 5528 - 1024891,2
Зелена маса бобових - 4652 903651,0
Крейда 6,720 4, 200 2085,9
Фосфат знефторений 52,420 - 9907,4
Преципітат 10,62 42,58 10278,3
Сіль кухонна 26,10 26,10 9865,8
Премікс 56,40 56,40 21615,3
Ячмінь 1356 1638 552581,1
Кукурудза 658 1182 340481,1

2.6 Обґрунтування і вибір типових проектів основних і допоміжних приміщень, сховищ кормів, гною і розрахунок їх необхідної кількості

У складі ферми передбачаються основні і допоміжні виробничі приміщення.

Для утримання свиней на відгодівлі приймаємо свинарник-відгодівельник на 1000 місць (ТП 802-163), а для проведення опоросів - свинарник на 60 місць, у якому передбачено приміщення для утримання відлучених поросят на 500 місць і ремонтного молодняку на 100 голів. Для утримання холостих і супоросних маток приймаємо свинарник-маточник на 132 станка. У ньому ж утримується стадо відлучених поросят (ТП 802-147) [2].

У кожному свинарнику передбачаються засоби для напування, годування тварин, видалення гною, а також станки для утримання свиней, створення мікроклімату.

Обладнання, яким укомплектовано свинарник-маточник на 60 свиноматок і 500 відлучених поросят, а також його розміщення показано на другому аркуші графічної частини.

З допоміжних приміщень нами вибрані такі: кормоцех КЦС-200/2000 [1], ветеринарний пункт зі стаціонаром на 8 станків і санітарною бойнею, кормосховище, ангар для зберігання техніки й обладнання тощо.

При виборі типових проектів виробничих приміщень передбачається дотримання таких зоотехнічних і інженерних вимог: впровадження комплексної механізації всіх процесів вибраної технології утримання та годування тварин; дотримання норм будівельного проектування за вмістом парів і пилу в повітрі, за його температурою та вологістю; відповідність приміщень для розміщення всього поголів'я тварин; забезпечення протипожежних норм.

Потребу в однотипних будівлях для утримання тварин визначаємо заформулою [2]:

(2.3)

де Мі - поголів'я тварин одного виду на фермі;

mі - проектна місткість одного приміщення, голів.

Для зберігання кормів використовуємо спеціалізовані сховища (таблиця 2.5).

Загальна місткість V (м3 ) і необхідне число сховищ N визначаються за формулами [2]:

(2.4)

де РР - річна потреба в кормах, т;

ρ - насипна щільність корму, т/м3 ;

ε - коефіцієнт використання місткості сховища.


Таблиця 2.5 - Вибір і розрахунок необхідної кількості сховищ кормів

Вид сховища Річна потреба орму РР , т Об'ємна маса корму , т/м3

Загальна місткість ховищ V,м3

Місткість одного ховища , м3 Коефіцієнт використання місткості ховища є Необхідна кількість ховищ N

Склад концентрованих

кормів*

163 0,50 326 500 0,65 1
Сховище сіна бобових 71 0,12 592 1000 1,0 1

Траншея для

коренеплодів

1025 0,63 1627 400 0,85 5

Склад для кормових

добавок (премікс, сіль

кухонна, крейда, фосфат

знефторений,

преципітат)

54 1,05 51,4 100 0,65 1

* Запас концентрованих кормів складає 16 % від річної потреби.

Місткість механізованого гноєсховища визначаємо виходячи з поголів'я свиноферми, норм виходу гною і терміну його зберігання.

Наближену кількість підстилкового гною, отриману на фермі від кожноговиду свиней за добу Рдоб. гн ( т), визначаємо виходячи з формули:

Рдоб. гн = 0,001 (Ре в n ) n (2.6)

де Ре - добовий вихід екскрементів від однієї тварини, кг;

Рв - кількість води, що додається в систему гноєвидалення з розрахунку на одну тварину з урахуванням миття годівниць, підлоги, промивки гноєзбірних каналів, підтікання автонапувалок, л;

Рn - добова потреба в підстилці з розрахунку на одну голову [2];

n - кількість тварин, що знаходяться в одній виробничій групі, голів.

Дані виходу підстилкового гною на свинотоварній фермі (при механічній системі видалення гною) наведені в таблиці 2.6.

Загальну площу гноєсховища визначаємо за формулою [2]:

(2.7)

де ПЗБ - кількість днів зберігання гною, приймаємо П . =120 днів;

h - висота вкладання гною, м, приймаємо h=2,5 м;

ρ - об'ємна маса гною, т/м3 , приймаємо ρ =1,06 т/м3 [2], тоді

м2

Таблиця 2.6 - Розрахунок кількості підстилкового гною, отриманого на фермі

Група тварин Ре , кг Рв, КГ Р n , КГ n, гол. Р доб. гн , т
Свиноматки 15,3 12 14 180 7,4

Поросята вагою

20.30 кг

30.40 кг

2,4

3,5

1,5

2,5

3

4

460

380

3,2

3,8

Молодняк на відгодівлі масою

40.80 кг

більше 80 кг

5,1

6,6

2,5

2,5

5

7

600

340

7,6

5,5

Ремонтний молодняк 8,8 6 10 40 1,0
Всього - - - 2000 28,5

Отже, для зберігання гною у визначені строки з перспективою на розширення поголів'я приймаємо два гноєсховища площею 1000 м2 кожне.

2.7 Розробка генерального плану і визначення його основних техніко - економічних показників

Проектування генерального плану ферми починаємо з вибору земельної ділянки.

Вибрана ділянка під свиноферму повинна задовольняти виробничим і санітарно-гігієнічним вимогам. До виробничих вимог належать: зручність розміщення ферми відносно кормової бази; наявність хороших будівель і

доріг; гарний зв'язок із селом; наявність надійного забезпечення водою; придатність ґрунтів для побудови приміщень; залягання ґрунтових вод повинно бути на глибині не менше 2,0.2,5 м; наявність уклону місцевості в межах 3.5°.

До санітарно-гігієнічних вимог відносяться: зручність ветеринарної зони, а також санітарних розривів між виробничими приміщеннями; ізоляція ферми від навколишньої території смугою насаджень кущів і дерев.

Ділянка для свиноферми повинна мати санітарно-захисну зону шириною 500 м. Вона повинна розміщуватись нижче населеного пункту, водозабірних споруд; вище ветеринарних об'єктів і гноєсховищ, віддалена від транзитних доріг на відстань не менше як 100 м. Напрямок переважаючих вітрів повинен проходити від населеного пункту, кормоцеху до свинарників і далі до гноєсховища.

Площа земельної ділянки для ферми розраховується, виходячи з норми земельної площі на дну відгодівельну свиню - до 30 м.

Після вибору земельної ділянки розробили раціональну схему плану ферми, виходячи з зонування території, тобто розбили територію на окремі зони (утримання тварин, ветеринарна, зберігання і приготування кормів, зберігання і переробки гною та інші). При цьому зону утримання тварин вибираємо в якості основної.

Розроблений за наведеною методикою генеральний план свиноферми із закінченим виробничим циклом на 180 маток зображено на аркуші 1 графічної частини.

Техніко-економічні показники генерального плану такі:

- коефіцієнт щільності забудови R3 =0,21;

- коефіцієнт використання ділянки Rв =0,34.

- Ці коефіцієнти визначали за формулами [2]:

(2.8)

(2.9)

де F3 = 9639 м2 - площа, зайнята під будівлями на фермі; FФ = 46075 м2 - загальна площа ферми;

Fб = 15574 м2 - площа, зайнята під будівлями, майданчиками з твердим покриттям і дорогами.

2.8 Проектування потокових технологічних ліній ферми

2.8.1 Розрахунок ліній приготування кормів (кормоцеху)

Для підвищення ефективності використання корму використовують такий прийом годівлі, як кратність годівлі за добу свиней різних вікових груп. При цьому також необхідно враховувати затрати праці і рівень механізації роздавання кормів і напування.

З урахуванням рекомендацій [3] свиноматок, як холостих, супоросних, так і підсисних, годують 2 рази на добу, поросят, а також ремонтний молодняк годують теж 2 рази на добу, при цьому напування свиней для всіх груп не обмежується.

При годівлі приймаємо рівномірний розподіл добової норми кормів (по вазі і за віком) між ранковою і вечірньою видачею [3].

Кількість корму для разової дачі тваринам (таблиця 2.7) розраховано на основі таблиці 2.3.

За даними таблиці 2.7 визначаємо добову продуктивність кормоцеху [2]:

Wдоб =Q1 +Q2 +. + Qn (2.10)

де Q1 ,Q2 ,. Qn - відповідно максимальна добова потреба різних видів кормів, що підлягають обробці, кг (див. табл.2.7),

Wдоб = 2 ( (103+478+34+844) + (63+25+6+94) + (540+294+50+1880) + (90+504+20+376)) = =10802 кг/добу≈11 т/добу.

Таблиця 2.7 - Витрата кормів на разову годівлю

Вид корму Витрата корму, кг

Підсисні

Свиноматки

(180

голів)

Поросята

2.4 місяців

(840 голів)

Ремонтний

молодняк

(40 голів)

Відгодівельний

молодняк

(940 голів)

зима літо зима літо зима літо зима літо

Концентрований (ячмінь,

кукурудза, горох, макуха

соняшникова, корм, доб.)

103 390 478 516 84 40 844 930
Трав'яне борошно 63 - 25 - 6 - 94 -
Коренеплоди (буряки) 540 - 294 - 50 - 1880 -
Зелена маса бобових - 540 - 336 - 40 - 1410
Знежирене молоко 90 90 504 420 20 20 376 376

Годинна продуктивність кормоцеху складає

(2.11)

де Тзм - тривалість роботи кормоцеху за зміну, год. Приймаємо Тзм = 7 год, тоді

т/год

Для приготування кормів на проектній фермі вибираємо кормоцех КЦС-200/2000, продуктивність якого при запарюванні кормових сумішей на основі коренеплодів складає 4 т/год.

Перевіримо пропускну здатність ліній.

Лінія концентрованих кормів. Продуктивність

(2.12)

де QР. Конц - максимальна маса концкормів, що використовуються для разового годування, кг,QР. Конц = 930 кг;

tл - час, відведений для приготування однієї видачі з максимальною кількістю даного виду корму, годин, приймаємо tл = 0,5 год,

Концкорми дозуються живильником ПК-6, який має номінальну потужність 6 т/год []. Як бачимо, Wжив >WЛ. Конц , а значить одного живильника достатньо для завантаження концкормів у змішувач С-12.

Приймаємо, що в господарстві використовуються не готові комбікорми, а зерно, після подрібнення безпосередньо в господарстві, тоді необхідна продуктивність дробарки Wдр (т/год):

де Qдоб. з - максимальна маса зерна, що використовується для приготування добової норми концкормів, т, Qдоб. з = 3,05 т (див. табл.2.4).

Отже, для подрібнення зерна для приготування концентрованих кормів безпосередньо в умовах господарства використовують експериментальну дробарку штифтового типу продуктивністю 0,6 т/год.

Лінія сінного борошна. Продуктивність лінії визначаємо аналогічно лінії концкормів.

(2.14)

де Qр. сіна - максимальна маса трав'яного борошна для разової дачі корму, т,Qр. сіна =188 т (табл.2.7);

ТРоб - тривалість роботи лінії, год, ТРоб = 0,5 год,

Продуктивність дробарки КДУ-2,0 на сіні складає 0,8 т/год. Значить, однієї дробарки достатньо для приготування необхідної кількості сінного борошна. Лінія зелених кормів. Продуктивність лінії визначаємо за формулою:

(2.15)

де QР. Зел - максимальна маса зелених кормів для разової дачі корму,

QР. Зел = 2,326 т (табл.2.7);

ТРоб = 0,5 год.

т/год.

Продуктивність подрібнювача кормів “Волгарь - 5" при подрібненні

зеленої маси становить 8 т/год, WПодр >WЛ. Зел. - умова для подрібнення виконується.

Лінія коренеплодів . Продуктивність лінії (допустимий термін переробки і зберігання коренеплодів - 2 години, приймаємо ТРоб = 0,8 год):

т/год.

Продуктивність транспортера коренеплодів ТК-56 становить до 5 т/год, а мийки - коренерізки - до 7 т/год. Як бачимо, для виконання операцій дозованої подачі коренеплодів із приймального бункера в подрібнювач мийки, каменевловлювання і подрібнення коре плодів достатньо мати один транспортер ТК-5Б і один подрібнювач ИКМ - 5.

Лінія змішування кормів. Продуктивність технологічної лінії змішування кормів визначаємо за формулою [2]:

(2.16)

де - сума мас компонентів, що входять у суміш із nвидів кормів на максимальну разову дачу, т;

tЦ - час циклу змішування кормів, год.

tЦ = tЗАВ + tНАГ +tВИВ , (2.17)

де tЗАВ - час завантаження змішувача, год, приймаємо tЗАВ = ТРоб = 0,8 год;

tНАГ - час нагрівання суміші, год, tНАГ = 0,8.1,2 год для С-12, приймаємо

tНАГ = 0,8 год;

tВИВ - час вивантаження корму, год.

(2.18)

де W= 40 т/год - продуктивність змішувача С-12 на вивантаженні кормо суміші,

год, тоді

год.

т/год.

Продуктивність змішувача С-12 з запарюванням за технічною характеристикою - 5 т/год. Значить, одного змішувача достатньо для приготування корму на разову дачу відгодівельному молодняку, свиноматкам, ремонтному молодняку і поросятам.

Визначаємо кількість води РВ (кг), яку необхідно додати у суміш, для

отримання заданої вологості кормо суміші [3]:

(2.19)

де QРац - маса суміші раціону без води, кг;

ВС - потрібна вологість кормосуміші, %;

ВРац - вологість кормосуміші без додавання води, %,

(2.20)

де В1 , В2 ,. Вn - вологість компонентів раціону, % (для концкормів В=14%, коренеплодів - 82%, сінного борошна - 16%, знежиреного молока - 91% [2]);

П1 , П2 ,. Пn - вміст компонентів у раціоні, %.

Розраховуємо за формулою необхідну кількість води, яку треба додати до кормосуміші для згодування свиноматкам:

%.

Найбільш доцільно згодувати свиням кормосуміш вологістю В0 = 57.70% [3]. Приймаємо В0 =70%,

л.

Визначаємо кількість води, яку необхідно додати до раціону поросят 2.4 місяців:

Визначаємо кількість води, що необхідно додати до раціону разової годівлі ремонтного молодняку:

Визначаємо кількість води, яку необхідно додати до раціону разової годівлі відгодівельного молодняку:

л.

Необхідну кількість пари Рп (кг) на нагрівання суміші разової годівлі визначаємо виходячи з витрати пари лише на нагрівання рідких компонентів кормосуміші (води та сироватки):

(2.21)

де q - норма витрати пари на нагрівання 1 кг води від 7 до 87 0 С, к г, q= 0, 20.0,25 кг [2], приймаємо q= 0,22 кг;

QР. К - витрата рідких компонентів на приготування разової годівлі, кг,

QР. К = (29,2+468+40+724) + (90+504+20+376) = 2251,2 кг,

Рп = кг.

Інші види вологотеплової обробки (варка, пропарювання) кормів нами не передбачаються.

Доброякісні концентровані, соковиті і зелені корми, а також їх суміш рекомендується згодовувати свиням усіх виробничих груп у сирому вигляді.

2.8.2 Розрахунок лінії роздавання кормів

Для транспортування кормів від кормоцеху до свинарників вибираємо мобільний роздавач КУТ-3А. Необхідну кількість кормороздавачів КУТ-3А визначаємо за формулою [2]:

(2.22)

де GМ - максимальна разова видача корму, кг, GМ = 6662 кг (у зимовий період з урахуванням доданої в кормосуміш води).

Продуктивність роздавача може бути визначена так:

(2.23)

де G - фактична вантажопідйомність роздавача, кг;

t0 - тривалість однієї поїздки, год.

(2.24)

де V= 3м3 - місткість бункера;

ρ = 610 кг/м3 - об’ємна маса кормосуміші;

φ = 0,75 - коефіцієнт заповнення бункера,

кг.

Тривалість однієї поїздки (оберту)

t0 = tЗ + tР + tВ + tХ. Х + tм ( 2.25)

де tЗ, tР , tВ, tХ. Х, tм - відповідно тривалість заповнення кормом роздавача, руху з вантажем, вивантаження корму в приймальний бункер свинарника, руху

без вантажу і маневрування при в’їзді на роздавальний майданчик, год.

Час вивантаження корму в роздавач

(2.26)

де WЛ. В - продуктивність лінії вивантаження готових кормів, кг/год,

WЛ. В = 20000 кг/год [2],

год.

Час руху з вантажем:

(2.27)

де L - відстань між кормоцехом і свинарником, км, приймаємо L= 0,3 км;

vB - швидкість руху агрегату з вантажем, км/год, приймаємо vВ = 6 км/год [3],

год.

Час вивантаження корму

(2.28)

де QВ - продуктивність вивантажувального пристрою роздавача, кг/год.

Продуктивність складає до 54 т/год [2], приймаємо QВ = 25000 кг/год,

год.

Час холостого ходу роздавача

(2.29)

де vх. х - швидкість руху порожнього роздавача, км/год, приймаємо

vх. х = 9км/год,

год.

Час маневрування приймаємо tМ = 0,03 год, отже

t0 = 0.07+0.05+0.05+0.03+0.03 = 0.23 год;

QР = кг/год;

ПР =

Приймаємо ПР = 2 шт.

Лінія роздавання кормів у свинарнику включає в себе електрифікований мобільний кормороздавач КСП-0,8, завантаження якого виконує причепний кормороздавач КУТ-3,0.

Так як у даному приміщенні розміщуються свиноматки, відлучені поросята і ремонтний молодняк, то приймаємо, що кожен кормороздавач (два на приміщення) обслуговує рівно половину всіх груп свиней, тобто 90

свиноматок,20 голів ремонтного молодняку і 250 голів відлучених поросят.

Визначаємо пропускну здатність лінії роздавання корму:

(2.30)

де Qmax . розд - максимальна кількість корму, яку необхідно роздати за одну годівлю, кг,

Qmax . розд = 268,8+925+128=1322 кг,

ТР - тривалість безперервної роботи кормороздавача, год, приймаємо ТР = 0,5 год,

Продуктивність кормороздавача КСП - 0,8 при роздаванні вологих сумішей WРозд = 30.70 т/год [6]. Як бачимо, WРозд >>WЛ. Р , значить одного кормороздавача корму для відведеної йому кількості тварин досить.

2.9 Технічне обслуговування машин і обладнання на фермі

Технічне обслуговування (ТО) - це сукупність заходів для підтримання справності та роботоздатності машин і обладнання при підготовці їх до використання за призначенням, транспортуванні і зберіганні. Планово-запобіжна система технічного обслуговування і ремонту машин тваринницьких ферм включає: щоденне (щозмінне) технічне обслуговування (ЩТО), періодичне технічне обслуговування № 1 (ТО-1) і для окремого обладнання № 2 (ТО-2), технічне обслуговування при зберіганні, технічний огляд, ремонт. Приймаємо, що технічне обслуговування машин і обладнання на свинофермі проводиться силами господарства. Щозмінне технічне обслуговування виконують слюсарі, а планове - спеціалізована бригада, в яку входять слюсарі та електрики господарства, що працюють на пункті технічного обслуговування ферми. Для визначення кількості обслуговувань і обсягу робіт при кожному обслуговуванні розробляємо річний план-графік технічного обслуговування машин і обладнання (див. арк. З граф. ч.).

Вихідними даними для побудови річного плану-графіку є: тип, марка та кількість машин, вид, періодичність і трудомісткість обслуговування, дата проведення останнього періодичного ТО в минулому році.

Загальну трудомісткість (год) технічних обслуговувань визначаємо за формулою [8]:

(2.31)

де m - кількість типів машин на фермі;

tі - трудомісткість і-го ТО, год;

nі - кількість і-х ТО.

Загальна трудомісткість щоденного технічного обслуговування склала

ТЩТО = 17,63 год (див. арк.3 граф. ч.), а загальна річна трудомісткість ТО (ТО-1, ТО-2) - ТПТО = 792,9 год.

У затратах на ЩТО приблизно робочого часу приділяється слюсарю, а - обслуговуючому персоналу ферми.

З урахуванням вищевикладеного кількість слюсарів nСЛ для проведення ЩТО визначаємо за формулою:

(2.32)

де k - коефіцієнт, що враховує підміну слюсарів ферми на час відпусток, хвороби, вихідних і святкових днів (при 5 - денному робочому тижні k= 1,46); α - коефіцієнт, що враховує виконання робіт, пов’язаних з усуненням несправностей та загальним доглядом за використанням засобів механізації (α= 1,25); tЗМ - тривалість зміни, год (tЗМ = 8 год); r - коефіцієнт використання часу зміни (r=0,9).

Приймаємо nСЛ = 2 чол.

Кількість майстрів-наладчиків для проведення періодичних ТО розраховуємо за формулою:

(2.32)

де - коефіцієнт, що враховує виконання робіт, не передбачених переліком операцій з ТО (=1,1);

D - кількість календарних днів у році (D=365),

Приймаємо nМ. Н = 1чол.

3. Конструкторська частина проекту. розробка повітряного водопідйомника ( ерліфта)

Успішна виробнича діяльність сучасних тваринницьких ферм залежить від стабільного енерго- та водопостачання, особливо в екстремальних умовах (під час стихійного лиха чи виробничих аварій).

Але, як відомо, у сільській місцевості ніяких дублюючих систем водопостачання не створюється, що негативно впливає на технологічні процеси на фермі в аварійних ситуаціях, на продуктивність та здоров'я тварин і птиці, а також на працездатність обслуговуючого персоналу.

Досвідом встановлено, що допустима норма часу припинення подачі води для напування тварин, яка не призводить до суттєвих втрат їх продуктивності, в середньому дорівнює для молочних корів - 6 годин, для нетелів - 3 години, для бичків на відгодівлі - 5 годин, для свиней - 12 годин, для птиці - 1 година [1].

З метою створення стійкого водопостачання під час аварійних ситуацій нами пропонується на проектній свинофермі використовувати аварійні засоби водопостачання, а саме повітряні водопідйомники, при виході з ладу існуючих глибинних насосів.

3.1 Зоотехнічні вимоги до водопідйомників

Водопідйомники - це пристрої, які не мають вільного напору і можуть піднімати воду з джерел лише на поверхню ґрунту. До водопідйомників ставляться такі вимоги:

- забезпечити рівномірний підйом води;

- мати порівняно невеликі габарити і масу;

- повинні бути довговічні, надійні в експлуатації і прості в обслуговуванні;

- задовільно працювати при концентрації піску у воді до 10 %;

- не забруднювати воду мастильними матеріалами [6].

3.2 Аналіз існуючих водопідйомників і вибір об'єкта розробки

Застосовуються водопідйомники таких типів: повітряні (ерліфти), в яких для підйому води використовується стиснуте повітря; гідроударні (гідравлічні тарани), в яких вода нагнітається тискомгідроудару; стрічкові та шнурові, в основі яких лежить принцип змочування рухомоїстрічки (шнура) водою; інерційні (вібраційні) [10, 11].

Повітряні водопідйомники (ерліфти) застосовуються для підйому рідини з колодязів глибиною 90.120 м за допомогою стиснутого повітря.

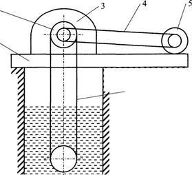
Дія ерліфтів базується на принципі використання різниці середньої густини води і повітряно-водяної емульсії. Ерліфт складається з двох колон-труб, які опускаються в свердловину. Одна колона-труба називається повітряною і призначається для подачі повітря від компресора до другої - водопідйомної труби. По водопідйомній трубі, після змішування у форсунці води й повітря, повітряно-водяна емульсія піднімається й зливається в приймальний резервуар. Тут повітря відокремлюється від води (рис.3.1).

1, 3, 6 - об садна водоприймальна та повітряні труби; 2 - форсунка; 4 - приймальний бачок; 5 - сепаратор

Рисунок 3.1 - Схема ерліфта

Головна перевага ерліфтів полягає у простоті їх конструкції, відсутності в установці обертальних частин, можливості використання свердловин малого діаметру. До недоліків ерліфтів, крім низького ККД (20. ЗО %), слід віднести необхідність достатнього заглиблення водопідйомної труби [12].

Гідравлічні тарани - це автоматично діючі водопідйомники, простої конструкції, надійні в експлуатації і не потребують двигуна для їх пуску та роботи (рис.3.2).

1 - живильна труба; 2 - ударний клапан; 3 - нагнітальний клапан; 4 - повітряний ковпак; 5 - нагнітальна труба

Рисунок 3.2 - Схема гідравлічного тарану

Принцип дії цих водопідйомників базується на використанні сили гідравлічного удару, яка завжди виникає в трубопроводі, якщо раптово загальмувати в ньому рух рідини. Ними підіймають воду з відкритих джерел при наявності природного або штучного перепаду води від 0,5 до 10 м. Якщо відкритий ударний клапан, то вода по живильній трубі через клапан прямує назовні зі зростаючою швидкістю. У той момент, коли тиск швидкісного напору води на ударний клапан перевищує його вагу, клапан миттєво закривається, виникає гідравлічний удар у живильному трубопроводі, тиск у камері різко зростає. У цей час відкривається нагнітальний клапан, і вода під тиском супутньої хвилі гідравлічного удару прямує в повітряний ковпак і в нагнітальний трубопровід. Коли ударна хвиля перейде у від'ємну фазу, тиск у камері впаде, нагнітальний клапан закриється, а ударний клапан під дією власної ваги і атмосферного тиску відкриється. Через ударний клапан вода знову буде витікати назовні і цикл роботи гідротарана повториться.

Гідравлічний таран не отримав широкого розповсюдження, так як він потребує специфічних умов застосування. Основна умова - наявність джерела води з напором Н, який повинен бути не менше 0,8 м [11].

Стрічкові та шнурові водопідйомники (рис.3.3) знайшли широке застосування для підіймання води на висоту до 30 м. Основним робочим органом є гнучка стрічка (шнур) з прогумованих матеріалів, або іншого пружного й еластичного матеріалу.

1 - рама; 2 - ведучий шків; 3 - кожух; 4 - приводний пас; 5 - двигун; 6 - робоча стрічка

Рисунок 3.3 - Схема стрічкового водопідйомника

Робота стрічкового чи шнурового водопідйомника базується на винесенні тонкого шару води, який утримується на поверхні рухомої стрічки (шнура) завдяки силам змочування.

При обертанні ведучого блока стрічка (шнур) переміщується і проходить крізь товщу води в колодязі, захоплюючи частинки води. При винесенні води на поверхню в момент переходу через ведучий блок ці частинки під дією відцентрових сил відкидаються в кожух, з якого по зливному патрубку стікають у резервуар. Подача стрічкових і шнурових водопідйомників відповідно становить 4.6 і 9 м3 /год [12].

Аналізуючи схеми існуючих водопідйомників приходимо до висновку, що на водозабірних свердловинах для заміни заглибних насосів у аварійних ситуаціях можна використовувати лише повітряні водопідйомники (гідравлічні тарани потребують джерела води з напором не менше 0,8 м; стрічкові та шнурові водопідйомники не забезпечують підйом води на висоту більше 30 м, крім того їх встановлення можливе лише в колодязях і в свердловинах великого діаметру: стрічкові - не менше 0,5 м, шнурові - не менше 0,15 м) [3].

3.3 Розробка технологічної схеми ерліфтної установки і опис процесу її роботи

Технологічна схема ерліфтної установки показана на рисунку 3.4 Вона складається з повітряної - 4 і водопідйомної - 2 труб, які опущені в свердловину.

1, 2, 4 - обсадна водопровідна та повітряна трубки; 3 - форсунка; 5 - компресор; 6 - ресивер; 7 - сепаратор; 8 - труби відводу води; 9 - вентиляційна труба; 10 – збірний резервуар

Рисунок 3.4 - Схема ерліфтної установки

В місці з'єднання цих труб розмішується спеціальний пристрій - 3, що називається форсункою (змішувачем). Форсунка являє собою перфоровану трубу з отворами діаметром 4.6 мм, сумарна площа яких в 2-3 рази більша площі перерізу повітряної труби. Стиснене повітря від компресора 5 подається по трубі4 до змішувача 3.

У водоприймальній трубі 2 напроти змішувача відбувається утворення повітряно-водяної суміші (емульсії) і підйом її в сепаратор 7, де повітря відокремлюється від води, а вода відводиться через трубу 8 у резервуар 10. Зі збірного резервуара вода насосами другого підйому подається в бак водонапірної башти (при аварійних перервах у подачі електроенергії вода може подаватись у бак водонапірної башти за допомогою гідравлічного тарану).

Рух повітряно-водяної суміші вгору по водопідйомнику 2 відбувається внаслідок різниці густини емульсії та води, що оточує водопідйомну трубу (за законом сполучених посудин).

Для компенсації ударної дії поршневого компресора, який подає стиснуте повітря поштовхами, на напірній повітряній лінії між компресором і ерліфтом встановлено ресивер. У ньому відбувається осадження масел, які затягуються повітрям з компресора. Масла потім випускаються через спеціальний кран. Одночасно ресивер служить акумулятором повітря, який регулює його витрату в напірній повітряній лінії.

3.4 Розрахунок ерліфта

Для розрахунку ерліфта задані: геометрична висота підйому (відстань від динамічного рівня рідини до точки зливу емульсії) Нr = 35 м і витрата води Q=13м3 /год.

Потрібно визначити глибину занурення форсунки відносно рівня зливу емульсії Н, діаметри водопідйомної О і повітряної й труб; витрату повітря V, необхідну для підйому заданої кількості води Q; тиск і потужність компресора.

Глибину занурення форсунки Н визначаємо за формулою [13]:

Н = kHr ( 3.1)

де k - коефіцієнт занурення труби (вибирається в залежності від заданої геометричної висоти підйому Нr , але в свою чергу він визначає ККД ерліфта η|ерл ); за рекомендаціями Я.С. Сурешиця k= 2,2, η|ерл = 0,3 [13] (для Нr = 35 м),

Н = м.

Діаметр водопровідної Dі повітряної dтруб вибираємо в залежності від заданої витрати води Q= 13 м3 /год = 3,6 л/с.

D= 75 мм, d=30 мм для Q= 3.9 л/с (діаметр обсадних труб Dобс =150 мм). За встановленими умовами проходами труб уточнюємо їх розміри: зовнішній діаметр - 89 і 38 мм, товщина стінки 2,5 і 2,0 мм відповідно для водопідйомної та повітряної труб (труби електрозварені, прямошовні за ГОСТ 10704-76).

Визначаємо витрату стисненого повітря, що необхідне для підйому ерліфтом заданої кількості води Qм3 /год [13]:

V= 1,2QV0 (3.2)

де V0 - питома витрата повітря, яка необхідна для підйому 1 м3 води,

м3, V0 = (3.3)

м3,

м3 /год.

Робочий тиск р (МПа) компресора:

р = 0,0098 (Н-Нг +hТР ) (3.4)

де hТР - гідравлічні втрати напору в повітряній трубі, приймаємо hТР = 3м,

р = 0,0098 (77-35+3) = 0,4 МПа.

За робочим тиском р = 0,4 Мпа і витратою повітря V= 101 м3 /год вибираємо компресор марки ВК-3/4, який має такі параметри: подача - 180 м3 /год, тиск - 0,4 МПа, кількість ступенів тиску - 1; потужність двигуна - 15,8 кВт [6].

Діаметр отворів приймаємо 6 мм, а кількість їх вибираємо так, щоб їх сумарна площа була в 1,5 рази більша перерізу повітряної труби. При кількості отворів n= 43 ця умова виконується.

Об'єм ресивера визначаємо за формулою:

VРес = (1,5.3,0) (3.5)

де Vпідставляємо в м3 /хв,

VРес = 2,3м3 .

4. Охорона праці

4.1 Аналіз стану охорони праці в господарстві

У господарстві постійно дбають про здорові та безпечні умови праці. Згідно зі щорічними наказами роботу з охорони праці здійснюють чотири ланки посадових осіб у відповідності з обов'язками.

Керівник господарства відповідає за стан охорони праці в цілому по господарству.

Головний інженер (він же за сумісництвом інженер з охорони праці) організовує та здійснює контроль за дотриманням безпечних умов праці на кожній ділянці, проводить інструктаж працівників один раз у 6 місяців та 32-годинне навчання по програмі з охорони праці один раз на рік.

Головний зоотехнік відповідає за охорону праці в тваринництві, організовує та проводить навчання тваринників з питань вимог безпеки та протипожежних заходів. Веде журнал інструктажів з охорони праці, в якому тваринники, що пройшли навчання, ставлять підпис.

Завідуючі фермами відповідають за справність усього обладнання ферми, за безпеку проведення робіт; приймають заходи, що запобігають травматизму. Працездатність людей, що працюють на фермі, залежить від багатьох факторів: фізичних, хімічних, біологічних та психофізіологічних. До фізичних факторів відносяться: рухомі машини та механізми; підвищення запиленості та загазованості повітря робочої зони; підвищення чи зниження температури повітря в робочій зоні; підвищення рівня шуму та вібрацій; порушення освітленості.

Хімічні фактори діляться на підгрупи по характеру дії на організм людини: загальнотоксичні, подразнюючі, що впливають на репродуктивну функцію.

До біологічних факторів відносяться мікро - та макроорганізми, дія яких викликає захворювання.

Психофізіологічні фактори діляться на фізичні та нервово-психічні перевантаження. Фізичні перевантаження можуть бути статичними, динамічними та гіподинамічними. До нервово-психічних перевантажень відносяться: розумове перевантаження, одноманітність праці, перенапруження аналізаторів і емоційні перевантаження.

У господарстві проведено паспортизацію робочих місць. При цьому були враховані параметри навколишнього середовища, що впливають на організм людини: освітлення, рівень шуму, температура, вологість, тиск, швидкість руху повітря. Заведений журнал зауважень і пропозицій для оперативного контролю за станом охорони праці.

Оперативний контроль включає регламентовані в часі перевірки та звіти керівників і спеціалістів виробничих підрозділів господарства.

Перша ступінь оперативного контролю здійснюється завідуючим фермою разом із громадськими інспекторами з охорони праці комітету профспілки, які щозмінно перевіряють заходи по усуненню недоліків. Щоденно вони доповідають інженеру служби охорони праці про виконану роботу.

Головний інженер здійснює оперативний контроль один раз у 10 днів. Зауваження та пропозиції заносяться в журнал оперативного контролю, і щомісячно складається звіт керівнику господарства.

Керівник щомісячно проводить огляд господарства та конкретизує стан організації роботи з охорони праці.

За результатами звітів кожної ступіні оперативного контролю приймаються конкретні рішення, які оформлюються постановою чи протокольним записом у спеціальному журналі.

Система навчання працюючих безпеці праці організовується у відповідності з загальними положеннями.

Навчання з питань охорони праці нових працівників проводяться під час професійно-технічного навчання на робочому місці під керівництвом спеціаліста.

Всі види інструктажу проводяться за раніше окресленим планом і розробляються у відповідності з діючими правилами та нормами вимог безпеки відповідно до виробничих умов господарства. Планування охорони праці в основному складається з розробки плану заходів, які оформлюються угодою між адміністрацією та профспілковим комітетом.

Вступний інструктаж проводять з усіма працівниками та спеціалістами, що приймаються на роботу, незалежно від їх освіти, стажу роботи чи посади, а також з відрядженими, учнями та студентами, що прибули на виробниче навчання чи практику. Вступний інструктаж проводить інженер з охорони праці. Він реєструється в журналі реєстрації вступного інструктажу.

Первинний інструктаж на робочому місці проводиться з кожним працівником окремо з практичним показом безпечних способів і методів роботи.

Повторний інструктаж проводиться індивідуально чи з групою працівників через шість місяців за програмою інструктажу на робочому місці з метою перевірки та покращення рівня знань правил та інструкцій з охорони праці.

Позаплановий інструктаж проводять після зміни правил охорони праці, технологічного процесу, модернізації обладнання та інструменту, порушення

робітниками вимог безпеки, перерви в роботі більше 30 календарних діб для робіт з підвищеною небезпекою і 60 діб для інших робіт.

Цільовий інструктаж проводять з працівниками перед виконанням робіт, на які оформляється наряд-допуск.

Проведення цільового інструктажу фіксується в наряді-допуску, а повторного та позапланового - в журналі реєстрації первинного інструктажу на робочому місці.

Навчання безпеці праці під час підвищення кваліфікації для робітників проводиться на курсах підвищення кваліфікації спеціалістів при вищих учбових закладах або науково-дослідних інститутах і підприємствах.

Незважаючи на заходи з охорони праці, що проводяться, в господарстві ще трапляються нещасні випадки. Стан травматизму відображено в таблиці 4.1.

Таблиця 4.1 - Динаміка травматизму та захворювання

Показники Роки
2006 2007 2008

Середньоспискова кількість працюючих (nп )

Кількість нещасних випадків (n1 )

Кількість потерпілих із втратою працездатності на 1 робочий день і більше (без врахування загиблих) (n2 ) Кількість днів непрацездатності у потерпілих із втратою працездатності на 1 день і більше (ДН )

400

5

5 220

390

2

2

50

385 1

1

30

Коефіцієнт частоти травматизму

12,5 5,1 2,6
Коефіцієнт важкості травматизму 44 25 30
Втрата робочого часу

550

128

78

Дані таблиці 4.1 показують, що в господарстві за останні роки намітилась тенденція до зниження травматизму та захворюваності. Так кількість нещасних випадків у 2006 р. зменшилась наполовину порівняно з 2005 р. Кількість днів непрацездатності в 2005 р. зменшилась на 77 % у порівнянні з 2004 р., а в 2006 р. - на 40 % порівняно з 2005 р.

Покращення показників травматизму пояснюється тим, що в господарстві почав постійно функціонувати оперативний контроль на рівні керівників відділків і директора господарства.

4.2 Основні заходи покращення охорони праці і протипожежної безпеки

З метою покращення організації охорони праці в господарстві

нами розроблений план додаткових заходів на 2010 рік (табл.4.2).

Таблиця 4.2-Заходи покращення організації охорони праці

Назва заходу Термін виконання Виконавець
1. Герметизувати вікна та двері в свинарнику-маточнику Осінній період Інженер-будівельник
2. Укомплектувати аптечками невідкладної допомоги всі виробничі підрозділи Постійно Головний інженер
3. Забезпечити спецодягом робітників На початку року Адміністрація
4. Відремонтувати протипожежну сигналізацію у відгодівельнику На початку року Інженер-електрик
5. Здійснити перезарядку вогнегасників ОХП-10 На початку року Інженер з охорони праці
6. Забезпечити оптимальне освітлення та вентиляцію виробничих приміщень Постійно Інженер-електрик
7. Забезпечити чистоту робочих місць і виробничих приміщень, створити санітарно-захисні зони навколо виробничих будівель Постійно Колектив господарства

На фермі створено основний пост з повним набором справного протипожежного інвентарю (лопати, відра, сокира, гаки, 4 вогнегасники, пересувна насосна установка, дзвін для подачі пожежної тривоги). Крім того, біля кожного приміщення для утримання молодняку встановлено протипожежний щит, на якому закріплено відра, 2 вогнегасники, лопату. Біля щита знаходиться ящик з піском і бочка з водою місткістю 300 л.

На території ферми обладнано 2 пожежні водойми місткістю 500 м3 кожна. Необхідна місткість водойми V (м3 ) визначена з умови:

V= 3,6gtn(4.1)

де g - витрата води, л/с; g= 40 л/с; - t - тривалість пожежі, год; t= 3 год; n - кількість пожеж; n= 2,м3

У кожній будівлі на видному місці вивішені "Правила пожежної безпеки". Для паління відведено спеціальні місця, обладнані протипожежним інвентарем.

4.2.1 Вимоги безпеки та виробнича санітарія

Розрахунок потреби в спецодязі та в засобах індивідуального захисту для працівників відгодівельної ферми, що проектується, наведено в таблиці 4.3.

Таблиця 4.3 - Потреба в спецодязі

Професія (посада) Кількість, чол Назва індивідуальних засобів захисту Термін використання, міс Потреба на рік
Ветлікар, зоотехнік 1 Халат бавовняний Безрукавка тепла Фартух клейончастий Чоботи гумові Рукавиці гумові 12 24 24 24 6

1 шт.

1 шт.

1 шт.

1 пара 2 пари

Завідуючий фермою 1 Чоботи гумові Халат бавовняний 24 12 1 пара 1 шт.
Працівники кормоцеху 2 Чоботи гумові Халат бавовняний 12 12 2 пари 2 шт.
Свинарі 5 Халат бавовняний Рукавиці бавовняні Куртка на ваті Чоботи гумові

12

4 24 12

5 шт.

15 пар

5 шт.

5 пар

Трактористи 2 Комбінезон Рукавиці бавовняні 12 6

2 шт.

4 пари

Слюсарі-наладчики 3 Халат бавовняний Рукавиці бавовняні 12 6 3 шт.6 пар
Електрик 1 Халат бавовняний Рукавиці гумові 12 6

1 шт.

2 пари

Комірник 1 Халат бавовняний 12 1 шт.

Всього на рік необхідно 14 халатів бавовняних, 1 тепла безрукавка, 1 фартух клейончастий, 7 пар гумових чобіт, 4 пари гумових рукавиць, 25 пар рукавиць бавовняних, 5 ватних курток, 2 комбінезони.

5. Екологічна частина проекту

Дане господарство - сільськогосподарське підприємство з розвиненими галузями рослинництва та тваринництва.

Як кожна галузь суспільного господарства, сільськогосподарське виробництво взаємодіє під час своєї виробничої діяльності з навколишнім природним середовищем і його ресурсами.

Діяльність, як окремих фізичних осіб, так і юридичних по відношенню до використання навколишнього природного середовища регулюється відповідними державними постановами та Законами. Верховною Радою України 25 червня 1991 р. прийнятий "Закон України про охорону навколишнього природного середовища".

Його завданням є регулювання відносин у галузі охорони, використання і відтворення природних ресурсів, забезпечення екологічної безпеки, попередження та ліквідація негативного впливу господарської чи іншої діяльності на навколишнє природне середовище, збереження природних ресурсів, генетичного фонду живої природи, ландшафтів і інших природних комплексів, цілісних територій і природних об'єктів, зв'язаних із історично-культурною спадщиною.

Стаття 3 пункт "е" Закону зобов'язує проводити екологічну експертизу об'єктів, а пункт "ж" - формувати у населення екологічний світогляд.

Екологічній експертизі повинні підлягати не лише діючі господарські об'єкти, а й проекти на майбутнє.

У даному дипломному проекті розроблена комплексна механізація свинотоварної ферми із закінченим виробничим циклом.

При здійсненні екологічної експертизи необхідно визначитись з факторами впливу свинотоварної ферми на природне середовище та з його кількісними показниками. Найголовнішим завданням проекту і є розробка лінії прибирання й утилізації гною. Розробкою лінії прибирання гною ми забезпечуємо його концентрацію в одному визначеному місці (гноєсховищі), це дає можливість якісно знезаражувати, утилізувати й використовувати гній як добриво на полях. У процесі розпаду органічних азотних речовин, що знаходяться в гноєві, виділяється аміак.

Санітарний стан на фермі визначається його загальним об'ємом виділення. Саме для цього проектом і передбачається своєчасне прибирання і утилізація гною. Процес біотермічного знезараження відбувається до шести місяців, з яких два місяці повинні припадати на теплі періоди року. Крім виділення аміаку в свинарниках виділяється ще й вуглекислий газ при диханні тварин.

Для досягнення нормальних параметрів мікроклімату в приміщеннях свинарників здійснюється необхідний повітрообмін. Його визначено розрахунком для кожної вікової групи тварин згідно з кількісними показниками виділення теплоти, водяної пари та вуглекислого газу.

Вентиляційні викиди передбачено здійснювати над покрівлею будівель зосереджено. Викиди в атмосферу крім вентиляційних установок свинарника здійснює і обладнання котельнею.

Дані розрахунків викидів шкідливих речовин в атмосферу від діяльності ферми наведено в таблиці 5.1.

Таблиця 5.1 - Викиди шкідливих речовин в атмосферу

в атмосфере

РУ

Об'єкт

викиду

Забруднююча

речовина

Фактичні

викиди

забруднюючої

речовини

Допустимі викиди

забруднюючої

речовини

г/с т/рік г/с т/рік
Свинарник Аміак 0,317 10,0 0,317 10,0
Окисли азоту 3,091 50,3 3,15 52,3
Котельня Окисли вуглецю 1,266 20,7 1,5 22,4
Сірчаний ангідрид 1,689 27,5 2,0 28,0
Зола 1,689 32,5 1,85 35,0

Аналізуючи дані таблиці викидів шкідливих речовин ми можемо зробити висновки, що впровадження засобів механізації видалення і утилізації гною, а також система вентиляції в свинарниках відповідають вимогам охорони навколишнього природного середовища, а особливо повітряного басейну. Викиди забруднюючих речовин не вищі їх допустимих норм викидів. У свинарниках це досягається централізованим збором викидів та розсіюванням їх вище покрівель приміщення.

В котельні завдяки встановленню золовловлюючих і повітроочисних установок і фільтрів, а також завдяки досягненню повного згорання палива досягнуті викиди в атмосферу нижче допустимих норм викидів.

Виробнича діяльність ферми також негативно впливає і на ландшафт території навколо сільськогосподарського об'єкта та його водний режим. Основним засобом захисту підземних водних запасів від забруднення навколо артсвердловини передбачене огородження та створення санітарної зони в радіусі 30 м.

Свиноферма має огорожу та відділяється від найближчого житлового району санітарно-захисною зоною радіусом 500 м. Для

забезпечення нормального повітряного стану на фермі на її території передбачена посадка зелених насаджень по її периметру.

Здійснивши комплексну механізацію свинотоварної ферми ми забезпечили не тільки машинну технологію виробництва, але й якісний і централізований збір виробничих відходів. Розрахунки екологічної експертизи підтверджують, що діяльність сільськогосподарського об'єкта не спричинить шкоди навколишньому природному середовища, а органи охорони природи дадуть дозвіл на реконструкцію діючої свинотоварної ферми господарства.

6. Техніко-економічне обгрунтування проекту

Визначаємо собівартість 1 т приросту живої маси свиней С (грн.) [8]:

(6.1)

де А - сумарні амортизаційні відрахування на будівлі, машини і обладнання, грн.;

Р - сумарні відрахування на поточний ремонт будівель, машин і обладнання, грн.;

З - загальна сума оплати праці працівників ферми (з доплатами і нарахуваннями), грн.;

Е - вартість електроенергії, грн.;

П - вартість паливно-мастильних матеріалів, грн.;

В - вартість води, грн.;

К - вартість кормів, грн.;

ПВ - прямі витрати (охорона праці, вартість медикаментів тощо), грн.;

Н - накладні витрати (витрати по організації виробництва і управлінню), грн.;

Д - вартість гною (другорядної продукції), грн.;

ВП - приріст живої маси свиней за рік (валова продукція), т.

Сумарні амортизаційні відрахування на будівлі і обладнання (машини)

А= (6.2)

де КАБ і КАО - норма амортизаційних відрахувань відповідно на будівлі і обладнання, %; КАБ = 1,95 %, КАО = 18 %;

ВБ і ВО - вартість будівель і обладнання, грн.; приймаємо ВБ = 2579500 грн., ВО =265650 грн. [4],

А=грн.

Сумарні відрахування на поточний ремонт будівель і обладнання

(6.3)

де КРБ і КРО - норма відрахувань на поточний ремонт відповідно будівель і обладнання, %; КРБ = 2,6 %, КРО = 12,5 %;

грн.

Витрати на оплату праці працівників ферми приймаємо 55630 грн. [4]. Вартість електроенергії

Е=mqE BE (6.4)

де m - поголів'я свиноматок на фермі, m= 180 голів;

qE - норма споживання електроенергії на одну свиноматку на рік, кВтгод; qЕ =220.250 кВтгод, приймаємо qЕ = 220 кВтгод;

ВЕ - вартість 1 кВтгод спожитої електроенергії, грн.; ВЕ =0,17 грн.,

грн.

Вартість паливно-мастильних матеріалів:

П= mqП ВКом (6.5)

де qП - витрата дизпалива на одну свиноматку на рік, кг; приймаємо qП =150кг [6];

ВКом - комплексна ціна 1 кг дизпалива, грн.; ВКом =4 грн.,

грн. Вартість води

В = 365 k QДоб ВВ , (6.6)

де k - коефіцієнт, що враховує витрату води на технологічні потреби, k=1,1; ВВ - вартість 1 т води, грн.; ВВ = 3 грн/т,

В = грн.

Вартість кормів приймаємо, виходячи з реальних витрат на корми у господарстві в 2002 р.: К=358670 грн. Прямі витрати приймаються в розмірі 5 % від суми амортизаційних відрахувань і витрат на поточний ремонт і техобслуговування:

ПВ = 0,05 (98117 + 100273) = 9920 грн.

Накладні витрати приймаються в розмірі 20 % всіх витрат без врахування вартості кормів:

грн.

(6.7)

де GP - річний вихід гною на фермі, т, GP = 10402 т;

ВГ - вартість 1 т гною, грн., приймаємо ВГ = 18 грн. /т (за даними господарства),

Д= грн.

Одержано приросту живої маси свиней - 95 т.

Собівартість 1 т приросту живої маси свиней:

грн.

Затрати праці ЗП (год) на одну тонну приросту живої маси свиней:

(6.8)

де n - кількість виробничих працівників на фермі, n= 13 чол.; ТЗМ - тривалість робочої зміни, год, ТЗМ = 8 год,

год/т.

Рівень рентабельності Р (%) виробництва продукції:

(6.9)

де Ц - закупівельна ціна однієї тони живої маси свиней, грн.; приймаємо Ц= 10200 грн. (виходячи з ціни, яка установлена нині для цеху переробки свинини у господарстві)

Окупність капіталовкладень

(6.10)

де К3 - загальні капіталовкладення, грн.; К3 = ВБ + ВО = 2579500 + 265650 = =2845150 грн.,

років.

Результати розрахунків зводимо в таблицю 6.1.

Таблиця 6.1 - Показники порівняльної ефективності свинотоварної ферми із закінченим виробничим циклом на 180 свиноматок

Показник Варіант Проектний у %
вихідний проектний до вихідного

Потужність ферми (кількість

свиноматок), гол.

120 180 150
Капітальні вкладення, тис. грн. 1968 2845 145

Одержано приросту живої маси

свиней на вирощуванні та

відгодівлі, т

64 95 148

Собівартість 1 т приросту живої

маси свиней на вирощуванні та

відгодівлі, грн.

7804 6634 85

Затрати праці на 1 т приросту живої

маси свиней на вирощуванні та

відгодівлі, год

433 400 92
Рівень рентабельності, % 30 54 180
Окупність капіталовкладень, років - 8 -

Висновки та пропозиції

Свинарство для України поряд з молочно-м'ясним скотарством - традиційна галузь тваринництва. У загальній структурі виробництва м'яса свинина займає друге місце після яловичини і телятини.

На проектній свинотоварній фермі із закінченим виробничим циклом використовуємо вигульну систему утримання тварин.

Для приготування кормів на проектній фермі вибираємо кормоцех КЦС-200/2000, продуктивність якого при запарюванні кормових сумішей на основі коренеплодів складає 4 т/год.

Для транспортування кормів від кормоцеху до свинарників вибираємо мобільний роздавач КУТ-3А.

Лінія роздавання кормів у свинарнику включає в себе електрифікований мобільний кормороздавач КСП-0,8, завантаження якого виконує причепний кормороздавач КУТ-3,0.

З метою створення стійкого водопостачання під час аварійних ситуацій нами пропонується на проектній свинофермі використовувати аварійні засоби водопостачання, а саме повітряні водопідйомники, при виході з ладу існуючих глибинних насосів.

Створення аварійної системи водопостачання на проектній свинофермі зводить до мінімуму втрати продукції і зниження продуктивності тварин під час тимчасових перерв у постачанні води.

Головна перевага ерліфтів полягає у простоті їх конструкції, відсутності в установці обертальних частин, можливості використання свердловин малого діаметру.

Геометрична висота підйому води НГ = 35 м і витрата води Q= 13 м3 /год забезпечується повітряним водопідйомником при таких його параметрах і режимах роботи: глибина занурювання змішувача - 77 м; діаметр водопідйомної, повітряної та обсадної труб відповідно 75, 30 і 150 мм; витрата стислого повітря - 101 м3 /год; робочий тиск компресора - 0,4 МПа.

У результаті впровадження розробленої технології виробництва свинини у господарстві очікується зниження собівартості приросту 1 т живої маси свиней на 15%.

Результати роботи можуть бути використані інженерно-технічними працівниками проектних, будівельних організацій та аграрних підприємств.

Список використаної літератури

1. Водяницький Г.П. Методичні вказівки з курсового і дипломного проектування. Житомир. - 2005. - 195 с.

2. Герук С.М., Обиход А.І., Сукманюк О.М. Інженерно-технологічні вимоги до написання дипломних (курсових) проектів і робіт. - Житомир, ДАЕУ. - 2006. - 255 с.

3. Відомчі норми технологічного проектування: Свинарські підприємства: ВНТП СПП-46-2.95/Мінсільгосппрод України. - К.: Поліграф-колегіум, 1995. - 44 с.

4. Проектування механізованих технологічних процесів тваринницьких підприємств / І.І. Ревенко, В.Д. Роговий, В.І. Кравчук та ін.; За ред.І.І. Ревенка. - К.: Урожай, 1999. - 192 с

5. Ноздрин Н.Т., Сагло А.Ф. Выращивание молодняка свиней. - М.: Агропромиздат, 1990. - 144 с

6. Залыгин А.Г. Механизация реконструируемых свиноводческих ферм и комплексов. - М.: Агропромиздат, 1990. - 255 с.

7. Малахов В.А., Макаренко А.П. Эксплуатация машин и оборудования свиноводческих ферм: Справочник. - М.: Росагропромиздат, 1989. - 271 с.

8. Справочник по механизации и автоматизации в животноводстве и птицеводстве / А.С. Марченко, Г.Е. Кистень, Ю.Н. Лавриненко и др.; Под ред.А.С. Марченко. - К.: Урожай, 1990. - 456 с.

9. Енохович А.С. Справочник по физике. - М.: Просвещение, 1990. - 384 с.

10. Брагінець М.В., Педченко П.В., Резчик І.Г. Монтаж, експлуатація і ремонт машин у тваринництві. - К.: Вища шк., 1991. - 359 с.

11. Машиновикористання у тваринництві / І.І. Ревенко, В.М. Манько, В. І.

12. Кравчук; За ред.І.І. Ревенка. - К.: Урожай, 1999. - 208 с.

13. Усоковский В.М. Водоснабжение в сельском хозяйстве. - М.: Агропромиздат, 1989. - 280 с.

14. Карамбиров Н.А. Сельскохозяйственное водоснабжение. - М.: Агропромиздат, 1986. - 352 с.

15. Сафонов Н.А., Сивак В.М., Сафонов А.Н. Сельскохозяйственное водоснабжение. - К.: Вища шк., 1988. - 224 с.

16. Устойчивостьэнерговодоснабжениямеханизированных животновожческих ферм / Е.Д. Рыбкин, Н.И. Щербинин, А.И. Индейкин и др. - Л.: Агропромиздат, 1990. - 127 с.

17. Буракова СО., Підгородецький М.В., Марущак А.М. Записна книжка інженера з охорони праці. - К.: Урожай, 1991. - 168 с.

18. Курсовое проектирование деталей машин / Под ред. С.А. Чернявского. - М.: Машиностроение, 1987. - 351 с.

19. Покропивный С.Ф. Экономическое обоснование инженерных решений. К.: Техника, 1985. - 207 с.

20. 19. Михайлов С.І., Бугуцький О.А. Економіка виробництва свинини. - К.: Урожай, 1990. - 216 с.

Оценить/Добавить комментарий
Имя
Оценка
Комментарии:
Хватит париться. На сайте FAST-REFERAT.RU вам сделают любой реферат, курсовую или дипломную. Сам пользуюсь, и вам советую!
Никита08:53:22 03 ноября 2021
.
.08:52:54 03 ноября 2021
.
.08:52:08 03 ноября 2021
.
.08:51:54 03 ноября 2021
Делаю рефераты, курсовые, контрольные, дипломные на заказ. Звонитепишите вотсап, телеграмм, вайбер 89675558705 Виктория.
18:51:32 13 октября 2021

Смотреть все комментарии (19)
Работы, похожие на Дипломная работа: Комплексна механізація технологічних процесів на свинотоварній фермі із закінченим циклом виробництва

Назад
Меню
Главная
Рефераты
Благодарности
Опрос
Станете ли вы заказывать работу за деньги, если не найдете ее в Интернете?

Да, в любом случае.
Да, но только в случае крайней необходимости.
Возможно, в зависимости от цены.
Нет, напишу его сам.
Нет, забью.



Результаты(289240)
Комментарии (4180)
Copyright © 2005-2021 HEKIMA.RU [email protected] реклама на сайте