Содержание
Введение
1. Назначение и устройство механизма поворотагусеничного трактора
2. Устройство и работа планетарного механизма
3. Устройство и действие тормозов
4. Уход за механизмом поворота гусеничного трактора
5. Основные неисправности и способы их устранения
Литература
Введение
ТРАКТОР (новолат. tractor, от лат. traho - тащу), самоходная машина на гусеничном или колесном ходу для приведения в действие прицепленных к ней или установленных на ней машин-орудий (сельскохозяйственных, строительных, дорожных и т. п.), для привода стационарных машин, для буксирования прицепов. Первые колесные тракторы с паровыми машинами появились в Великобритании и Франции в 1830. С 1912 в США, затем и в других странах производятся тракторы на гусеничном ходу. В России первые тракторы изготовлены в начале 1920-х гг.
В период 1918 - 1930 гг. создавалось ряд оригинальных конструкций отечественных тракторов, но выпускались они в небольшом количестве. Это был подготовительный период к созданию мощной отечественной тракторостроительной промышленности. В годы первой пятилетки вступили в строй специализированные тракторные заводы и гиганты—первенцы отечественного тракторостроения: Сталинградский (ныне Волгоградский -ВгТЗ), Харьковский (ХТЗ) и Челябинский (ЧТЗ).
К началу Великой Отечественной войны общий выпуск тракторов в СССР составлял 40% от мирового производства, а по выпуску гусеничных тракторов страна вышла на первое место.
Война нанесла огромный ущерб тракторной промышленности: часть заводов были разрушены, другие - переведены на производство оборонной продукции.
Возрождение тракторной промышленности началось еще до победного окончания войны. В 1943г. в г. Рубцовске создается Алтайский тракторный завод (АТЗ), выпускающий гусеничный трактор АТЗ-НАТИ. В 1944г. на Сталинградском и Харьковском заводах организуется производство трактора СХТЗ-НАТИ. В последующие годы эти заводы переводятся на выпуск тракторов ДТ-54.
В послевоенный период вступают в строй новые тракторные заводы: Владимирский (1945г.), выпускающий колесный трактор «Универсал»; Липецкий (1947г.) - гусеничные тракторы КД-35 общего назначения и КПД-35 пропашной с дизельным двигателем мощностью 27,2 кВт (37 л.с); Минский (1953г.) - трактор «Беларусь» (МТЗ-2) и другие заводы.
Созданы специальные заводы по производству тракторных двигателей: Минский моторный завод (ММЗ), Алтайский моторный завод (АМЗ) в г. Барнауле, Харьковский моторостроительный завод «Серп и молот», Харьковский завод тракторных двигателей (ХЗТД) и другие. Совершенствование тракторных двигателей с целью увеличения их мощности и улучшения экономичности ведется путем применения наддува, неразделенных камер сгорания и увеличения числа цилиндров до 6... 12 при V-образном их расположении.
Колесные тракторы в сравнении с гусеничными проще в изготовлении, менее металлоемкие, более долговечны и универсальны по применению. Однако из-за малого сцепного усилия колесные тракторы выпускались с тягой не свыше 10,04 кН (1,4 тс) и только в последние годы разработаны конструкции и начался выпуск колесных тракторов: К-700 и К-701 с тягой 50 кН (5тс) на Кировском заводе, и Т-150К с тягой 30 кН (3 тс) на ХТЗ. Увеличение тяги у этих тракторов достигнуто за счет применения привода на все четыре колеса при одинаковом размере их и установке на них двигателей повышенной мощности.
Одновременно с расширением выпуска тракторов производится непрерывное их совершенствование, которое направлено на: увеличение мощности рабочих скоростей тракторов, применение колесного хода на тракторах с большим тяговым усилием 30... 50 кН (3... 5 тс), совершенствование конструкций двигателей, улучшение условий труда трактористов и повышение долговечности тракторов.
Мощные тракторы с большими рабочими скоростями обеспечивают высокую производительность, что позволяет сократить время выполнения полевых работ до оптимальных сроков и уменьшить число трактористов и механизаторов, занятых на сельскохозяйственных работах.
Каждый механизатор должен хорошо изучить устройство трактора, в совершенстве овладеть техникой его вождения, строго выполнять правила ухода за ним, чтобы использовать все возможности для увеличения производительности труда и снижения затрат в сельскохозяйственном производстве.
1.
Назначение и устройство механизма
поворота гусеничного трактора
Механизм поворота служит для получения различных поступательных скоростей правой и левой гусениц, необходимых при повороте гусеничного трактора. Одновременно он выполняет функцию тормозов. Механизм поворота должен обеспечивать устойчивое прямолинейное движение трактора и плавный переход от прямолинейного движения к криволинейному, при минимальных потерях мощности. Направление движения гусеничного трактора изменяют при отключении от трансмиссии той гусеничной цепи, в сторону которой надо повернуть трактор. В случае крутого поворота или разворота на месте отключенную гусеничную цепь необходимо притормозить.
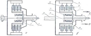
В качестве механизма поворота используют сухие фрикционные многодисковые муфты управления (рис. 1) и планетарные механизмы (рис. 1 а).
В муфте управления ведущей частью является вал 1 (рис. 1) главной передачи с расположенным на его шлицах ведущим барабаном 2. На наружной цилиндрической поверхности барабана сделаны продольные канавки, в которые установлены внутренними зубцами тонкие стальные ведущие диски 3. Ведомый барабан 4 закреплен на ведущем валу 6 конечной передачи. На внутренней поверхности барабана 4 имеются канавки, в которые входят своими наружными выступами ведомые диски 5 с фрикционными накладками. Диски 3 и 5 устанавливают через один и сильно сжимают между собой через нажимной диск 9 пружинами 8, в результате чего при вращении вала 1 крутящий момент передается на ведущий вал 6 конечной передачи.
Для поворота трактора выключается одна из муфт управления. При этом диск 9 перемещается в направлении стрелок Б, пружины сжимаются, диски 3 и 5 освобождаются, и вращение ведомого барабана и ведущей звездочки прекращается.
Планетарный механизм поворота трактора ДТ-75М (см. рис. 1а) состоит из двух симметрично расположенных одинаковых планетарных устройств управления правой и левой гусеничными цепями.
Механизмы собраны в цилиндрическом корпусе 5, установленном на подшипниках в корпусе заднего моста. К корпусу снаружи прикреплена ведомая шестерня 4 главной передачи, а внутри расположены два зубчатых венца б (короны). На осях 8 водила 7 свободно надеты сателлиты 9, находящиеся в зацеплении с короной 6 и одновременно с солнечной шестерней 10. Ступица солнечной шестерни 10 опирается на подшипники, помещенные в корпусе заднего моста. Шестерня 10 представляет собой одно целое с тормозным шкивом 3. Водило 7 соединено с валом 2, на котором размещены тормозной шкив 1 и ведущая шестерня конечной передачи. Управляют планетарным механизмом при помощи тормозов, размещенных в боковых отделениях корпуса заднего моста.
Во время движения трактора по прямой педали 17 и рычаги 16 отпущены. Тормозные шкивы валов 2 свободны, а тормозные шкивы 3 затянуты тормозными лентами 11 при помощи пружин 15 и не вращаются. При этом шестерни главной передачи вращают корпус 5, а он своими коронами 6 приводит в движение сателлиты 9, заставляя их обкатываться по неподвижным шестерням 10. Оси 8 сателлитов 9 водила 7 передают вращение валам 2 и далее на конечные передачи.
Рис. 1. Схема многодисковой муфты управления
а — муфта управления включена;
б — муфта управления выключена;
1 — ведущий нал; 2 — ведущий барабан; 3 — диск ведущего барабана; 4 — ведомый барабан;
5 —диск ведомого барабана;
6 — ведущий вал конечной передачи; 7 — шпилька; 8 — пружина; 9 — нажимной диск.

Рис.1. (а): Механизм поворота гусеничного трактора:
1 — тормозной шкив вала (водила); 2 —- вал;
3 — тормозной шкив солнечной шестерни;
4 — ведомая шестерня главной передачи;
5 — корпус планетарного механизма; 6 — зубчатый венец (корона);
7 — водило; 8 — ось сателлита; 3,9 — сателлит; 10 — солнечная шестерня; 11 — тормозная лента тормоза солнечной шестерни; 12 — тормозная лента тормозного шкива вала (водила); 13 — рычаг;
14 — тяга; 15 — пружина тормозной ленты; 16 — рычаг тормоза солнечной шестерни; 17 — педаль тормоза водила.
2.
Устройство и работа планетарного механизма
Планетарный механизм поворота трактора ДТ-75М состоит из двух симметрично расположенных одинаковых планетарных устройств управления правой и левой гусеничными цепями.
Для поворота трактора гусеницы отключают раздельно с помощью планетарных механизмов, которые в сочетании с тормозами могут выполнять роль фрикционных муфт, т. е. разъединять и плавно соединять Валы трансмиссии. Ведущие элементы в планетарных механизмах поворота — коронные шестерни 8 (рис. 2) внутри общего барабана 4, а ведомые — водила 14, которые валами (полуосями) 1 соединены с ведущими шестернями конечных передач. На осях 13, закрепленных в водилах, вращаются сателлиты 12, которые соединяют солнечные шестерни 11 с коронными.
Рис.2. Составные части механизма поворота (б):
1 —валы (полуоси);
2— остановочные тормоза;
3 — тормоза солнечных шестерен; 4 — барабан;
5 и 6 — ведомая и ведущая конические шестерни;
7 — вторичный вал коробки передач; 8 — коронные шестерни; 9 — шестерни конечной передачи;
10 — ведущие звездочки;
11—солнечные шестерни;
12 — сателлиты; 13 — оси сателлитов; 14 — водила.
При прямолинейном движении трактора обе солнечные шестерни заторможены. Крутящий момент от вторичного вала 7 коробки передач через конические шестерни 5 и 6 передается коронным шестерням. Вращаемые ими сателлиты перекатываются по солнечным шестерням и через оси увлекают за собой водила. От водил через полуоси и шестерни конечных передач крутящий момент передается ведущим звездочкам10, и они, вращаясь, перематывают гусеницы с равными скоростями. Для совершения плавного поворота трактора, например влево, необходимо переместить левый рычаг на себя. При этом тормозная лента отпускает тормозной шкив и солнечная шестерня освобождается. Когда одну из солнечных шестерен растормаживают, сателлиты перестают перекатываться по ней, так как она сама начинает вращаться в обратном направлении. Поэтому передача крутящего момента на водило прекращается, т. е. гусеница отключается от трансмиссии. Однако за счет толкающего усилия, передаваемого через остов от другой гусеницы, отключенная гусеница все же продолжает перематываться, хотя и с меньшей скоростью. Поэтому поворот трактора будет плавным, особенно когда невелико сопротивление буксируемых машин. При этом водило, хотя и отключено от коронной шестерни, все же продолжает поворачиваться в прежнем направлении, так как получает вращение от отстающей гусеницы через звездочку и конечную передачу.
Для крутого поворота трактора необходимо после выключения тормоза солнечной шестерни нажать педаль 17 тормоза водила. Тогда тормозная лента 12 останавливает тормозной шкив 1 и затормаживает вал 2. Трактор совершает крутой поворот. Если его остановить тормозом, то остановятся звездочка и гусеница — трактор круто повернется на месте.
При одновременном освобождении обеих солнечных шестерен передача крутящего момента к гусеницам прекращается и трактор останавливается.
Планетарные механизмы служат не только для поворота, но и как дополнительные редукторы, что позволяет уменьшить нагрузку на детали коробки передач и на конические шестерни заднего моста.
Корпус 1 (рис. 3) моста отлит вместе с корпусом коробки передач. Средний отсек, где размещены планетарные механизмы поворота, и полость коробки передач образуют общую масляную ванну. Боковые отсеки — сухие (здесь находятся тормоза).
Ведущая коническая шестерня изготовлена вместе с вторичным валом коробки передач, а ведомая 26 прикреплена болтами к фланцу барабана 27 коронных шестерен, вращающегося на шариковых подшипниках. Внутренние кольца этих подшипников опираются на стаканы 24, запрессованные в расточки перегородок. В стыке ведомой конической шестерни и фланца барабана коронных шестерен установлены прокладки 25 для регулировки зацепления конических шестерен.
В барабане 27 имеются два внутренних зубчатых венца коронных шестерен, каждая из которых соединена тремя сателлитами 29 со своей солнечной шестерней 31. Зубья солнечных шестерен нарезаны на концах длинных ступиц, которые вставлены, в стаканы 24 и опираются на запрессованные в них бронзовые втулки.
Сателлиты вращаются в игольчатых подшипниках на осях 30, закрепленных в водилах 28, которые представляют собой стальные отливки треугольной формы. В шлицевые ступицы водил вставлены внутренние концы валов (полуосей) 37. Их наружные шлицевые концы соединяются с ведущими шестернями 36 конечных передач.
Рис. 3. Ведущий мост трактора ДТ-75МВ:
1 — корпус; 2 и 3 — тормозные ленты; 4 — шкив тормоза солнечной шестерни;
5 — шкив ocтановочного тормоза; 6, 21 и 32 — крышки; 7 и 8 — регулировочные гайки;
9, 12 и 18— серьги; 10—пальцы; 11 и 13 — рычаги механизма остановочного тормоза;
14, 19, 20 и 22— тяги; 15 и 16 — рычаги механизма тормоза солнечной шестерни;
17 — ось рычагов; 23, 34 и 40 — пружины; 24 — стакан;
25 — регулировочные прокладки; 26 — ведомая коническая шестерня;
27 — барабан коронных шестерен; 28 — водила; 29 — сателлит; 30 — ось сателлита;
31 — солнечная шестерня; 33 — сальник; 35 и 39 — запорные планки;
36 — ведущая шестерня конечной передачи; 37—вал (полуось); 38—уплотнение;
41 — маслоуспокоительный кожух; 42 и 44 — пробки;
43 — опорные регулировочные винты.
Конические шестерни и планетарные механизмы смазывают трансмиссионным маслом, которое заливают в среднее отделение до верхней метки на стержне, закрепленном в пробке заливной горловины.
Маслоуспокоительный кожух 41 служит как бы дополнительным поддоном с небольшим уровнем масла. Благодаря этому уменьшается взбалтывание, а следовательно, и нагревание масла в среднем отсеке корпуса, а также уменьшается забрасывание на детали механических примесей, отстаивающихся в масляной ванне. Проникновение масла из среднего отсека к тормозам предотвращается уплотнениями 33, выполненными в стаканах, и торцовыми уплотнениями 38, установленными в ступицах солнечных шестерен. Проникшее в отсеки тормозов масло периодически сливают, вывинчивая пробки 44.
Планетарный механизм поворота сложнее и дороже в производстве, чем фрикционный, но обладает и рядом преимуществ. Он более компактный, что позволяет уменьшать колею трактора, легче в управлении, более долговечен, с лучшим балансом мощности при повороте. Кроме того, планетарный механизм повышает передаточное число коробки передач.
3.
Устройство и действие тормозов
Тормозом называется механизм, основанный на использовании силы трения и служащий для остановки (торможения) какой либо вращающейся части машины. На тракторах тормоза используют для торможения на ходу и при остановке, для удержания трактора во время стоянки, в особенности па подъемах и уклонах, а так же пои осуществлении крутых поворотов трактора.
По устройству тормоза бывают ленточные, дисковые и колодочные. Наибольшее распространение на тракторах получили ленточные тормоза: простые и плавающие.
Шкивы 4 (см. рис.3) тормозов закреплены болтами на фланцах ступиц солнечных шестерен, а шкивы 5 — на шлицевых ступицах ведущих шестерен 36 конечных передач. Шкивы охватываются тормозными лентами 2 и 3. К лентам 3 тормозов солнечных шестерен приклепаны фрикционные накладки, а на лентах 2 остановочных тормозов между приклепанными планками вставлены короткие фрикционные колодки и зафиксированы отогнутыми скобами.
Концы лент серьгами 9 и тягами 14 соединены с рычагами 16 тормоза солнечной шестерни и 11 —остановочного тормоза. Эти рычаги через пальцы 10 опираются на вырезы кронштейнов, прикрепленных к корпусу заднего моста. Пружины 34 и 40 отводят ленты от шкивов, а винты 43 служат опорами лент.
Рычаг 16 тормоза солнечной шестерни серьгой 18 шарнирно соединен с промежуточным рычагом, к ступице которого приварены еще два рычага 15. На общей оси 17 с этими рычагами надеты рычаги 13 остановочных тормозов, также сваренные вместе. В ступицы рычагов запрессованы металлокерамические втулки, пропитанные маслом, поэтому смазывать в процессе эксплуатации их не нужно.
Ленты тормозов солнечных шестерен затягиваются пружинным устройством. Оно состоит из двух пружин 23 и 49 (рис. 4), установленных снаружи и внутри трубы 48. Пружины зажаты между неподвижной и подвижной 51 тарелками стяжкой 50, на верхнем конце которой навинчена проушина 47. Труба шарнирно присоединяется к передней стенке корпуса заднего моста, а проушина стяжки (после дополнительного сжатия пружин) — к рычагу 15. Сжатые пружины через стяжку 50 поворачивают вперед эти рычаги через серьгу 18 и рычаг 16, тем самым затягивают ленту 3 (как показано пунктирными стрелками) и удерживают се в таком положении. Сила затяжки ленты зависит от предварительного сжатия пружин 23 и 49 регулировочной гайкой 8. Ее завинчиваюттак, чтобы проточка на контрольном штоке 46 совместилась с кромкой проушины 47. Этой же гайкой восстанавливают предварительное сжатие пружин, уменьшающееся вследствие изнашивания фрикционной накладки.
Рис. 4. Схемы тормозов трактора ДТ-75МВ:
а — солнечной шестерни; б — остановочного;
45 и 53 — кронштейны; 46 — контрольный шток; 47 — проушина; 48 — труба;
49 — пружина; 50 — стяжка; 51 — подвижная тарелка; 52 — рычаг управления;
54 — педаль остановочного тормоза.
Обозначения других позиций — те же, что и на рис. 5.
Чтобы повернуть трактор, растормаживают соответствующую солнечную шестерню.
Для этого оттягивают назад один из рычагов управления 52, расположенных в кабине, в результате чего детали привода тормоза перемещаются (как показано на рисунке сплошными стрелками). Тяга 22 через промежуточный двуплечий рычаг перемещает тягу 19, которая, работая на сжатие, поворачивает рычаги 15. Один из них, преодолевая сопротивление пружин, перемещает стяжку, а другой через серьгу 18 поворачивает рычаг 16 тормоза солнечной шестерни и этим ослабляет затяжку тормозной ленты.
Остановочными тормозами управляют через педали 54 (рис. 4). Когда нажимают на одну из них, тяга 20, работая на сжатие, через рычаги 13 и серьгу 12 поворачивает рычаг 11 (как показано сплошными стрелками). Перед торможением оба пальца 10 тормозной ленты находятся посредине вырезов кронштейна 53, и рычаг 11 не имеет определенного центра поворота, в начале торможения он лишь стягивает концы ленты. Но, как только лента коснется шкива, силой трения она сдвинется вслед за шкивом, и один из пальцев 10 прижмется к основанию выреза. Относительно этого пальца и будет дальше поворачиваться рычаг, затягивая ленту в направлении действия силы трения. Если шкив вращается в противоположном направлении, рычаг 11 будет поворачиваться относительно другого пальца, тоже затягивая ленту в направлении действия силы трения. Такой шкивной тормоз, эффективно тормозящий всей лентой при любом направлении вращенияшкива, называется плавающим.
4.
Уход за механизмом поворота
гусеничного трактора
Ведущий мост работоспособен, если при движении шум и нагрев не превышают определенных уровней, нет утечек масла через уплотнения наружу и к тормозам.
Работоспособность ведущих мостов гусеничных тракторов характеризуется также устойчивостью прямолинейного движения и возможностью совершать повороты, прилагая к рычагам и педалям усилия не превышающие установленные нормы. Поддержание работоспособного состояния обеспечивается соблюдением правил использования и технического обслуживания.
При движении надо следить, чтобы в мостах не появлялся посторонний шум, не было утечек масла, и периодически на ощупь проверять температуру деталей. Блокировать дифференциал принудительно следует лишь при необходимости и обязательно выключать блокировку на поворотах.
Уход за механизмами заднего моста включает смазку главной и конечной передач, планетарного механизма и механизма управления; регулировку зацепления конических шестерен и роликовых конических подшипников; промывку муфт управления и тормозов; регулировку тормозов и механизма управления поворотом; проверку герметичности уплотняющих устройств.
При ТО-2 в тракторах проверяют и при необходимости регулируют тормоза, проверяют уровень масла в картерах и, если нужно, доливают. Делают это не раньше чем через 30 мин после остановки.
При ТО-3 проверяют и, если нужно, промывают фрикционные накладки тормозов, руководствуясь инструкцией завода-изготовителя. Если наблюдается интенсивное замасливание накладок, проверяют состояние уплотнений, прочищают вентиляционные отверстия или промывают сапуны.
При сезонных технических обслуживаниях заменяют масло в картерах. Отработанное масло сливают сразу после остановки, пока оно не остыло. Затем заливают в картеры дизельное топливо (2
/з заправочной емкости) и промывают детали при движении вперед и назад в течение 5...7 мин. После этого сливают промывочную жидкость, очищают магниты пробок и, завинтив их, наливают свежее масло до нормального уровня. Во избежание загрязнения окружающей среды ни в коем случае не допускается выливать отработанное масло и промывочную жидкость на землю, в канавы и канализацию. Их следует собирать: топливо — для повторного использования после отстаивания и фильтрации, а масло — для восстановления.
В сроки, установленные заводом-изготовителем, проверяют регулировку конических роликовых подшипников с одновременным контролем зацепления конических шестерен.
Для смазки главной и конечной передач применяют трансмиссионное или автотракторное масло, которое заливают до соответствующего уровня. Необходимо регулярно проверять уровень и доливать масло. В соответствии со сроками, указанными в правилах технического ухода, следует заменять масло и промывать передачи.
Зацепление шестерен проверяют по расположению отпечатка краски на зубьях и величине зазора между боковыми поверхностями. Для проверки зацепления зубья ведущей шестерни покрывают тонким слоем краски и поворачивают ее на один оборот. Зацепление считается правильным, если отпечаток на зубьях ведомой шестерни занимает не менее 2
/3
длины зуба и середина отпечатка не имеет большого смещения к основанию или вершине зуба.
Боковой зазор между зубьями проверяют свинцовой пластиной, закладываемой между зубьями. Величина зазора определяется толщиной оттиска пластины, получающегося после обкатывания шестерни.
Признаком, указывающим на неправильность регулировки конических подшипников или на их неисправность, является нагрев корпусов подшипников.
Регулируются подшипники зацепления шестерен и зазоры между зубьями при помощи прокладок, устанавливаемых под фланцы корпусов подшипников.
Неисправности в работе муфт и тормозов чаще всего вызываются замасливанием их и износом фрикционных накладок. Это является следствием перетекания масла из отсека главной и конечной передач в отсек муфт поворота и тормозов в результате износа сальников, и устраняется промывкой и заменой сальников. Промывку производят топливом в два приема сразу же после остановки трактора, когда детали нагреты, и масло легко смывается. При первой заливке топлива в отсеке муфт трактор прокатывают передним и задним ходом для удаления масла и грязи с поверхностей деталей. Затем грязное топливо сливают и заменяют, чистым и дают трактору проработать несколько минут на месте с выключенными муфтами управления. Для полного стекания топлива из отсеков после их промывания спускные отверстия нужно оставлять открытыми на 1...2 ч при выключенных муфтах управления.
У гусеничных тракторов тормоза необходимо регулировать в тех случаях, когда в результате изнашивания лент невозможны крутые повороты трактора. Признаком, указывающим на необходимость регулировки тормозов, является также увеличение свободного хода тормозной педали. Регулировка тормозов сводится к установлению нормального хода тормозной педали.
5.
Основные неисправности
и способы их устранения
I. Повышение (понижение) уровня масла в корпусе планетарногоредуктора УКМ или в корпусе трансмиссии трактора ДТ-75.
-Срезание резинового уплотнительного шлицевого кольца первичного вала коробки передач: заменить кольцо.
-Неправильно установлены левые и правые металлические уплотнительные кольца зубчатой муфты первичного вала коробки передач: правильно установить металлические уплотнительные кольца (кроме того замки колец расположить под углом 120° относительно друг друга).
-Повреждено резиновое уплотнительное кольцо или металлические уплотнительные кольца на ведомой шестерне УКМ: заменить резиновое уплотнительное кольцо или металлические уплотнительные кольца.
-Перетекание масла из корпуса планетарного редуктора в сухой отсек муфты сцепления: проверить исправность манжет и металлических уплотнительных колец ведомого вала и в случае необходимости заменить их.
-Износ или затвердение манжет маслонасоса: заменить манжеты.
-Срезано уплотнительное резиновое кольцо втулки манжет маслонасоса: заменить уплотнительное кольцо.
II.
Пробуксовывает тормоз планетарного механизма (ДТ-75).
-Заедает стяжка пружин тормоза солнечных шестерен планетарного механизма в верхней тарелке: устранить заедание.
-Усадка пружин планетарного тормоза тракторов ДТ-75В: заменить пружины.
-Замаслены накладки тормозных лент планетарного механизма (вследствие перетекания масла из отделения главной или конечной передач): проверить и при необходимости заменить торцевое уплотнение вала заднего моста, манжету уплотнения солнечной шестерни, резиновое кольцо, прокладку шлицевого соединения ведущей шестерни конечной передачи и манжету уплотнения этой шестерни, накладки тормозных лент промыть керосином.
-Изношены накладки тормозных лент планетарного механизма: заменить накладки лент тормоза, отрихтовать тормозную ленту на шкиве с обеспечением заданных размеров, добиться полного прилегания накладок тормозной ленты к поверхности 340 мм шкива.
III.
Трактор ДТ-75М не делает крутого поворота.
-При полном оттягивании рычага управления планетарного механизма назад и нажатии на педаль остановочного тормоза до отказа: неправильно установлен регулировочный винт — правильно отрегулировать регулировочный винт;
-замаслены колодки лент остановочного тормоза вследствие перетекания масла из отсеков главной или конечной передач: проверить и при необходимости заменить торцевое уплотнение вала заднего моста, манжету уплотнения солнечной шестерни, резиновое кольцо, прокладку шлицевого соединения ведущей шестерни конечной передачи и манжету уплотнения этой шестерни, колодки тормозных лент промыть керосином;
-разрегулировано управление остановочного тормоза: отрегулировать управление остановочного тормоза;
-изношены колодки, ленты остановочного тормоза: заменить колодки, отрихтовать тормозную ленту на шкиве с обеспечением заданных размеров.
IV.
Понижение уровня масла в корпусе конечной передачи ДТ-75.
-Износ или затвердевание манжеты уплотнения: заменить манжету.
-Утрачены уплотнительные свойства резинового уплотнительного кольца ведущей шестерни конечной передачи: заменить кольцо.
ЛИТЕРАТУРА
гусеничный трактор поворот планетарный механизм
1. Волчек Л.Я. Тракторы Минск.; «Вышэйшая школа», 1977.
2. Роговцев В.Л. Автомобили и тракторы (конструкция и теория). М.;
«Транспорт», 1977.
3. Болотов А.К., Гуревич Л.А., Лиханов В.А., Сычугов Н.П. Учебник
тракториста-машиниста третьего класса; М.; Колос, 1983.
4. Гельман Б.М., Москвин М.В. Сельскохозяйственные тракторы иавтомобили. 1. Двигатели Москва.; Агропромиздат, 1987.
|