Банк рефератов содержит более 364 тысяч рефератов, курсовых и дипломных работ, шпаргалок и докладов по различным дисциплинам: истории, психологии, экономике, менеджменту, философии, праву, экологии. А также изложения, сочинения по литературе, отчеты по практике, топики по английскому.
Полнотекстовый поиск
Всего работ:
364139
Теги названий
Разделы
Авиация и космонавтика (304)
Административное право (123)
Арбитражный процесс (23)
Архитектура (113)
Астрология (4)
Астрономия (4814)
Банковское дело (5227)
Безопасность жизнедеятельности (2616)
Биографии (3423)
Биология (4214)
Биология и химия (1518)
Биржевое дело (68)
Ботаника и сельское хоз-во (2836)
Бухгалтерский учет и аудит (8269)
Валютные отношения (50)
Ветеринария (50)
Военная кафедра (762)
ГДЗ (2)
География (5275)
Геодезия (30)
Геология (1222)
Геополитика (43)
Государство и право (20403)
Гражданское право и процесс (465)
Делопроизводство (19)
Деньги и кредит (108)
ЕГЭ (173)
Естествознание (96)
Журналистика (899)
ЗНО (54)
Зоология (34)
Издательское дело и полиграфия (476)
Инвестиции (106)
Иностранный язык (62791)
Информатика (3562)
Информатика, программирование (6444)
Исторические личности (2165)
История (21319)
История техники (766)
Кибернетика (64)
Коммуникации и связь (3145)
Компьютерные науки (60)
Косметология (17)
Краеведение и этнография (588)
Краткое содержание произведений (1000)
Криминалистика (106)
Криминология (48)
Криптология (3)
Кулинария (1167)
Культура и искусство (8485)
Культурология (537)
Литература : зарубежная (2044)
Литература и русский язык (11657)
Логика (532)
Логистика (21)
Маркетинг (7985)
Математика (3721)
Медицина, здоровье (10549)
Медицинские науки (88)
Международное публичное право (58)
Международное частное право (36)
Международные отношения (2257)
Менеджмент (12491)
Металлургия (91)
Москвоведение (797)
Музыка (1338)
Муниципальное право (24)
Налоги, налогообложение (214)
Наука и техника (1141)
Начертательная геометрия (3)
Оккультизм и уфология (8)
Остальные рефераты (21692)
Педагогика (7850)
Политология (3801)
Право (682)
Право, юриспруденция (2881)
Предпринимательство (475)
Прикладные науки (1)
Промышленность, производство (7100)
Психология (8692)
психология, педагогика (4121)
Радиоэлектроника (443)
Реклама (952)
Религия и мифология (2967)
Риторика (23)
Сексология (748)
Социология (4876)
Статистика (95)
Страхование (107)
Строительные науки (7)
Строительство (2004)
Схемотехника (15)
Таможенная система (663)
Теория государства и права (240)
Теория организации (39)
Теплотехника (25)
Технология (624)
Товароведение (16)
Транспорт (2652)
Трудовое право (136)
Туризм (90)
Уголовное право и процесс (406)
Управление (95)
Управленческие науки (24)
Физика (3462)
Физкультура и спорт (4482)
Философия (7216)
Финансовые науки (4592)
Финансы (5386)
Фотография (3)
Химия (2244)
Хозяйственное право (23)
Цифровые устройства (29)
Экологическое право (35)
Экология (4517)
Экономика (20644)
Экономико-математическое моделирование (666)
Экономическая география (119)
Экономическая теория (2573)
Этика (889)
Юриспруденция (288)
Языковедение (148)
Языкознание, филология (1140)

Реферат: Ремонт електричних машин

Название: Ремонт електричних машин
Раздел: Рефераты по транспорту
Тип: реферат Добавлен 15:20:07 02 октября 2009 Похожие работы
Просмотров: 1004 Комментариев: 16 Оценило: 3 человек Средний балл: 5 Оценка: неизвестно     Скачать

РЕМОНТ ЕЛЕКТРИЧНИХ МАМИН

ЗАГАЛЬНІ ВІДОМОСТІ ПРО ЕЛЕКТРИЧНІ МАШИНИ

Електричної називають машину, в якій відбувається перетворення механічної енергії в електричну (генератор), або електричної енергії, в механічну (двигун), або електричної енергії в електричну, іншого роду струму, іншої напруги і частоти (перетворювач).

Електричні машини володіють властивістю оборотності: вони можуть працювати як в генераторному, так і в руховому режимі. Залежно від роду струму електричні машини підрозділяють на машини змінного і постійного струму. Найпоширенішими електричними машинами змінного струму є асинхронні електродвигуни, широко вживані як привід верстатів, механізмів і різного технологічного устаткування промислових підприємств.

Асинхронними електродвигунами називають такі електричні машини змінного струму, у яких ротор обертається з частотою, меншої частоти обертання магнітного поля статора. Вони бувають з короткозамкнутим або фазним ротором. Електродвигуни з короткозамкнутим ротором застосовують за відсутності необхідності обмеження великих пускових струмів або регулювання частоти обертання ротора, а з фазним — при необхідності регулювання частоти обертання, плавного пуску і збереження високого пускового моменту електродвигуна.

Асинхронний електродвигун трифазного струму і його основні конструктивні елементи показані на мал. 1.


Мал. 1. Асинхронний електродвигун трьох фазного змінного струму:

а — розібраний двигун, би — „біляча клітка» короткозамкнутого ротора, в — короткозамкнутий ротор в зібраному вигляді; / — сердечник ротора, 2 — вал, 3 і в — підшипникові щити, 4 — станина, 5 — обмотка статора. 6 — жалюзі вентиляційних отворі, 7 — коробка висновків, 9 — вентилятор, 10 — стрижні «білячої клітки», 11 — замикаюче кільце

На промислових підприємствах разом з асинхронними електродвигунами застосовують також електричні машини постійного струму, які служать як генератори постійного струму агрегатів електрозварювань, двигунів різних підйомно-транспортних пристроїв, джерел постійного струму, використовуваного для антикорозійних покриттів металів гальванічним способом і ін. Перевагами електродвигунів постійного струму перед асинхронними електродвигунами є можливість регулювання в широких межах частоти обертання і великого моменту, що розвивається при пуску машини. Завдяки цим властивостям електричні машини широко використовують як і тягових двигуни кранів електрифікованого транспорту.

Основні конструктивні елементи електричної машини постійного струму показані на мал. 2.

Електричні машини розрізняють по наступних ознаках:

- роду струму (постійний і змінний);

- числу фаз (однофазні і трифазні);

- виконанню ротора (з короткозамкнутим або фазним ротором);

- способу охолоджування (з природним охолоджуванням — двигуни, що не мають охолоджуючих пристроїв, і з самовентиляцией—двигатели, що мають вентилятори, укріплені на частині, що обертається). У електродвигунів із зовнішньою самовентіляцией охолоджується зовнішня поверхня, а активні частини закриті для доступу повітря;

- формі виконання (на лапах, вбудовані з фланцевим підшипниковим щитом і ін.);

способу захисту від дії навколишнього середовища (відкриті, захищені, каплезащищенниє, бризгозащищенниє, водозахищені, закриті, вибухозахищені і герметичні).

Мал. 2. Електрична машина постійного струму:

1 — передній підшипниковий щит, 2 — траверсу з щітковим апаратом, 3 — колектор, 4 — сердечник якоря, 5 — обмотка якоря, 6 — вентилятор, 7 — обмотка полюса, 8 — полюс, 9 — станина, 10 — дошка затисків, 11 — задній підшипниковий щит

Відкриті — електродвигуни, що не мають спеціальних пристроїв, що виключають можливість випадкового дотику до тих, що обертаються і токоведущим частинам, а також попадання сторонніх предметів всередину машини.

Захищені — електродвигуни, що мають пристрої (сітки, грати, ковпаки і ін.), що оберігають від випадкового дотику до тих, що обертаються і токоведущим частинам, а також попадання сторонніх предметів, що виключають можливість, всередину машини.

Каплезащищенниє — електродвигуни, що мають пристрої, що захищають внутрішні частини машин від попадання в них прямовисно падаючих крапель рідин (води, масла і ін.).

Бризгозащищенниє — електродвигуни, що мають пристрої (жалюзі, кришки і ін.), що виключають можливість попадання в них водяних бризок, падаючих прямовисно або під кутом 45° з будь-якої сторони.

Водозахищені — електродвигуни, що мають пристрої (сальники, гумові прокладки і ін.), що виключають можливість проникнення води всередину машини при обливанні її струменем води з брандспойта.

Закриті — електродвигуни, внутрішній простір яких відокремлено від зовнішнього середовища.

Вибухозахищені — електродвигуни, корпус яких по міцності і конструкції здатний протистояти вибуху газу, що накопичився всередині, не допускаючи при цьому запалювання газів, що містяться в навколишньому машину зовнішньому середовищі.

До 1950 р. електричні машини, що випускаються вітчизняними заводами, при одних і тих же електричних параметрах (потужності, напруги, частоти обертання) мали не тільки різні позначення типів, але відрізнялися також габаритами, масою, настановними розмірами і конструкцією окремих елементів машин, що виключало взаємозамінність окремих деталей електричних машин і тому істотно ускладнювало їх ремонт. З 1950 р. промисловість випускає електричні машини у вигляді єдиних серій, що дозволяє скоротити число різнотипних деталей, а також кількість технологічного оснащення, необхідного для їх виготовлення, уніфікувати * деталі і складальні одиниці електричних машин, забезпечивши їх взаємозамінність. Так, наприклад, асинхронні електродвигуни з короткозамкнутими роторами і електродвигуни з фазними роторами відповідних габаритів і потужностей мають однакові статори і підшипникові щити. Електродвигуни різних виконань по захисту від дії зовнішнього середовища мають одні і ті ж настановні розміри, що дозволяє замінювати один двигун іншим без переробки фундаментів, перестановки санчат або зміни відстаней між отворами для болтів кріплення електродвигуна до підстави.

Колекторниє пластини машини запресовані в пластмасі. Усередині колектора є сталева втулка для насадки його на вал якоря. Над колектором розташована траверсу 6 щіткотримачів, прикріплена болтами до переднього підшипникового щита 11, що має отвори овальної форми, які дозволяють переміщати траверсу по колу і встановлювати щітки по нейтралі машини.

Якір обертається в шарикопідшипниках 9 і 21, зовнішні кільця яких вставлені в отвори підшипникових щитів 11 і 19. Підшипники закриті зсередини кришками 8 до 23, а зовні — кришками 10 і 22. Балансування якоря здійснюється за допомогою сталевого диска 7, у відповідних точках якого (в процесі балансування) просвердлюють отвори, регулюючи таким чином рівномірний розподіл маси якоря по його колу. Розташування, кількість і розміри отворів в дисках залежать від розташування і величини дисбалансу. Балансируєтся і сторона якоря, де розташований вентилятор.

При роботі електричних машин виникають електромагнітні коливання, що створюють перешкоди радіоприйому. Для придушення цих перешкод електрична машина забезпечена спеціальним помехоподавляющим пристроєм, що складається з конденсаторів 15, розташованих під дошкою 14, і затисків 13.

Система вентиляції машини — аксіальна і здійснюється повітрям, засмоктуваним вентилятором 20 через жалюзі переднього підшипникового щита 11 і що викидається через грати заднього підшипникового щита 19. До станини машини приварені лапи, якими за допомогою болтів вона кріпиться до рами або фундаменту.

Пристрій машини П-41 характерний для машин постійного струму єдиної серії П з 1-го по 6-й габарити. Машини постійного струму цієї серії великих габаритів декілька відрізняються по своїй конструкції від машини, показаної на мал. 35, а.

Наприклад, в машині П-91 9-го габариту (мал. 35, би) сердечник якоря має відкриті пази, в які вкладені жорсткі котушки обмотки, і горизонтальні крізні вентиляційні канали, 27, поліпшуючі умови охолоджування сердечника і обмотки якоря. Нажімниє шайби, що пресують листи сердечника якоря, віділлють з чавуну у вигляді трьох кілець, сполучених ребрами.

Колектор має чавунну втулку 26, що спирається на вал трьома ребрами. Сталеві нажімниє конуси 25 колектора ізольовані від пластин горячепрессованнимі манжетами з міканіта.

Обмотка має гнуті головки тільки на стороні вільного кінця валу, оскільки виконана з одновіткових котушок. Лобові і пазові частини обмотки якоря утримуються бандажами 28, намотаними із сталевого дроту. На додаткові полюси, виконані з товстої смугової сталі, надіті котушки, які утримуються на полюсах штампованою рамкою. Котушки намотані з мідних шин прямокутного перетину.

Ротор обертається в підшипниках каченія: у кульковому — на стороні колектора і роликовому — на стороні вільного кінця валу.

Станина машини П-91 — зварна гнута з листової сталі з привареними до неї лапами для установки і кріплення болтами на фундаменті або рамі.


НЕСПРАВНОСТІ ЕЛЕКТРИЧНИХ МАШИН

Електричні машини ушкоджуються найчастіше через неприпустимо тривалу роботу без ремонту, поганого обслуговування або порушення режиму роботи, на який вони розраховані. Пошкодження електричних машин бувають механічні і електричні.

До механічних пошкоджень відносяться виплавка бабіту в підшипниках ковзання, руйнування сепаратора, кільця, кульки або ролика в підшипниках каченія, деформація валу ротора (якорі), утворення глибоких вироблень (доріжок) на поверхні колекторів, ослаблення кріплення полюсів або сердечника статора до станини, розрив або сповзання дротяних бандажів роторів (якорів), ослаблення пресування сердечника ротора (якорі) і ін.

Електричними пошкодженнями прийнято називати пробій ізоляції на корпус, обрив провідників в обмотці, замикання між витками обмотки, порушення контактів і руйнування з'єднань, виконаних паянням або зваркою, неприпустиме зниження опору ізоляції унаслідок її старіння, руйнування або зволоження і ін.

Електромонтер-ремонтник повинен добре знати характерні ознаки, а також способи виявлення і усунення різних пошкоджень і несправностей, що виникають в електричних машинах. Короткий перелік несправностей, що найчастіше зустрічаються, і можливих причин їх виникнення в електричних машинах.

Несправності і пошкодження електричних машин не завжди вдається знайти шляхом зовнішнього огляду, оскільки деякі з них (вітковиє замикання в обмотках статорів, обрив стрижнів в короткозамкнутих роторах, пробій ізоляції на корпус, замикання пластин колектора, порушення паяння в обмотках і ін.) носять прихований характер і можуть бути знайдені тільки після відповідних випробувань.

У число передремонтних операцій по виявленню несправностей електричних машин входять: вимірювання опору ізоляції обмоток (з метою визначення ступеня її зволоження), випробування електричної міцності ізоляції, перевірка на холостому ходу машини цілості підшипників, величини осьового розгону ротора (якорі), правильності, прилягання (прітертості) щіток до колектора і контактних кілець, величини вібрації, визначення величини зазорів між частинами електричної машини, що обертаються і нерухомими, а також перевірка стану кріпильних деталей, густина посадки підшипникових щитів на заточуваннях станини і відсутність пошкоджень (тріщин, сколовши і ін.) у окремих частин і деталей машини.

Робота по передремонтному виявленню несправностей і пошкоджень електричних машин називається дефектацией.

Дефектацию виробляють шляхом зовнішнього огляду, часткового або повного розбирання електричної машини.

Дефектация, вироблена шляхом зовнішнього огляду і випробувань електричної машини, не завжди дозволяє виявити і точно опреде-кить характер і розміри її пошкоджень, унаслідок чого не можна визначити і об'єм майбутніх ремонтних робіт. Якнайповніше уявлення про стан і необхідний ремонт електричної машини дає дефектация, вироблювана після її розбирання.

Про всі знайдені після розбирання електричної машини несправності і пошкодження роблять відповідні записи в дефектационной карті, на підставі яких складають маршрутну карту ремонту з вказівкою робіт, що підлягають виконанню по кожній ремонтній одиниці або по окремих частинах ремонтованої машини.

До складу основних робіт по ремонту електричних машин входять розбирання, ремонт обмоток, ремонт механічної частини, збірка і випробування відремонтованих машин.


РОЗБИРАННЯ ЕЛЕКТРИЧНИХ МАШИН

У ремонт поступають електричні машини вітчизняного виробництва і іноземних марок, що розрізняються по потужності, виконанню і конструкції.

Порядок розбирання кожної ремонтованої електричної машини визначається її конструкцією і необхідністю збереження наявних справних частин, а ступінь розбирання — повнотою і характером майбутнього ремонту. Якщо попередні огляд і випробування дозволяють судити про характер майбутнього ремонту електричної машини, необхідно до початку її розбирання перевірити наявність матеріалів, що вимагаються для ремонту, виробів і запасних частин відповідних розмірів, марок і характеристик.

У справжньому розділі приводяться описи послідовності і способів виконання основних операцій розбирання асинхронних електродвигунів, машин постійного струму і синхронних машин єдиних серій найпоширеніших конструкцій. Способи їх розбирання практично застосовні до більшості електричних машин як випускаються в даний час, так і випускалися раніше.

Розбирання більшості електричних машин починається з видалення напівмуфти з валу за допомогою ручного (з регульованим розкриттям тяги) або гідравлічного знімача.

Знімач з регульованим розкриттям тяги (мал. 3, а) дозволяє стягувати з валу напівмуфти різних діаметрів. Розкриття і фіксація тяги (відповідно до діаметрів напівмуфт, що знімаються) виробляються регулювальною гайкою 2, наверненої на різьблення гвинта /. Тягове зусилля, створюване ручним знімачем, складає 25—30 кН. Стягнення напівмуфт за допомогою ручного знімача є трудомісткою операцією, що вимагає великих фізичних зусиль, тому для демонтажу напівмуфт, непіддатливих стягненню ручним знімачем, а також напівмуфт крупних машин застосовують гідравлічного знімача.

Гідравлічний знімач (мал. 3, би) є встановленим на колесах майданчиком 4 з двома стійками 5, на яких вертикально переміщається гідравлічний плунжерний насос 8. Щоб зняти напівмуфту, встановлюють і укріплюють болтами на корпусі насоса траверси 6, між якими також болтами закріплюютьзахоплення 7. Відстань між захопленнями визначається діаметром стягуваної напівмуфти

Мал. 3. Знімачі для стягнення (распрессовки) напівмуфт і підшипників каченія з валів електричних машин:

а — гвинтовий знімач з регульованим розкриттям тяги, би — гідравлічний знімач, в — знімач для стягнення підшипників каченія захопленням за підшипник, г — знімач для стягнення підшипників каченія захопленням болтами за кришки або капсули підшипника; / — черв'ячний гвинт з головкою, 2 — регулювальна гайка, 3 — тяга (захоплення), 4 — майданчик, 5 — стійка, 6 — траверси, 7 — захоплення, 8 — плунжерний насос, 9 — рукоятка штока насоса, 10 — пластинка з штифтами, // — шпильки, 12 — плита, 13 — диск, 14 —

Для запобігання падінню знятої з валу напівмуфти її до початку операцій демонтажу підвішують стропом на крюк талі або тельфера. Висоту підйому насоса регулюють так, щоб центр упору співпадав з центром валу машини, а захоплення міцно зачіпляли напівмуфту по горизонталі, що проходить через центр валу. Після цього приводять в рух рукоятку 9 плунжерного насоса, створюючи необхідний тиск масла в його корпусі. Під тиском масла головний і бічні плунжери знімача приходять в рух, при цьому зусиллям бічних плунжеров забезпечується надійне захоплення напівмуфти, а зусиллям головного плунжера — напівмуфта легко стягується з валу електричної машини. Застосування гідравлічного знімача дозволяє виконувати операції демонтажу напівмуфт в 5—6 разів швидше,це робиться уручну гвинтовим знімачем. Закінчивши демонтаж гол муфти, переходять до розбирання електричних машин.

При розбиранні асинхронних електричних махай ні єдиній серії А2 і АО2 знімають кожух 19 (див. мал. 34, а) зовнішнього вентилятора 20, а потім і вентилятор, відкручують болти, кгепящие підшипникові щити 8 і 21 до станини 10, а також болти, що кріплять кришки 5 і 6 підшипника 4 задні щити 8. Далі знімають задній підшипниковий щит 8, відділяючи його від станини 10 легенями \ларами молотка по щиту через дерев'яну або алюмінієву надставку. У фланцях підшипникових щитів машин в двох діаметрально протилежних крапках є різьбові отвори для так званих віджимних болтів. Вставивши в ці отвори болти, що кріпили щит до станини, поволі і рівномірно вкручувавши їх по різьбленню, відділяють щит від станини. Після цього готують висновок ротора з розточування статора, для чого легкими ударами молотка через надставку по торцю валу 5 подають ротор у бік переднього підшипникового щита 21, відділяють щит від станини і виводять ротор із статора, користуючись спеціальними пристосуваннями, простими з яких є подовжувальні труби, що надягають на кінці валу. Кінці валу обгорнуть 2—3 шарами картону, щоб захистити шліфовані поверхні шийок валу від механічних пошкоджень, і знімають передній щит з підшипника, насадженого на вал ротора, заздалегідь відвернувши болти, що кріплять підшипникові кришки.

При розбиранні асинхронної машини з фазним ротором спочатку знімають кожух контактних кілець, а потім видаляють щітки і випрессовивають підшипники з валу, користуючись спеціальними знімачами із захопленням за підшипник (див. мал. 3, в) або за кришку підшипника (див. мал. 3, г).

При розбиранні електричних машин постійного струму серії П (див. мал. 35) спочатку знімають кришки з коробки затисків 13 і з бічних сторін переднього підшипникового щита 11, роз'єднують провідники, що сполучають щіткотримачі з котушкою додаткового полюса 16, і від'єднують дроти, що сполучають щіткотримачі з контактом в коробці затисків, а потім виймають щітки з кубел щіткотримачів.

Для захисту колектора від механічних пошкоджень його обмотують листом картону, закріплюваним на колекторі двома бандажами з бавовняної стрічки або шпагату.

Після цього відкручують болти, що кріплять підшипникові щити // і 19 до станини 18, вкручують віджимні болти в отвори, що є для них, в підшипникових щитах і виводять борти щитів з розточувань станини, одночасно притримуючи якір за кінець валу, щоб запобігти удару якоря об нижній полюс машини. Далі зсовують підшипникові щити 11 і 19 з шарикопідшипників 9 і 21, висувають якір із станини у бік вільного кінця валу 2 і виймають його із станини.

Для того, щоб відремонтувати обмотки 4 якорі, спочатку знімають гвинтовим знімачем шарикопідшипник 21, а потім внутрішню кришку 23 підшипники, далі, укрутивши в сталеву втулку вентилятора 20 шпильки знімача, знімають вентилятор і таким чином дістають доступ до обмотки якоря.

Щоб замінити конденсатори 15 помехоподавляющего пристрою машини, знімають кришку коробки затисків 13 і, відвернувши болти кріплення дошки 14 до підшипникового щита 11, виймають її з коробки разом з конденсаторами.

При розбиранні синхронних електричних машин (мал. 4) спочатку роз'єднують дроти, що сполучають збудник з щітковим апаратом, відкручують гайку стопорного

Мал. 4. Синхронна електрична машина з машинним збудником:

1 — станина збудника, 2 — колектор збудника, 3 — підшипниковий щит збудника, 4 — якір збудника, 5 — полюс збудника з обмоткою, 6 — шарикопідшипник, 7 — передній підшипниковий щит синхронної машини, 8 — станина синхронної машини, 9 — сердечник статора машини, 10 — обмотка статора машини, // — задній підшипниковий щит, 12 — полюс ротора з обмоткою, 13 — вентилятор, 14 — втулка, 15 — роликовий підшипник, 16 — вал ротора, 17 — коробка вивідних затисків, 18 — сітка на вентиляційному вікні підшипникового щита гвинта,

скріпляючу підшипниковий щит з капсулою роликового підшипника 15 і вивертають стопорний гвинт на 3—4 обороти, а потім відкручують болти, що кріплять підшипниковий щит до станини 8, виводять віджимними болтами задній підшипниковий щит 11 з розточування станини і знімають його з капсули підшипника. Після цього відкручують болти, що кріплять підшипниковий щит 7 до станини 8, і виводять його з розточування станини віджимними болтами, а потім опускають ротор на статор, заздалегідь поклавши під ротор, що опускається, лист картону.

_ Далі зсовують підшипниковий щит 7 разом із станиною 1 збудника з капсули підшипника 6 і виводять ротор синхронної машини разом з якорем збудника із статора машини у бік вентилятора 13.

У разі потреби знімання вентилятора відзначають його положення по відношенню до втулки, щоб при збірці встановити на колишнє місце і таким чином не порушити балансування ротора, а потім відкручують болти, що кріплять чашку вентилятора до втулки, і знімають вентилятор. Щоб зняти втулку вентилятора, її положення на валу також відзначають, а потім, відвернувши стопорний болт, стягують з валу гвинтовим знімачем.

При заміні переднього підшипника 6 синхронної машини знімають з валу 16 якір 4 збудники з колектором 2, захоплюючи його за вирізи в торці втулки, відвернувши заздалегідь гайку на кінці валу. Далі вивертають гвинти, що скріпляють кришки шарикопідшипника з капсулою, і знімають капсулу разом із зовнішньою кришкою підшипника. Після цього видаляють з валу контактні кільця і стягують підшипник.

При розбиранні явно полюсного ротора синхронної машини спочатку знімають з'єднання між котушками полюсів і відкручують гвинти кріплення полюсів до втулки, а потім знімають полюси разом з котушками. До початку розбирання ротора рекомендується нумерувати полюси і відзначати на втулці місця їх кріплення, щоб не порушити балансування ротора.

Нерідко при ремонті синхронних машин виникає необхідність розбирання і ремонту полюсної системи збудника. Щоб зняти полюси збудника, відкручують гвинти, що кріплять полюси 5 до станини 1, а потім, знявши котушки, виймають із станини траверсу з щіткотримачами, заздалегідь відзначивши її положення в станині, оскільки зрушення траверси з первинного положення при збірці викличе сильне іскріння під щітками у працюючого збудника. Розбирання електричної машини потрібно виробляти так, щоб виключити можливість пошкодження справних обмоток, колектора, щіткового апарату, вентилятора і інших її частин.

Всі справні деталі розібраних електричних машин повинні бути збережені для повторного їх використовування.

Під час вступу до ремонту електричної машини з пошкодженими обмотками демонтаж обмоток виробляють після розбирання машини, застосовуючи спеціальні пристосування і верстати.

При розбиранні машини повинна бути врахована можливість відновлення і повторного використовування дротів пошкодженої обмотки.

Пошкоджені обмотки статорів, роторів і якорів електричних машин видаляють шляхом безполуменевого випалювання ізоляції в спеціальних печах при 350— 400° З і подальшого витягання дротів або стрижнів з пазів сердечників або шляхом розрізання лобових частин обмотки з одного боку і витягання її по частинах з протилежної сторони за допомогою пристосувань для висмикування обмоток. Цей спосіб не застосовний до стрижньових обмоток.

Якщо дефектацию виробляють після розбирання електричних машин старих конструкцій, в дефектационную карту записують дані, які можуть потрібно при восстанозленії обмоток або інших деталей машини. До таких даних відносяться відомості про число і розміри дротів обмотки в пазу, схемах з'єднань і вильоті лобових частин обмотки, зазорах між ротором і статором (між якорем і полюсами) і ін. При цьому знімаються також ескізи, оскільки відомості, необхідні для ремонту таких машин, можуть бути відсутнім в типових альбомах .

Ділянка розбирання електроремонтного цеху повинна мати в своєму розпорядженні підйомно-транспортні засоби (крани, тельфери, електрокари, візки, стропові пристрої і ін.), пристосування для распрессовки деталей, демонтажу обмоток і висновку роторів (якорів) із станини, електрифікованими інструментами, автогенним апаратом, ванною для миття деталей, а також наборами гайкових ключів, напилків і інших інструментів.


РЕМОНТ ОБМОТОК ЕЛЕКТРИЧНИХ МАШИН

Основні відомості про обмотки

Обмотка електричної машини утворюється з вкладених в її пази провідників, сполучених по певній схемі. Вона складається з витків, котушок і котушкових груп.

Виток — це два послідовно сполучених між собою провідника, розташованих під сусідніми різнойменними полюсами. Необхідне (загальне) число витків обмотки визначається номінальною напругою машини, а площа перетину провідників — струмом машини. Виток може складатися з декількох паралельних провідників.

Котушка — це декілька витків, укладених відповідними сторонами в два пази і сполучених між собою послідовно. Частини котушки, що лежать в пазах сердечника, називаються пазовими або активними частинами, а розташовані поза пазами — лобовими частинами котушки.

Котушкова група — це декілька послідовно сполучених котушок однієї фази, сторони яких лежать під двома сусідніми полюсами.

Обмотка — це декілька котушкових груп, укладених в пази і сполучених по певній схемі.

Полюсний розподіл (т) — це число пазів (z), що доводяться на полюс (р), тобто i= z/2р. Полюсний розподіл представляє також довжину частини кола (довжину дуги) розточування статора, що доводиться на один полюс, тобто г = ПD/2р. У двополюсних електричних машинах полюсні розподіли рівні 180 електричним градусам, в чотирьохполюсних — 90, в шестиполюсних — 60 і т.д.

Для того, щоб в обмотці машини утворилося необхідне число пар полюсів (р), необхідно з'єднати витки і котушки так, щоб були витримані певні відстані — кроки (у) між сторонами витків котушок, між самими котушками або їх групами.

Крок котушки (у) — це число пазових розподілів, укладених між центрами пазів, в які укладаються сторони витка або котушки. Крок котушки може бути діаметральним або укороченим.

Типовими альбомами називають зброшуровані стандартні листи, що містять відомості про конструкції і технічні дані електричних машин певних типів,

Діаметральним називають крок котушки (обмотки), рівний полюсному розподілу, тобто у = z/2р, а укороченим — крок котушки (обмотки), дещо менший діаметрального.

Одним з показників, що характеризують обмотку електричної машини змінного струму, служить число пазів на полюс і фазу (q). Це число показує, скільки котушкових сторін кожної фази доводиться на один полюс обмотки. Оскільки котушкові сторони однієї фази, що лежать під двома сусідніми полюсами обмотки, утворюють котушкову групу, те число q показує кількість котушок, з яких складаються котушкові групи даної обмотки. При числі фаз (т) q = z/2рт . Для трифазної обмотки q = z/3•2р = z /6р.

Обмотки електричних машин підрозділяються на петлеві, хвильові і комбіновані.

Петлеві обмотки найбільш поширені і застосовуються переважно як обмотки статорів, а хвильові — як обмотки фазних роторів асинхронних машин. Комбіновані (жаб'ячі) обмотки складаються з елементів петлевих і хвильових обмоток і застосовуються найчастіше як обмотки якорів електричних машин постійного струму.

За способом заповнення пазів обмотки електричних машин можуть бути як одношаровими, так і двошаровими. При одношаровій обмотці сторона котушки займає весь паз по його висоті, а при двошаровій — тільки половину паза; іншу половину цього паза заповнює відповідна сторона іншої котушки.

За способом виконання обмотки електричних машин ділять на всипні і протяжні. Всипні обмотки виконують при намотуванні з пазами, що напівзакривають; при цьому кожен дріт котушки окремо вкладають («всипають») в паз через його шліц. Протяжну обмотку виконують при ремонті електричних машин старих конструкцій із закритими пазами; при цьому кожен дріт обмотки протягують через весь паз. Способи укладання обмотки в пази залежать від форми пазів.

Пази статорів, роторів і якорів електричних машин можуть бути наступних типів:

- закритий паз, в який дроти котушки вводять з торця сердечника;

- паз, що напівзакриває, в який дроти котушки вкладають («вспипают») поодинці через вузький проріз паза;

- напіввідкритий паз, в який вкладають жорсткі котушки, розділені в кожному шарі на дві;

- відкритий паз, в який вкладають жорсткі котушки і утримують в ньому клинами з дерева або з різних ізоляційних матеріалів.

Різні типи і форми пазів електричних машин показані на рис. 4

Мал. 4. Найпоширеніші типи і форми пазів електричних машин:

а — статорів, би — роторів і якорів; / — відкритий, 2 — 5 — напіввідкриті, 5 — 8 — що напівзакривають


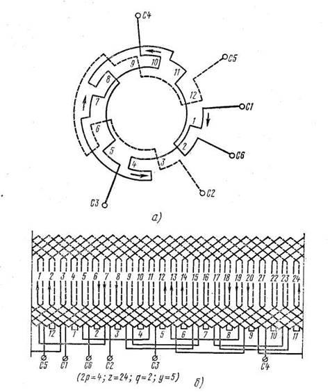
Мал. 5. Схеми двошарової трифазної обмотки:

а — торцевий, би — розгорненої

Обмотки електричних машин виконують, керуючись кресленням, на якому схема обмотки показана умовно і є графічним зображенням розгортки кола статора, ротора або якоря. Таку схему називають розгорненою. Розгорнені схеми можна застосовувати для зображення обмоток електричних машин всіх видів як постійного, так і змінного струму, проте в ремонтній практиці для двошарових обмоток статорів електричних машин змінного струму останнім часом застосовують переважно спрощені торцеві або кругові схеми, які відрізняються простотою виконання і більшою наочністю.

На мал. 5 а приведена торцева схема двошарової обмотки статора чотирьохполюсної машини, а на мал. 5, би — відповідна їй розгорнена схема.

Схеми обмоток звичайно зображаються в одній проекції. Щоб легко було розрізняти розташування котушок в пазах сердечника в схемах двошарових обмоток, сторони котушок в пазовій частині зображають двома рядом розташованими лініями — суцільної і пунктирної (штриховий): суцільна лінія позначає сторону котушки, укладену у верхню частину паза, а пунктирна — нижню сторону котушки, укладену на дно паза. У розривах вертикальних ліній указують номери пазів сердечника. Нижній і верхній шари лобових частин зображають відповідно пунктирними і суцільними лініями.

Стрілки на елементах обмотки, проставлені на деяких схемах, показують напрям э. д. з. або струмів у відповідних елементах обмотки в певний (один і той же для всіх фаз обмотки) момент часу.

Засади і кінці фаз обмотки статора позначають: почало 1-й фази — С/, 2-й фази — С2, 3-й фази — СЗ ; кінець 1-й фази — С4, 2-й фази — С5, 3-й фази — Сб.

У схемі указується вид обмотки, а також даються визначальні її параметри: z — число пазів; 2р — число полюсів, у — крок обмотки по пазах; а — число паралельних гілок у фазі; т — число фаз; У (зірка) або ? (трикутник) — способи з'єднання фаз.

Оценить/Добавить комментарий
Имя
Оценка
Комментарии:
Хватит париться. На сайте FAST-REFERAT.RU вам сделают любой реферат, курсовую или дипломную. Сам пользуюсь, и вам советую!
Никита01:10:53 03 ноября 2021
.
.01:10:51 03 ноября 2021
.
.01:10:48 03 ноября 2021
.
.01:10:47 03 ноября 2021
.
.01:10:46 03 ноября 2021

Смотреть все комментарии (16)
Работы, похожие на Реферат: Ремонт електричних машин

Назад
Меню
Главная
Рефераты
Благодарности
Опрос
Станете ли вы заказывать работу за деньги, если не найдете ее в Интернете?

Да, в любом случае.
Да, но только в случае крайней необходимости.
Возможно, в зависимости от цены.
Нет, напишу его сам.
Нет, забью.



Результаты(288870)
Комментарии (4173)
Copyright © 2005-2021 HEKIMA.RU [email protected] реклама на сайте