ВВЕДЕНИЕ
Увеличение фонда добывающих нефтяных скважин, в том числе механизированных, сопряжено с постоянным ростом числа подземных ремонтов скважин.
Подземным ремонтом скважины называется комплекс работ, связанных с предупреждением и ликвидацией неполадок с подземным оборудованием и стволом скважины.
При ремонтных работах скважины не дают продукции. В связи с этим простои скважин учитываются коэффициентом эксплуатации Кэ, т.е. отношением времени фактической работы скважин к их общему календарному времени за месяц, квартал, год. Коэффициент эксплуатации в среднем составляет 0,94-0,98.
Подземный ремонт скважин условно можно разделить на текущий и капитальный. Текущим ремонтом скважин (ТРС) называется комплекс работ, направленных на восстановление работоспособности скважинного и устьевого оборудования, и работ по изменению режима эксплуатации скважины, а также по очистке скважинного оборудования, стенок скважины и забоя от различных отложений (парафина, гидратных пробок, солей, продуктов коррозии). Текущий ремонт скважин подразделяют на: планово-предупредительный (или профилактический) и восстановительный.
Планово-предупредительный ремонт скважин - это ремонт с целью предупреждения отклонений от заданных технологических режимов эксплуатации скважин, вызванных возможными неполадками в работе, как подземного оборудования, так и самих скважин. Планово-предупредительный ремонт планируется заблаговременно и проводится в соответствии с графиками ремонта.
Восстановительный ремонт скважин - это ремонт, вызванный непредвиденным резким ухудшением технологического режима эксплуатации скважин или их остановкой из-за отказа насоса, обрыва штанговой колонны и т.п.
Капитальным ремонтом скважин (КРС) называется комплекс работ, связанных с восстановлением работоспособности обсадных колонн, цементного кольца, призабойной зоны, ликвидацией сложных аварий, спуском и подъемом оборудования при раздельной эксплуатации и закачке
В настоящее время более 90 % всех ремонтов выполняется на скважинах с ШСНУ и менее 5 % - с УЭЦН.
При подземном ремонте скважин проводятся следующие операции:
а) транспортные - доставка оборудования на скважину;
б) подготовительные - подготовка к ремонту.
в) спускоподъемные -подъем и спуск нефтяного оборудования;
г) операции по очистке скважины, замене оборудования, ликвидации мелких аварий;
д) заключительные - демонтаж оборудования и подготовка его к транспортировке.
В данной курсовой работе рассматривается операция проведения спускоподъема нефтяного оборудования, а именно технология проведения СПО, оборудование и инструмент, применяемый при СПО, охрана труда и правила пожарной безопасности при СПО, а также меры по охране окружающей среды и недр при спускоподъемных операциях.
СПО занимают основную долю в общем балансе времени на ремонт скважины (в зависимости от характера подземного ремонта занимают от 50 до 80 % всего времени, затрачиваемого на ремонт, то есть фактически определяют общую продолжительность текущего ремонта). Технологический процесс СПО состоит в поочередном свинчивании (развинчивании) НКТ, являющихся средством подвески оборудования, каналом для подъема добываемой жидкости и подачи технологических жидкостей в скважину, а в некоторых случаях инструментом для ловильных, очистных и других работ.
Целью курсовой работы является обоснование проведения спускоподъемных операций в нефтяных и газовых скважинах в процессе выполнения в них ремонтных работ, описание технологии проведения данного вида операции, рассмотрение мер по охране труда, техники безопасности и противопожарной безопасности, а также расчет машинного времени при подъеме НКТ и расчет потребной длины талевого каната для проведения СПО.
1 ТЕХНИКО-ТЕХНОЛОГИЧЕСКАЯ ЧАСТЬ
1.1 Расчет машинного времени при подъеме насосно-компрессорных труб
Рассчитать машинное время на подъем насосно-компрессорных труб трактором-подъемником С-80 с лебедкой ЛТ-11 КМ, если длина одной трубы l = 8,5 м; длина бочки барабана lб
= 0,695 м; диаметр бочки барабана dб
= 0,355 м; диаметр талевого каната δ = 0,026 м; число струн оснастки талевого каната i =10; частота вращения барабана при разных скоростях, об/мин:
п1
=33,5 об/мин; п2
= 53,5 об/мин ; п3
= 107,5 об/мин и n4
= 168,5 об/мин;
1. Определяем длину каната, навиваемого на бочку барабана lk
, м, по формуле
lк
= (l + 0,5) i , (1)
lк
= (8,5 + 0,5)×10 = 90 м.
где 0,5 м - высота подъема трубы над устьем скважины.
2. Определяем число витков талевого каната в одном слое а, витков, по формуле
(2)

Таблица 1
Коэффициент, учитывающий замедление подачи крюка при включении и торможения лебедки
| Подъемник |
Скорость подъема |
Значение k, когда скважина оборудована насосами |
| штанговыми |
электропогружными |
| подъём |
спуск |
подъём и спуск |
Трактор подъёмник
С-80 с лебёдкой
ЛТ-11 КМ
|
I, II,
III, IV
|
1,2; 1,3 |
1,3 |
1,5 |
где с = 1 – уменьшение числа витков из-за неплотной намотки каната.
3. Определяем диаметр бочки барабана с учетом навиваемых слоев каната, di
, м, по формуле
(3)
где m = 1, 2 и 3.
В этом случае по формуле (3) получим:
при m = 1
d1
= 0,355 + 0,026 + 1,87 • 0,026 • 1 = 0,43 м;
при m = 2
d2
= 0,355 + 0,026 + 1,87 • 0,026 • 2 = 0,478 м;
при m = 3
d3
= 0,355 + 0,026 + 1,87 • 0,026 • 3 = 0,527 м;
4. Определяем длину каната в каждом слое барабана lki
, м, по формуле
(4)
в первом слое (m = 1)
lk
1
= π•d1
•a = 3,14 • 0,43 • 26 = 35,1 м;
во втором слое (m = 2)
lk
2
= π•d2
•a = 3,14 • 0,478 • 26 = 39,0 м;
в третьем слое (m=3)
lk
3
= π•d3
•a = 3,14 • 0,527 • 26 = 43 м;
5. Определяем общую длину навитого каната в трех слоях l0
, м, по формуле
l0
= lk
1
+ lk
2
+lk
3
(5)
l0
= 35,1+ 39,0+43 = 117,1 м
Эта длина соответствует найденной полной длине каната, навиваемого на бочку барабана (90 м), а поэтому число рабочих слоев каната m = 3.
6. Определяем средний диаметр бочки барабана лебедки, dср
, м, по формуле
(6)

7. Определяем машинное время подъема на каждой скорости лебедки tm
, мин, по формуле
(7)
скорость I (n1
= 33,5 об/мин):

скорость II (n2
= 53,5 об/мин);

скорость III (n3
= 102,5 об/мин);

скорость IV (n4
= 163,5 об/мин);

1.2 Расчет потребной длины талевого каната
Определить необходимую длину талевого каната для оснастки талевой системы 4ģ5 на вышке ЭС-28-80 высотой 33 м.
1. Определяем потребную длину каната lК
, м, по формуле
lК
= НВ
(n + 2) + l0
+ l′ (1)
где n + 2 – число рабочих струн оснастки с учетом ходового и неподвижного концов талевого каната;
l0
– длина каната, постоянно навитого на барабан лебедки;
l′ - длина каната, необходимого на замену сработанной части ходового конца (l′ = 30 м)
lК
= 33 (8 + 2) + 18 + 30 = 377 м;
Это в случае, когда передвижной подъемник установлен около рамного бруса вышки. Если ходовой конец талевого каната протянут через направляющий оттяжной ролик, к вычисленной длине каната необходимо добавить длину, равную высоте вышки + 10 м, т.е. (НВ
+ 10 м), тогда
lК
= 377+ (22 + 10) = 420 м.
1.3 Технология проведения спускоподъемных операций
1.3.1 Подготовительные работы перед проведением спускоподъемных операций
Подготовительные работы проводят до начала ремонта скважины для обеспечения бесперебойной работы бригады по ремонту скважин. В процессе подготовительных работ проверяют состояние вышки (мачты), центровку ее по устью скважины, крепление оттяжек вышки или мачты, кронблока и талевой системы при необходимости ремонтируют площадку у устья скважины и мостки. Доставляют к скважине необходимое оборудование -трубы, штанги, талевый блок, подъемный крюк, канат и др. Выполняют оснастку и разоснастку талевой системы. При отсутствии вышки или мачты к скважине доставляют передвижной агрегат, устанавливают на площадке и укрепляют оттяжками. На скважинах с погружными центробежными электронасосами устанавливают кабеленаматыватель, закрепляют подвесной ролик на вышке или мачте для направления движения токоподающего кабеля. В случае необходимости глушения к скважине доставляют задавочную жидкость и промывочный агрегат.
1.3.2 Технология проведения спускоподъемных операций
СПО являются трудоемкими и в зависимости от характера подземного ремонта занимают от 50 до 80 % всего времени, затрачиваемого на ремонт, то есть фактически определяют общую продолжительность текущего ремонта. Технологический процесс СПО состоит в поочередном свинчивании (или развинчивании) НКТ, являющихся средством подвески оборудования, каналом для подъема добываемой жидкости и подачи технологических жидкостей в скважину, а в некоторых случаях инструментом для ловильных, очистных и других работ.
При спуске труб необходимо тщательно шаблонировать каждую из них, очищать резьбу трубы щеткой от грязи и песка, смазывать графитовой смазкой. Крепить трубы надо до отказа. Нельзя допускать спуск в скважину дефектных труб, то есть негерметичных, с поврежденной резьбой, кривых, помятых. Во избежание заедания торцов муфт за внутренний край эксплуатационной колонны тройников и крестовиков следует пользоваться направляющими воронками.
Спуск и подъем насосных штанг проводят так же, как и труб на более высоких скоростях ввиду их меньшей массы, чем НКТ. Поднятые штианги укладывают на мостки и между ними прокладывают деревянные рейки. Укладывание штанги должны иметь не менее шести опорных точек, равномерно распределенных по всей их длине. Провисание концов штанг и соприкосновение с грунтом не допускаются.
Для облегчения работы во время спуска штанг обратно в скважину, каждый последующий их ряд должен быть выдвинут к устью скважины против предыдущего ряда на 15-20 см. Обнаруженные при подъеме дефектные штанги откладывают в сторону и по окончанию ремонта убирают с мостков. Перед спуском насосных штанг в скважину каждую из них тщательно осматривают. Не допускается смешивание штанг, изготовленных из сталей различных марок. При спуске ступенчатой колонны необходимо строго придерживаться данных наряда. Перед свинчиванием резьбу тщательно очищают и смазывают графитовой смазкой, а затем закрепляют до отказа.
Отбракованные штанги доставляют на базу, где после сортировки, наиболее сохранившиеся штанги отбирают для применения их в неглубоких скважинах при небольших нагрузках.
Для составления колонны насосных штанг строго определенной длины применяют штанги укороченной длины. Свинчивание и развинчивание НКТ во время СПО выполняют с помощью автоматов АПР-2ВБ с приводом от электродвигателя, АПР-ГП с гидроприводом, механическим ключом КМУ-32 и КМУ-50 грузоподъемностью 32 и 50 т. КМУ-ГП с гидроприводом. При ремонте скважин с УЭЦН широкое применение получили ключи КМУ. Для свинчивания и развинчивания насосных штанг используют штанговые ключи АШК-Г и АШК-Т. Как было указано выше, резьбовое соединение смазывают графитовой смазкой, для приготовления которой рекомендуют следующие рецепты (по массе): первый: графит-50-60 %; технический жир-5%; каустическая сода -1,5%; машинное масло 33,5-43,5%. Второй: графит 30%; солидол 24%; машинное масло 35%; канифоль 2%.
В качестве смазки резьбовых соединений НКТ применяют и готовые консистентные смазки Р-2 или Р-402.
1.4 Оборудование и инструмент, применяемые при спускоподъемных операциях
1.4.1 Оборудование, применяемое при проведении спускоподъемных операций
Для выполнения подземных ремонтов скважин применяют различные комплексы оборудования и инструментов в сочетании с технологическими установкам. Оборудование это можно поставлять отдельными комплектами или узлами.
К основному оборудованию, при помощи которого проводят СПО, относят подъемные лебедки и установки, монтируемые на самоходных транспортных базах (гусеничные или колесные). Подъемные установки в отличие от лебедок оснащены вышкой с талевой системой и ключами для свинчивания и развинчивания НКТ и насосных штанг. При выполнении капитальных ремонтов подъемные установки комплектуют насосным блоком, ротором, вертлюгом, циркуляционной системой и другим оборудованием.
Наиболее широко применяют тракторный подъемник ЛПТ-8 и установки подъемные типов АзИНмаш-37А, УПТ-50, А-50М, АПР60/80, УПА-60,УПА-60А(60ģ80),УПА-100 и другие.
При работе с подъемниками скважины должны иметь вышку или мачту с кронблоком, талевой системой с эксплуатационным крюком и оттяжным роликом.
Агрегат А-50М. Взамен агрегата А-50У выпускают модернизированный агрегат А-50М с повышенными надежностью и грузоподъемностью.
Агрегат A-50M также предназначен для освоения и ремонта нефтяных, газовых и нагнетательных скважин с проведением спускоподъемных операций с насоснокомпрессорными и бурильными трубами, промывки песчаных пробок, глушения скважин, циркуляции промывочного раствора при бурении, фрезеровании и разбуривании цементных стаканов для проведения ловильных и других работ по ликвидации аварий в скважинах. Все механизмы агрегата, кроме промывочного насоса, смонтированы на шасси КрАЗ-250 с подогревателем ПЖД-44-П. Промывочный насос 9МГр смонтирован на двухосном прицепе.
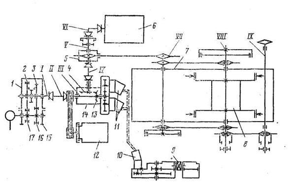
В качестве привода навесного оборудования используется ходовой двигатель в агрегате А-50У шасси КрАЗ-257, а в А-50М шасси КрАЗ-250. Мощность от двигателя отбирается через коробку отбора мощности 23, установленную на раздаточной коробке автомобиля. Карданный вал 21 коробки отбора мощности соединен с раздаточным редуктором 20, смонтированным на раме 22.
От раздаточного редуктора мощность отбирается при помощи клиновых ремней на компрессорную установку 4, питающую пневмоуправление 16 сжатым воздухом, а также на силовую передачу 29 через карданные валы 27 и 28. Через силовую передачу мощность передается на промывочный насос 26 при помощи карданного вала. Цепной передачей 30 в кожухе 32 осуществляется привод лебедки 6 и через промежуточный вал 33 привод бурового ротора. Переключение коробки отбора мощности на промежуточный вал выполняется рычагами управления зубчатыми муфтами 19.
В рабочем положении мачта 14 одной стороной опирается на лебедку, другой через домкрат 18 — на грунт. Установку мачты из транспортного положения в вертикальное — рабочее и обратно проводят посредством домкратов 7, цилиндры которых защищены кожухом. Кронблок мачты и талевый блок 10 оснащены талевым канатом 9. На мачте размещены подвеска ключей 11 и подвеска бурового рукава 12, который соединяется с насосом при помощи манифольда 25. При необходимости к талевому блоку можно подвесить вертлюг 13 с квадратной штангой 15. Нагрузка на крюке определяется при помощи индикатора веса 8, устанавливаемого на «мертвом» конце талевого каната. В транспортном положении мачта опирается на переднюю опору 1, размещенную на переднем буфере, где также находится балка для крепления силовых оттяжек 24, и на среднюю опору 2, на которой установлена вспомогательная электролебедка 3. Гидросистема 5 обеспечивает питание гидрораскрепителя 31 и гидроротора 17.
В состав установки входит также электрооборудование 34, узел управления и освещения шасси 36, установка запасного колеса и площадки оператора 35.

Рис.1 Агрегат А-50М

Рис. 2 Агрегат А-50М. Вид сверху
1 -передняя опора; 2 -средняя опора; 3 -электролебедка; 4-компрессорная установка; 5-гидросистема; 6-лебедка; 7-домкрат; 8-индикатор веса; 9-талевый канат; 10-талевый блок; 11-подвеска ключей; 12-подвеска бурового рукава; 13-вертлюг; 14-мачта; 15-домкратная штанга; 16-пневмоуправленне; 17-гидроротор; 18-домкрат; 19-зубчатая муфта; 20-редуктор; 21-карданный вал; 22-рама; 23-коробка отбора мощности; 24-силовые оттяжка; 25-маннфольд; 26-промывочный насос; 27, 28-карданные валы; 29-силовая передача; 30-цепная передача; 31-гидрораскрепитель; 32-кожух; 33-промежуточный вал; 34-электрооборудование; 35-площадка оператора; 36-узел управления и освещения шасси;
Кинематическая схема агрегата А-50М (рис.3) в отличие от схемы А-50У имеет два масляных насоса 2МН-250/100 вместо одного М-20 в агрегате А-50У. Привод навесного оборудования агрегата и насосного блока осуществляется от тягового двигателя автомобиля через коробку скоростей, включенную напрямую, и раздаточную коробку. Шестерни 16 и 17 раздаточной коробки автомобиля находятся в постоянном зацеплении с шестернями 3 и 2 коробки отбора мощности I , свободно сидящими на валу I. При включении зубчатой муфты две скорости передаются валу 1, затем через карданный вал 2 — первичному валу 3 раздаточного редуктора 14 с коническими шестернями 4 и 13. От вала 3 вращение передается через встроенный редуктор масляным насосам 11, питающим гидроротор 10 привода ротора 9 и гидроцилиндры подъема вышки. Масляные насосы включаются в работу посредством зубчатых муфт.
От шкива, сидящего на первичном валу 3, вращение клиновыми ремнями передается компрессору 12. От вторичного вала раздаточного редуктора вращение карданным валом IV сообщается валу V, на который посажена звездочка 5 цепной передачи привода лебедки 7. На консоли вала V на подшипниках качения установлен фланец, включаемый зубчатой муфтой; к фланцу прикреплен карданный вал VI привода промывочного насоса 6. Включение промывочного насоса выполняется зубчатой муфтой, посаженной на тот же консольный конец вала раздаточного редуктора. От вала V вращение цепной передачей передается валу VII силовой передачи, который, в свою очередь, соединен цепными передачами с валом VIII подъемного барабана 5.
Лебедка 7 имеет две шинно-пневматические муфты. Цепные передачи включаются шинно-пневматическими муфтами и передают валу подъемного барабана две скорости (большую и малую). В сочетании с двумя скоростями вала силовой передачи они обеспечивают четыре скорости вращения подъемного барабана, жестко сидящего на шпонках барабанного вала. При работе на первой скорости коробки отбора мощности посредством шиннопневматических муфт лебедки можно включить первую или третью скорости подъемного барабана, при работе коробки отбора мощности на второй скорости — вторую или четвертую.

Рис. 3. Кинематическая схема агрегата А-50М.
1-коробка отбора мощности; 2, 3-шестерни коробки отбора мощности; 4, 13-шестерни конические; 5-звездочка цепной передачи; 6-промывочный насос; 7-лебедка; 8-подъемный барабан; 9-ротор; 10-гидроротор; 11-масляный насос; 12-компрессор; 14-раздаточный редуктор; 15-раздаточная коробка; 16, 17-шестерни раздаточной коробки; I-ведущий вал; II, IV, VI-карданные валы; III-первичный вал; V-вал цепной передачи;VII-вал силовой передачи; VIII-вал подъемного барабана;
Техническая характеристика агрегатов А-50У и А-50М.
Включенная передача IIIIIIIV
Скорость намотки-каната, м/с:
А-50У 1,088 1,9 4,17 7,8
А-50М 1,146 2,28 4,38 8,64
Скорость подъема талевого блока, м/с:
А-50У 0,181 0,317 0,695 1,215
A-50M0,191 0,38 0,73 1,444
Частота вращения вала барабана, мин -1
:
А-50У 39,8 69,8 153 268
А-50М 39,5 78 151 294
Грузоподъемность на крюке, т:
А-50У 50 34,5 12,6 7,5
А-50М 60 30 15,8 8,0
Вал силовой передачи с помощью цепных передач, включаемых шинно-пневматической и зубчатой муфтами, передает две скорости вращения промежуточному валу IX бурового ротора. Ввиду того, что раздаточный редуктор агрегата получает от коробки отбора мощности две скорости вращения, ротор и промывочный насос также имеют две скорости вращения. Частота вращения вала и мощность гидроротора агрегатов А-50У и А-50М приведены ниже
Включенная передача IIIIII
Частота вращения вала, мин -1
А-50У . 40 70 —
А-50М 22,3 45 88
Мощность гидроротора, кВт:
А-50У 44 44 —
А-50М 14,7 28,6 57
Установку вышки в вертикальное и горизонтальное положения проводят при работе коробки передач автомобиля на первой передаче и при одном включенном маслонасосе. Гидросистема заполняется профильтрованным маслом ВМГЗ для работы при температуре окружающей среды от —50 до +65 °С. Пневмосистема агрегата снабжается сжатым воздухом от двухцилиндрового двухступенчатого компрессора М155-2В5
Тип А-50У А-50М
Допускаемая нагрузка, кН 500 125
Наибольшее тяговое усилие на набе- 1100 1000
гающем конце каната, кН
Диаметр тормозных шкивов, мм 2 2
Число тормозных шкивов 2 2
Вышка
Тип Телескопическая
Высота от земли до оси кронблока,м 22,4
Допустимая длина поднимаемой
трубы, м 16
Расстояние от торца рамы до оси
скважины, мм 1040
Оснастка талевой системы 3X4 Диаметр, мм:
канатного шкива 470
талевого каната 25
Компрессор
Тип М155-2В5
Подача, м*/мин До 0,6
Давление нагнетания, МПа До 10
Промывочный насос
Тип НБ-125 (9МГр-73)
Наибольшее давление (при подаче
6,1 л/с), МПа 16
Наибольшая подача (при давлении 6 МПа), л/с 9,95
Монтажная база — прицеп 71 ОБ или СМ-38326
Масса насоса с прицепом, кг 4144
Вал привода бурового ротора
Отбираемая мощность, кВт 95,5 100
Частота вращения, мин"1
:
1 скорость 214 214
2скорость 360 423
Лебедка вспомогательная — ТВ-224В (ТЛ-9)
ГОСТ 2914-10
Грузоподъемность, т — 25
Скорость подъема, м/с — 0,25
Масса установки без насосного при цепа, кг 22 610 24 000
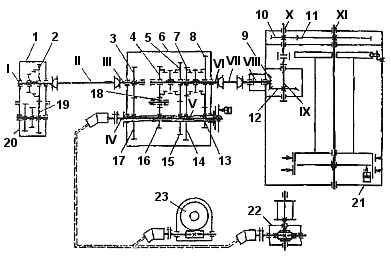
Агрегат АзИНмаш-37А (рис. 4), смонтированный на шасси автомобиля КрАЗ-255Б, предназначен для текущего ремонта нефтяных, газовых и нагнетательных скважин глубиной до 2900 м. Имеет следующие основные узлы: лебедку, вышку с талевой системой, переднюю и заднюю опоры вышки, кабину оператора, а также гидравлическую, пневматическую и электрическую системы управления агрегатом и другие вспомогательные узлы и механизмы
. 
Рис. 4. Агрегат АзИНмаш-37А.
1 - талевая система; 2 — вышка; 3 - силовая передача; 4- передняя опора; 5 - кабина оператора; 6 — лебедка; 7 - гидроцилиндр подъема вышки; 8 - задняя опора
Лебедка агрегата включает конический редуктор, барабанный и приводной вал, смонтированный на общей сварной коробчатой станине. Барабан сварной конструкции установлен на подшипниках качения. Муфта включения барабана фрикционная, пневматическая с дисковыми вкладышами из ретинакса, смонтирована внутри тормозного шкива.
Вышка - сварная, решетчатой конструкции, телескопическая, двухсекционная с открытой передней гранью. В транспортном положении вышка опирается на переднюю и заднюю опоры.
Подъем вышки осуществляется гидравлическими домкратами, выдвижение верхней секции - лебедкой с гидроприводом через блочно-канатную систему. Выдвинутая верхняя секция фиксируется на пневматически управляемых упорах. В процессе работы на скважине вышка закрепляется четырьмя оттяжками. Она снабжена также ограничителями подъема верхней секции и подъема крюкоблока. При достижении крюкоблоком критического верхнего положения ограничитель отключает фрикцион лебедки и включает тормоз.
Телескопические опорные винтовые домкраты задней опоры вышки можно фиксировать по высоте в трех различных положениях. Опорные домкраты опускаются под действием своего веса при вытаскивании фиксирующего пальца. В транспортном положении опорные домкраты поднимаются гидравлическими подъемниками, установленными внутри ног задней опоры.
Талевая система состоит из одноосного трехроликового кронблока и одноосного двухроликового крюкоблока с трехрогим крюком. Неподвижный конец талевого каната закреплен на боковой стенке станины лебедки.
Гидравлическая система агрегата обеспечивает подъем вышки и опорных домкратов задней опоры, привод лебедки, выдвижение верхней секции вышки и автомата АПР-ГП для свинчивания и развинчивания насосно-компрессорных труб.
Пневматическая система агрегата предназначена для усиления тормоза, управления муфтами включения барабана, гидронасоса, дистанционного управления сцеплением двигателя, упоров вышки и тормозом при срабатывании противозатаскивателя. Воздух в пневмосистему агрегата подается от компрессора автомобиля через его масловлагоотделитель и три воздушных баллона, последовательно соединенных с целью улучшения условий выпадения конденсата.
Электрооборудование в сочетании с пневматической и гидравлической системами предназначено для управления механизмами при установке и снятии агрегата на скважине, для проведения спускоподъемных операций и освещения вышки и рабочей площадки устья.
Управление механизмами агрегата при проведении спускоподъемных операций осуществляют из кабины, расположенной между лебедкой и ездовой кабиной автомобиля (рис. 4). Управление установкой вышки в рабочее положение выполняют с выносного пульта, соединенного с общей электросистемой агрегата кабелем. Это позволяет машинисту располагаться в любом удобном и безопасном для него месте, в радиусе до 10 м. Привод навесного оборудования агрегата лебедки 21 осуществляется от тягового двигателя автомобиля через коробку скоростей, включенную напрямую, и раздаточную коробку. Шестерня 19 раздаточной коробки автомобиля 20 находится в постоянном зацеплении с шестерней 2 коробки отбора мощности 1, свободно сидящей на валу 1. Включением зубчатой муфты вращение передается валу 1, от него через карданный вал II - первичному валу III коробки передач 6 и далее - через шестерни 3 и 17 - промежуточному валу V.

Рис. 5.. Кинематическая схема АзИНмаш-37А
1 — коробка отбора мощности; 2 - шестерни коробки отбора мощности; 3, 17 - шестерни передачи вращения промежуточному валу; 4, 5, 7, 8 - шестерни вторичного вала; 6 - коробка передач; 9, 12 - шестерни конические; 10, 11 - шестерни передачи вращения барабанному валу; 13, 14, 15, 16 - шестерни промежуточного вала ; 18 - шестерня паразитная; 19 - шестерня раздаточной коробки; 20 - коробка раздаточная; 21 - лебедка; 22 - лебедка выдвижения верхней секции вышки; 23 - автомат свинчивания и развинчивания НКТ; I - ведущий вал; II, VII — карданный вал; III - первичный вал; IV - вал привода гидронасоса; V - промежуточный вал; VI - вторичный вал; VIII - вал конического редуктора; IX - вал конической передачи; X - приводной вал; XI — вал барабана
Шестерни 13, 14, 15 и 16, неподвижно посаженные на промежуточном валу V, находятся в постоянном зацеплении соответственно с шестернями 8, 7, 5 и 4, свободно сидящими на вторичном валу VI, причем шестерни 16 и 15 зацепляются через паразитную шестерню 18, а остальные - непосредственно. Включением зубчатых муфт валу VI сообщают три скорости прямого хода и одну скорость обратного хода. От вала VI через карданный вал VII вращение сообщается валу VIII конического редуктора и через пару конических шестерен 9 и 12 - валу IX.
Приводной вал X, соединенный зубчатой муфтой с валом IX, передает вращение барабанному валу XI через шестерни 10 и II. Вращение барабану, свободно сидящему на валу XI, сообщается через фрикционную муфту.
Внутри полого промежуточного вала V проходит вал IV привода гидронасоса, включаемый осевой фрикционной муфтой.
Гидравлическая система обеспечивает подъем вышки и опорных домкратов задней опоры, а также служит приводом лебедки 22 выдвижения верхней секции вышки и автомата АПР-2ГП 23 для свинчивания и развинчивания насосно-компрессорных труб.
Установку АзИНмаш-37А1 монтируют на автомобиле КрАЗ-260 с относительно повышенной мощностью двигателя. В отличие от АзИНмаш-37А эта установка имеет в тормозной системе ретинаксовые колодки вместо лент с фрикционным материалом «феррадо», а в системе противозатаскивателя талевого блока использован новый винтовой механизм, более надежный и удобный в эксплуатации.
Освещение агрегатов, рабочей площадки и мостков осуществляется взрывобезопасными светильниками.
Агрегаты комплектуют автоматами АПР-2ВБ или АПР-ГП для работы с насосно-компрессорными трубами, АШК-ТМ или КШЭ для работы с насосными штангами.
Агрегаты АзИНмаш-37А и АзИНмаш-37А1 могут иметь устройство для безъякорного крепления вышки.
Это устройство обеспечивает устойчивость агрегата при проведении спускоподъемных операций на полную грузоподъемность без установки и крепления оттяжек вышки к внешним якорям.
Проведение спускоподъемных операций агрегата без крепления оттяжек вышки достигается путем исключения влияния рессор на устойчивость агрегата. Влияние рессор на устойчивость всего агрегата частично исключается при установке двух передних откидных домкратов, с помощью которых, а также домкратов задней опоры вышки, рама автомобиля, минуя рессоры, опирается на рабочую установочную площадку. Для полного исключения влияния рессор необходимо снизить давление в шинах автомобиля до минимально допустимого значения (0,05 МПа).
Верхние концы грузовых и установочных оттяжек вышки крепят соответственно к верхней части и верхней части нижней секции вышки, а их нижние концы через винтовые стяжки соединяют с передним бампером автомобиля. При этом грузовые оттяжки крепят к внутренним, а установочные - к внешним ушкам
1.4.2 Инструмент, применяемый при проведении спускоподъемных операций
Элеваторы предназначены для захвата и удержания колонны штанг и труб на весу в процессе спускоподъемных операций. По назначению элеваторы бывают трубные и штанговые.
По типу захвата и удержания трубные элеваторы могут быть: а) с захватом под муфту; б) с захватом под высадку трубы; в) с захватом за тело (элеватор-спайдер).
Элеваторы первого типа наиболее распространены и предназначены для работы с муфтовыми трубами. Элеваторы второго типа необходимы для работы с трубами с высадкой наружу, а третьего типа - для работы с безмуфтовыми трубами.
По типу захвата и удержания штанговые элеваторы могут быть с захватом под высадку или квадрат штанги.
Элеваторы первого типа наиболее распространены и предназначены для работы по двухэлеваторной технологии. Элеватор с захватом под квадрат штанги позволяет работать по одноэлеваторной технологии, однако при работе с этим элеватором необходимо его соединение с талевым блоком с возможностью его вращения, так как при свинчивании-развинчивании элеватор вращается вместе со штангами.
Применение подобных элеваторов наиболее целесообразно при установке развинченных штанг в вертикальном положении, так как на мачте они устанавливаются путем подвески за высадку.
По конструкции трубные элеваторы могут быть одно- и двухштропные. Первые получили наибольшее распространение в подземном ремонте скважин.
Элеваторы типа ЭТАД (рис. 6) с захватным автоматическим устройством предназначен для работы с насосно-компрессорными трубами условного диаметра от 48 до 114 мм. Элеватор состоит из корпуса с подпружиненными защелками штропов, выдвижного захвата, упоров, запирающего устройства с рукояткой.
Захваты элеватора сменные и рассчитаны на определенный диаметр НКТ. Это позволяет использовать один корпус элеватора при спускоподъеме труб нескольких размеров. Захват включает в себя шток, шарнирно соединенный с двумя челюстями.
Шток снабжен шлицами, сопрягающимися с втулкой запирающего устройства. Запирающее устройство служит для фиксации челюстей элеватора в крайних положениях, соответствующих открытому или закрытому состоянию.

Рис. 6. Элеватор типа ЭТАД
1 - предохранитель; 2 - корпус; 3 - упор; 4 - захват; 5 - рукоятка.
На промыслах в подземном ремонте скважин наибольшее распространение получили одноштропные элеваторы с захватом под муфту типа ЭТА (рис. 7), входящие в комплект инструмента для работы с насосно-компрессорными трубами: элеватор типа ЭТА - ручной ключ типа КТГУ - механический ключ типа АПР или КМУ.

Рис. 7 Элеватор типа ЭТА
1 - серьга; 2 - палец; 3 - шплинты; 4 - корпус; 5 - рукоятка; 6 - направляющая втулка; 7 - штырь; 8 - челюсть; 9 - направляющие; 10 - болт.
Выпускаются элеваторы ЭТА-32, ЭТА-50 и ЭТА-60 грузоподъемностью соответственно 32, 50 и 60 т. Они позволяют работать с НКТ диаметром 48, 60, 73 и 89 мм как с гладкими, так и с высадкой. Переход с одного диаметра на другой осуществляется путем смены захватов.
Для проведения спускоподъемных операций с одним элеватором необходимо устройство на устье скважины, способное удерживать колонну труб за тело.
При этом торец муфты остается свободным для последующего захвата колонны элеватором. Спайдер может быть выполнен отдельно или входить в состав механического ключа для свинчивания-развинчивания труб.
Спайдер гидравлический СГ-32 предназначен для захвата за тело и удержания на весу колонны труб в процессе спускоподъемных операций при текущем и капитальном ремонтах скважин.
Он представляет собой (рис. 8) разрезной корпус со сменными клиньями под трубы разных размеров. Клиньями управляют посредством гидравлического цилиндра, встроенного в корпус спайдера. Наклонные зубья плашек обеспечивают стопорение колонны от проворота в процессе свинчивания - развинчивания труб. На спайдере предусмотрено также вспомогательное ручное управление.

Рис. 8. Спайдер СГ-32
1 - гидроцилиндр; 2 - рукоятка; 3 — рычаг; 4 - клиновая подвеска; 5 - створка; 6 - центратор; 7 – корпус
Для свинчивания-развинчивания резьбовых соединений труб и штанг применяются ключи. Ключи могут быть трубными и штанговыми (по назначению) и, кроме того, ручными и механическими. В свою очередь, ручные ключи делятся на шарнирные и цепные. Шарнирные ключи более удобны в работе, имеют небольшой вес и меньше повреждают поверхность трубы.
Одним из широко применяемых ключей для работы с трубами является автомат Молчанова (АПР - автомат подземного ремонта) (рис. 9.)

Рис. 9. Автомат АПР-2ВБ
1 - корпус автомата; 2 - червячное колесо; 3 - клиновая подвеска; 4 - корпус клина; 5 - плашка; 6 - опорный фланец; 7 - водило; 8 - вал вилки включения маховика; 9 — электроинерционный привод; 10 — ось балансира; 11 — направление клиновой подвески; 12 - центратор; 13 - пьедестал центратора; 14 - фиксатор центратора.
Ключ (автомат) стационарно устанавливается на колонную головку, а крутящий момент передается водилом трубе через ручной ключ типа КТГУ.
Техническая характеристика АПР-2ВБМ
Максимальный крутящий момент, кН∙м (кг∙см) 4,5(450)
Потребляемая мощность, кВт 3,0
Частота вращения водила, с-1(об/мин) 0,85 (51)
Грузоподъемность спайдера, т 80
Количество вариантов набора маховиков 4
Привод ключа
Электрический инерционный
взрывобезопасный с питанием от промысловой сети
Двигатель привода Электродвигатель АИМ10084У2,5
n = 1430 об/мин, напряжением 380 B
Ключ (автомат) выполнен в виде блоков, что облегчает его монтаж-демонтаж, а также транспортировку. Основными частями ключа являются блоки вращателя, клиновой подвески и центратора, а также балансир с грузом, привод и блок управления приводом. люч (автомат) выполнен в виде блоков, что облегчает его монтаж-демонтаж, а также транспортировку. Основными частями ключа являются блоки вращателя, клиновой подвески и центратора, а также балансир с грузом, привод и блок управления приводом.
Блок вращателя представляет собой корпус клинового спайдера с червячным редуктором, работающим в масляной ванне, и водилом, передающим вращающее усилие трубному ключу. На конце червячного вала монтируется полумуфта центробежной муфты с установленными на ней сменными маховиками.
Блок клиновой подвески состоит из направляющей с кольцевым основанием, к которому на шарнирах подвешены три клина. Клинья для труб диаметром 48, 60, 73 мм состоят из корпуса клина и сменных плашек. Клинья для труб диаметром 89 мм монолитные. Клиновые подвески имеют усы-синхронизаторы, которые обеспечивают синхронную работу клиньев в момент захвата трубы.
Блок центратора состоит из пьедестала, к которому крепится блок вращателя, фиксатора и вкладышей центратора. Последние изготовляются с проходными диаметрами для труб диаметром 48, 60, 73 и 89 мм. Вкладыши центратора удерживаются в пьедестале фиксаторами.
Балансир состоит из рычага и груза, при помощи, которых осуществляется перемещение клиновой подвески вверх вниз.
Привод ключа включает электродвигатель с полумуфтой центробежной муфты и раздвижные кулачки.
Блок управления состоит из магнитного пускателя, кнопочного поста, соединенных между собой и с электродвигателем кабелем при помощи штепсельных разъемов.
Вращение от электродвигателя передается на полумуфту, которая передает номинальный крутящий момент только при наборе электродвигателем полного числа оборотов.
Ключ подвесной разрезной КПР-12 предназначен для свинчивания и развинчивания бурильных и насосно-компрессорных труб в процессе текущего и капитального ремонтов скважин.
Он состоит (рис. 10) из трубного ключа 2, выполняющего процесс свинчивания и развинчивания труб при расчетном крутящем моменте, и гидравлического агрегата, обеспечивающего требуемый расход и давление масла в гидросистеме.

Рис. 10. Ключ подвесной разрезной КПР-12
1 - стопор; 2 - ключ; 3 - створка; 4 — упор; 5 - ограничитель ключа и стопора; 6 - болт регулировочный; 7 — рукоятка подъема; 8 — гидроподъемник; 9 - амортизатор; 10 - серьга; 11 - винт; 12 - подвеска; 13 — гидрораскрепитель; 14 - ограничитель крутящего момента; 15 - рукоятка переключения скоростей; 16 – гидрорукав
Трубный ключ представляет собой двухскоростной цилиндрический редуктор с разрезной рабочей шестерней, в которой устанавливаются сменные захваты. Комплектуется съемным стопорным устройством. Привод от гидромотора.
Гидравлическая насосная станция - электроприводная; соединяется с ключом гидравлическими рукавами высокого давления; устанавливается на расстоянии до 10 м от скважины.
Управление ключа расположено на корпусе ключа. Ключ на стационарной вышке или на вышке передвижного агрегата подвешивают на тросе диаметром не менее 16 мм. Трос крепят при помощи трех зажимов. Во избежание перегибов троса и выхода его из строя применяют проушины соответствующих размеров. Высота подвески ключа на кронштейне должна составлять не менее 5 м, с тем, чтобы угол поворота кронштейна обеспечивал подвод и отвод ключа к устью скважины и обратно. Гидроподъемник 8 регулирует высоту подвески ключа в зависимости от расположения муфты трубы.
Диаметр троса, удерживающего ключ от реактивного момента при его работе, должен быть также не менее 16 мм.
Захваты под трубы сменные, заменяют их при выключенном гидравлическом агрегате.
Гидроподъемник 8 устанавливают на ключ до его подвешивания. Ключ подвешивают в следующей последовательности: амортизатор 9, гидроподъемник 8, подвеска 12, ключ 2, стопор 1.
Горизонтальное положение ключа достигается регулировкой болтами 6 и винтом 11 подвески 12. Удерживающие тросы должны находиться в горизонтальном положении и жестко быть закреплены.
Колонна труб монтируется на спайдере или элеваторе. Ограничитель ключа устанавливается в положение «развинчивание». Ключ надвигается на колонну труб, закрывая створку. Раскрепление трубы выполняется на низшей передаче, после чего на высшей передаче производится отвинчивание трубы. В случае отсутствия спайдера или малого веса колонны труб следует обязательно применять стопор. После окончания отвинчивания трубы производится реверсирование ключа до совмещения прорезей шестерни и корпуса. При этом захваты освобождают трубу, открывают створку, снимают ключ с трубы и отводят его в сторону.
Свинчивание производится аналогично. При этом ограничитель ключа устанавливается в положение «свинчивание», а ограничитель крутящего момента на насосной станции - в положение, соответствующее спускаемым в скважину трубам.
Штропы эксплуатационные (рис. 11) используются для подвешивания элеваторов к крюкам талевых систем.
По конструкции штроп - замкнутая стальная петля овальной формы, вытянутая по одной оси. Грузоподъемность комплектной пары штропов от 10 до 80 т.

Рис. 11. Штроп эксплуатационный:
1 - штроп; 2 - ручка; L - длина; B -ширина; d — диаметр поперечного сечения.
2 ОХРАНА ТРУДА И ПРАВИЛА ПРОТИВОПОЖАРНОЙ БЕЗОПАСНОСТИ ПРИ СПУСКОПОДЪЕМНЫХ ОПЕРАЦИЯХ
2.1 Правила техники безопасности при проведении спускоподъемных операций
Перед началом спускоподъемных операций мастер бригады, а в его отсутствие старший оператор ПРС или бурильщик КРС должны осмотреть механизмы и инструмент, рабочее место вахты, талевую систему (состояние каната, крепление неподвижного «мертвого» конца каната, состояние фундамента и крепление оттяжек к «мертвякам», работоспособность противозатаскивателя) и сделать соответствующую запись в журнале проверки инструмента и оборудования.
Автоматы для свинчивания и развинчивания труб на устье скважины должны устанавливаться при помощи талевой системы и монтажной подвески и надежно (без люфта) укрепляться на устьевом фланце.
Управление автоматами при спуске и подъеме НКТ, зарядку и съемку элеватора и ключей выполняет оператор 5 разряда, бурильщики 5-6 разрядов.
Во время подъема и спуска труб должно соблюдаться следующее:
Рабочие, работающие у устья скважины, должны отойти в сторону и наблюдать за подъемом и спуском.
Подходить к устью следует только после окончания подъема и спуска.
Элеватор для одевания или снятия с трубы должны брать двое рабочих. Нельзя класть трубу концом на ротор или на колонный фланец.
Для подтаскивания трубы нужно предварительно закатить ее со стеллажей на мостки.
Посадку колонны на элеватор и на ротор следует производить плавно.
При спуске бурильных труб нужно пропускать муфтовые соединения их через вкладыши ротора, притормаживая лебедку.
На скважинах, выделяющих газ, во избежание взрыва и пожара при спуске насосно-компрессорных труб необходимо применять направляющую воронку из материала, не дающего искр при ударе.
При подъеме труб с жидкостью необходимо пользоваться приспособлением против разлива жидкости (юбкой) и отвода ее в сторону .При спуске и подъеме НКТ пол рабочей площадки и мостки необходимо систематически очищать от грязи, снега, парафина, нефти.
При спускоподъемных операциях для размещения ручного инструмента в определенном порядке, удобного и облегченного пользования им необходимо применять инструментальный столик, а для укладки очередной трубы на мостки - «козлик».
Запрещается подавать непосредственно руками НКТ к устью скважины и обратно, для этого необходимо пользоваться вилкой для подтаскивания труб и крючками.
При спуске резьбовые соединения НКТ должны смазываться специальной консистентной смазкой.
При спускоподъемных операциях лебедку подъемника следует включать и выключать только по сигналу оператора.
При развинчивании и свинчивании трубы подъемный крюк должен иметь возможность свободного вращения, иметь амортизатор и исправную пружинную защелку, предотвращающую выпадения штропов.
При подъеме труб с мостков и при подаче их на мостки элеватор должен быть повернут замком вверх, Штыри, вставленные в проушины элеватора, должны быть привязаны к штропам.
При выбросе трубы из скважины на мостки свободный конец ее должен быть установлен на скользящую прокладку (салазки, лоток).
При использовании механизма для свинчивания труб устьевой фланец скважины должен быть расположен на высоте 0,4-0,5 метра от пола рабочей площадки.
При переоснастке талевой системы освобождаемые струны каната должны быть отведены в сторону и закреплены с соблюдением радиуса изгиба, равного не менее девяти диаметрам.
При самом нижнем положении талевого блока на рабочей части барабана лебедки должно быть навито не менее 3-х витков каната.
Канат талевой системы оставляемый на вышке или мачте, по окончании работ должен быть смазан, отведен в сторону и надежно закреплен за рамный брус или ногу вышки (мачты).
2.2 Правила пожарной безопасности при спускоподъемных операциях
Обеспечение безопасных и здоровых условий труда на производстве возможно только при строгой трудовой и производственной дисциплине всех работающих: точном выполнении ими инструкций по охране труда и пожарной
безопасности. Без этого самые современные техника и технологии не в состоянии создать безопасную обстановку
на производстве .
Очень велика роль самих непосредственных исполнителей
работ - рабочих. Наряду со знаниями технологических процессов они должны иметь навыки принятия правильных действий на рабочем месте, выполнять свои обязанности так , чтобы исключить возможность возникновения опасности и вредности себе и окружающим людям , а также знать какие
меры нужно принять для предотвращения и устранения пожаров .
Ответственным лицом за пожарную безопасность в бригадах является мастер, а в его отсутствии - старший оператор, на которых возлагается:
- контроль за соблюдением бригадой правил пожарной безопасности на скважине , в культбудке , в инструменталке ;
- обеспечение согласно нормам скважин и других объектов
первичными средствами пожаротушения и содержание их в чистом и исправном состоянии ;
- руководство бригадой по тушению пожара в случае его
возникновения до прибытия пожарной команды .
Вся территория возле скважины и помещений должна содержаться в чистоте и порядке. Замазученность территории, загромождение дорог , проездов к скважине , средствам пожаротушения , водоемам запрещается.
Работа на скважине разрешается, если она заглушена, имеются средства герметизации .Освещение на скважине допускается только электрическое, применительно к особо сырым помещениям взрывозащищенного исполнения Производство огневых работ на скважине запрещается .
Курение разрешается только в специально отведенном месте.
Использовать средства пожаротушения не по назначению запрещается. Над огнетушителями, расположенными на открытом воздухе, следует устраивать навес - козырек. Запрещается оставлять в вагоне - домике включенные электроприборы при отсутствии в нем людей. Горючесмазочные материалы надо хранить не ближе 20 м от места установки подъемного агрегата .
При возникновении пожара необходимо сообщить пожарной охране и до прибытия пожарной команды приступить к тушению, используя первичные средства пожаротушения.
3 ОХРАНА ОКРУЖАЮЩЕЙ СРЕДЫ И НЕДР ПРИ СПУСКОПОДЪЕМНЫХ ОПЕРАЦИЯХ
3.1 Охрана окружающей среды при спускоподъемных операциях
При производстве текущих и капитальных ремонтов скважин наиболее вероятен контакт пластовых флюидов (нефть, газ, пластовая вода) с окружающей средой (почва, вода, атмосфера). Кроме того, подготовленные для операции рабочие жидкости, обработанные химреагентами, также представляют угрозу окружающей среде.
В целях предотвращения загрязнения среды необходимо принять все меры, исключающие попадание нефти и растворов в почву и воду, а газов в воздух. Для этого необходимо иметь приспособление, улавливающее жидкости (например, поддоны, откачивающие насосы) и утилизирующее их.
Попадание газа в атмосферу (особенно с сероводородом) должно быть прослежено с помощью индикаторов. Особенно опасны разливы нефти, которые еще и пожароопасны.
При производстве спуска-подъема НКТ подъем и опускание элеваторов необходимо проводить без ударов и рывков, при этом элеватор должен быть обращен замком вверх. При перерывах в работе колонна НКТ и штанга должны быть спущены на устьевой фланец скважины, а талевой блок - на рабочую площадку. Машинист подъемника обеспечивает исправность искрогасителя и чистоту смотрового стекла. При переезде он проверяет отсутствие предметов на гусеницах и не допускает переезда через нефтеводогазовые трубопроводы, проложенные на поверхности. В ночное время должны быть освещены верх подъемного сооружения и рабочая площадка. Не допускается работа на установках без аккумуляторов. Монтажное оборудование (ключи, спайдеры, элеваторы и т.п.) должно отвечать техническим требованиям. Спускоподъемные операции начинают только после установки оттяжек, проверки действия ограничителя двигателя крюкоблока и заземления агрегата.
Подниматься на вышку агрегата допускается только в аварийных случаях персоналу с предохранительными поясами.
Все канаты на агрегате подлежат периодическому осмотру. Не разрешается работа агрегата при обрыве одной пряди, а также, если на шаге свивки каната диаметром до 20 мм число оборванных проволок составляет более 5 %, а в канате диаметром свыше 20 мм - более 10 % всего числа проволок.
3.2 Охрана недр при спускоподъемных операциях
Текущий и капитальный ремонт скважин является одним из источников загрязнения окружающей среды нефтью, пластовой водой, а так же различными химическими реагентами или их растворами, составляющий основу рабочих и промывочных жидкостей. В подготовительно – заключительный период ремонтных работ из-за нарушений режимов глушения скважины или ее освоения возможны выбросы скважиной вплоть до неуправляемого фонтанирования.
Предотвращение загрязнения окружающей среды при проведении работ по подземному ремонту скважин достигается проведением следующих мероприятий:
Сбор, вызов или обезвреживание на месте продуктов ремонта (углеводороды, оказавшиеся на территории вокруг скважины должны быть собраны и утилизированы либо сожжены, если утилизация невозможна);
Обваловка площадки вокруг скважины, особенно в случаях возникновения неуправляемого фонтанирования;
Применение устьевых малогабаритных противовыбросовых устройств;
Рекультивация территории, примыкающей скважине, для сельскохозяйственного и иного пользования, в случае причинения ущерба передвижением тяжелых автомобильных и тракторных агрегатов.
ВЫВОДЫ И ЗАКЛЮЧЕНИЕ
Операции с НКТ монотонны, трудоемки и легко могут быть механизированы. Кроме подготовительных и заключительных работ, которые имеют свою специфику для различных способов эксплуатации, весь процесс СПО с НКТ одинаков для всех видов текущего ремонта. Качество выполненного ремонта оценивается непосредственно на устье - когда скважину пускают в работу и она начинает работать в нормальном режиме эксплуатации. Еще качество ремонта оценивается временем ее выполнения: чем быстрее бригада ПРС выполнит ремонт- тем больше она получит премиальной оплаты. Так как, СПО занимают от 50 до 80 % всего времени, затрачиваемого на ремонт, то качество ремонта будет зависеть от времени проведения СПО и, чем быстрее производятся операции по СПО в процессе ремонта скважины, тем качественнее будет ремонт. Данное условие достигается за счет создания надежных автоматов для свинчивания и развинчивания труб и штанг. В современном этапе взамен ключам АПР-2ВБ и КМУ созданы подвесные ключи марок OilCountry, ГКШ-1200МТ, КПР-12, работающие от гидросистемы или пневмосистемы подъемных агрегатов и которые ускоряют процесс свинчивания и развинчивания НКТ и соответственно проведение СПО и всего ремонта в целом. В 1995 году впервые в России были приобретены импортные комплекты «Гибкая труба» объединениями «Юганскнефтегаз» и «Сургутнефтегаз». Данная установка исключает поочередное свинчивание (отвинчивание), а СПО сводятся к непрерывному спуску (подъему) труб и штанг с намоткой их на барабаны. Все виды работ могут проводиться под давлением, без глушения скважин. Экономическая целесообразность применения гибких труб и штанг очевидна.
Насосно-компрессорную колонну труб барабанной намотки широко применяют ведущие зарубежные нефтяные компании для выполнения широкого спектра работ. При помощи этих установок выполняются не только работы связанные с очисткой ствола скважины, восстановление циркуляции, газлифт, кислотная или химическая обработка, но и работы связанные с зарезкой вторых стволов, выполнение ловильных работ в скважинах, бурение горизонтальных стволов, произведение ремонта скважин с горизонтальными стволами.
В данной курсовой работе приведены два вида расчетов: машинного времени на подъем НКТ при разных скоростях подъема, а также потребной длины талевого каната. Исходя из первого расчета можно сделать вывод о том, что чем больше скорость вращения барабана лебедки, тем меньше времени необходимо на подъем одной НКТ. В результате второго расчета получили потребную длину талевого каната для оснастки талевой системы 4•5 и высотой мачты 33 м. Рассмотрены вопросы технологии проведения СПО, оборудование и инструмент, применяемые при проведении спускоподъемных операций, а именно подъемные агрегаты А-50М и АзИНмаш-37А, элеваторы типов ЭТАД и ЭТА, ключи АПР-2ВБ и КПР-12, а также штроп эксплуатационный. Рассмотрены меры по охране труда и правил пожарной безопасности, охраны окружающей среды и недр при проведении СПО.
СПИСОК ИСПОЛЬЗУЕМОЙ ЛИТЕРАТУРЫ
1. В.А. Блажевич, В.Г. Уметбаев. Справочник мастера по капитальному ремонту скважин. М., Недра, 1990.
2 Е.И. Бухаленко, В.Е. Бухаленко. Оборудование и инструмент для ремонта скважин. М., Недра, 1991.
3 Ю.В. Вадецкий. Бурение нефтяных и газовых скважин. М., Недра, 1993.
4 Т.И. Колесникова, Ю.Н. Агеев. Буровые растворы и крепление скважин. М., Недра, 1975.
5 П.В. Куцын. Охрана труда в нефтяной и газовой промышленности. М., Недра, 1987.
6 В.И. Мишевича, Н.А. Сидорова. Справочник инженера по бурению. М., Недра, 1973.
7 Е.А. Палашкин. Справочник механика по глубокому бурению. М., Недра, 1981.
8 А.Б. Сулейманов, К.А. Карапетов, А.С. Яшин. Техника и технология капитального ремонта скважин. М., Недра, 1987.
9 А.Б. Сулейманов, К.А. Карапетов, А.С. Яшин. Практические задачи и расчеты в капитальном ремонте скважин. М., Недра, 1987.
10 И.В. Элияшевский, А.М. Орсуляк, М.И. Сторонский. Типовые задачи и расчеты в бурении. М., Недра,1974.
11. http://www.drillings.ru
|