Міністерство освіти і науки України
Національний Університет водного господарства та природокористування
Кафедра гідротехнічних споруд
Пояснювальна записка до курсового проекту
на тему:
“Гребля із грунтових матеріалі
в
з
баштовим водоскидом”
Викона
в
:
студент ІІІ курсу
, ФВГ,ГМФ, групи 3
Лебейчук О.М.
Перевірив:
Бондар
В.М.
Рівне-2006
Сучасний стан будівельних робіт у водному господарстві, а також експлуатації споруд показує на недостатній стан стосовно водоохоронних заходів від таких споруд на НПС. Як і раніше відбувається забруднення малих річок, складання стічних вод без очищення в водотоки, розорювання заплав, ярів, балок до межинного рівня природних водотоків. Особливо порушений стан малих річок.
Водозахисні споруди на Україні складаються із системи протипаводкових ГТС на річках і споруд, призначених для захисту від підтоплення і затоплення річками населених пунктів, об’єктів, земель.
В курсовому проекті до складу споруди входять земляна гребля з дрібного піску, баштовий водоскид, донний водовипуск, горизонтальна водовідвідна труба, водобійний колодязь і відвідний канал.
Гребля – це водопідпірна споруда, що перегороджує водотік для підйому рівня води, зосередження напору в місці розміщення споруди і створення водосховища.
Баштовий водоскид – це вид зубчастого водоскиду, в якому збір води і регулювання витрат здійснюється баштою. Баштовий водоскид автоматичної дії призначений для скидання з водосховищ повеневих витрат. Донний водоспуск призначений для пропуску невеликих витрат. З допомогою водовідвїдної труби вода скидається з башти у нижній б’єф. Водобійний колодязь влаштовується для спряження води, яка витікає з водоскидної споруди. Відвідний канал з’єднує кінцеві споруди і відвідне русло річки.
Крива залежності Q = f (h)

І. Розміщення і компонування вузла споруд
В цілому розміщення гідроспоруд виконують на основі техніко-економічного порівняння варіантів розташування а також на основі порівняння умов найбільш оптимального використання водосховища .
При цьому повинні бути вирішені питання:
а) компенсування витрат сільськогосподарського виробництва;
б) інженерного захисту населених пунктів і промислових об’єктів;
в) рибогосподарського використання водосховища;
г) охорони і раціонального використання природних ресурсів.
Компоновка вузла і склад споруд встановлюється із врахуванням:
а) забезпечення найбільш повного і раціонального використання створюваного водосховища;
б) розвитку зрошення, обводнення, водопостачання;
в) заходів, що забезпечують відповідну якість води;
г) найбільш повного використання місцевих будівельних матеріалів;
д) умов і методів виконання робіт;
ж) забезпечення довговічності споруд.
Гідровузлом називається загальний комплекс ГТС, об’єднаних умовами сумісної роботи та розташуванням. За основною галуззю водного господарства вони бувають: водозабірні, гідроенергетичні, воднотранспортні та ін.
Взагалі, створ гідровузла вибирається на основі техніко-економічного порівняння варіантів і в залежності від топографічних, інженерно-геологічних умов будівництва, а також потреб охорони зовнішнього середовища.
При виборі створу земляної греблі необхідно орієнтуватися на створ, що розміщується в найбільш вузькій частині річкової долини з метою максимального зменшення об’єму робіт при її будуванні. При можливості вісь греблі повинна бути нормальна до загального напрямку річкової долини і течії річки. При цьому також необхідно враховувати:
а) місце знаходження і потужності кар’єрів місцевих будівельних матеріалів;
б) можливість пропускати будівельні витрати в період будівництва споруди, а також можливість прокладки по гребеню греблі шляхів сполучення;
в) загальний календарний план будівництва.
При проектуванні всі ці умови врахувати неможливо і через це створ як греблі, так і гідровузла в цілому необхідно вибрати в найбільш вузькій частині річкової долини. Увибраному створі будуємо поперечний профіль долини річки (рис.2.1).
Постійні гідротехнічні споруди поділяються на 4 класи і відповідно з класом визначаються значення коефіцієнтів надійності, умов робіт і т.п. при розрахунках їх по граничних станах.
Клас гідровузла встановлюємо по класу греблі. Він встановлюється в залежності від висоти греблі і типу грунту основи. Для цього, скориставшись раніше побудованим геологічним профілем долини річки (рис. 2.1), встановили, що грунт можна віднести до крупних пісків.
Для визначення приблизної висоти греблі знаходимо глибину води перед нею:
d=↓НПР - ↓дна
d = 266,45– 256,8 = 9,97(м)
Нпр
=d+2
Нпр
= 9,97 + 2= 11,97(м)
Оскільки Нпр
<15 м , то по класифікації таблиці 3.1 метод.вказівок клас греблі буде ІV.
IV. Земляна гребля. Визначення основних розмірівпоперечного профілю
Земляні греблі відносяться до водопідпірних споруд з формою, що в поперечному перерізі схожі на трапецію. Основні елементи профілю показано на рис.4.1.

Рис.4.
1
Основні елементи грунтової греблі
а)поперечний розріз;
б)вид з верхнього б’єфу, поєднаний з геологічним розрізом.
1-тіло греблі, 2-гребінь, 3-надовбні, 4-низовий укіс, 5-зворотній фільтр,
6-дренажна призма, 7-поверхня водоупору, 8-шар грунту, що знімається,
9-водопроникний шар, 10-понур.
4.1. Закладання укосів греблі
Коефіцієнт закладання укосів з урахуванням фізико-механічних характеристик грунтів греблі і її основи, висоти греблі, умов виконання робіт та експлуатації діючих сил і таке інше. Для попереднього визначення коефіцієнтів закладання укосів греблі використовуємо таблицю 4.1 метод.вказівок, в якій приведено коефіцієнти закладання укосів в залежності від прийнятої висоти греблі. Згідно з таблицею 4.1 для висоти греблі 11,97м закладання верхового укосу приймаємо m1
= mh
= 2,5, низового –m2
=mt
= 2,25.
4.2. Гребінь греблі
Ширина гребеню греблі визначається в залежності від умов виконання робіт і експлуатації. Приймаємо що гребінь греблі буде використовуватись для проїзду транспорту, ширина його вибирається в залежності від категорії дороги, яка буде проходити по гребню.
В курсовому проекті по гребеню греблі проектується дорога ІІІ категорії, основні розміри якої надані в таблиці 4.1.
Таблиця 4.1.
Розміри елементів дороги
| Елементи дороги |
Розмір, м |
| Ширина проїзної частини |
7
|
| Ширина земляного полотна |
12
|
| Ширина обочини |
2,5
|
Для забезпечення стоку атмосферних опадів гребінь греблі виконується двосхилим з поперечним похилом в обидві сторони від осі 0.02. Вздовж проїзної частини по обочинах з інтервалом 2 м встановлюються надовби висотою 0,8м.
Конструкція гребеня греблі знаходиться за залежністю:
в
гр
= в
п.ч.
+ 2в
обк
= 7,0 + 2*2,5 = 12,0м.
4.3. Визначення відмітки гребеню
Відмітку гребеню греблі (↓Гр
Г) необхідно визначити із умов розміщення його над розрахунковим рівнем води.
Перевищення гребню греблі визначається для двох випадків стояння рівнів води у верхньому б’єфі:
1) при нормальному підпірному рівні НПР (рис.4.2,а)
2) при форсованому підпірному рівні ФПР (рис.4.2,б)
Відмітка ФПР може бути визначена тільки після розрахунків водоскиду. Для цього потрібно знати висоту шару форсування . Цю висоту можна прийняти в залежності від максимальної скидної витрати .
↓ФПР= ↓НПР+ Нф
Так як максимальна скидна витрата Qmax
=19,8м3
/с, то Нф=0,6 тоді за формулою:
↓ФПР = 266,45+ 0,6= 267,05м
Перевищення гребня hs
в обох випадках визначається за залежністю:
,
де - висота накату вітрових хвиль забезпеченістю 1%;
- вітровий нагін води у верхньому б’єфі;
- запас підвищення гребня греблі, м.
Перелічені вище параметри залежать від значень швидкості вітру
4%
=16 м/с, 50%
= 7,3 м/с і довжини розгону вітрової хвилі = 4600м.
а)
 
w
4%
=16м/с
Vw
50%
=7,3м/с
L1
=4,6км
L2
=L1
+0,1L=5,06 км
в)

Рис.4.
2
. Розрахункові схеми для визначення відмітки гребня
і параметри хвиль
Перший розрахунковий випадок:
Дано:↓НПР = 266,45м; Vw
4%
=16м/с; L1
=4600м;
t=21600c;d1
= 9,97м; mh
= ctgφ = 3
Визначаємо безрозмірні значення:
 ;   ;
По кривій графіка (рис.4.6. метод.вказівок 041-51) знаходимо відповідні значення:
; ;
Порівнюємо значення і вибираємо менше:

; 
Середня довжина хвилі:

Знаходимо висоту хвилі 1% забезпеченості. При значенні по графіку (рис.4.9. метод.вказівок 041-51) знаходимо значення k1%
=2,1, а потім за формулою:
h1%
= k1%
= 2,05 0,41 = 0,84м.
Так як h1%
<1м, то приймаємо кам’яне кріплення.
Висота накату на укіс хвилі забезпеченістю 1% по накату визначається за залежністю:

При цьому = 0,7; = 0,8. При максимальній швидкості вітру м/с і mh
= 3, то ksp
=1,1
Визначаємо пологість хвиль за відношенням . З графіка (рис.4.8 мет.вк.) при значенній пологості , знаходимоm=3, що =1,8;
За формулою визначаємо hrun
1%
:
hrun
1%
=0,8 0,7 1,1 1,8 0,84 = 0,93м.
Висота вітрового нагону води:
=
де = 
Для розрахунку в спрощеному варіанті, приймаємо, що кут =0, тоді напрямок вітру співпадає з віссю греблі.

Запас а
приймаємо як більше із двох значень:
0,5м і 0,1 h1%
= 0,1 0,84 = 0,084м:
а
=0,5м
Перевищення греблі по першому розрахунковому випадку:
= 0,93 + 0,005 + 0,50 = 1,435м
Відмітка ↓Гр
Г по першому розрахунковому випадку:
↓Гр
Г = ↓НПР +
= 164,85 + 1,435 = 166,28м.
Другий розрахунковий випадок:
Дано: ↓ФПР = 165,45м; Vw
50%
= 5,1м/с; L2
= 1,1L1
= 2420м;
t=21600c; d2
= 18,55м; mt
= 2,40
Визначаємо безрозмірні значення:
 
По кривій графіка (рис.4.6 метод.вказівок) знаходимо відповідні значення:
; ;
Порівнюємо значення і вибираємо менше:

; 
Середня довжина хвилі:
.
Висоту хвилі 1% забезпеченості знаходимо по графіку значення k1%
= 2,1,
і потім за формулою h1%
= k1%
знаходимо:
h1%
= 2,1 0,11=0,29м
=0,8; =0,7(взято для кам’яного кріплення укосу).
Значення коефіцієнта ksp
визначаємо за таблицею ksp
= 0,8.
Знаходимо відношення . З графіка знаходимо, що krun
=2.
За формулою визначаємо Dhrun
1%
:
hrun
1%
=1 0,9 1,1 2 0,242=0,47м.
За формулою визначаємо Dhset
:
Dhset
=

Запас а
приймаємо рівним 0,5 м.
Визначаємо перевищення гребеня греблі по другому розрахунковому випадку:
= 0,47+ 0,0242 + 0,5 = 0,99м.
↓Гр
Г = ↓ФПР + = 165,45 + 0,99 = 166,44м.
Порівнюємо відмітки ↓Гр
Г1
і ↓Гр
Г2
і беремо більшу з них, тобто:
↓Гр
Г = 166,44м.
Висота греблі: hгр
= d+hs
= 18,55+0,99 = 19,95м.
Визначаємо будівельну висоту Dhбуд
:
Δhбуд
=
Повна будівельна висота греблі складає:
(↓ГрГ-↓дна) + = 19,54 + 0,019= 19.55м.
Відмітка гребеня греблі :
↓Гр
Г = ↓Гр
Г +Dhбуд
= 166,44 + 19,55 = 185,99м.
Приймаємо ↓Гр
Г = 166,44м.
4.4. Кріплення укосів
Укоси грунтових гребель повинні бути захищені спеціальними кріпленнями, розрахованими на вплив хвиль, льоду, течій води, атмосферних опадів та інших руйнуючих укоси факторів.
Вибір типу кріплення звичайно виконується на основі техніко-економічного порівняння варіантів з урахуванням максимального використання місцевих будівельних матеріалів, засобів механізації, характеру грунтів тіла греблі, довготривалості кріплення в умовах експлуатації.
4.4.1. Розрахунок конструкцій кріплень верхового укосу
Вибір типу укріплення проводиться на основі техніко-економічного порівняння різних типів, умовно цей вибір проводимо в залежності від висоти вітрової хвилі 1% забезпеченості , оскільки <1,0м приймаємо кам’яне кріплення.
Верхнею границею кріплення є ↓Гр
Г = 166,44м, а нижня – глибина нижче рівня мертвого обє’му(РМО) на 2h1%
(↓НГК = ↓РМО - 2h1%
= 153,56 - = 153,16м).
4.4.2. Кам
’
яне кріплення
Кам’яне кріплення виконується у вигляді накиду із несортованого каменю. Товщину кам’яного кріпленняприймаємо не менше , де
 
де = 2,3т/м3
– щільність каменю
Маса одного каменю визначаємо за формулою:
,
де =0,025 , ρw
=1т/м
h2%
= К2%
.
= 1,88.
0,11 = 0,2м
ctgφ = mh
= 2,75 , λ = 8,77м

Діаметр каменю:

Необхідна товщина кам’яної кладки:
.
4.4.3 Кріплення низового укосу
Кріплення низового укосу необхідно вибирати в залежності від матеріалу, з якого складено укіс з метою захисту його від атмосферних впливів, а також можливого руйнування землерийними тваринами. Так як низовий укіс греблі складено дрібними пісками, то кріплення може бути виконано у вигляді рослинного шару грунту товщиною 0,3м з подальшим висівом багаторічних трав.
4.5.
Дренажне обладнання
Дренажні обладнання греблі необхідно проектувати з метою:
а) організованого відведення води, що фільтрується через тіло греблі і основу, в нижній б’єф;
б) запобігання виходу фільтраційного потоку на низовій укіс і в зону, здатну промерзати;
в) економічно виправданого зниження депресійної кривої для підвищення стійкості низового укосу;
г) попередження виникнення фільтраційних деформацій.
Вибір типу і конструкції дренажу відбувається на основі техніко-економічного порівняння варіантів і в залежності від:
а) виду греблі та інженерно-геологічних умов в основі і в берегах;
б) характеристик і кількості матеріалів дренажу;
в) умов виробництва робіт;
г) кліматичних умов району будівництва;
д) умов експлуатації споруди.
В нашому курсовому проекті ми на русловій ділянці приймаємо дренажну призму(рис.4.3).
Дренажна призма – відсипка з каменю у вигляді трапеції, висота якої залежить від положення максимального рівня води нижнього б’єфу з урахуванням запасу на можливе хвилювання води , але не менше 0,5м. Глибина води нижнього б’єфу =1,80м. Ширина призми по верху = 1,50м. Приймаємо: =0,5м; = m1
= 1,20; = m2
= 1,50. Зі сторони греблі і основи дренаж обсипаємо зворотнім фільтром з товщиною шару 0,3м.
↓ВД = ↓РНБ + = (↓дна + ) + = 147,4+ 1,80 + 0,5 = 147,9м
Приставний дренаж виконується у вигляді відсипки по поверхні укосу одного або двох шарів зворотнього фільтра з товщиною кожного 0,2...0,3 м
, перекритих зверху кам’яною відсипкою, товщиною більше глибини промерзання. Перевищення верха дренажа проводиться з урахуванням висоти виклинювання кривої депресії на низовий укіс.

Рис.4.3 Схема дренажної призми
4.6. Вибір і обгрунтування виду земляної греблі
Вид і конструкції тіла грунтової греблі необхідно вибирати на основі техніко-економічного порівняння варіантів різних видів, але при розробці курсового проекту необхідно орієнтуватися на запропонований грунт кар’єру з урахуванням характеру грунту основи.
Земляні греблі по конструкції тіла греблі розділяються на такі види:
а) з однорідного грунту;
б) з ядром;
в) з екраном;
г) однорідна з понуром;
д) з екраном і понуром.
Греблі з однорідного грунту будуються, якщо на місті будівництва є малопроникний шар в достатній кількості, а у випадку відсутності його будують греблі з матеріалів більш водопроникних. В такому випадку в тілі греблі необхідно передбачити протифільтраційні обладнання із малопроникних грунтів (глин, суглинків)- ядро або екран.
В залежності від коефіцієнта фільтрації тіла греблі, а в нашому випадку він більше 0,1м/добу, потрібно встановлювати ядро в центрі, або екран, при цьому коефіцієнт фільтрації ядра або екрана повинен в 50...100 разів бути меншим за коефіцієнт фільтрації греблі.
Вибір виду земляної греблі відбувається в залежності від коефіцієнта фільтрації і потужності шарів з коефіцієнтами фільтрації >1.
Так як водоутримуючі шари знаходяться під рослинним шаром, то призначаємо вид земляної насипної греблі з ядром (рис.4.4 ).
Ядро розташовується в середині греблі. Товщина ядра у верхній частині вибирається із умови виконання робіт у межах 0,8...1,0м, а в нижній із умови фільтраційної міцності, але не менше 2,0м.
Приймаємо: =1,0м; =3,0м.
В основі греблі росслинний шар грунту повинен бути знятий на глибину не менше 0,5м.
4.6.1. Конструкція греблі
Після визначення розмірів всіх елементів необхідно накреслити поперечний розріз тіла греблі з необхідними розмірами і відмітками в масштабі. Це креслення необхідне для наступних розрахунків, а також для виконання графічної частини проекту (рис. 4.4).
4.6.2. Побудова греблі на плані
Для побудови потрібно скористатися рис. 4.4. і виділити на плані гідровузла горизонталі з відмітками гребню греблі (↓ГрГ). Від осі греблі (створу) в обидві сторони відкладаємо в масштабі плану на півширину земляного полотна (точки а і б). Прямі, проведені через ці точки до перетину з горизонталями, які мають відмітку гребню греблі, будуть верховою і низовою бровками греблі. Подальша будова зведена до визначення лінії зовнішнього контуру греблі і дренажу.
Визначається перевищення відмітки гребню греблі над дном річки. Далі визначається перевищення гребню греблі над відміткою горизонталі яка розглядається і визначається горизонтальне положення. Для інших горизонталей знаходження точок зовнішнього контуру проводиться аналогічно. Сполучивши одержані точки прямими одержуємо планове окреслення греблі у верхньому б’єфі.
4.7. Фільтраційні розрахунки земляних гребель
При фільтраційних розрахунках належить визначити параметри фільтраційного потоку (положення кривої депресії, фільтраційну витрату, напори або градієнт напору), які необхідні для обгрунтування розмірів і конструкції греблі, визначення коефіцієнтів стійкості укосів, фільтраційної міцності і т. ін.
Фільтраційні розрахунки виконуються для декількох перерізів.
4.7.1. Розрахунок фільтрації через
неоднорідну
греблю на водонепроникній основі (русловий переріз)
Грунт, який необхідно вибрати для екрану і понура, повинен мати коефіцієнт фільтрації у 50-100 разів менше ніж тіло греблі.
Вибравши розміри ядра у верхній і нижній частинах визначаєтьсб його середня товщина:
м,
а далі по способу віртуальних довжин по залежності:
м/доба.
Гребля приводитьсб до однорідної. Складається розрахункова схема(рис.4.4) і подальший розрахунок проводиться за залежностями:



, 

Приймаємо .
Криву депресії будуємо по залежності:

Значення координат кривої депресії зводимо в таблицю 4.2.
Таблиця 4.2.
Координати кривої депресії
| х, м
|
0 |
5 |
10 |
40 |
45 |
50 |
55 |
60 |
64 |
| h, м
|
8,68 |
8,35 |
8,00 |
5,52 |
4,99 |
4,39 |
3,70 |
2,84 |
1,90 |
4.8. Розрахунок фільтраційної міцності земляних гребель
Перевірка фільтраційної міцності тіла греблі проводиться для перерізу, для якого виконано фільтраційні розрахунки. Щоб оцінити фільтраційну міцность тіла греблі, необхідно перевірити умову:
,
де - діючий середній градієнт напору, - критичний градієнт, який для попередніх розрахунків вибирається по таблиці.
Для суглинка = 8,0; γн
= 1,1.
= = 7,27, 
1,50 ≤ 17,27 - умова виконується.
4.9. Розрахунок стійкості низового укосу
Мета розрахунку – знаходження із можливих поверхонь зсуву найбільш небезпечної, яка характеризується мінімальним відношенням узагальнених граничних сил опору до активних зсуваючих сил.
Критерієм стійкості є збереження для найбільш небезпечної призми обвалення нерівності , де - коефіцієнти відповідно надійності споруди, поєднання навантажень і умов роботи, значення коефіцієнта стійкості знаходиться за формулою .
Одержаний в результаті розрахунку мінімальний коефіцієнт стійкості kc
не повинен перевищувати значень, які рекомендуються, для IVкласу kc
=1,05.
Таблиця 4.3
Фізико
-
механічні
властивості
ґрунтів
| Ґрунт |
ρпр
, т/м3
|
ρs
, т/м3
|
n |
Природна вологість |
Повне насичення |
| С,кПа |
φ˚ |
С,кПа |
φ˚ |
| Дрібні пісоки |
1,98 |
2,66 |
0,29 |
30 |
21 |
| Супісок |
1,74 |
2,70 |
0,40 |
8,0 |
35 |
3,5 |
20 |
| Суглинок |
1,80 |
2,71 |
0,39 |
20,0 |
35 |
10,0 |
19 |
Значення радіусів та знаходимо за формулами:
RB
=
k
1
.
H
гр
;
RH
=
k
2
.
H
гр
,
де k
1
іk
2
– коефіцієнти значення яких залежить від середнього коефіцієнта закладання укосу mср
, для нашого випадку k
1
=1,60 іk
2
=2,80.
R
В
=
1,60 × 10,30 = 16,35 м
; R
Н
= 2,80 × 10,30 = 28,62 м
Значення R
1
знаходимо по залежності:
м
Для подальших розрахунків складаємо таблицю (таблиця 4.5.) і запишемо для пронумерованих відсіків значення sin і cos з урахуванням знаків.
Приведені значення висоти відсіку hпр
знаходимо по залежності:
;
, , - частини висот відсіку, насичені водою;
, , , - щільність грунтів відсіків, насичених водою;
- щільність грунту.
; ,
де n- пористість грунту;
- щільність твердих частинок грунту;
- густина води;
е –
коефіцієнт пористості.
; ;
.
Таблиця 4.4
Характеристики грунтів
| Грунт |
е |
rнас
|
rнас
/rпр
|
| Крупні пісоки |
0,41 |
1,18 |
0,66 |
| Середні піски |
0,64 |
1,04 |
0,58 |
| Суглинок |
0,27 |
1,37 |
0,65 |
Площа масиву обвалення яка обмежена кривою депресії , частиною кривої ковзання і вертикаллю, яка проходить через точку перетину кривої депресії з внутрішнім укосом дренажу:
А1
=
130,11м2
.
В межах тіла обвалення АВСДА
на частину насипу діє гідродинамічна сила Ф
, значення якої визначається за залежністю:
= кН
і
— середній градієнт площі (похил кривої депресії):
і=
Віддаль по нормалі до напрямку дії сили Ф
від центру ковзання – це плече сили, яке дорівнює r
=
19,15 м
.
Знайдемо коефіцієнт стійкості по залежності:
=
Одержане значення kc
=
1,48 більше нормативного k
н
=1,05 для споруд IVкласу.
Отже, умова фільтраційної міцності виконується.
Схема до розрахунку стійкості низового укосу греблі зображена на рис. 4.5.
V
. Водоскидна споруда
5.1 Баштовий водоскид
Для скидання повеневих витрат із водосховищ влаштовують баштові водоскиди автоматичної дії (рис. 5.1.). Спорожнення водосховища передбачається через донний водовипуск в башті, забір води може бути здійснений за допомогою труб, розташованих вище ↓РМО на 0,5м. Місце розташування водоскиду вибирається виходячи із таких умов: споруда повинна бути розташована на корінній основі; відмітка дна водовипускної і водопропускної труб споруди повинна бути прямолінійною в плані.Споруда розташовується в пониженій частині водосховища в тілі земляної греблі. Баштовий водоскид складається з таких елементів: башти (1), донного водопспуска (2), камери затворів (3), водовідної труби (4), водобійного колодязя (5), рисберми (6), відвідного каналу (7), службового мосту (8).
Приймальною частиною водоскиду є башта, яка може бути прямокутного, круглого або овального окреслення в плані і розташовується в тілі греблі.

Рис.5.1 Повздовжній розріз баштового водоскиду
Пропускна спроможність башти визначається по залежності:

Q
р
— розрахункова витрата, м3
/с
m — коеф. витрати, що вибирається в межах 0,38...0,40. m=0,40;
l
— довжина водозливного фронту, м
, ↓ФПР - ↓НПР
0,7м; при vo
<0,5 м/с швидкість не враховується : vo
=0.
Ho
= 0,7м.
З даної формули визначаємоl
:
м
Приймаємо овальну форму окреслення башти з розмірами: довжина – 7м, радіус - 3 м.
5.
1.2
.
Водовідвідні труби
Водовідвідні труби приймаємо круглого поперечного перерізу, пропускна здатність яких визначається за формулою:

де n- кількість труб з площею поперечного перерізу ;
- різниця рівнів води усередині башти і нижньому б’єфі споруди, яка визначається за формулою:
zтр
= ↓РВБ - ↓РНБ = 425,42 – 418,60 = 6,82 м,
↓РВБ = ↓НПР – 0,35 = 425,77 - 0,35 = 425,42 м
- коефіцієнт витрати, приймаємо μ = 0,6.
м2
Ширина вихідного фронту труб:
м
де = 0,5м – відстань між трубами;
= 0,12м – товщина стінки труби.
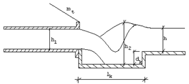
5.2. Водобійний колодязь
Колодязь виконується у вигляді розтрубу, що розширюється в плані від ширини вихідного фронту труб b
тр
до ширини каналу вк
.
 
Рис. 5.2. Схема до розрахунку водобійного колодязя
Глибина води на виході з труби
h1
= м
h1
— перша спряжена глибина.
Визначаємо радіус r1
, який відповідає першій спряженій глибині:
,
де – кут розширення стінок колодязя в плані, =25о
м
Визначаємо ступінь бурхливості потоку (число Фруда): 
м ; 
Оскільки число Фруда >1, тобто потік знаходиться в бурхливому стані, тому потрібно запроєктувати водобійний колодязь. Для визначення розмірів водобійного колодязя визначаємо довжину стрибка:
Тоді,
 
де 

м
Довжина водобійного колодязя
, = 5,42 м
Приймаємо м.
Радіус, який відповідає другій спряженій глибині:
 м
Значення другої спряженої глибини визначається шляхом підбору за залежністю:

Знайдемо значення лівої частини при h1
=1,21 м. Приймаємо h2
=0,66м.
Визначаємо значення глибини водобійного колодязя:
м
Приймаємо конструктивно м. Визначаємо довжину рисберми:
м.
5.3. Відвідний канал

Рис.5.
3
. Поперечний переріз відвідного каналу
Відвідний канал спряжує кінцеву частину споруди і відвідне русло річки. Глибина води в каналі h приймається такою, як і глибина води в річці при пропусканні Qp
.
Для розрахунку ширини каналу по дну використаємо формулу:

m- коефіцієнт укосів канала.
- допустима нерозмивна швидкість, = 0,5 м/с; m= 1,25.
Так як в цьому випадку ширина каналу дуже значна, то дно і укоси каналу закріплюємо бетонними плитами. При цьому допустима швидкість м/с
.
м
Приймаємо ширину відвідного каналу bk
= 7м.
Список використаної літератури
1.Волков И.М., Кононенко П.Ф., Фединчик И.К. Гидротехнические сооружения. М.: “Колос”, 1968.
2.Замарин Е.А., Фадеев В.В. Гидротехнические сооружения. М.: “Колос”, 1965.
3.Кириенко И.И., Химерик Ю.А. Гидротехнические сооружения. Проектирование и расчет. К.: “Вища школа”, 1987.
4.Розанов Н.П. и др. Гидротехнические сооружения.. М.: Стройиздат. 1978.
5.Чугаев Р.Р. Гидротехнические сооружения. Глухие плотины. М.: Высшая школа. 1975.
6.Справочник по гидравлике. Под ред. Большакова В.А.К.:“Вища школа”. 1977.
7. Справочник по гидравлическим расчетам. Под ред. Киселева П.Г. М.: Энергия. 1975.
8.Перечень единиц физических величин, подлежащих применению в строительстве. М.: Стройиздат. 1987.
9.Руководство по определению нагрузок и воздействий на ГТС II 58 - 76. Л.: ВНИИГ. Энергия. 1977.
10.Строительные нормы и правила. Определение расчетных гидрологических характеристик. СНиП 2.01.14-83. М.: 1984.
11.Строительные нормы и правила. ГТС. Основные положения проектирования. СНиП 2.06.01-86. М.: Госстрой СССР. 1989.
12. СНиП. Нагрузки и воздействия на ГТС. СНиП 2.06.04-82. М.: Госстрой СССР. 1989.
13. Строительные нормы и правила. Плотины из грунтовых материалов. СНиП 2.06.05-84. М.: Госстрой СССР. 1985.
14.СНиП 2.06.03-86. Мелиоративные системы и сооружения. М.: Стройиздат. 1987.
15. СНиП 2.06.02-85. Автомобильные дороги. М.: Стройиздат. 1986.
|