План работы
КОСМИЧЕСКИЕ АППАРАТЫ ИССЛЕДОВАНИЯ ПРИРОДНЫХ РЕСУРСОВ ЗЕМЛИ И КОНТРОЛЯ ОКРУЖАЮЩЕЙ СРЕДЫ СЕРИИ РЕСУРС-Ф
КОСМИЧЕСКИЕ АППАРАТЫ КОСМИЧЕСКОЙ ТЕХНОЛОГИИ И МАТЕРИАЛОВЕДЕНИЯ ФОТОН
КОСМИЧЕСКИЕ АППАРАТЫ КОСМИЧЕСКОЙ МЕДИЦИНЫ И БИОЛОГИИ БИОН
СПИСОК ИСПОЛЬЗОВАННЫХ ИСТОЧНИКОВ
Для исследования природных ресурсов Земли и контроля окружающей среды разработана космическая система Ресурс-Ф, которая включает в себя КА Ресурс-Ф1 и Ресурс-Ф2, являющиеся КА серии Зенит третьего поколения.
Общий вид КА Ресурс-Ф1 приведен на рис. 1. Аппарат периодически запускается с 1981г. РН Союз. Масса КА 6300 кг, масса научной аппаратуры 800 кг.
Вначале КА Ресурс-Ф1 выводится РН на промежуточную орбиту. Далее с использованием КДУ формируется рабочая орбита в диапазоне высот 250 - 400 км и наклонением к плоскости экватора 63…83°. Параметры рабочих орбит выбираются из условия обеспечения сплошного покрытия поверхности Земли полосами захвата фотоаппаратуры с необходимым поперечным перекрытием на заданной географической широте. Поддержание заданного значения поперечного перекрытия в процессе полета КА осуществляется за счет проведения соответствующих маневров на орбите.
КА Ресурс-Ф1 может находиться на орбите до 25 суток. Из них 11 суток аппарат находится в дежурном режиме, т.е. с выключенными системой ориентации и некоторыми другими бортовыми системами. Наличие дежурного режима позволяет увеличить срок существования КА на орбите и обеспечивает 2-х кратное покрытие части межвиткового интервала, используемое для повторного фотографирования.
Наряду с выполнением основной задачи полета - проведения фотосъемок поверхности Земли, КА типа Ресурс-Ф способен выводить на орбиту научную аппаратуру для проведения различных экспериментов в условиях космического пространства.
Научная аппаратура может находиться в спускаемом аппарате и в контейнере научной аппаратуры, установленном на поверхности СА. Научная аппаратура работает в космосе при открытой крышке контейнера. Перед спуском крышка закрывается, и научная аппаратура доставляется на Землю. Установленная снаружи КА научная аппаратура не возвращается на Землю, информация с нее может передаваться только по радиотелеметрической системе.

Рис.1 Общий вид КА Ресурс – Ф1
1 – бленда звездного фотоаппарата; 2 – спускаемый аппарат; 3 – тормозная двигательная установка; 4 – корректирующая двигательная установка; 5 – приборный отсек

Рис. 2 Схема фотографирования КА Ресурс-Ф1
В комплекс исследовательской аппаратуры КА зондирования включены:
- три широкоформатных топографических аппарата КАТЭ-200 с размером кадра 180х180 мм и фокусным расстоянием 200 мм для съемок в спектральных диапазонах 510 ‑ 600, 600 ‑ 700, 700 ‑ 850 нм, позволяющие получать синхронные снимки территорий с разрешением до 15 ‑ 20 м (в каждом аппарате по 1800 кадров);
- два длиннофокусных широкоформатных аппарата КФА-1000 с размером кадра 300х300 мм и фокусным расстоянием 1000 мм, ведущие съемку в спектральном диапазоне 570 ‑ 800 нм, позволяющие получать спектрозональные снимки (в каждом аппарате по 1200 кадров) с разрешением до 6 - 8 м, которое последующей обработкой может быть улучшено до 2 - 4 м.
В составе фотоаппаратуры КА имеется звездный аппарат для определения элементов внешнего ориентирования КА (фотографирование звезд до 5 звездной величины) с целью координатной привязки осей космического аппарата в пространстве в момент выполнения съемки и анализа особенностей его перемещения- Точность определения углового положения составляет 40 - 60.
Бортовой комплекс управления КА обеспечивает проведение многозональной (КАТЭ-200) и спектрозональной (КФА-1000) съемок совместно и по отдельности (предусмотренно шесть различных режимов работы, отличающихся друг от друга числом одновременно включаемых фотокамер).
Ширина полосы фотографирования и фотографируемая площадь с высоты 250 км составляет соответственно 225 км и 27 млн. км2
при многозональной съемке и 147 км и 16 млн. км2
при спектрозональной съемке.
Следует отметить, что диапазон широт наблюдения (±83°) обеспечивает практически глобальный обзор территории земного шара. Во время полета с наземных пунктов осуществляется управление и телеметрический контроль работы космического аппарата.
С помощью КА типа Ресурс-Ф1 обеспечивается получение высококачественной картографической информации в масштабах 1: 1000000 и 1: 200000.
Основные технические характеристики КА Ресурс-Ф1 и фотоаппаратуры приведены в табл.1 и 2.
Схема фотографирования КА Ресурс-Ф1 показана на рис.2.
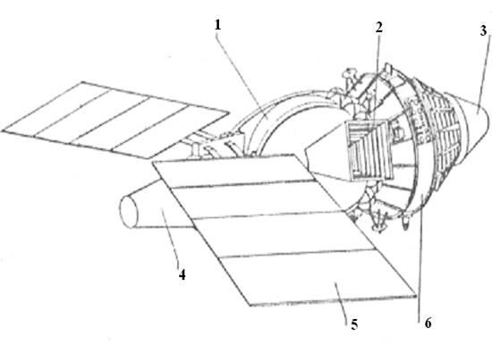
Космический аппарат Ресурс-Ф2, общий вид которого показан на рис. 3, запускается с 1988г. РН Союз и обеспечивает синхронную многозональную и спектрозональную (или цветную) фотосъемку поверхности Земли с высоким разрешением. Аппарат функционирует на околокруговых орбитах в диапазоне высот 210…450 км с наклонением орбиты к плоскости экватора 63°…83° Масса КА Ресурс-Ф2 6300…6450 кг.
В отличие от КА Ресурс-Ф1 в космическом аппарате Ресурс-Ф2 используется система электропитания на базе солнечной энергетической установки, что позволяет увеличить время активного существования до 30 суток. В КА установлена высокоинформативная многозональная фотокамера МК-4, которая обеспечивает фотографирование в четырех зонах спектра из шести возможных (см. табл.1). МК-4 позволяет получать многозональные снимки с разрешением 5-8 м, спектрозональные снимки с разрешением 8-12 м. В каждый кадр снимка впечатывается необходимая информация: номер кадра, код бортового времени, значение фактической выдержки, координатные кресты, фотометрический клин (устройство для ослабления светового потока).
В составе фотоаппаратуры КА Ресурс-Ф2 имеется звездная камера для определения элементов внешнего ориентирования КА. Фотоаппаратура позволяет при необходимости проводить многозональную съемку в сочетании со спектрозональной и цветной фотосъемкой.
Время активного существования (до 30 суток) дает возможность осуществить двух - трехкратное покрытие всего межвиткового интервала, поэтому здесь не предусматривается дежурный режим.
Основные технические характеристики КА Ресурс-Ф2 и фотокамеры МК-4 приведены в таблицах 3.1 и 3.2.
С помощью КА Ресурс-Ф2 возможно картографирование земной поверхности в масштабе 1: 50 000. Проведение фотосъемок с заданным продольным перекрытием обеспечивает стереоскопичность снимков.
Доставка информации на Землю осуществляется, как и в КА Ресурс-Ф1 в спускаемом аппарате.
На КА Ресурс-Ф2 может устанавливаться дополнительная исследовательская аппаратура.



Рис..3 Общий вид КА Ресурс-Ф2
1 – спускаемый аппарат; 2 – бленда звездного фотоаппарата; 3 – тормозная двигательная установка; 4 – корректирующая двигательная установка; 5 – солнечные батареи; 6 ‑ приборный отсек.

Рис..4 Схема фотографирования КА Ресурс-Ф2
КОСМИЧЕСКИЕ АППАРАТЫ КОСМИЧЕСКОЙ
ТЕХНОЛОГИИ И МАТЕРИАЛОВЕДЕНИЯ ФОТОН
Разработан в ЦСКБ (г. Самара) на базе ИСЗ серии Зенит. Запуск осуществляется РН Союз. Один из последних аппаратов функционировал 18 суток на орбите с высотой апогея 383 км, высотой перигея 228 км, наклонением i = 62.8°.
КА предназначен для проведения экспериментов по получению в условиях микрогравитации кристаллов белков и полупроводниковых материалов, отработки технологии их опытно-промышленного производства (установки Сплав, Каштан). Наряду с советскими установками для производства на орбите материалов с улучшенными свойствами на борту КА Фотон устанавливалась (4-20 октября 1991г.) немецкая (эксперимент Козима-4) и французская (эксперимент Седекс) аппаратура для проведения аналогичных работ. Имеются планы использования КА Фотон в рамках программы EuroKosmos для проведения полетов с размещением на борту оборудования для проведения исследований в условиях микрогравитации с последующим возвращением результатов в спускаемом аппарате. Предполагается завершить модификацию спускаемого аппарата КА Фотон, установив на нем дополнительную привязную возвращаемую микрокапсулу Мирка, которая в ходе полета будет разворачиваться на орбите с помощью троса длиной 30-50 м.
Разработан в ЦСКБ (г.Самара) на базе КА серии Зенит. Основной внешний отличительный признак - отсутствие носовой корректирующей двигательной установки, вместо которой установлен отсек с дополнительной полезной нагрузкой (рис. 5.1).

Рис. 5.1 Общий вид КА Бион
К настоящему времени проведено 10 запусков биологических КА (1966-1993г.). Последний из КА этой серии Космос 2229 (Бион-10) запущен РН Союз 29 декабря 1993г. и выведен на орбиту с параметрами: высота апогея - 396.8 км, высота перигея - 226 км, наклонение орбиты - 62.8° период обращения - 90.4 мин.
Ведущее предприятие по разработке и изготовлению комплекса научной аппаратуры - специальное конструкторско-технологическое бюро Биофизприбор Минздрава РФ (г. Санкт-Петербург). Для реализации программы научных экспериментов в полете биоспутника был создан комплекс аппаратуры, включающий:
- две капсулы БИОС-Примат для обеспечения условий содержания и проведения исследований на обезьянах;
- прибор Blobox (разработка Европейского космического агентства), предназначенный для экспериментов по клеточной и гравитационной биологии;
- блоки и контейнеры для экспериментов с использованием объектов общей биологии;
- аппаратуру для получения, регистрации и предварительной обработки физиологической информации;
- систему управления комплексом научной аппаратуры биоспутника с использованием отечественных микропроцессоров;
- четыре контейнера для размещения пассивных сборок на внешней поверхности спускаемого аппарата.
В соответствии с научной программой предусматривалось орбитальное функционирование биоспутника продолжительностью до 14 суток и возможность коррекции длительности полета с учетом следующих факторов:
- реального хода выполнения научной программы;
- данных о расходовании энергетических запасов химического источника тепла;
- состояния систем КА;
- условий среды обитания внутри СА;
- метеоусловий в районах предполагаемых мест приземления.
Фактическая продолжительность полета БИОН-10 составила 11 суток 16 часов. В гермоконтейнере давление поддерживалось на уровне 720-760 мм рт. ст., парциальное давление кислорода составляло 140-180 мм рт. ст., углекислого газа - не превышало 1 мм рт. ст., относительная влажность воздуха составляла 30-70%, температура воздуха в первые 9.5 суток поддерживалась в диапазоне от 20°С до 26°С, а затем в течении 15 часов повышалась и достигла 30-31.3 С (когда орбита спутника стала полностью солнечной, т.е. перестала заходить в тень Земли).
Исследования на 2-х обезьянах были дополнены серией биологических экспериментов в области клеточной и популяционной биологии, биологии развития, хроно- и радиобиологии. Для этих целей использовали культуры растительных и животных клеток и тканей, насекомых (плодовых мушек дрозофил, пустынных жуков-чернотелок, личинки тутового шелкопряда) и земноводных (испанских тритонов и икру шпорцевых лягушек).
1. Гусева В.Н., Королев С. И. Спускаемый аппарат /Уч. пособие СПб.: Мех. ин-т, 1992.
2. Кобелев В.Н., Милованов А.Г. Ракеты-носители. М.: МГАТУ, 1993
3. Полет Космос-2229 //Авиакосмическая и экологическая медицина №1. 1993. С. 79-81.
4. Д.И. Козлов, Г.П. Аншаков, В.Ф. Агарков и др. Конструирование автоматических космических аппаратов /Под ред. Д.И. Козлова. М.: Машиностроение, 1996. 448с. ил.
5. Гущин В.Н. Основы устройства космических аппаратов /Учебник для вузов. М.: Машиностроение, 2003. 272с. : ил.
|