ТЕХНИЧЕСКИЕ ЗАДАЧИ КАК СРЕДСТВО РАЗВИТИЯ
ПРОФЕССИОНАЛЬНОГО МЫШЛЕНИЯ БУДУЩИХ ИНЖЕНЕРОВ
Боголюбова И.А. , Скроботова Т.В., Федоров О.Л.
Ставропольский аграрный университет
Процесс обучения в техническом вузе предполагает развитие особенностей мышления будущих инженеров, называемых техническим мышлением (ТМ), которые определят успешность их работы с техническими объектами начиная с осознания возникшего технического противоречия, последующего поиска физического закона, явления, свойства , применяя которые возможно разрешение технического противоречия, и далее разработки конструкции (машины, механизма, устройства, прибора и т.д.), позволяющих получить качественно новый продукт.
Необходимость развития технического мышления в процессе обучения была осознанна в начале второй половины ХХ столетия, как естественная реакция системы образования на требования бурно развивающейся системы технического обеспечения всех отраслей промышленности страны.
При обучении физике в техническом вузе кроме традиционно решаемых задач обучения и воспитания, должна быть поставлена и решена задача развития технического мышления, ибо физические законы и явления есть основа большинства технических систем, благодаря чему начинать развитие этого профессионально значимого качества будущих инженеров нужно уже с первых дней обучения. Методики и технологии обучения, включающие структурные компоненты, способствующие развитию различных сторон технического мышления, с 60-70-х годов двадцатого столетия являются объектами творческого поиска многих исследователей, занятых в сфере профессионального обучения.
Определяя понятие «техническое мышление» в психологических, педагогических и методических исследованиях, выделены наиболее характерные признаки этого процесса: «Осознанное использование современных научных достижений для решения инженерно-практических задач, «направленность на самостоятельное составление задач и их решение», «решение технических задач», «оперирование производственно-техническим материалом». В своем исследовании мы опирались на определение понятия «техническое мышление» представленное Мухиной М.В.: техническое мышление есть комплекс интеллектуальных процессов и их результатов, которые обеспечивают решение задач профессионально-технической деятельности (конструкторских, технологических, возникающих при обслуживании и т.д.).
Большинством исследователей признается, что развитие технического мышления происходит в результате проблемного оперирования производственно-техническим материалом, т.е. решения технических задач в различных вариантах.
Исторически проблемные задачи гениальные одиночки решали эвристическими методами («инсайт»), позже группы исследователей объединялись при решении технических задач методом мозгового штурма, коллективной атаки и т.д. Однако накопление опыта решения ТЗ привело к разработке методов с набором стандартных приемов ТРИЗ, АРИЗ и др.
Нами разработана методика обучения студентов решению технических задач стандартизованными методами и с применением базы физических эффектов и явлений и их параметров, организованных в поисковый компьютерный комплекс « Физический эффект».
Применение стандартизованных методов поиска решений технических задач не уничтожает творческий процесс, но рационализирует его, позволяя не тратить силы и время на поиск уже известных методов решений. Эти методы содержат те закономерности в творческом процессе, которые необходимо знать инженеру, чтобы оптимальным путем получить требуемый результат, преодолеть технические трудности.
Анализ литературы позволяет сделать вывод, что в процессе решения любой технической задачи необходимо пройти четыре основных этапа: 1. Постановка задачи; 2. Поиск вариантов решения; 3. Анализ вариантов решения; 4. Оценка вариантов и выбор решения.
При постановке задачи осуществляется уточнение исходной проблемной ситуации путем определения цели, ограничений
и критерия выбора
решения.
Все эти категории определяют желаемое состояние, к которому надо прийти в результате поиска решения.
Цель описывает желаемый результат, соответствующий какой-либо технической или общественной потребности. Определить цель - значит ответить на вопрос: «Что получится в результате решения?» Обычно в формулировке цели указываются два состояния: исходное и конечное желаемое.
Ограничения указывают условия, при которых достижение цели можно считать приемлемым. Эти условия обычно имеют вид запретов на изменение или применение чего-либо или, наоборот, указания на необходимость применения определенного средства достижения цели.
Ограничения бывают трех уровней:
- физическая реализуемость (решение должно соответствовать законам природы);
- техническая реализуемость (решение должно соответствовать ресурсам и научно-техническому потенциалу общества);
- экономическая выгодность.
Критерий выбора решения отражает тот из наиболее существенных признаков желаемого решения, по которым его можно выделить среди множества возможных решений, обеспечивающих достижение цели при заданных ограничениях. По критерию проводится оптимизация решения.
В результате постановки задачи получается «модель решения», которая служит ориентиром на последующих этапах. В силу указанных причин этот этап является исключительно важным.
Модель решения при постановке задачи формулируется на уровне экономики и отчасти техники, а поиск решений ведется сначала на физическом уровне и, лишь затем, переходит на технический.
Поиск решения технической задачи на физическом уровне и составляет основную часть предлагаемой педагогической методики, которая в процессе обучения физике позволяет студентам параллельно с изучением основных физических законов, решением задач по количественному и качественному анализу физических законов и явлений, освоить основные этапы разрешения технического противоречия путем поиска физического закона или явления, на основе которого возможно решение поставленной технической задачи, что является определяющим при развитии технического мышления,
Поиск решения технической задачи сводится к перебору вариантов. Сначала намечается несколько вариантов решения задачи, затем с помощью анализа определяются характеристики этих вариантов на требуемом уровне, после чего путем сравнения выявленных характеристик с моделью решения производится отсев всех непригодных вариантов и выбор оптимального решения. Другими словами, сначала поле поиска расширяется
, затем сужается
до одного варианта, т.е. расширяется при синтезе, сохраняется при анализе и сужается при выборе решения.
Перебор вариантов, как универсальная стратегия поиска решений в условиях неопределенности, широко распространен в человеческой деятельности. Наиболее эффективной его формой, рассматриваемой в данной работе, является метод последовательных приближений, когда каждый последующий вариант уточняет предыдущий вариант решения, приближаясь к оптимальному решению.
Наиболее рациональным является направленный
поиск оптимального решения. Чтобы поиск был направленным, надо уметь сформировать поисковые ограничения,
выводящие в районпредпочтительного решения задачи. Сделать поиск технических решений направленным можно, лишь представляя эти решения как закономерные этапы в прогрессивном развитии техники. К настоящему времени выявлено достаточное количество законов прогрессивного развития объектов техники, однако этот вопрос не является предметом нашего исследования, поэтому мы будем использовать имеющийся материал по мере необходимости.
В нашем исследовании студенты учатся решать технические задачи на усовершенствование технических объектов. Под техническим объектом будем понимать некоторое целостное единство взаимосвязанных материальных элементов. При решении технической задачи учебного плана на практических занятиях по физике будем ограничиваться оптимальным принципиальным решением, не рассматривая его конструктивных особенностей.
Итак, рассмотрим подробнее вышеуказанные этапы решения технических задач. Решение любой поставленной задачи начинается с формулирования противоречия, т.е. трудностей, которые необходимо преодолеть, чтобы решить ее. Противоречия делятся на административные (АП), технические (ТП), физические (ФП).
Административное противоречие обычно лежит на поверхности: нужно что-то сделать, а как это сделать неизвестно. В глубине АП лежит ТП: если известным способом улучшить одну часть (один параметр) технического объекта, то недопустимо ухудшится его другая часть (другой параметр). Часто ТП требует корректировки. Правильная постановка ТП позволяет отбросить многие неэффективные варианты решений. В глубине ТП скрыто ФП: к одной и той же части объекта предъявляются взаимно противоположные требования, т.е. технический объект должен обладать свойством и антисвойством.
Процесс решения задачи есть процесс определенной последовательности операций по выявлению, уточнению и преодолению ФП и ТП.
Направленность мышления достигается ориентировкой на идеальный конечный результат – идеальный технический объект (способ, идеальное устройство, машину).
Понятие об идеальном объекте есть одно из самых фундаментальных для всей методики поиска технических решений. Идеальный объект – это когда объекта нет, а результат, получается тот же, что и при его присутствии. Чтобы получить этот результат или приблизится к нему, в конечном счете, надо устранить физическое противоречие.
Для нахождения и устранения физического противоречия разработаны различные специальные алгоритмы: фонд задач-аналогов, фонд специальных приемов – операторов [2], фонд физических эффектов и явлений, с помощью которого можно определять эффекты наиболее подходящие для преодоления содержащихся в задаче противоречий, а также фонд комплексных стандартных приемов (стандартов) – особо сильные сочетания приемов разрешения противоречий.
С учетом вышеизложенного и на основании анализа данных работ[1-3], предлагаем следующий алгоритм решения технической задачи, как средства развития технического мышления студентов, представленный в таблице.
Таблица
| Наименование этапа решения технической задачи |
Содержание |
| Постановка задачи. |
1.Ознакомление с условиями технической задачи:
-выявление технического объекта;
-построение схемы технического объекта (принципа действия).
2.Определения конечной цели решения задачи:
- определение изменяемой характеристики объекта (какую характеристику надо изменить);
- определение неизменяемой характеристики объекта (какую характеристику заведомо нельзя менять при решении задачи).
|
| Конкретизация условий, построение модели задачи. |
1. Определение физического принципа положенного в основу работы технического объекта.
2. Выявление конфликтующей пары характеристик объекта (изменяемой и неизменяемой).
|
| Анализ модели задачи. |
1. Формулировка технического противоречия.
2. Формулировка физического противоречия.
|
| Нахождение принципиального решения технической задачи. |
1. Формулировка идеального конечного результата.
2.Устранение физического противоречия и нахождение принципиального решения в физической форме при помощи:
-фонда типовых моделей задач-аналогов;
-фонда стандартных приемов устранения физических противоречий;
-фонда физических эффектов и явлений;
3. Переход от физической формы решения задачи к технической (снятие технического противоречия):
- формулировка способа работы объекта;
- разработка принципиальной схемы объекта реализующей этот способ.
|
| Оценка полученного решения технической задачи |
Проверка степени соответствия полученного решения идеальному конечному результату.
В случае недостаточной степени соответствия возможно повторения поиска решения, начиная с любого пункта с измененными (уточненными) поисковыми ограничениями.
|
Необходимо отметить, что оценка полученного решения на эффективность с точки зрения вышеуказанных поисковых ограничений, является очень важным этапом решения технической задачи, т.к. максимально способствует развитию элементов технического мышления у обучаемых.
Методы выявления, анализа и разрешения противоречий, аппарат структурного синтеза, основные понятия логики поиска являются основополагающими базовыми элементами развития технического мышления в целом. Поэтому обучение студентов этим базовым элементам есть основа предлагаемой методики.
Рассмотрим применение представленного алгоритма решения технической задачи на примере.
Задача.
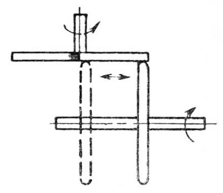
Ведущий вал вращается со скоростью от 400 до 4000 об/мин. Ведомый вал должен постоянно иметь 400 об/мин. Как это осуществить? (рис.1)
 
а б

в
 
д г
Рисунок 1. Схема саморегулируемой передачи.
Сформулируем задачу (постановка задачи)
: задача на построение. Нужны две подсистемы: одна передает вращение, другая управляет числом оборотов, вернее – передаточным отношением. В этом примере изменяемыми характеристиками являются число оборотов ведущего вала и габариты объекта, неизменяемыми – число оборотов ведомого вала, соосность валов. Условная схема объекта показана на рис.1а.
Конкретизация условий, построение модели задачи:
-
подсистема передачи вращения должна быть легкоуправляемой;
- на входе и выходе должна быть механическая энергия вращения;
- преобразование числа оборотов производится по программе.
Для механической передачи с учетом указанных условий можно найти легкоуправляемый вариант, например, фрикционная (лобовая) передача (модель задачи для подсистемы передачи вращения – см. рис.1б
).
Выявляем конфликтующую пару характеристик подсистемы передачи вращения объекта анализируем модель задачи (формулируем ТП1
)
: ведомый и ведущий валы должны быть сосны, а в предложенной модели задачи этой подсистемы они не соосны (ТП). Формулируем ФП1
: валы должны быть сосны и валы не должны быть соосны.
Нахождение принципиального решения технической задачи для первой подсистемы
.
Формулировка идеального конечногорезультата для первой подсистемы:
валы сами должны устранить вредноесвойство – несоосность.
Разрешение ФП1
ТП1
первой подсистемы
: можно ввести преобразование в пространстве – зубчатую передачу, а чтобы она не мешала, сместить одно зубчатое колесо на край, а другое объединить с ведущим фрикционом (рис.1в).
Сформулируем модель задачи для подсистемы управления передаточным отношением:
использовать энергопоток уже имеющий необходимую пространственно-временную организацию, а именно – ведущий (входной) вал. На него надо навесить центробежный регулятор и двигать с его помощью ведомый фрикционный диск ( рис. 1г ).
Выявляем конфликтующую пару второй подсистемы, анализируем модель
задачи (формулируем ТП2
): центробежный регулятор – фрикционная передача, т. к. программу перемещения ведомого фрикционного колеса при изменении оборотов ведущего вала трудно реализовать: центробежная сила пропорциональна квадрату числа оборотов, а перемещение фрикционного колеса должно быть пропорционально первой степени. Формулируем ФП2
:центробежная сила должна быть пропорциональна квадрату числа оборотов вала и не должна бытьпропорциональна квадрату числа оборотов. Нахождение принципиального решения технической задачи для второй подсистемы.
Формулировка идеального конечного результата для второй подсистемы: центробежный регулятор и фрикционная передача должны сами устранять вредное свойство.
Разрешение ФП2
и ТП2
второй подсистемы
:в данном случае можно использовать Стандарт № 3 – введением между двумя взаимодействующими объектами (центробежный регулятор с ведущим валом и ведомый вал) третьего объекта являющегося видоизменением одного из них: пружины переменной жесткости.
На основании изложенного становится ясным способ работы объекта и принципиальная схема его реализации (см. рис.1д).
Приведенный выше пример решения технической задачи наглядно демонстрирует применение алгоритма и некоторых стандартных решений. Однако такие задачи целесообразно предлагать студентам уже имеющим некоторый опыт применения алгоритма и стандартов решения технических задач, т.е. в конце первого и на втором году обучения физике.
Применяемый алгоритм показывает путь решения технической задачи, но не уменьшает трудоемкости ее решения. При выполнении действий по устранению физического противоречия студентам приходится самостоятельно знакомится с большим объемом литературы для выявления физических эффектов и явлений, на основе которых можно строить решение задачи. Первокурсникам, которые только начинают изучать физику и находятся в начале процесса развития навыков решения технических задач, мы предлагаем в помощь, разработанную нами компьютерную программу
«Физический эффект». Названная программа представляет собой совокупность клиентского приложения и базы данных. Клиентское приложение предоставляет пользовательский интерфейс для управлениями двумя списками: списком физических эффектов и списком физических параметров. Приложение предоставляет средства для определения по заданному набору физических параметров конечного множества физических эффектов, которые оказывают влияние на значения этих параметров. Также можно определить конечное множество физических параметров, характеризующих тот или иной физический эффект.
Приведем пример решения технической задачи с помощью программы «Физический эффект».
Задача. Необходимо определить момент начала закипания смеси жидкостей, находящейся в не прозрачном герметичном реакторе. Пар над смесью жидкостей имеет постоянно изменяющееся давление, температуру и концентрацию веществ. Теоретический расчет, как и визуальное наблюдение невозможны.
Постановка задачи.
1. Цель: поиск физического эффекта, позволяющего определить начало закипания смеси жидкостей.
2. Ограничения: 1. Визуальное наблюдение исключено. 2. Непрерывное изменение режима исключает возможность определения начала закипания по величине температуры, давлению или концентрации вещества.
3. Изучим, особенности начала кипения, воспользовавшись описанием явления в программе «Физ. эффект». Одним из признаков начала закипания жидкости является возникновение на гладкой и спокойной поверхности неровностей и бугров при всплывании и разрыве пузырьков пара над поверхностью жидкости в момент начала кипения. Кроме того, возникает характерный шум при бурлении жидкости.
4. Изменяемые параметры: изменение формы поверхности (бурление),
характерный шум, капиллярное давление, давление на поверхность, фазовый переход, давление насыщенных паров.
Макет решения.
Бурление поверхности жидкости приводит к необходимости использования стандарта, рекомендующего использовать поле для определения состояния вещества, например ультразвуковое, звуковое.
1. То есть, определение начала кипения, возможно, осуществить методом ультразвуковой локации поверхности жидкости. Решение хорошее, но необходим источник и приемник ультразвука. Что не всегда экономически оправдано.
2. Второе решение проще и приближается к ИКР. Когда сама поверхность может сигнализировать об изменении ее состояния, порождая звуковое поле. На поверхность жидкости помещают поплавок, к которому прикреплена стойка с колокольчиком. В момент начала кипения колокольчик будет издавать звуковые сигналы.
3. Третье решение так же является простым. На поверхность жидкости помещается пластмассовая чашечка перевернутая вверх дном, в дне закреплены два электрода так, что до закипания жидкости контакты замкнуты.На крышке реактора горит сигнальная лампочка. В момент закипания под крышкой собирается пар, контакты размыкаются и сигнальная лампочка гаснет.
Решение задачи позволяет продемонстрировать учащимся, как особенности происходящего физического процесса могут служить для создания методов его контроля.
Внедряя, в процесс обучения физике будущих инженеров методику решения технических задач мы, достигаем нескольких эффектов: 1) В процессе решения технической задачи студенты более глубоко осмысливают физические законы, явления и эффекты в данном разделе; 2) устраняя техническое противоречие посредством выбора того или иного физического явления, студент осуществляет операции анализа , синтеза, сравнения в применении к конкретному техническому объекту, что, во первых , развивает
логический, образный, действенный и понятийный компоненты мышления, которые являются определяющими при формировании технического мышления; во-вторых, студент – будущий инженер усваивает методы разработки технических объектов, и, в-третьих, важным является то, что студенты усваивают на практике тесную связь физики и техники. Физика становится живым, активно действующим во всех технических объектах предметом, а не сухой, сложной и не всегда понятной наукой.
|