
097,094,099,104,102






Решение
  
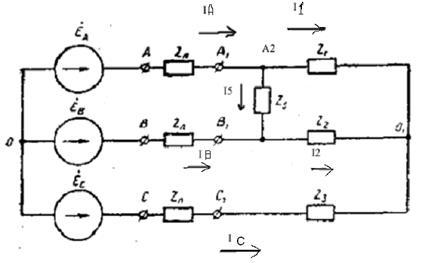
1. Преобразуем треугольник сопротивлений Z1, Z2 и Z5 в звезду

Для этого найдем расчётный коэффициент по формуле:
m = Z1+Z2+Z5 = 10+j12+10-j18+12+j14 = 32+j8 Ом
Теперь определим сопротивления звезды:
Z11 = Z1*Z2 / m = (10+j12) (10-j18) / (32+j8) = 8,8594 – j4,0882 Ом
Z22 = Z5*Z2 / m = (12+j14) (10-j18) / (32+j8) = 10,3823 – j4,9706 Ом
Z33 = Z1*Z5 / m = (10+j12) (12+j14) / (32+j8) = 0,6765 +j8,7059 Ом
Определим напряжение смещения нейтрали:

Определим фазные напряжения:
UA
=
EA
–
UN
= 127 – 40.8107 +
j
71.1169 = 86.1893+
j
71,1169
B
UB
=
EB
–
UN
= -63.5 –
j
110 – 40.8107 +
j
71.1169 = -104.3107-
j
38,868
B
U
С
=
E
С
–
UN
= -63.5 +
j
110 – 40.8107 +
j
71.1169 = -104.3107+
j
181.1169
B
Определим токи генератора по закону Ома:



Определим напряжения действительного смещения нейтрали, т.е. исходной схемы:
UN=UN
+IC
Z11=70.011-j5.792=7 0,25e-j4,7
B
Определим потенциалы А1 и В1 узлов схемы и напряжения на ZЛ
фаз А и В:


Тогда напряжение между ними или на Z5 будет:
UZ
5
=

Напряжения на фазе С:


Определим токи треугольника сопротивлений:



Определим напряжения на сопротивлениях
Z
1 и
Z
2:


2.
Активные мощности источников:

Активные мощности приёмников:

Баланс сходится.
3. Симметричная составляющая нулевой последовательности фаз тока генератора (a
=1
ej
120
)
:
I0
=1/3*(IA
+IB
+IC
) = 1/3*(7,1282 – j4,1598–7,0382 – j3,1775–0,09+j7,3373)=0A
Симметричная составляющая прямой последовательности фаз тока генератора:
I
П
=1/3*(
IA
+а
IB
+а2
IC
) = 1/3*(7,1282
–
j
4,1598+1
ej
120
*(-7,0382
–
j
3,1775)+ 1
ej
240
*(-0,09+
j
7,3373))=6,599
–
j
4,086 = 7,76
e
-
j
31,8
A
Симметричная составляющая обратной последовательности фаз тока генератора:
I
ОБ
=1/3*(
IA
+а 2
IB
+а
IC
) =1/3*(7,1282 –
j
4,1598+1
ej
240
*(-7,0382 –
j
3,1775)+ 1
ej
120
*(-0,09+
j
7,3373))=0,529 –
j
0,074 = 0,53
e
-
j
8
A
Проверим верность выполненного разложения для тока генератора фазы А:
IA
= I0
+ I
П
+ I
ОБ
= 0 + 6,599 – j4,086+0,529 – j0,074 = 7.128-j4,160
Результаты совпали, значит, симметричные составляющие аналитически определены верно.
Теперь графически определим симметричные составляющие токов генератора:
Симметричная составляющая нулевой последовательности фаз тока генератора равна нулю, что видно.
|