Федеральное агентство по образованию
Сибирский государственный технологический университет
Факультет: Механический
Кафедра: Механики
РАСЧЕТ МЕХАНИЗМА ПОДЪЕМА ГРУЗА
МОСТОВОГО КРАНА
Пояснительная записка
(КМ.РГР.02.01.00.000ПЗ)
Руководитель:
(подпись)

(оценка, дата)
Разработал:
Студент группы

(подпись)
 (дата)
Задание на проектирование №12 Вариант 4
Спроектировать механизм подъема груза мостового крана

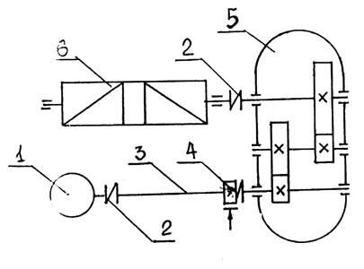
Рисунок – Кинематическая схема механизма подъема груза: 1 – электродвигатель, 2 – муфты , 3 – вал-вставка, 4 – тормоз, 5 –редуктор, 6 – барабан
Грузоподъемность, т 10,0
Пролет, м 16,5
Высота подъема, м 12,5
Колесная база, м 4,0
Скорость подъема, м/с 0,63
Скорость передвижения грузовой тележки, м/с 0,6
Скорость передвижения крана, м/с 2,0
Тип тележки двухрельсовая опорная
Режим работы, % 25
Грузозахватное устройство крюковая подвеска
Ориентировочная масса каната 30 – 50
Реферат
В расчетно-графической работе приведены результаты проектирования механизма подъема груза мостового крана.
В работе изложены решения следующих задач: выбор полиспаста, крюка с крюковой подвеской, типового электродвигателя, редуктора, муфт и тормоза; выбор и расчет каната; расчет геометрических параметров каната; выбор схемы и способа крепления конца каната на барабане; выбор подшипников и их проверочный расчет.
Расчетно-графическая работа содержит расчетно-пояснительную записку из 30 страниц, 11 таблиц, 13 рисунков и графическую часть из 1 листа формата А3, выполненного на миллиметровке.
Содержание
Введение
1 Назначение и область применения проектируемого изделия
1.1 Техническая характеристика проектируемого механизма
1.2 Описание и обоснование варианта проектируемого механизма
2 Расчеты, подтверждающие работоспособность и надежность
механизма подъема груза
2.1 Цель и задачи расчета
2.2 Выбор схемы полиспаста
2.3 Определение максимального усилия в канате
2.4 Определение разрывного усилия в канате и выбор каната
2.5 Определение параметров барабана
2.6 Определение длины каната
2.7 Определение длины барабана
2.8 Определение толщины стенки барабана
2.9 Определение частоты вращения барабана2.10 Определение статической мощности двигателя, выбор типового электродвигателя
.11 Определение расчетной мощности редуктора и его выбор
2.12 Определение статического момента на валу двигателя при
подъеме груза
2.13 Определение расчетного момента и выбор муфты
2.14 Определение номинального момента на валу двигателя
2.15 Определение среднего пускового момента
2.16 Определение времени пуска двигателя при подъеме груза
2.17 Определение фактической частоты вращения барабана
2.18 Определение фактической скорости подъема груза
2.19 Определение максимального ускорения при подъеме груза
2.20 Определение тормозного момента и выбор тормоза
2.21 Определение времени торможения при опускании груза
2.22 Определение пути торможения
2.23 Определение максимального времени торможения
2.24 Определение замедления при торможении
2.25 Расчет оси барабана
2.26 Подбор подшипников и проверка их на долговечность
2.27 Крепление конца каната на барабане
2.28 Выбор крюковой подвески
Заключение
Список использованных источников
ведение
В современных условиях поточного и автоматизированного производства значение подъемно-транспортных машин качественно изменилось. Они вышли за рамки своего первоначального назначения – вспомогательного оборудования для механизации трудоемких процессов производства – и являются связующими звеньями в технологической цепи, обеспечивающими непрерывность производства, основным регулятором поточного производства, ограниченной частью технологических процессов, определяющих ритм и производительность основного оборудования предприятия. Подъемно-транспортные устройства являются основой комплексной механизации и автоматизации производственных процессов. От правильного выбора наиболее рациональных машин зависит высокопродуктивная работа всего предприятия.
Конструкция подъемно-транспортных машин непрерывно совершенствуется, в связи, с чем возникают новые задачи по расчету, проектированию, исследованию и выбору оптимальных параметров машин, обеспечивающих высокие технико-экономические показатели и качество машин.
В данной работе был рассчитан и спроектирован механизм подъема мостового крана, были рассчитаны параметры барабана, выбран канат, подобраны двигатель и редуктор, подобрана крюковая подвеска, выбран тормоз.
1 Назначение и область применения проектируемого изделия
Электрические подъёмные краны - это устройства служащие для вертикального и горизонтального перемещения грузов. Подвижная металлическая конструкция с расположенной на ней подъемной лебёдкой являются основными элементами подъёмного крана. Механизм подъемной лебёдки приводится в действие электрическим двигателем.
Подъемный кран представляет собой грузоподъемную машину циклического действия, предназначенную для подъема и перемещения груза, удерживаемого грузозахватным устройством (крюк, грейфер). Он является наиболее распространенной грузоподъемной машиной, имеющей весьма разнообразное конструктивное исполнение и назначение.
Мостовой кран (рис.1) представляет собой мост, перемещающейся по крановым путям на ходовых колесах, которые установлены на концевых балках. Пути укладываются на подкрановые балки, опирающиеся на выступы верхней части колонны цеха. Механизм передвижения крана установлен на мосту крана. Управление всеми механизмами происходит из кабины прикрепленной к мосту крана. Питание электродвигателей осуществляется по цеховым троллеям. Для подвода электроэнергии применяют токосъемы скользящего типа, прикрепленные к металлоконструкции крана. В современных конструкциях мостовых кранов токопровод осуществляется с помощью гибкого кабеля. Привод ходовых колес осуществляется от электродвигателя через редуктор и трансмиссионный вал.
Любой современный грузоподъемный кран в соответствии с требованиями безопасности, может иметь для каждого рабочего движения в трех плоскостях, следующие самостоятельные механизмы: механизм подъема - опускания груза, механизм передвижения крана в горизонтальной плоскости и механизмы обслуживания зоны работы крана (передвижения тележки).
.1 Техническая характеристика проектируемого механизма
1 Полиспаст сдвоенный, с кратностью 2 (Z = 2; U = 2 ).
2 Канат двойной свивки типа ЛК – Р конструкции 6×9 (1+6+6/6) + 1 о.с. диаметром dK
= 14 мм по ГОСТ 2688-80, с помощью прижимной планки двумя болтами крепится к барабану).Длина каната LK
– 16,71 м.
3 Барабан литой из чугуна СЧ28, разборный.
Длина барабана l = 1,324 м
Диаметр барабана по центру навиваемого каната Dб
= 0,35 м
Длина нарезанной части барабана с одной стороны lн
= 0,427 м
Шаг нарезки t = 16 мм
4 Электродвигатель асинхронный с короткозамкнутым ротором общепромышленной серии MTF
Типоразмер 4МТН 225L6
Номинальная мощность, кВт 55
Частота вращения вала, мин-1
960
Момент инерции ротора, кгм2
1,02
Масса, кг 500
5 Редуктор горизонтальный двухступенчатый цилиндрический Ц2 400
Передаточное число 12,41
Режим работы, ПВ % 25
Частота вращения быстроходного вала, мин-1
1500
Мощность на быстроходном валу, кВт 81
Диаметр проточки под подшипники выходного конца вала, выполненного в виде зубчатой полумуфты, мм 110
6 Муфты с тормозным шкивом №2
Передаваемый крутящий момент, Нм 1000
Диаметр тормозного шкива, мм 300
Ширина тормозного шкива, мм 150
Момент инерции муфты, кгм2
1,5
7 Тормоз
Типоразмер ТКГ – 300
Номинальный тормозной момент, Нм 800
Расчетный тормозной момент, Нм 740
Диаметр тормозного шкива, мм 300
Ширина тормозной колодки, мм 140
Масса, кг 80
.2 Описание и обоснование варианта проектируемого механизма
Кинематическая схема механизма подъема с крюковой подвеской показана на рисунке. Электродвигатель 1 соединен с цилиндрическим редуктором 5 при помощи муфт 2 и 4 и вала- вставки 3; полумуфта 4 со стороны редуктора выполнена с тормозным шкивом, на котором установлен колодочный тормоз. Редуктор 5 соединен с барабаном 6 при помощи муфты 2. На барабан наматывается канат полиспаста с грузозахватным приспособлением.
Одной из поставленных целей расчетно-графической работы является упрощение конструкции и уменьшение габаритных размеров механизма подъема груза. Для этого из конструкции исключаем муфту 2 между барабаном и редуктором, при этом выходной конец вала изготавливаем в виде зубчатой полумуфты. Также исключаем муфту 2 и вал-вставку 3, так как межосевое расстояние редуктора позволяет вместить барабан и двигатель без вала-вставки.
2 Расчеты, подтверждающие работоспособность и надежность механизма подъема груза
2.1 Цель и задачи расчета
Общий расчет механизма подъема груза включает с себя:
- выбор полиспаста, крюка с крюковой подвеской, типового электродвигателя, редуктора, муфт и тормоза;
- выбор и расчет каната;
- расчет геометрических параметров каната;
- выбор схемы и способа крепления конца каната на барабане;
- выбор подшипников и их проверочный расчет
2.2 Выбор схемы полиспаста
Расчет механизма подъема груза начинают с выбора схемы полиспаста с учетом грузоподъемности и типа крана (по таблице 1 [1]).
Для проектируемого крана грузоподъемностью Q = 10т
m = 2
Рисунок 2.1 – Схема полиспаста крана грузоподъемностью 10т: 1 – барабан, 2 – блок, 3 – траверса, 4 – крюк, 5 – трос
.3 Определение максимального усилия в канате
Усилие в канате, набегающем на барабан при подъеме груза, Н
(1)
где Q – грузоподъемность, кг;
z – число полиспастов, для сдвоенного полиспаста z = 2;
Uп
– кратность полиспаста, Uп
= 2;
общий КПД полиспаста и обводных блоков
(2)
где КПД полиспаста
(3)
где КПД блоков, по таблице 2[1] 

С учетом реальных событий .
Так как обводные блоки отсутствуют, 
Таким образом

2.4 Определение разрывного усилия в канате и выбор каната
Расчетное разрывное усилие в канате при максимальном усилии равно
(4)
где k – коэффициент запаса прочности, по таблице 3[1] k = 5,5 для среднего режима.

По разрывному усилию выбираем диаметр и тип каната (таблица П1.1[1])

Рисунок 2.2 – Схема сечения каната двойной свивки типа ЛК – Р конструкции 6×9 (1+6+6/6) + 1 о.с. ГОСТ 2688 – 80
Таблица 2.1 – Основные параметры каната
| Диаметр каната, мм |
Масса 1000м каната, кг |
Маркировочная группа, Мпа |
Разрывное усилие каната, Н, не менее |
| 14 |
728 |
1568 |
98950 |
Фактический коэффициент запаса прочности каната
(5)

2.5 Определение параметров барабана
Диаметр барабана и блока по средней линии навитого каната равен
(6)
где dк
– диаметр каната, мм, dк
= 12мм;
e – коэффициент, зависящий от типа машины, привода и режима работы, по таблице 4[1] e = 25


Рисунок 2.3 – Геометрические параметры барабана
2.6 Определение длины барабана
Длина каната, навиваемого на барабан с одного полиспаста
(7)
где h – высота подъема груза, м;
Z1
– число запасных витков на барабане до места крепления каната, Z1
=
1,5÷2, принимаем Z1
= 2;
Z2
– число витков каната, находящихся под прижимным устройством на барабане, Z2
= 3÷4, принимаем Z2
= 3.

2.7 Определение длины барабана

Рисунок 2.4 – Длина барабана
При расчете рабочей длины барабана следует учесть, что в проектируемом механизме полиспаст сдвоенный. Тогда рабочая длина барабана для каната, свиваемого с одного полиспаста, будет равна
(8)
где tб
– шаг винтовой линии, по таблице 4.4[3] tб
=16 мм.
Тогда

Полная длина барабана для сдвоенного полиспаста
(9)
где В – расстояние между осями крайних блоков крюковой подвески, по таблицам приложения Г [3] выбираем типовую крюковую подвеску с учетом грузоподъемности, режима работы, диаметра каната и схемы полиспаста;
Таблица 2.2 – Основные параметры подвесок
| Грузоподъемность, т |
Режим работы |
Тип |
Диаметр каната |
Размеры, мм |
Масса, кг |
| D |
B |
B1
|
B2
|
H |
| 12,5 |
С |
I |
17,5 |
450 |
400 |
266 |
342 |
888 |
198 |
S – ненарезанная часть барабана, необходимая для закрепления его в станке при нарезке канавок,
(10)


Так как длина барабана меньше трех его диаметров, то выполнение проверочного расчета на изгиб не требуется.
2.8 Определение толщины стенки барабана
Толщину стенки барабана определяют из условий сжатия, учитывая, что он нагружен равномерно распределенной нагрузкой вследствие огибания его натянутым канатом силой Fmax
.
олщина стенки барабана из расчета на сжатия
(11)
где коэффициент, учитывающий влияние изгибающих напряжений, которые возникают при навивке каната, 
коэффициент, отражающий влияние на нагрузку барабана деформаций стенки и каната
(12)
где Ек
– модуль упругости каната, для шестипрядных канатов с органическим сердечником Ек
= 88260 Н/мм2
,
Ак
=0,4dк
2
– площадь сечения всех проволок каната, мм2
;
Еб
– модуль упругости стенки барабана, для чугунных барабанов Еб
= 98000 Н/мм2
;
допускаемое напряжение сжатия, Н/мм2
;
Для чугуна
(13)
где предел прочности, Н/мм2
; для чугуна СЧ28 ГОСТ 1412 – 70, ;
n – запас прочности, для чугунных барабанов n = 4,0…4,25,
Тогда
,
,

Из условия технологии изготавливаемых литых барабанов толщина стенкидолжна быть не менее, м
(14)
где D – диаметр барабана по дну канавки, м
(15)


Принимаем 
2.9 Определение частоты вращение барабана
Частота вращения барабана
(16)
где скорость подъема груза, м/мин,
Таким образом

2.10 Определение статической мощности двигателя, выбор типового электродвигателя
Максимальная статическая мощность двигателя, которую должен иметь механизм в период установившегося движения при подъеме номинального груза, равна
(17)
где предварительное значение КПД механизма,

Так как крановые двигатели являются большегрузными, допускается их перегрузка до 30%, то есть

По режиму работы и мощности двигателя по таблицам приложения А выбираем электродвигатель серии MTF.
Таблица 2.3 – Основные технические данные выбранного электродвигателя
| Тип двигателя |
Мощность на валу, кВт |
n, об/мин |
КПД |
Момент инерции,кгм2
|
Масса |
| 4МТН 225L6 |
55 |
960 |
87 |
1,02 |
500 |
Таблица 2.4 – Основные размеры (мм) электродвигателя 4МТН 225L6
| Тип двигателя |
b1
|
b10
|
b11
|
b12
|
d1
|
d10
|
l1
|
l3
|
l10
|
l11
|
l12
|
l20
|
l28
|
l30
|
| 4МТН 225L6 |
18 |
356 |
435 |
95 |
70 |
19 |
140 |
105 |
356 |
404 |
92 |
1070 |
149 |
1220 |
2.11 Определение расчетной мощности редуктора и его выбор
Редукторы для механизма подъема выбирают, исходя из расчетной мощности или крутящего момента частоты вращения быстроходного вала, передаточного числа редуктора и режима работы. Для горизонтальных
редукторов
(18)
где kp
– коэффициент, учитывающий условия работы редуктора, для приводов механизмов подъема грузов kp
= 1,

При выборе редуктора должно соблюдаться условия, касающиеся прочности, долговечности и кинематики редуктора
Первое условие – расчетная мощность редуктора на быстроходном валу не должна превышать номинальную мощность на быстроходном валу редуктора
(19)
Второе условие – передаточное число редуктора не должно отличаться от требуемого передаточного числа более чем на ±15%
(20)
Требуемое число редуктора равно
(21)
где nдв
– частота вращения двигателя, мин-1
;
nт
– частота вращения барабана, мин-1
,

По таблице приложения Б[3] в соответствии с расчетной мощностью, частотой вращения быстроходного вала, режимом работы и передаточным числом выбираем редуктор Ц2 – 400.
Таблица 2.5 – Основные параметры редуктора Ц2
| Тип редуктора |
Режим работы |
Передаточное число |
Максимальная мощность на быстроходном валу, кВт |
Частота вращения быстроходного вала, об/мин |
| Ц2 - 400 |
Средний |
12,41 |
81 |
1500 |
Проверяем второе условие
что меньше допускаемых 15%
Таблица 2.6 – Размеры редуктора
| Типоразмер редуктора |
Размеры, мм |
| А |
Аб
|
АТ
|
А1
|
С1
|
Н0
|
L1
|
q |
L |
B |
H |
| Ц2 - 400 |
400 |
150 |
250 |
287 |
150 |
265 |
640 |
27 |
805 |
380 |
505 |
| Ц2 - 400 |
325 |
415 |
358 |
280 |
205 |
33 |
320 |
250 |
6 |
317 |

а) б)
Таблица 2.7 – Геометрические параметры концов валов редуктора Ц2
| Типоразмер редуктора |
d8
|
d9
|
d10
|
D |
l7
|
l8
|
l9
|
l10
|
l11
|
B3
|
d5
|
b3
|
l3
|
l5
|
| Ц2 - 400 |
110 |
100 |
140 |
252 |
69 |
30 |
60 |
255 |
65 |
205 |
95 |
28 |
170 |
138 |
2.12 Определение статического момента на валу двигателя при подъеме груза
Момент статического сопротивления на валу двигателя в период пуска при подъеме груза, Нм
(22)
где Fmax
– усилие в канате, набегающем на барабан, Н;
Z – число полиспастов;
Up
– передаточное число редуктора (привода);
КПД барабана, на подшипниках качения 
КПД привода, 

2.13 Определение расчетного момента и выбор муфты
По кинематической схеме, представленной на рисунке 1, установлены две муфты. Одна муфта с тормозным шкивом установлена между двигателем и редуктором, вторая соединяет тихоходный вал редуктора с валом барабана.
Расчетный момент для выбора муфты с тормозным шкивом, Нм
(23)
где Тм
н
– номинальный момент муфты, Нм. Принимается равным Тс
;
k1
– коэффициент, учитывающий степень ответственности механизма, k1
=1,3;
k2
– коэффициент, учитывающий режим работы механизма, по таблице 5.1[3] при среднем режиме k2
= 1,2.

Из таблицы В.3[3] выбирается муфта упругая втулочно-пальцевая с тормозным шкивом.

Рисунок 2.9 – Муфта упругая втулочно-пальцевая и тормозным шкивом
Таблица 2.8 – Основные размеры и параметры втулочно-пальцевых муфт с тормозными шкивами
| Номинальный тормозной момент МК
, Нм |
d(Н7) |
d1
(Н9) |
D |
DТ
|
D1
|
D2
|
d2
|
d3
|
d4
|
d5
|
Число пальцев, n |
| мм |
| 1000 |
60-70 |
50-70 |
220 |
300 |
170 |
275 |
120 |
18 |
36 |
М12 |
10 |
Продолжение таблицы 2.8
| Номинальный вращающий момент М, Нм |
l |
l1
|
l2
|
S |
BТ
|
b |
Допустимое смещение валов |
Тормозной момент М, Нм |
Момент инерции, кгм2
|
Масса, кг, не более |
| мм |
радиальное |
угловое |
| 1000 |
110 |
140 |
107 |
22 |
150 |
1-6 |
0,4 |
1º |
420 |
1,5 |
43 |
2.14 Определение номинального момента на валу двигателя
Номинальный момент на валу двигателя, Нм
(24)
где Р – мощность электродвигателя, кВт;
n – число оборотов электродвигателя, мин-1
.

2.15 Определение среднего пускового момента
Для двигателя с короткозамкнутым ротором можно принимать
(25)
где Тmax
– максимальный момент двигателя, Нм.
(26)
где максимальная кратность пускового момента, 


Принимаем Тср.п.
= 820 Нм.
2.16 Определение времени пуска двигателя при подъеме груза
Время пуска при подъеме груза, с
(27)
где Imax
– суммарный момент инерции ротора двигателя и муфты, кгм2
.
(28)
где Ip
– момент инерции ротора двигателя, кгм2
;
Iм
– момент инерции муфты, кгм2
.

nдв
– частота вращения вала электродвигателя, мин-1
;
Vф
– фактическая скорость подъема груза, м/с, Vф
= 0,71м/с (см пункт 2.18);
КПД механизма, 
Тср.п.
– средний пусковой момент двигателя, Нм;
Тс
– момент статического сопротивления на валу двигателя, Нм.
2.17 Определение фактической частоты вращения барабана
Фактическая частота вращения барабана, мин-1
(29)

2.18 Определение фактической скорости подъема груза
Фактическая скорость подъема груза
(30)

2.19 Определение максимального ускорения при подъеме груза
Максимальное ускорение при подъеме груза, м/с2
(31)

2.20 Определение тормозного момента и выбор тормоза
Момент статического сопротивления на валу электродвигателя при торможении механизма, Нм
(32)

Тормоз выбирается по расчетному тормозному моменту, Нм
(33)
где kT
– коэффициент запаса торможения, по таблице 5.3[3] для среднего режима kТ
= 1,75.

При выборе типоразмера тормоза проверяем условие: номинальный тормозной момент должен быть не меньше расчетного
(34)

Выбираем колодочный тормоз с приводом от электрогидравлических толкателей.
Таблица 2.9 – Техническая характеристика и основные размеры тормоза ТКГ
| Тип тормоза |
Тормозной момент |
Тип толкателя |
Масса тормоза |
мм |
| Диаметр шкива |
L |
l |
l1
|
В |
b1
|
| ТКГ - 300 |
800 |
ТГМ – 50 |
80 |
300 |
772 |
275 |
421 |
232 |
120 |
Продолжение таблицы 2.9
| Тип тормоза |
b2
|
H |
h |
A |
a |
a1
|
 |
d |
t |
t1
|
| ТКГ - 300 |
140 |
550 |
240 |
500 |
150 |
80 |
8 |
22 |
50 |
30 |

Рисунок 2.10 – Тормоз колодочный ТКГ – 300
2.21 Определение времени торможения при опускании груза
Время торможения при отпускании груза, с
(35)
Что допустимо.
2.22 Определение пути торможения
Путь торможения механизма подъема груза, м
(36)
где ks
– коэффициент, учитывающий режим работы механизма, по таблице 6.3[3] ks
= 1,7.

2.23 Определение максимального времени торможения
Время торможения в предположении, что скорости подъема и опускания груза одинаковы, с
(37)

2.24 Определение замедления при торможении
Замедление при торможении, м/с2
(38)
где [aT
] – допускаемое замедление для кранов, работающих с лесоматериалами и с сыпучими материалами, [aT
] = (0,6…0,9)м/с2
.

2.25 Расчет оси барабана

Рисунок 2.11 – Расчетная схема оси барабана со сдвоенным полиспастом
В нашей конструкции установки барабана механизма подъема кранов общего назначения, соединение оси барабана с тихоходным валом редуктора осуществляется с помощью специальной зубчатой муфты (см. рисунок 2.7).
При этом конец вала редуктора выполняют в виде зубчатой шестерни, которая входит в зацепление с венцом, закрепленным на барабане. Крутящий омент от вала редуктора передается через зубчатое зацепление на венец- ступицу и далее через болты на обечайку барабана.
Ось барабана испытывает напряжение изгиба от действия усилий двух ветвей каната при сдвоенном полиспасте, а также от собственного веса барабана (при расчете, обычно, весом барабана пренебрегают). При сдвоенном полиспасте положение равнодействующей натяжений каната относительно опор оси остается неизменным.
Величина этой равнодействующей, Н
R = 2Fmax
, (39)
R = 
венец- ступицу и далее через болты на обечайку барабана
Нагрузка, Н на опору 1 оси при положении равнодействующей, указанном на рисунке 2.11
(40)
где l – расстояние между опорами оси, мм;
l5
– расстояние от места приложения равнодействующей R до середины ступицы С, мм;
l2
– расстояние от центра ступицы барабана С до опоры 2, l2
= 200мм.
Для определения расстояний используем следующие соотношения


Нагрузка на опору 2, Н
R2
= R – R1
, (41)
R2
= 34722 – 19848 = 14874 Н.
Нагрузка на ступицу барабана А (1)
(42)
где l4
– расстояние между центрами ступиц барабана А и С, мм;
По рисунку 2.11
l4
= l3
+ l5
– l1
,
где l1
– расстояние от центра ступицы барабана А до опоры 1, l1
= 120мм.
l4
= 1196 – 120 = 1076 мм.

Нагрузка на ступицу С (2)
P2
= R – P1
, (43)
P2
= 34722 – 19297 = 15425 Н.
Расчет оси барабана сводят к определению диаметра ступицы из условия работы оси на изгиб в симметричном цикле
, (44)
где Ми
– изгибающий момент в расчетном сечении, Нм;
W – момент сопротивления расчетного сечения при изгибе, мм3
;
допускаемое напряжение изгиба при симметричном цикле изменения напряжений, Н/мм2
.
Допускаемое напряжение при симметричном цикле, Н/мм2
(45)
где k0
– коэффициент, конструкцию детали, для осей k0
= 2,0…2,8, принимаем k0
= 2,0;
предел выносливости стали, для углеродистых сталей 
где предел прочности стали, = 1000 Н/мм2
;

[n] – допускаемый коэффициент запаса прочности, для среднего режима [n] = 1,4.

Изгибающие моменты: наибольший изгибающий момент под правой ступицей барабана в точке С
(46)

в точке А
(47)

Момент сопротивления сечения оси под ступицей, мм3
(48)
де d – диаметр оси под ступицей барабана С, d = 45мм (см. пункт 2.26).

Диаметр оси под ступицей барабана, мм
(49)

Прочность оси на изгиб обеспечивается.
2.26 Подбор подшипников и проверка их на долговечность
Подшипники выбирается в соответствии с диаметром проточки в зубчатом венце выходного вала редуктора, равной 110 мм (см. рисунок 2.7 и таблицу 2.6). Учитывая это, по таблице И.1[3] выбираем подшипники шариковые радиальные сферические двухрядные с диаметром наружного кольца D = 110 мм ГОСТ 5720-75.

Рисунок 2.12 – Основные размеры подшипника
Таблица 2.10 – основные параметры подшипника
| Условное обозначение подшипника типа 1000 |
d |
D |
B |
C |
C |
e |
Y |
пластичном |
жидком |
Масса, кг |
| H |
| 1212 |
60 |
110 |
22 |
30200 |
15500 |
0,19 |
3,57 |
5600 |
6700 |
0,88 |
Долговечность подшипника, млн. об
, (50)
где С – табличное значение динамической грузоподъемности, по таблице И.1[3] C = 30200 H;
RЭ
– эквивалентная нагрузка, Н
(51)
где Х – коэффициент радиальной нагрузки, Х = 1;
Rr
= R1
– радиальная нагрузка, равная опорной реакции, Н;
V – коэффициент вращения, при вращении внутреннего кольца V = 1;
Kб
– коэффициент безопасности, принимаем из условий работы механизма Кб
= 1,5;
Т
– температурный коэффициент, КТ
= 1;
показатель степени, для шариковых подшипников .


Расчетная долговечность подшипника, час
(52)
где n – фактическая частота вращения барабана, мин-1
.

Для крановых механизмов считается приемлемой долговечность часов, поэтому чтобы не изменять размеры проточки зубчатого венца выходного вала редуктора, следует принять подшипник более тяжелой или широкой серии с большей динамической грузоподъемностью.
2.27 Крепление конца каната на барабане
Конец каната на барабане крепят накладкой с трапециидальными канавками

Рисунок 2.13 – Крепление каната на барабане накладкой с трапециидальной канавкой
Выбираем накладу с двумя болтами.
Напряжение каната в месте крепления на барабане, Н
(53)
где f – коэффициент трения между канатом и барабаном, f = 0,15;
угол обхвата барабана запасными витками каната ( ), ;
e = 2,74 – основание логарифма.

Сила, растягивающая один болт, Н
(54)
где f1
– приведенный коэффициент трения между канатом и накладкой с трапециидальным сечением канавки
(55)
где угол наклона боковой грани канавки;

угол обхвата барабана канатом при переходе от одной канавки накладки к другой.

Сила, изгибающая один болт, Н
(56)

Суммарное напряжение в каждом болте, Н/мм2
(57)
где k – коэффициент запаса надежности крепления каната, k = 1,5;
l – расстояние от головки болта до барабана, мм (по дну канавки, см рисунок2.13).
l = dк
+ (4…8)мм, (58)
l = 14 + 6 = 20мм;
d1
– внутренний диаметр резьбы болта, мм.
d1
= dк
– 2мм, (59)
d1
= 14 – 2 = 12мм;
допускаемое напряжение на растяжение материала болта, Н/мм2
(60)
где предел текучести материала болта, 240Н/мм2
;



Условие прочности выполняется.
2.28 Выбор крюковой подвески
Крюковую подвеску выбираем с учетом грузоподъемности, режима работы, диаметра каната и схемы полиспаста по таблице приложения Г [3] (см. подраздел 2.7).
Заключение
Как показали проектные и проверочные расчеты, выбранный канат, крюковая подвеска, электродвигатель, редуктор, соединительные муфты и тормоз отвечают правилам и нормам Госгортехнадзора и обеспечивают выполнение основных положений технического задания.
Конструкция барабана, оси и подшипниковых опор барабана спроектированы с учетом специфики эксплуатации механизма и требований, предъявляемых к прочности, надежности и долговечности данных изделий.
Следовательно, можно сделать вывод: спроектированный механизм подъема груза отвечает необходимым критериям работоспособности и обеспечивает выполнение требований технического задания.
Список использованных источников
1 Кучеренко А.Н. Детали машин и подъемно – транспортные устройства отрасли. Расчет механизмов передвижения кранов и крановых тележек: Учебное пособие по курсовому проектированию для студентов специальности 26.01 всех форм обучения. Раздел 1. – Красноярск: КГТА, 1995. – 68 с.
2 Кузьмин А.В., Марон Ф.Л. Справочник по расчетам механизмов подъемно – транспортных машин. Минск, «Вэшэйш. школа», 1997. – 272 с.
3 Кучеренко А.Н. Подъемно-транспортные устройства. Проектирование механизмов подъема груза: Учебное пособие для студентов специальностей 26.01, 26.02, 17.04, 17.05 всех форм обучение. – Красноярск: СибГТУ, 2001. – 232с.
|