1. ОБЗОР СТАНДАРТА GSM/GPRS
Прежде чем приступить к изучению структуры и особенностей GPRS-сети, ознакомимся с технологией GSM, поскольку возможности высокоскоростной передачи данных являются ее органичным дополнением. Коснемся некоторых организационных и исторических аспектов. В начале 80-х гг. в Европе функционировало множество несовместимых национальных систем сотовой связи, что крайне негативно отражалось на стоимости оборудования, делая невозможным ее снижение за счет массовости производства. В 1982 г. в рамках организации Conference of European Posts and Telegraphs (CEPT) была образована рабочая группа под названием Groupe Special Mobile (GSM), главными задачами которой стали удешевление оборудования, повышение качества связи, поддержка международного роуминга и достижение совместимости с (ISDN) Integrated Services Digital Network - цифровая сеть с интеграцией функций, позволяет осуществлять высокоскоростные передачи голосовых данных, информации или видео посредством существующих линий инфраструктуры. Кначалу 90-х GSM былапереданаподюрисдикцию European Telecommunication Standards Institute (ETSI). Коммерческое внедрение разработанной технологии началось с середины 1991 г., со временем одна из разновидностей этого стандарта получила распространение и в Северной Америке, а аббревиатуру GSM стали толковать, как Global System for Mobile. В Европе для восходящего и нисходящего потоков соединения с мобильным терминалом используются диапазоны частот 890-915 MHz и 935-960 MHz. Доступ осуществляется по комбинированной методике TDMA/ FDMA. В частотном диапазоне шириной 25 MHz размещается 124 несущих, разделенных промежутками в 200 kHz. Каждая базовая станция привязана к одной или более частотам. В свою очередь передача данных выполняется с разделением по времени. Информация упаковывается в фреймы TDMA, состоящие из 8 элементов длительностью около 0,577 мс, так называемые временные слоты. Структура данных, размещенная в рамках такого слота, называется (пакет). Таким образом, одна несущая обслуживает сразу несколько логических каналов, каждому из них отводится определенное количество слотов. Каналы делятся на присвоенные, доступ к которым может иметь только один конкретный мобильный терминал, и общие, или управляющие, доступные всем устройствам в режиме ожидания. Передача данных осуществляется через Traffic Channel (TCH). Он относится к первой группе и использует в качестве минимальной структурной единицы мультифрейм длительностью 120 мс, состоящий из 26 фреймов. Для упрощения электроники терминалов мультифреймы восходящего и нисходящего потоков передаются последовательно и разделены во времени паузой, равной трем слотам. Это означает невозможность полнодуплексного соединения в сетях GSM. Согласно техническим спецификациям, различают следующие разновидности каналов TCH: голосовые - 14,4 Kbps, данных - 9,6 Kbps, 4,8 Kbps и 2,4 Kbps, а также СВСН - Cell Broadcast Channel. Скорости 14,4 Kbps для данных удается достичь только за счет удаления заголовочной структуры блоков TCH и специальных алгоритмов коррекции ошибок. Так как GSM является цифровой сетью, для передачи не голосовых данных не требуется отдельного модема.
Для инициирования вызовов и прочей служебной информации предназначены управляющие каналы (Control Channels), оперирующие мультифреймами из 51 фрейма. Мобильный терминал может использовать общий канал не только в режиме ожидания, но и во время передачи данных по ТСН. Есть несколько типов таких каналов, в том числе:
· Broadcast Control Channel (ВССН) - однонаправленный канал, по которому постоянно передается информация о параметрах и конфигурации базовой станции;
· Frequency Correction Channel (FCCH) и Synchronisation Channel (SCH) - используются при синхронизации терминалов с временными параметрами логических каналов;
· Random Access Channel (RACH), Paging Channel (PCH) - отвечают за инициализацию исходящих и входящих вызовов;
· Access Grant Channel (AGCH) -обслуживает процедуры присваивания канала.
Разнообразие назначений каналов вызвало появление четырех разновидностей элементарной структуры данных (burst):
· Normal (нормальная) - общей длиной 156 бит, содержит 114 бит полезных данных;
· F-burst и S-burst - с иной структурой, но той же длины, используются в каналах FCCH и SCH;
· Access burst - более короткая, предназначена для канала RACH.
Для передачи цифровых данных через аналоговый радиоканал используется метод гауссовой модуляции с минимальным сдвигом (Gaussian Minimum Shift Keying, GMSK). Теоретически полная пропускная способность физического канала составляет около 270 Kbps. По информации Motorola, ее оборудование реально обеспечивает 172 Kbps на одной несущей, базовая станция поддерживает в стандартной конфигурации 6 несущих, хотя в принципе их количество можно увеличить до 24. Это дает нам соты (0,1-70 км) от 1 Mbps до 4 Mbps (если методы увеличения числа несущих не приводят к уменьшению удельной пропускной способности). Частично нейтрализовать влияние аномальных “провалов”, возникающих на отдельных участках спектра в результате многопутевого распространения сигналов с появлением отражений, удается периодической сменой частоты (frequency hopping). Каждый следующий фрейм передается на другой частоте, при этом в секунду выполняется 217 скачков. Схема, по которой осуществляются скачки, постоянно транслируется базовой станцией по каналу ВССН. Несмотря на заявленную совместимость с ISDN, пропускная способность одного присвоенного логического канала не превышает 14 Kbps.
Что касается услуг, то здесь разработчики стандарта с самого начала стремились обеспечить совместимость сетей GSM и ISDN (Integrated Service Digital Network) по набору предлагаемых услуг. Помимо привычной телефонной связи пользователю GSM предоставляются разнообразные услуги передачи данных. Абоненты GSM могут осуществлять обмен информацией с абонентами ISDN, обычных телефонных сетей, сетей с коммутацией пакетов и сетей связи с коммутацией каналов, используя различные методы и протоколы доступа, например Х.25. Возможна передача факсимильных сообщений, реализуемых при использовании соответствующего адаптера для факс-аппарата. Уникальной возможностью GSM, которой не было в старых аналоговых системах, является двунаправленная передача коротких сообщений SMS (Short Message Service) - до 160 байт, передаваемых в режиме с промежуточным хранением данных.
В "цифре" удалось реализовать дополнительные возможности, которые недоступны в аналоговых стандартах предыдущего поколения. В основном это относится к качеству звучания голоса собеседника (качество передачи и кодирования речи), аутентификации абонента и автоматическому роумингу. Кроме того, это:
· использование SIM-карт для обеспечения доступа к каналу и услугам связи;
· шифрование передаваемых сообщений;
· закрытый от прослушивания радиоинтерфейс;
· аутентификация абонента и идентификация абонентского оборудования по криптографическим алгоритмам;
· использование служб коротких сообщений, передаваемых по каналам сигнализации;
· автоматический роуминг абонентов различных сетей GSM в национальном и международном масштабе;
межсетевой роуминг абонентов GSM с абонентами сетей стандартов DCS1800, PCS1900, DECT, а также со спутниковой системой персональной радиосвязи Globalstar.
Хотя сам принцип сотовой связи был придуман в Америке, первые коммерческие системы - на базе NMT - появились в Европе, а стандарту GSM вообще удалось выйти за пределы Европы и по сути завоевать весь мир: по некоторым оценкам, пользователи GSM составляют свыше половины абонентов сотовых сетей во всем мире.
GSM получил прописку на всех континентах и проник - в виде GSM 1800 - даже в Америку. Конечно, успех любой технологии определяется не только (а часто и не столько) ее техническими достоинствами, но в случае GSM они сыграли немаловажную роль. Еще в начале 80-х гг., когда сотовая связь только-только зарождалась, европейские правительства и операторы создали рабочую группу Group Special Mobile для разработки общеевропейского стандарта сотовой связи, причем с самого начала они ориентировались на цифровую связь, хотя в то время эффективных алгоритмов сжатия речи еще не было. Разработка стандарта заняла без малого десять лет, и первые коммерческие сети появились только в самом начале 90-х гг. Однако в то время на американском рынке доминировали аналоговые системы AMPS, а по сравнению с ними GSM был гигантским шагом вперед.
Как цифровая технология, помимо передачи речи GSM может поддерживать и передачу данных. Прежде всего, это широко доступная для абонентов GSM служба коротких сообщений (Short Message Service, SMS), причем сообщения (длиной до 160 байт) могут передаваться в обоих направлениях. SMS может использоваться, например, для автоматического оповещения администратора о каких-либо событиях в сети, так как сообщения могут отправляться не только с телефона на телефон, но и через Internet. При наличии модема сотовый телефон может использоваться для передачи файлов с компьютера и других подобных целей. Конечно, скорость передачи при этом небольшая, да и обходится это не дешево, но для нас важно наличие принципиальной возможности, тем более что скорости увеличиваются - с 9,6 до 14,4 Кбит/с, а в скором времени - и свыше сотни килобит в секунду, а цены падают. Кроме того, в определенных ситуациях деньги отходят на второй план.
Новое поколение сотовых телефонов оснащается микроброузерами, так что их можно непосредственно использовать для чтения сообщений электронной почты, просмотра информации Web и т. п. Все это ведет к тому, что сотовые телефоны становятся такими же компонентами корпоративной сети, как, например, PDA, тем более что некоторые производители совмещают функции обоих в одном устройстве
Теперь рассмотрим основные элементы структуры сети GSM. Мобильные терминалы взаимодействуют посредством радиоинтерфейса с подсистемой базовой станции (Base Station Sub-system), которая включает в себя два основных элемента: Base Tranceiver Station (BTS) и Base Station Controler (BSC). Первый из них - это комплекс передатчиков, определяющий элементарную соту сети. Второй - управляющее оборудование, заведующее инициализацией каналов и алгоритмом частотных скачков. Одна BSC может обслуживать сразу несколько BTS, что позволяет разбивать зону обслуживания на более мелкие соты, обмен данными между которыми происходит по стандартному интерфейсу Abis. Вообще максимальное использование стандартизированных протоколов необходимо, чтобы не было зависимости операторов от одного поставщика оборудования. Все BSC-подсистемы базовой станции связаны с (NSS) Network Subsystem, где Mobile services Switching Center (MSC), выполняет функции коммутатора как для соединений в рамках своей зоны обслуживания, так и при взаимодействии с общественными сетями (PSTN, ISDN и т. д.). MSC всвоейработепользуетсяуслугамичетырехдругихкомпонентовподсистемы: Home Location Register (HLR), Visitor Location Register (VLR), Equipment Identity Register (EIR) и Authentication Center (AuC). Первые два отвечают за функции учета и контроля: HLR содержит информацию обо всех подписчиках, зарегистрированных в сети оператора, а VLR оперирует подмножеством данных из HLR (сведения о пользователях, в настоящий момент находящихся в зоне ответственности определенного MSC). Другие два регистра обеспечивают хранение различных идентификционных данных: EIR - описывает все зарегистрированные в сети мобильные терминалы согласно регистру International Mobile Equipment Identity (IMEI), AuC - содержит базу секретных ключей SIM-карт подписчиков.
Обмен данными между всеми компонентами сетевой подсистемы регламентируется стандартом Signalling System 7. Необходимо отметить, что большинство производителей интегрирует VLR с MSC.
Основная идея General Packet Radio Service состоит в максимальном использовании пакетной идеологии современных цифровых сетей. Учитывая опыт Internet-коммуникаций, легко понять, что передача данных в подобной среде обычно носит неравномерный, взрывной характер. Коммутация на уровне пакетов позволяет гибко регулировать доступную пользователю пропускную способность в зависимости от текущей нагрузки на сеть, а значит, более эффективно использовать радиочастотные ресурсы. Согласно методике GPRS, каждый мобильный терминал может занять под свои данные более одного логического канала, соответственно наращивая пропускную способность соединения по формуле: 14,4 Kbps x колво каналов. Выделение радиоресурсов для передачи пакета будет происходить достаточно быстро, задержка не должна превышать 1 секунды. Таким образом, создается иллюзия постоянного подключения к сети.
К тому же, введение GPRS будет способствовать более бережливому и рациональному распределению радиочастотного ресурса, можно сказать, что "пакеты" данных предполагается передавать одновременно по многим каналам (именно в одновременном использовании нескольких каналов и заключается выигрыш в скорости) в паузах между передачей речи. И только в паузах - голосовой трафик имеет безусловный приоритет перед данными, так что скорость передачи информации определяется не только возможностями сетевого и абонентского оборудования, но и загрузкой сети. Подчеркну, что в GPRS ни один канал не занимается под передачу данных целиком - и это основное качественное отличие новой технологии от используемых ныне.
2. ЦИФРОВАЯ СОТОВАЯ СИСТЕМА ПОДВИЖНОЙ РАДИОСВЯЗИ СТАНДАРТА GSM
2.1 Общие характеристики стандарта GSM
В соответствии с рекомендацией СЕРТ 1980 г., касающейся использования спектра частот подвижной связи в диапазоне частот 862-960 МГц, стандарт GSM на цифровую общеевропейскую (глобальную) сотовую систему наземной подвижной связи предусматривает работу передатчиков в двух диапазонах частот: 890-915 МГц (для передатчиков подвижных станций - MS), 935-960 МГц (для передатчиков базовых станций - BTS) [1, 2].
В стандарте GSM используется узкополосный многостанционный доступ с временным разделением каналов (NB ТDМА). В структуре ТDМА кадра содержится 8 временных позиций на каждой из 124 несущих. Для защиты от ошибок в радиоканалах при передаче информационных сообщений применяется блочное и сверточное кодирование с перемежением. Повышение эффективности кодирования и перемежения при малой скорости перемещения подвижных станций достигается медленным переключением рабочих частот (SFH) в процессе сеанса связи со скоростью 217 скачков в секунду. Для борьбы с интерференционными замираниями принимаемых сигналов, вызванными многолучевым распространением радиоволн в условиях города, в аппаратуре связи используются эквалайзеры, обеспечивающие выравнивание импульсных сигналов со среднеквадратическим отклонением времени задержки до 16 мкс.
Система синхронизации рассчитана на компенсацию абсолютного времени задержки сигналов до 233 мкс, что соответствует максимальной дальности связи или максимальному радиусу ячейки (соты) 35 км.
В стандарте GSM выбрана гауссовская частотная манипуляция с минимальным частотным сдвигом (GMSK). Обработка речи осуществляется в рамках принятой системы прерывистой передачи речи (DTX), которая обеспечивает включение передатчика только при наличии речевого сигнала и отключение передатчика в паузах и в конце разговора. В качестве речепреобразующего устройства выбран речевой кодек с регулярным импульсным возбуждением/долговременным предсказанием и линейным предикативным кодированием с предсказанием (RPE/LTR-LTP-кодек). Общая скорость преобразования речевого сигнала - 13 кбит/с. В стандарте GSM достигается высокая степень безопасности передачи сообщений; осуществляется шифрование сообщений по алгоритму шифрования с открытым ключом (RSA).
В целом система связи, действующая в стандарте GSM, рассчитана на ее использование в различных сферах. Она предоставляет пользователям широкий диапазон услуг и возможность применять разнообразное оборудование для передачи речевых сообщений и данных, вызывных и аварийных сигналов; подключаться к телефонным сетям общего пользования (PSTN), сетям передачи данных (PDN) и цифровым сетям с интеграцией служб (ISDN). Основные характеристики стандарта GSM представлены в таблице 1.
Таблица 1 - Основные характеристики стандарта GSM
| Частоты передачи подвижной станции приема базовой станции, МГц |
890-915 |
| Частоты приема подвижной станции и передачи базовой станции, МГц |
935-960 |
| Дуплексный разнос частот приема и передачи, МГц |
45 |
| Скорость передачи сообщений в радиоканале, кбит/с |
270, 833 |
| Скорость преобразования речевого кодека, кбит/с |
13 |
| Ширина полосы канала связи, кГц |
200 |
| Максимальное количество каналов связи |
124 |
| Максимальное количество каналов, организуемых в базовой станции |
16-20 |
| Вид модуляции |
GMSK |
| Индекс модуляции |
ВТ 0,3 |
| Ширина полосы предмодуляционного гауссовского фильтра, кГц |
81,2 |
| Количество скачков по частоте в секунду |
217 |
| Временное разнесение в интервалах ТDМА кадра (передача/прием) для подвижной станции |
2 |
| Вид речевого кодека |
RPE/LTP |
| Максимальный радиус соты, км |
до 35 |
| Схема организации каналов комбинированная TDMA/FDMA |
2.2 Структурная схема и состав оборудования сетей связи
Функциональное построение и интерфейсы, принятые в стандарте GSM, иллюстрируются структурной схемой рис.1.1, на которой MSC (Mobile Switching Centre) - центр коммутации подвижной связи; BSS (Base Station System) - оборудование базовой станции; ОМС (Operations and Maintenance Centre) - центр управления и обслуживания; MS (Mobile Stations) - подвижные станции.
Функциональное сопряжение элементов системы осуществляется рядом интерфейсов. Все сетевые функциональные компоненты в стандарте GSM взаимодействуют в соответствии с системой сигнализации МККТТ SS N 7 (CCITT SS. N 7).
Рис. 1.1 – Структурная схема сотовой системы стандарта GSM
Центр коммутации подвижной связи обслуживает группу сот и обеспечивает все виды соединений, в которых нуждается в процессе работы подвижная станция. MSC аналогичен ISDN коммутационной станции и представляет собой интерфейс между фиксированными сетями (PSTN, PDN, ISDN и т.д.) и сетью подвижной связи. Он обеспечивает маршрутизацию вызовов и функции управления вызовами. Кроме выполнения функций обычной ISDN коммутационной станции, на MSC возлагаются функции коммутации радиоканалов. К ним относятся "эстафетная передача", в процессе которой достигается непрерывность связи при перемещении подвижной станции из соты в соту, и переключение рабочих каналов в соте при появлении помех или неисправностях.
Каждый MSC обеспечивает обслуживание подвижных абонентов, расположенных в пределах определенной географической зоны (например, Москва и область). MSC управляет процедурами установления вызова и маршрутизации. Для телефонной сети общего пользования (PSTN) MSC обеспечивает функции сигнализации по протоколу SS N 7, передачи вызова или другие виды интерфейсов в соответствии с требованиями конкретного проекта. MSC формирует данные, необходимые для выписки счетов за предоставленные сетью услуги связи, накапливает данные по состоявшимся разговорам и передает их в центр расчетов (биллинг-центр). MSC составляет также статистические данные, необходимые для контроля работы и оптимизации сети. MSC поддерживает также процедуры безопасности, применяемые для управления доступами к радиоканалам.
MSC не только участвует в управлении вызовами, но также управляет процедурами регистрации местоположения и передачи управления, кроме передачи управления в подсистеме базовых станций (BSS). Регистрация местоположения подвижных станций необходима для обеспечения доставки вызова перемещающимся подвижным абонентам от абонентов телефонной сети общего пользования или других подвижных абонентов. Процедура передачи вызова позволяет сохранять соединения и обеспечивать ведение разговора, когда подвижная станция перемещается из одной зоны обслуживания в другую. Передача вызовов в сотах, управляемых одним контроллером базовых станций (BSC), осуществляется этим BSC. Когда передача вызовов осуществляется между двумя сетями, управляемыми разными BSC, то первичное управление осуществляется в MSC. В стандарте GSM также предусмотрены процедуры передачи вызова между сетями (контроллерами), относящимися к разным MSC. Центр коммутации осуществляет постоянное слежение за подвижными станциями, используя регистры положения (HLR) и перемещения (VLR). В HLR хранится та часть информации о местоположении какой-либо подвижной станции, которая позволяет центру коммутации доставить вызов станции. Регистр HLR содержит международный идентификационный номер подвижного абонента (IMSI). Он используется для опознавания подвижной станции в центре аутентификации (AUC) (рис. 1.2, 1.3).
 |
Рисунок 1.2. – Состав долговременных данных в HLR, VLR
Функциональное сопряжение элементов системы осуществляется рядом интерфейсов. Все сетевые функциональные компоненты в стандарте GSM взаимодействуют в соответствии с системой сигнализации МККТТ SS N 7 (CCITT SS. N 7).
Практически HLR представляет собой справочную базу данных о постоянно прописанных в сети абонентах. В ней содержатся опознавательные номера и адреса, а также параметры подлинности абонентов, состав услуг связи, специальная информация о маршрутизации. Ведется регистрация данных о роуминге (блуждании) абонента, включая данные о временном идентификационном номере подвижного абонента (TMSI) и соответствующем VLR.
К данным, содержащимся в HLR, имеют дистанционный доступ все MSC и VLR сети и, если в сети имеются несколько HLR, в базе данных содержится только одна запись об абоненте, поэтому каждый HLR представляет собой определенную часть общей базы данных сети об абонентах. Доступ к базе данных об абонентах осуществляется по номеру IMSI или MSISDN (номеру подвижного абонента в сети ISDN). К базе данных могут получить доступ MSC или VLR, относящиеся к другим сетям, в рамках обеспечения межсетевого роуминга абонентов.
Второе основное устройство, обеспечивающее контроль за передвижением подвижной станции из зоны в зону, - регистр перемещения VLR. С его помощью достигается функционирование подвижной станции за пределами зоны, контролируемой HLR. Когда в процессе перемещения подвижная станция переходит из зоны действия одного контроллера базовой станции BSC, объединяющего группу базовых станций, в зону действия другого BSC, она регистрируется новым BSC, и в VLR заносится информация о номере области связи, которая обеспечит доставку вызовов под состав временных данных, хранящихся в HLR и VLR (рис.1.3).
Практически HLR представляет собой справочную базу данных о постоянно прописанных в сети абонентах. В ней содержатся опознавательные номера и адреса, а также параметры подлинности абонентов, состав услуг связи, специальная информация о маршрутизации. Ведется регистрация данных о роуминге (блуждании) абонента, включая данные о временном идентификационном номере подвижного абонента (TMSI) и соответствующем VLR.

Рисунок 1.3 - Состав временных данных, хранящихся в HLR и VLR
К данным, содержащимся в HLR, имеют дистанционный доступ все MSC и VLR сети и, если в сети имеются несколько HLR, в базе данных содержится только одна запись об абоненте, поэтому каждый HLR представляет собой определенную часть общей базы данных сети об абонентах. Доступ к базе данных об абонентах осуществляется по номеру IMSI или MSISDN (номеру подвижного абонента в сети ISDN). К базе данных могут получить доступ MSC или VLR, относящиеся к другим сетям, в рамках обеспечения межсетевого роуминга абонентов.
Второе основное устройство, обеспечивающее контроль за передвижением подвижной станции из зоны в зону, - регистр перемещения VLR. С его помощью достигается функционирование подвижной станции за пределами зоны, контролируемой HLR. Когда в процессе перемещения подвижная станция переходит из зоны действия одного контроллера базовой станции BSC, объединяющего группу базовых станций, в зону действия другого BSC, она регистрируется новым BSC, и в VLR заносится информация о номере области связи, которая обеспечит доставку вызовов подвижной станции. Для сохранности данных, находящихся в HLR и VLR, в случае сбоев предусмотрена защита устройств памяти этих регистров. VLR содержит такие же данные, как и HLR, однако эти данные содержатся в VLR только до тех пор, пока абонент находится в зоне, контролируемой VLR.
В сети подвижной связи GSM соты группируются в географические зоны (LA), которым присваивается свой идентификационный номер (LAC). Каждый VLR содержит данные об абонентах в нескольких LA. Когда подвижный абонент перемещается из одной LA в другую, данные о его местоположении автоматически обновляются в VLR. Если старая и новая LA находятся под управлением различных VLR, то данные на старом VLR стираются после их копирования в новый VLR. Текущий адрес VLR абонента, содержащийся в HLR, также обновляется.
VLR обеспечивает также присвоение номера "блуждающей" подвижной станции (MSRN). Когда подвижная станция принимает входящий вызов, VLR выбирает его MSRN и передает его на MSC, который осуществляет маршрутизацию этого вызова к базовым станциям, находящимся рядом с подвижным абонентом.
VLR также распределяет номера передачи управления при передаче соединений от одного MSC к другому. Кроме того, VLR управляет распределением новых TMSI и передает их в HLR. Он также управляет процедурами установления подлинности во время обработки вызова. По решению оператора TMSI может периодически изменяться для усложнения процедуры идентификации абонентов. Доступ к базе данных VLR может обеспечиваться через IMSI, TMSI или MSRN. В целом VLR представляет собой локальную базу данных о подвижном абоненте для той зоны, где находится абонент, что позволяет исключить постоянные запросы в HLR и сократить время на обслуживание вызовов.
Для исключения несанкционированного использования ресурсов системы связи вводятся механизмы аутентификации - удостоверения подлинности абонента. Центр аутентификации состоит из нескольких блоков и формирует ключи и алгоритмы аутентификации. С его помощью проверяются полномочия абонента и осуществляется его доступ к сети связи. AUC принимает решения о параметрах процесса аутентификации и определяет ключи шифрования абонентских станций на основе базы данных, сосредоточенной в регистре идентификации оборудования (EIR - Equipment Identification Register).
Каждый подвижный абонент на время пользования системой связи получает стандартный модуль подлинности абонента (SIM), который содержит: международный идентификационный номер (IMSI), свой индивидуальный ключ аутентификации (Ki), алгоритм аутентификации (A3).
С помощью записанной в SIM информации в результате взаимного обмена данными между подвижной станцией и сетью осуществляется полный цикл аутентификации и разрешается доступ абонента к сети. Процедура проверки сетью подлинности абонента реализуется следующим образом. Сеть передает случайный номер (RAND) на подвижную станцию. На ней с помощью Ki и алгоритма аутентификации A3 определяется значение отклика (SRES), т.е.
SRES = Ki * [ RAND] (2.1)
Подвижная станция посылает вычисленное значение SRES в сеть, которая сверяет значение принятого SRES со значением SRES, вычисленным сетью. Если оба значения совпадают, подвижная станция приступает к передаче сообщений. В противном случае связь прерывается, и индикатор подвижной станции показывает, что опознавание не состоялось. Для обеспечения секретности вычисление SRES происходит в рамках SIM. Несекретная информация (например, Ki) не подвергается обработке в модуле SIM.
EIR - регистр идентификации оборудования, содержит централизованную базу данных для подтверждения подлинности международного идентификационного номера оборудования подвижной станции (1МЕ1). Эта база данных относится исключительно к оборудованию подвижной станции. База данных EIR состоит из списков номеров 1МЕ1, организованных следующим образом:
Белый список - содержит номера 1МЕ1, о которых есть сведения, что они закреплены за санкционированными подвижными станциями.
Черный список - содержит номера 1МЕ1 подвижных станций, которые украдены или которым отказано в обслуживании по другой причине.
Серый список - содержит номера 1МЕ1 подвижных станций, у которых существуют проблемы, выявленные по данным программного обеспечения, что не является основанием для внесения в "черный список".
К базе данных EIR получают дистанционный доступ MSC данной сети, а также MSC других подвижных сетей. Как и в случае с HLR, сеть может иметь более одного EIR, при этом каждый EIR управляет определенными группами 1МЕ1. В состав MSC входит транслятор, который при получении номера 1МЕ1 возвращает адрес EIR, управляющий соответствующей частью базы данных об оборудовании.
IWF - межсетевой функциональный стык, является одной из составных частей MSC. Он обеспечивает абонентам доступ к средствам преобразования протокола и скорости передачи данных так, чтобы можно было передавать их между его терминальным оборудованием (DIE) сети GSM и обычным терминальным оборудованием фиксированной сети. Межсетевой функциональный стык также "выделяет" модем из своего банка оборудования для сопряжения с соответствующим модемом фиксированной сети. IWF также обеспечивает интерфейсы типа прямого соединения для оборудования, поставляемого клиентам, например, для пакетной передачи данных PAD по протоколу Х.25.
ЕС - эхоподавитель, используется в MSC со стороны PSTN для всех телефонных каналов (независимо от их протяженности) из-за физических задержек в трактах распространения, включая радиоканал, сетей GSM. Типовой эхоподавитель может обеспечивать подавление в интервале 68 миллисекунд на участке между выходом ЕС и телефоном фиксированной телефонной сети. Общая задержка в канале GSM при распространении в прямом и обратном направлениях, вызванная обработкой сигнала, кодированием/декодированием речи, канальным кодированием и т.д., составляет около 180 мс. Эта задержка была бы незаметна подвижному абоненту, если бы в телефонный канал не был включен гибридный трансформатор с преобразованием тракта с двухпроводного на четырехпроводный режим, установка которого необходима в MSC, так как стандартное соединение с PSTN является двухпроводным. При соединении двух абонентов фиксированной сети эхо-сигналы отсутствуют. Без включения ЕС задержка от распространения сигналов в тракте GSM будет вызывать раздражение у абонентов, прерывать речь и отвлекать внимание.
ОМС - центр эксплуатации и технического обслуживания, является центральным элементом сети GSM, который обеспечивает контроль и управление другими компонентами сети и контроль качества ее работы. ОМС соединяется с другими компонентами сети GSM по каналам пакетной передачи протокола Х.25. ОМС обеспечивает функции обработки аварийных сигналов, предназначенных для оповещения обслуживающего персонала, и регистрирует сведения об аварийных ситуациях в других компонентах сети. В зависимости от характера неисправности ОМС позволяет обеспечить ее устранение автоматически или при активном вмешательстве персонала. ОМС может обеспечить проверку состояния оборудования сети и прохождения вызова подвижной станции. ОМС позволяет производить управление нагрузкой в сети. Функция эффективного управления включает сбор статистических данных о нагрузке от компонентов сети GSM, записи их в дисковые файлы и вывод на дисплей для визуального анализа. ОМС обеспечивает управление изменениями программного обеспечения и базами данных о конфигурации элементов сети. Загрузка программного обеспечения в память может производиться из ОМС в другие элементы сети или из них в ОМС.
NMC - центр управления сетью, позволяет обеспечивать рациональное иерархическое управление сетью GSM. Он обеспечивает эксплуатацию и техническое обслуживание на уровне всей сети, поддерживаемой центрами ОМС, которые отвечают за управление региональными сетями. NMC обеспечивает управление трафиком во всей сети и обеспечивает диспетчерское управление сетью при сложных аварийных ситуациях, как например, выход из строя или перегрузка узлов. Кроме того, он контролирует состояние устройств автоматического управления, задействованных в оборудовании сети, и отражает на дисплее состояние сети для операторов NMC. Это позволяет операторам контролировать региональные проблемы и, при необходимости, оказывать помощь ОМС, ответственному за конкретный регион. Таким образом, персонал NMC знает состояние всей сети и может дать указание персоналу ОМС изменить стратегию решения региональной проблемы.
NMC концентрирует внимание на маршрутах сигнализации и соединениях между узлами с тем, чтобы не допускать условий для возникновения перегрузки в сети. Контролируются также маршруты соединений между сетью GSM и PSTN во избежание распространения условий перегрузки между сетями. При этом персонал NMC координирует вопросы управления сетью с персоналом других NMC. NMC обеспечивает также возможность управления трафиком для сетевого оборудования подсистемы базовых станций (BSS). Операторы NMC в экстремальных ситуациях могут задействовать такие процедуры управления, как "приоритетный доступ", когда только абоненты с высоким приоритетом (экстренные службы) могут получить доступ к системе. NMC может брать на себя ответственность в каком-либо регионе, когда местный ОМС является необслуживаемым, при этом ОМС действует в качестве транзитного пункта между NMC и оборудованием сети. NMC обеспечивает операторов функциями, аналогичными функциям ОМС. NMC является также важным инструментом планирования сети, так как NMC контролирует сеть и ее работу на сетевом уровне, а, следовательно, обеспечивает планировщиков сети данными, определяющими ее оптимальное развитие.
BSS - оборудование базовой станции, состоит из контроллера базовой станции (BSC) и приемо-передающих базовых станций (BTS). Контроллер базовой станции может управлять несколькими приемо-передающими блоками. BSS управляет распределением радиоканалов, контролирует соединения, регулирует их очередность, обеспечивает режим работы с прыгающей частотой, модуляцию и демодуляцию сигналов, кодирование и декодирование сообщений, кодирование речи, адаптацию скорости передачи для речи, данных и вызова, определяет очередность передачи сообщений персонального вызова.
BSS совместно с MSC, HLR, VLR выполняет некоторые функции, например: освобождение канала, главным образом, под контролем MSC, но MSC может запросить базовую станцию обеспечить освобождение канала, если вызов не проходит из-за радиопомех. BSS и MSC совместно осуществляют приоритетную передачу информации для некоторых категорий подвижных станций.
ТСЕ- транскодер, обеспечивает преобразование выходных сигналов канала передачи речи и данных MSC (64 кбит/с ИКМ) к виду, соответствующему рекомендациям GSM по радиоинтерфейсу. В соответствии с требованиями скорость передачи речи, представленной в цифровой форме, составляет 13 кбит/с. Этот канал передачи цифровых речевых сигналов называется "полноскоростным". Стандартом предусматривается в перспективе использование полускоростного речевого канала (скорость передачи 6,5 кбит/с). Снижение скорости передачи обеспечивается применением специального речепреобразующего устройства, использующего линейное предикативное кодирование (LPC), долговременное предсказание (LTP), остаточное импульсное возбуждение (RPE - иногда называется RELP).
Транскодер обычно располагается вместе с MSC, тогда передача цифровых сообщений в направлении к контроллеру базовых станций - BSC ведется с добавлением к потоку со скоростью передачи 13 кбит/с, дополнительных битов (стафингование) до скорости передачи данных 16 кбит/с. Затем осуществляется уплотнение с кратностью 4 в стандартный канал 64 кбит/с. Так формируется определенная Рекомендациями GSM ЗО-канальная ИКМ линия, обеспечивающая передачу 120 речевых каналов. Шестнадцатый канал (64 кбит/с), "временное окно", выделяется отдельно для передачи информации сигнализации и часто содержит трафик SS N7 или LAPD. В другом канале (64 кбит/с) могут передаваться также пакеты данных, согласующиеся с протоколом X.25 МККТТ.
Таким образом, результирующая скорость передачи по указанному интерфейсу составляет 30х64 кбит/с + 64 кбит/с + 64 кбит/с = 2048 кбит/с.
MS - подвижная станция, состоит из оборудования, которое служит для организации доступа абонентов сетей GSM к существующим фиксированным сетям электросвязи. В рамках стандарта GSM приняты пять классов подвижных станций от модели 1-го класса с выходной мощностью 20 Вт, устанавливаемой на транспортном средстве, до портативной модели 5-го класса, максимальной мощностью 0,8 Вт (табл. 1.2). При передаче сообщений предусматривается адаптивная регулировка мощности передатчика, обеспечивающая требуемое качество связи.
Подвижный абонент и станция независимы друг от друга. Как уже отмечалось, каждый абонент имеет свой международный идентификационный номер (IMSI), записанный на его интеллектуальную карточку. Такой подход позволяет устанавливать радиотелефоны, например, в такси и автомобилях, сдаваемых на прокат. Каждой подвижной станции также присваивается свой международный идентификационный номер (1МЕ1). Этот номер используется для предотвращения доступа к сетям GSM похищенной станции или станции без полномочий [1].
Таблица 1.2
| Класс мощности |
Максимальный уровень мощности передатчика |
Допустимые отклонения |
| 1 |
20 Вт |
1,5 дБ |
| 2 |
8 Вт |
1,5 дБ |
| 3 |
5 Вт |
1,5 дБ |
| 4 |
2 Вт |
1,5 дБ |
| 5 |
0,8 Вт |
1,5 дБ |
2.3 Расчет повторного использования частот. Отношение интерференции Коченела
Каждая из ячеек обслуживается своим передатчиком с невысокой выходной мощностью и ограниченным числом каналов связи. Это позволяет без помех использовать повторно частоты каналов этого передатчика в другой, удаленной на значительное расстояние, ячейке. Теоретически такие передатчики можно использовать и в соседних ячейках. Но на практике зоны обслуживания сот могут перекрываться под действием различных факторов, например, вследствие изменения условий распространения радиоволн. Поэтому в соседних ячейках используются различные частоты. Пример построения сот при использовании трех частот F1 - F3 представлен на рис.3.1.
Рисунок 3.1 – Построение сот для трех частот
Группа сот с различными наборами частот называется кластером. Определяющим его параметром является количество используемых в соседних сотах частот. На рис.3.1, например, размерность кластера равна трем. Но на практике это число может достигать пятнадцати.
Рассмотрим расчет для трех разных случаев, когда коэффициент повторного использования частот N=4, 7 и 12.
Отношение сигнал/шум выражается в виде [12]:
, (3.1)
В полной шестигранной сотовой системе, всегда шесть интерферирующих коченелов в сотах в первом ряду (т.е. N=6, рис.3.1). Большинство интерференции коченелов, результат из первого ряда. Способствование со следующих высших рядов количественно меньше 1% от общей интерференции, следовательно, не влияет. Интерференция коченела, может быть с обеих сторон соты. В маленькой системе соты, интерференция будет доминирующим фактором и тепловым шумом можно пренебречь. Соответственно, отношение сигнал/шум [12]:
, (3.2)
где, - распространение части потерь углового коэффициента и g зависит от места расположения окружающей среды.
Если предположить для упрощения, что Dk
одинаково для 6 интерферирующих сот или D=Dk
, то (3.2) преобразуется :
, (3.3)
где, , (3.4)
Для системы аналог, использующей FM, стандартный метод сотовой системы определяет отношение сигнал/шум равный 18дБ или выше, основанных на субъективных тестах. Отношение сигнал/шум равный 18дБ это измеренная величина допускаемое к голосовому качеству на сегодняшний день в приемниках сотовой системы.
Используя отношение сигнал/шум равное 18дБ (т.е. 63.1) и g =4, то (3.4) преобразуется:
, (3.5)
Число сот,
, (3.6)
Формула (3.6) означает, что 7-я сота конфигурации повторного использования нуждается в отношении дБ.
Полагаем, что сотовая система в целом с 395, размещенных голосовых каналов частот. Если трафик неизменный в среднем с временем разговора 120 секунд и задержкой 2%, когда сотовая система занята в течении часа.
1) Количество звонков в час в соте
2) Значение отношения в соте с коэффициентом повторного использования равным 4, 7 и 12.
Предположим, всенаправленную антенну с 6 интерференциями в первом ряду и угловой коэффициент потерь равен 40дБ/декада (g=4).
Для коэффициента повторного использования N=4, количество голосовых каналов в соте равняется:
,
,
Используя таблицу Erlang-B для 99 каналов с 2% задержки, Приложение А,
найдем трафик загрузки 87 Эрланга. Предложенная загрузка:
Эрланга,
N звонков/час в соте × 120 секунд
3600 секунд = 85.26,
N звонков/часв соте = 85.26 × 30 =2558
Используя (3.3), можно вычислить значение отношения :
дБ.
Для коэффициента повторного использования N=7, количество голосовых каналов в соте равняется:
,
,
Используя таблицу Erlang-B для 56 каналов с 2% задержки, Приложение А,
найдем трафик загрузки 45.88 Эрланга. Предложенная загрузка:
Эрланга,
N звонков/час в соте × 120 секунд
3600 секунд = 44.96,
N звонков/часв соте = 44.96 × 30 =1349
Используя (3.3), можно вычислить значение отношения :
75=18.7дБ.
Для коэффициента повторного использования N=12, количество голосовых каналов в соте равняется:
33,
,
Используя таблицу Erlang-B для 33 каналов с 2% задержки, Приложение А,
найдем трафик загрузки 24.63 Эрланга. Предложенная загрузка:
Эрланга,
N звонков/час в соте × 120 секунд
3600 секунд = 24.14,
N звонков/часв соте = 24.14 × 30 = 724
Используя (3), можно вычислить значение отношения :
дБ.
Полученные данные сведем в таблицу 3.1.
| Коэф. повторного использования |
NГОЛ.КАН.
в соте
|
Звонки в час в соте |
,дБ |
| 4 |
99 |
2558 |
14.0 |
| 7 |
56 |
1349 |
18.7 |
| 12 |
33 |
724 |
23.3 |
Таблица 3.1.
По полученным результатам, очевидно, что с увеличением номера коэффициента повторного использования частоты с N=4 до N=12, значение отношения сигнал/шум увеличилось с 14дБ до 23.3дБ, т.е. 66.4% улучшения.
Но емкость в соте для звонка уменьшилась с 2558 до 724 звонков в час, т.е. на 72% снижение.
2.4 Расчет зон обслуживания
Исходные данные для расчета
Номинальная мощность передатчика БС, Рн
25 Вт
Средняя рабочая частота, f960 МГц
Высота приемной антенны,h2
1,4 м
Требуемая напряженность поля сигнала в пункте
приема АС, ЕС
39 дБ
Рельеф местности в зоне обслуживания
Dh1
15 м
Dh2
50 м
Затухание в фильтрах и антенных разделителях, Вф
9дБ
2.4.1 Расчет дальности между базовой станцией (БС) и мобильной абонентской станцией (АС) системы подвижной радиосвязи (радиус зоны 1)
Поскольку высота передающей антенны не задана, будем задаваться различными высотами антенн, чтобы определить радиус обслуживания с тем, чтобы выбрать подходящий вариант размещения БС с учетом местных условий. Задаемся высотами антенны БС:
h1
=20, 40, 60 м.
Выбираем тип кабеля.
Кабель выбирается таким образом, чтобы его затухание на данной частоте было минимальным.
Тип кабеля: RG6 - коаксиальный кабель с двойной оплеткой
Параметры:
волновое сопротивление rф
=70 Ом;
затухание a=0,2 дБ/м.
Определим затухание фидера, связанное с увеличением его длины на БС для всех высот [3].
Вф
=a×lф
(дб), (4.1)
где lф
=20, 40, 60 м. – длина фидера.
Длина фидера выбирается из того условия, что аппаратура располагается у основания мачты антенны и принимается равной высоте антенны.
Вф
=0,2×20 = 4 дБ,
Вф
=0,2×40 = 8 дБ,
Вф
=0,2×60 = 12 дБ,
Полученные данные занесем в таблицу 1.
Таблица 1.
| Высота передающей антенны h1
, м |
Затухание фидера
,дБ
|
| 20 |
4 |
| 40 |
8 |
| 60 |
12 |
Выбираем тип антенны БС.
Направленная (секторная) антенна.
Параметры:
раскрыв диаграмма направленности QЕ
=60°
коэффициент усиления Dy=16дБ.
Рассчитаем поправку, которая учитывает отличие номинальной мощности передатчика от мощности 1кВт.
, (4.2)
Рассчитаем поправку, учитывающую высоту приемной антенны отличную от 1,5 м.
, (4.3)
Определим поправку, учитывающую рельеф местности следующим образом. График для определения поправки, учитывающей рельеф местности, приведен на рисунке 1. Чтобы определить колебание уровня местности Dh, рисуют рельеф местности и определяют колебание Dh (пример на рисунке 1.а.). Когда Dh отличается от 20 м в ту или другую сторону, следует вносить поправки, определяемые по графикам рисунка 1.б. и рисунка 1.в. Причем коэффициент Врел
определим, интерполируя между графиками рисунка 4.1.б. и рисунка 4.1.в [3] для r<100км.
 
Рисунок 4.1. График для определения поправки, учитывающей рельеф местности.
Тогда поправки для данного случая будут равны:
Врел
D
h
1
= - 6 дБ. Врел
D
h
2
= 0 дБ.
Напряженность поля реально создаваемая передающей станцией БС в пункте приема АС.
Основная расчетная формула:
Е=Ес
+Врн
+Вф
+Вh
2
+Врел
+(a*lф
)-Dy, (4.4)
Расчет ведется для всех высот передающей антенны БС и результаты расчета сводятся в таблицу 4.2.
По графику на рисунке 4.2 определяем ожидаемую дальность связи для рассчитанных напряженностей поля при различных высотах передающей антенны БС. Результаты заносим в таблицу 4.2.
Для Врел
D
h
1
= - 6 дБ.
Е=39+16+9+0,3-6+(0,2*20)-16=46,3дБ,
Е=39+16+9+0,3-6+(0,2*40)-16=50,3дБ,
Е=39+16+9+0,3-6+(0,2*60)-16=54,3дБ.
Для Врел
D
h
2
= 0 дБ.
Е=39+16+9+0,3-0+(0,2*20)-16=52,3дБ,
Е=39+16+9+0,3-0+(0,2*40)-16=56,3дБ,
Е=39+16+9+0,3-0+(0,2*60)-16=60,3дБ.
Таблица 4.2
Высота передающей антенны , м |
Dh1
|
Dh2
|
| Напряженность поля E, дБ |
Ожидаемая дальность связи r, км |
Напряженность поля E, дБ |
Ожидаемая дальность связи r, км |
| 20 |
46,3 |
7,0 |
52,3 |
4,5 |
| 40 |
50,3 |
6,0 |
56,3 |
4,2 |
| 60 |
54,3 |
5,5 |
60,3 |
4,0 |

Рисунок 4.2 – Кривые для определения дальности связи.
Выбор высоты передающей антенны БС.
Высота антенны h1
выбирается таким образом, чтобы при лучшем варианте Dh1
и при худшем Dh2
получить оптимальную дальность связи, при условии, что расстояние между БС и АС стремится к максимальному, а затраты на кабельное оборудование незначительны.
При расчете принимаем, что оборудование БС остается у основания опоры, а длина антенного фидера lф
увеличивается с ростом h1
, увеличивая общее затухание фидера.
Из выше изложенных условий выбираем высоту антенны:
h1
=20 м, при этом дальность связи составляет 7,0 км в случае, когда рельеф местности Dh1
=15 м.
2.4.2 Расчет дальности между базовой станцией (БС) и мобильной абонентской станцией (АС) системы подвижной радиосвязи при ухудшении параметров СПР (радиус зоны 2)
Расчет ведем для h1
=20м учитывая, что напряженность поля Ес2
в пункте приема на 9дБ меньше, чем в зоне 1:
Для Dh1,
h1
=20 м, Ес1
= 46,3
Ес2
= Ес1
-9=46,3-9 = 37,3 дБ, (4.4)
Для Dh2,
h1
=20 м, Ес1
=52,3
Ес2
= Ес1
-9=52,3-9 = 43,3 дБ, (4.5)
Полученное значение подставим в формулу:
Е=Ес
+Врн
+Вф
+Вh
2
+Врел
+(a*lф
)-Dy, (4.6)
Е=37,3+16+9+0,3-6+(0,2*20)-16=44,6дБ,
Е=43,3+16+9+0,3-0+(0,2*20)-16=56,6дБ.
Тогда напряженность поля реально создаваемая передающей станцией БС в пункте приема АС и ожидаемая дальность связи (определенная по графику рисунка 4.2) будут равны.
Таблица 4.3
Высота передающей антенны , м
|
Dh1
|
Dh2
|
| Напряженность поля E, дБ |
Ожидаемая дальность связи r′, км |
Напряженность поля E, дБ |
Ожидаемая дальность связи r′, км |
| 20 |
44,6 |
8 |
56,6 |
3,9 |
Ширина зоны 2 определяется по формуле:
r″=r′–r , (4.7)
Таблица 4.4
2.4.3 Расчет дальности между центральной станцией (ЦС) и базовой станцией (БС) (радиус зоны 1)
Для расчета принимаем следующие высоты антенн:
h1
= h2
=20м.
Рассчитаем поправку, учитывающую высоту приемной антенны отличную от 1,5 м.
, (4.8)
Напряженность поля реально создаваемая передающей станцией ЦС в пункте приема.
Определяем требуемую напряженность поля двух типов антенн.
Cемиэлиментная антенна типа “Волновой канал”.
Параметры:
раскрыв диаграмма направленности QЕ
=55°
коэффициент усиления Dy=8дБ.
Значения требуемого сигнала для зоны 1 и 2 берем такие же, как и в техническом задании.
Основная расчетная формула:
Е=Ес
+Врн
+Вф
+Вh
2
+Врел
+ (a*lф
)пр
+ (a*lф
)прм
– Dyпр
- Dyпрм ,
(4.9)
По графику на рисунке 2 определяем ожидаемую дальность связи для рассчитанных напряженностей поля. Результаты заносим в таблицу 4.5
Dh1
: Е = 39 + 16 + 9 –11,2 - 6 + 8 – 16 - 8 = 30,8 дБ R=18 км
Dh2
: Е = 39 + 16 + 9 –11,2 - 0 + 8 – 16 - 8 = 36,8 дБ R=14 км
Таблица 4.5
| Dh1
|
Dh2
|
Затухание фидера ,дБ |
Напряженность поля E, дБ |
Ожидаемая дальность связи r, км |
Напряженность поля E, дБ |
Ожидаемая дальность связи r, км |
| 8 |
30,8 |
18 |
36,8 |
14 |
2.4.4 Расчет дальности между центральной станцией (ЦС) и базовой станцией (БС) при ухудшении параметров СПР (радиус зоны 2)
Расчет ведем учитывая, что напряженность поля Ес2
в пункте приема на 9дБ меньше, чем в зоне 1:
Ес2
= Ес1
-9, (4.10)
Dh1:
Ес2
= Ес1
-9 = 30,8-9=21,8 дБ.
Dh2:
Ес2
= Ес1
-9 = 36,8-9=27,8 дБ.
Полученное значение подставим в формулу:
Е=Ес2
+Врн
+Вф
+Вh
2
+Врел
+(a*lф
)пр
+(a*lф
)прм
-Dyпр
- Dyпрм
, (4.11)
Dh1
: Е = 21,8 + 16 + 9 - 11,2 - 6 + 8 – 16 - 8 = 13,6 дБ R=39 км
Dh2
: Е = 27,8 + 16 + 9 - 11,2 - 0 + 8 – 16 - 8 = 25,6 дБ R=23 км
Тогда напряженность поля реально создаваемая передающей станцией ЦС в пункте приема БС и ожидаемая дальность связи (определенная по графику рисунка 4.2) будут равны.
Таблица 4.6
| Dh1
|
Dh2
|
Затухание фидера
,дБ
|
Напряженность поля E, дБ |
Ожидаемая дальность связи r, км |
Напряженность поля E, дБ |
Ожидаемая дальность связи r, км |
| 8 |
13,6 |
39 |
26,6 |
23 |
В данной работе были рассчитаны напряженности поля для различных высот антенн и разных условий приема мобильной АС, с учетом всех основных параметров. Далее по кривым определения дальности связи были определены расстояния (радиусы) зон 1 и 2 для различных высот антенн БС. Оказалось, что высота антенны 20м - наиболее оптимальный вариант, т.к. обеспечивает приемлемую дальность связи, при наименьших затратах на кабель и установку мачты.
2.5 Модернизация сети GSM под GPRS
2.5.1 Общая характеристика GPRS
Одним из существенных недостатков сетей сотовой связи стандарта GSM на сегодняшний день является низкая скорость передачи данных (максимум 9.6 кбит/с). Да и сама организация этого процесса далека от совершенства - для передачи данных абоненту выделяется один голосовой канал, а биллинг осуществляется исходя из времени соединения (причем по тарифам, мало отличающимся от речевых).
Для высокоскоростной передачи данных посредством существующих GSM-сетей и была разработана GPRS (General Packet Radio Service - услуга пакетной передачи данных по радиоканалу). Необходимо отметить, что кроме повышения скорости (максимум составляет 171.2 кбит/с), новая система предполагает иную схему оплаты услуги передачи данных - при использовании GPRS расчеты будут производиться пропорционально объему переданной информации, а не времени, проведенному online. К тому же, введение GPRS будет способствовать более бережливому и рациональному распределению радиочастотного ресурса, можно сказать, что "пакеты" данных предполагается передавать одновременно по многим каналам (именно в одновременном использовании нескольких каналов и заключается выигрыш в скорости) в паузах между передачей речи. И только в паузах - голосовой трафик имеет безусловный приоритет перед данными, так что скорость передачи информации определяется не только возможностями сетевого и абонентского оборудования, но и загрузкой сети.
GPRS позволит ввести принципиально новые услуги, которые раньше не были доступны. Прежде всего это мобильный доступ к ресурсам Интернета с удовлетворяющей потребителя скоростью, мгновенным соединением и с очень выгодной системой тарификации. Например, при просмотре с помощью системы GPRS WEB-страницы в Интернете, мы можем изучать содержимое столько, сколько нам необходимо, поскольку платим только за принятую информацию и не платим за время нахождения в сети Интернет (не передавая данные, мы не занимаем каналы сети). При введении повременной оплаты на фиксированных телефонных линиях, тарифы на доступ в Интернет с мобильного GPRS-телефона будут еще более конкурентоспособны. Для тех абонентов, кто уже оценил удобство использования телефонов с WAP - броузером, внедрение технологии GPRS означает практически мгновенную загрузку WAP - страниц на экране телефона и более выгодную систему тарификации.
Для корпоративных пользователей система GPRS может послужить отличным инструментом для обеспечения безопасного и быстрого доступа сотрудников к корпоративным сетям предприятий, к почтовым, информационным серверам, удаленным базам данных. При этом появится возможность получать доступ к корпоративным сетям даже если абонент находится в сети другого GSM оператора, с которым организован GPRS-роуминг.
Технологии GPRS может применяться в системах телеметрии: устройство может быть все время подключено, не занимая при этом отдельный канал. Такая услуга может быть востребована службами охраны, банками для подключения банкоматов и в других областях, в том числе и промышленных. Технология GPRS позволит быстро передавать и получать большие объемы данных, видеоизображения, музыкальные файлы стандарта MP-3 и другую мультимедийную информацию.
В GPRS ни один канал не занимается под передачу данных целиком - и это основное качественное отличие новой технологии от используемых ныне. Разумеется, разработчики GPRS приложили все усилия для того, чтобы установка новой системы "поверх" существующих GSM-сетей оказалась как можно менее обременительной (и разорительной, что немаловажно) для операторов.
Рассмотрим подробнее, какие новые блоки и связи появляются в общей архитектуре системы сотовой связи стандарта GSM с внедрением GPRS, и пользовательское оборудование, способное работать с высокоскоростной пакетной передачей данных. Доработку GSM-сети для предоставления услуг высокоскоростной передачи данных GPRS можно условно разделить на две формы - программную и аппаратную. Если говорить о программном обеспечении, то оно нуждается в замене или обновлении практически всюду - начиная с реестров HLR-VLR и заканчивая базовыми станциями BTS. В частности, вводится режим многопользовательского доступа к временным кадрам каналов GSM, а в HLR, например, появляется новый параметр Mobile Station Multislot Capability (количество каналов, с которыми одновременно может работать мобильный телефон абонента).
2.5.2 Структурная схема и состав GPRS технологии
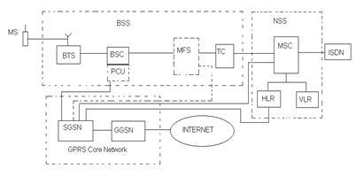
На рисунке 5.1 представлена структурная схема GPRS технологии, где изображены основные составляющие системы.

Рисунок 5.1 – Структурная схема модернизированной сети GSM под технологию GPRS
Ядро системы GPRS (GPRSCoreNetwork) состоит (рис.5.1) из двух основных блоков - SGSN (ServingGPRSSupportNode - узел поддержки GPRS) и GGPRS (GatewayGPRSSupportNode - шлюзовой узел GPRS). Остановимся на их функциях более подробно.
SGSN является “мозгом” рассматриваемой системы. В некотором роде SGSN можно назвать аналогом MSC - коммутатора сети GSM. SGSN контролирует доставку пакетов данных пользователям, взаимодействует с реестром собственных абонентов сети HLR, проверяя, разрешены ли запрашиваемые пользователями услуги, ведет мониторинг находящихся online пользователей, организует регистрацию абонентов вновь "проявившихся" в зоне действия сети и т.п. Так же как и MSC, SGSN, в системе может быть и не один - в этом случае каждый узел отвечает за свой участок сети. Например, SGSN производства компании Motorola имеет следующие характеристики: каждый узел поддерживает передачу до 2000 пакетов в секунду, одновременно контролирует до 10000 находящихся online пользователей. Всего же в системе может быть до 18 SGSN Motorola.
Предназначение GGSN можно понять из его названия - это шлюз между сотовой сетью (вернее, ее частью для передачи данных GPRS) и внешними информационными магистралями (Internet, корпоративными интранет-сетями, другими GPRS системами и так далее). Основной задачей GGSN, таким образом, является роутинг (маршрутизация) данных, идущих от и к абоненту через SGSN. Вторичными функциями GGSN является адресация данных, динамическая выдача IP-адресов, а также отслеживание информации о внешних сетях и собственных абонентах (в том числе тарификация услуг).
В GPRS-систему заложена хорошая масштабируемость - при появлении новых абонентов оператор может увеличивать число SGSN, а при эскалации суммарного трафика - добавлять в систему новые GGSN. Внутри ядра GPRS-системы (между SGSN и GGSN) данные передаются с помощью специального туннельного протокола GTP (GPRS Tunneling Protocol).
Еще одной составной частью системы GPRS является PCU (Packet Control Unit - устройство контроля пакетной передачи). PCU стыкуется с контроллером базовых станций BSC и отвечает за направление трафика данных непосредственно от BSC к SGSN.
Но есть и альтернатива такой модернизации, без изменений в контролере (BSC) например компания Alcatel предлагает решение AlcatelEVOLIUM™ MFS 9135 Multi-BSSFastpacketServer (на рис.5.1 обозначен как MFS пунктирной линией) — это специальный сервер GPRS, предназначенный для поддержки существующих базовых станций EvoliumBSS. Сервер располагается на площадке MSC или отдельным “рэком”, и поэтому его инсталляция требует только удаленной загрузки небольшого программного обеспечения без прерывания работы сети. Конструктивно сервер может состоять из одной или двух полок, вмещающих до 11 процессорных плат плюс 1 резервную каждая. В максимальной конфигурации сервер обслуживает 22 контроллера базовых станций (BSC) и обеспечивает одновременную обработку до 5280 каналов PDCH (Packet Data channels). В перспективе (при ориентации системы на мобильный Интернет) возможно добавление специального узла - IGSN (Internet GPRS Support Node - узел поддержки Интернет).
За управление и контроль GPRS-системы отвечает OMC-R/G (OperationandMaintenanceCenter - Radio/GSN - центр управления и обслуживания радио/узла GPRS. Это интерфейс между системой и обслуживающим ее персоналом.
Прежде чем приступить к работе с GPRS, мобильная станция, так же как и в обычном случае передачи голоса, должна зарегистрироваться в системе. Как уже было сказано, регистрацией ("прикреплением" (attachment) к сети) пользователей занимается SGSN. В случае успешного прохождения всех процедур (проверки доступности запрашиваемой услуги и копирования необходимых данных о пользователе из HLR в SGSN) абоненту выдается P-TMSI (Packet Temporary Mobile Subscriber Identity - временный номер мобильного абонента для пакетной передачи данных), аналогичный TMSI, который назначается мобильному телефону для передачи голоса (если абонентский терминал относится к классу А , то ему при регистрации выделяется как TMSI, так и P-TMSI).
Для быстрой маршрутизации информации к мобильному абоненту GPRS-система нуждается в данных о его месторасположении относительно сети, причем с большей точностью, нежели в случае передачи голосового трафика ( HLR и VLR хранят номер Location Area (LA), в которой находится абонент). Но как возрастет служебный трафик в сотовой сети и расход энергии мобильным аппаратом, если телефон будет информировать систему каждый раз при переходе от одной соты к другой! Чтобы найти разумный компромисс между объемом сигнального трафика в сети GPRS и необходимостью знать с высокой точностью местонахождение абонента принято деление терминалов на три класса:
1) IDLE (неработающий). Телефон отключен или находится вне зоны действия сети. Очевидно, что система не отслеживает перемещение подобных абонентов.
2) STANDBY (режим ожидания). Аппарат зарегистрирован (прикреплен) в GPRS-системе, но уже долгое время (определяемое специальным таймером) не работает с передачей данных. Местоположение STANDBY - абонентов известно с точностью до RA (Routing Area - область маршрутизации). RA мельче, чем LA (каждая LA разбивается на несколько RA, но, тем не менее, RA крупнее, чем сота, и состоит из нескольких элементарных ячеек).
3) READY (готовность). Абонентский терминал зарегистрирован в системе и находится в активной работе. Координаты телефонов, находящихся в режиме READY, известны системе (а, точнее, SGSN) с точностью до соты. Согласно этой идеологии, терминалы, находящиеся в STANDBY-режиме, при переходе из одного RA в другой посылают SGSN специальный сигнал о смене области маршрутизации (routing area update request). Если новая и старая RA контролируется одним SGSN, то смена RA приводит лишь к корректировке записи в SGSN. Если же абонент переходит в зону действия нового SGSN, то новый SGSN запрашивает у старого информацию о пользователе, а MSC, VLR, HLR и вовлеченные в работу GGSN ставятся в известность о смене SGSN. Когда телефон, работающий с GPRS-системой, перемещается в другую LA, то SGSN отправляет соответствующему VLR сообщение о необходимости смены записи о местонахождении абонента.
Интересно обстоят дела с маршрутизацией данных в случае роуминга GPRS-абонента. При этом возможны два варианта. SGSN в обоих случаях используется гостевой (VSGSN - Visited SGSN), а вот GGSN может использоваться либо гостевой (VGGSN - Visited GGSN), либо домашний (HGGSN - Home GGSN). В последнем случае между домашним и гостевым операторами должна существовать GPRS-магистраль (InterPLMN GPRS BackBone - GPRS-линия между разными мобильными сетями) для передачи трафика между HGGSN и мобильным абонентом. Кроме того, появляется необходимость в BG (Border Gateway - граничный шлюз) с обеих сторон с целью обеспечения защиты сетей от атак извне.
Следует отметить такой важный параметр, как QoS (Quality of Service - качество сервиса). Очевидно, что видеоконференция в режиме реального времени и отправка сообщения электронной почты предъявляют разные требования, например, к задержкам на пути пакетов данных. Поэтому в GPRS существует несколько классов QoS, подразделяющихся по следующим признакам:
· необходимому приоритету (существует высокий, средний и низкий приоритет данных);
· надежности (разделение на три класса по количеству возможных ошибок разного рода, потерянных пакетов и т.п.);
· задержкам (задержки информации вне GPRS-сети в расчет не принимаются);
· количественным характеристикам (пиковое и среднее значение скорости);
Класс QoS выбирается индивидуально для каждой новой сессии передачи данных. Кроме QoS, в характеристику сессии передачи данных входит тип протокола (PDP type - Packet Data Protocol type); PDP-адрес, выданный мобильной станции (выдача адресов бывает как статической, так и динамической); а также адрес GGSN, с которым идет работа. "Профиль" сессии (в англоязычной литературе принято обозначение "PDP context") записывается в телефон, а также в обслуживающие его SGSN и GGSN. Одновременно может поддерживаться несколько профилей передачи данных для каждого пользователя.
Пакетная передача данных предусматривает два режима "соединений":
· PTP (Point-To-Point - точка-точка);
· PTM (Point-To-Multipoint - точка-многоточие).
Широковещательный режим РТМ в свою очередь подразделяется на два класса:
1)PTM-M (PTM-Multicast) - передача необходимой информации всем пользователям, находящимся в определенной географической зоне;
2)PTM-G (PTM-Group Call) - данные направляются определенной группе пользователей.
Поддержка режима "многоточечной" передачи информации PTM ожидается в будущих спецификациях GPRS.
2.5.3 Абонентские терминалы для GPRS технологии
Для работы с системой пакетной передачи данных необходимо иметь специальный телефон, совместимый с GPRS. GPRS-терминалы подразделяются на три класса:
1) Устройства класса А способны одновременно работать как с передачей голоса, так и с передачей данных (они, говоря техническим языком, обладают возможностью функционировать как в режиме коммутации каналов (circuit switched), так и в режиме коммутации пакетов (packet switched). Подчеркну - речь идет об одновременной работе в разных режимах);
2)Устройства класса В могут осуществлять либо передачу голоса, либо передачу данных, но не одновременно;
3) Устройства класса С поддерживают только передачу данных и не могут быть использованы для голосовой связи. Как правило, это разного рода компьютерные платы для обеспечения беспроводного доступа к данным.
Максимальная скорость передачи данных определяется, в первую очередь, количеством каналов, с которыми одновременно может работать абонентский терминал. Один канал обеспечивает передачу данных со скоростью до 13.4 кбит/с.
Французская фирма SAGEM стала одним из первых производителей, представивших GPRS-совместимые телефоны. Модель Sagem MC-850, относится к классу В и имеет один канал для передачи данных и три - для приема, а чуть более современный Sagem MW-959, включает в себя уже четыре канала для входящего трафика (на передачу остался по-прежнему один канал, также не изменился класс устройства). Таким образом, максимальная скорость приема данных с помощью телефона Sagem MW-959 составляет 53.6 кбит/с, а передачи - 13.4 кбит/с.
Следующим шагом от GSM к сетям третьего поколения UMTS (Universal Mobile Telephone System) является технология EDGE (Enhanced Data Rates for GSM Evolution - в вольном переводе "передача данных на повышенной скорости"), позволяющая осуществлять перекачку информации на скоростях до 384 кбит/с в восьми GSM-каналах (48кбит/с на канал). Для внедрения EDGE "поверх GPRS" операторам необходимо будет заменить аппаратуру базовых станций BTS, а пользователям - приобрести поддерживающие EDGE телефонные аппараты. Сложно представить, что должен делать абонент сотовой сети GSM, чтобы ему не хватило скорости в 170 кбит/с, предлагаемой GPRS.
2.6 Планирование и контроль сети GPRS в стандарте GSM
2.6.1 Программа AlcatelGPRS – SGSNManagement, позволяет (рис.6.1):Рисунок 6.1 - Функции программы AlcatelGPRS – SGSNManagement
Мониторинг сети GPRS
- Наблюдение за работой GPRS средств: MFS, SGSN, GGSN (GPU плат), расположенных в различных регионах Казахстана;
- Анализ сообщений, приходящих на ОМС –
PS;
- Анализ статистических данных конкретно по каждому объекту сети в предполагаем месте неисправности;
- Просмотр состояний GPRS средств, детальное изучение плана передачи данных по которым пришло сообщение;
- Выявление нарушений в работе GPRS оборудования.
Составление ежедневных рапортов
- Ежедневное составление и отправка рапорта по неисправностям GPRS средств;
- Ежедневный сбор и анализ статистики.
Запуск в эксплуатацию нового GPRS оборудования
- Подготовка базы на основании данных, присылаемых плановым отделом;
- Создание нового элемента в системе OMC - PS;
- Загрузка оборудования;
- Анализ статистики.
Выполнение изменений в базе данных на ОМС-PS
- Анализ полученной от отдела планирования информации;
- Проведение изменений, активизация;
- Анализ статистики.
Это программное обеспечение, основанное на “Unixopenwindows”, включает в себя меню определенных модулей, показанных на рис.6.2. Выбрав, один из модулей, оператор имеет возможность получить более детальную информацию по указанному объекту (рис.6.3).
Рисунок 6.2 - Меню “Unix open windows”
Рисунок 6.3 - Программное отображение GPRS оборудования
2.6.2 Крафт терминал GPRS сети
Крафт терминал позволяет контролировать и производить анализ GPRS сети с различным множеством функций. Оператор может производить оценку эффективности загрузки сети по передачи информации (рис.6.4). Можно выбрать различную длину загрузки и определенный промежуток времени.
Также можно произвести анализ загрузки количества абонентов за определенный период времени (рис.6.5).
Рисунок 6.4 - Временная загрузка сети передачи данныхРисунок 6.5 - Загруженность сети в зависимости от количества абонентов за определенный период времени.
3. БЕЗОПАСНОСТЬ ЖИЗНЕДЕЯТЕЛЬНОСТИ
3.1 Безопасность труда при работе с дисплеем
Режим работы оператора с компьютером ежедневный, посменный, требующий от работающего постоянного внимания. Поэтому обеспечение безопасных здоровых условий труда способствует повышению трудоспособности, уменьшению усталости работника.
Условия работы за монитором противоположны тем, которые привычны для наших глаз. В обычной жизни мы воспринимаем в основном отраженный свет, а объекты наблюдения непрерывно находятся в поле нашего зрения в течение хотя бы нескольких секунд. А вот при работе за монитором мы имеем дело с самосветящимися объектами и дискретным (мерцающим с большой частотой) изображением, что увеличивает нагрузку на глаза.
Таким образом, характерной особенностью труда за компьютером является необходимость выполнения точных зрительных работ на светящемся экране в условиях перепада яркостей в поле зрения, наличии мельканий, неустойчивости и нечеткости изображения. Объекты зрительной работы находятся на разном расстоянии от глаз пользователя (от 30 до 70 см) и приходится часто переводить взгляд в направлениях экран-клавиатура-документация (согласно хронометражным данным от 15 до 50 раз в минуту). Частая переадаптация глаза к различным яркостям и расстояниям является одним из главных негативных факторов при работе с дисплеями. Неблагоприятным фактором световой среды является несоответствие нормативным значениям уровней освещенности рабочих поверхностей стола, экрана, клавиатуры. Нередко на экранах наблюдается зеркальное отражение источников света и окружающих предметов. Все вышеизложенное затрудняет работу и приводит к нарушениям основных функций зрительной системы. Работающие с видеодисплейными терминалами предъявляют жалобы на боль и ощущение «песка» в глазах, покраснение век, трудности перевода взгляда с близких на далекие предметы. Отмечается быстрое утомление и затуманенность зрения, двоение предметов. Комплекс выявляемых нарушений был охарактеризован специалистами как «профессиональная офтальмопатия» или астенопия — субъективные зрительные симптомы дискомфорта или эмоциональный дискомфорт, являющийся результатом зрительной деятельности.
Частота проявления астенопии зависит от рабочей ситуации, продолжительности работы за экраном и наличия у пользователя нарушений зрения, глазных болезней или наследственной склонности к таковым. В частности, после достижения 40-летнего возраста операторы должны регулярно проходить офтальмологическое обследование ввиду вероятности появления пресбиопии — старческой дальнозоркости, способствующей возникновению или усилению зрительного дискомфорта. Что касается риска появления миопии — близорукости, то при соблюдении режима труда и отдыха она, как правило, может возникнуть или усилиться только у людей, изначально к ней склонных.
Графическое устройство отображения информации (видеомонитор) соответствует действующим санитарно-гигиеническим нормам.
Видеомонитор должен иметь (как минимум) следующие технические характеристики:
1) Размер экрана по диагонали не менее 14 дюймов;
2) Частота регенерации изображения (частота кадровой развертки) в двух режимах: основной - не менее 70 Гц и дополнительный - 60 Гц;
3) Величина детального контраста, вычисляемая как отношение максимальной и минимальной яркостей в изображении знака не менее 5:1;
4) Монитор имеет антибликовое покрытие с коэффициентом отражения не более 0,5;
5) Монитор имеет возможность регулировки положения экрана: по наклону в пределах _+ 15 . по повороту в пределах _+ 30 по высоте сдвиг по высоте _+ 150-200 мм; (допустимо) регулировки в тех же пределах только по наклону и повороту;
6) В зоне легкой досягаемости (предпочтительно на лицевой панели) должны находиться ручки управления "яркость" и "контрастность". На лицевой панели находится индикатор наличия питания зеленого цвета;
7) Нестабильность положения изображения (низкочастотное дрожание изображения, колебания положения точки по уровню 50% яркости) в диапазоне частот от 0,05 до 10 Гц: не более 0,1 мм;
8) Обеспечивается снятие электростатического заряда с поверхности экрана, исключающее искрение и запыление.
Видеоконтроллер в составе системного блока (во взаимодействии
видеомонитором) обеспечивает нижеследующее:
1) Наличие многоцветного графического режима, при котором на экране отображается не менее: 480 строк по 640 точек (256 цветов одновременно);
2) При отображении алфавитно-цифровой информации на экране монитора отображение не менее: 24 строк по 80 символов в строке;
3) Скорость вывода алфавитно-цифровой информации на экран (из программы пользователя) не менее: 1000 символов в секунду (без роллирования); 3000 символов в секунду (с роллированием).
К числу вредных факторов, с которыми сталкивается человек, работающий за монитором, относятся рентгеновское и электромагнитное излучения, а также электростатическое поле. В таблице 7.2 приведены допустимые значения параметров излучений, генерируемые мониторами.
Таблица 7.2 Допустимые значения параметров излучений, генерируемых видеомониторами.
| Параметры |
Допустимые значения |
| Мощность экспозиционной дозы рентгеновского излучения на расстоянии 0,05 м вокруг видеомонитора |
100 мкР/час |
Электромагнитное излучение на расстоянии 0,5 м вокруг видеомонитора
по электрической составляющей:
в диапазоне 5 Гц-2 кГц
|
25 В/м
|
| в диапазоне 2-400 кГц |
2,5 В/м |
по магнитной составляющей:
в диапазоне 5 Гц-2 кГц
|
250 нТл |
| в диапазоне 2-400 кГц |
25 нТл |
| Поверхностный электростатический потенциал |
Не более 500 В |
Согласно ГОСТ 12.2.032-78 конструкция рабочего места и взаимное расположение всех его элементов должно соответствовать антропометрическим, физическим и психологическим требованиям. Большое значение имеет также характер работы. В частности, при организации рабочего места оператора должны быть соблюдены следующие основные условия:
· оптимальное размещение оборудования, входящего в состав рабочего места;
· достаточное рабочее пространство, позволяющее осуществлять все необходимые движения и перемещения;
· необходимо естественное и искусственное освещение для выполнения поставленных задач;
· уровень акустического шума не должен превышать допустимого значения.
Главными элементами рабочего места оператора являются компьютерный стол и кресло. Основным рабочим положением является положение сидя. Рабочее место для выполнения работ в положении сидя организуется в соответствии с ГОСТ 12.2.032-78.
Рабочая поза сидя вызывает минимальное утомление оператора. Рациональная планировка рабочего места предусматривает четкий порядок и постоянство размещения предметов, средств труда и документации. То, что требуется для выполнения работ чаще, расположено в зоне легкой досягаемости рабочего пространства.
Рабочее сиденье удовлетворяет следующим требованиям: обеспечение положения тела, при котором нагрузка на мышцы оптимальная и способствует нормальной деятельности оператора; создает возможность изменения рабочей позы для снятия напряжения мышц и предупреждения общего утомления (что особенно важно при малоподвижном состоянии оператора); обеспечивает свободное перемещение и фиксацию тела относительно рабочей поверхности. Горизонтальная поверхность и спинка сиденья могут быть плоскими или профилированными. Профилирование характеризуется углами наклона спинки (4-5 град. в сторону спинки) и плоскость сидения (10-15 град. вверх от плоскости сидения). Оптимальным также считается расположение, когда передний край сидения вдвинут под стол на 100-150 мм. Рациональное освещение рабочего места является одним из важнейших факторов, влияющих на эффективность трудовой деятельности человека, предупреждающих травматизм и профессиональные заболевания. Правильно организованное освещение создает благоприятные условия труда, повышает работоспособность и производительность труда. Освещение на рабочем месте программиста должно быть таким, чтобы работник мог без напряжения зрения выполнять свою работу. Утомляемость органов зрения зависит от ряда причин:
· недостаточность освещенности;
· чрезмерная освещенность;
· неправильное направление света.
Недостаточность освещения приводит к напряжению зрения, ослабляет внимание, приводит к наступлению преждевременной утомленности. Чрезмерно яркое освещение вызывает ослепление, раздражение и резь в глазах. Неправильное направление света на рабочем месте может создавать резкие тени, блики, дезориентировать работающего. Все эти причины могут привести к несчастному случаю или профзаболеваниям, поэтому столь важен правильный расчет освещенности.
Расчет освещенности рабочего места сводится к выбору системы освещения, определению необходимого числа светильников, их типа и размещения. Искусственное освещение в помещениях эксплуатации ПЭВМ должно осуществляться системой общего равномерного освещения. Допускается установка светильников местного освещения для подсветки документов. Оно не должно создавать бликов на поверхности экрана.
В качестве источников света при искусственном освещении рекомендуется применять люминесцентные лампы типа ЛБ со светильниками серии ЛПО36 с зеркализованными решетками. При устройстве отражённого освещения в производственных и административно – общественных помещениях допускается применение металлогалогенных ламп мощностью до 250 Вт. Лампы накаливания лучше использовать для местного освещения зоны рабочего документа (клавиатуры, книги, тетради).
В поле зрения оператора должна отсутствовать прямая и отраженная блескость. Для снижения блескости необходимо:
1 использовать для общего освещения светильники с рассеивателями и экранирующими решетками, яркость которых в зоне углов излучения более 50 градусов от вертикали не должно превышать 200 кд/м2
;
2 использовать для местного освещения светильники с непросвечивающими отражателями и защитным углом не менее 40 градусов.
Искусственное освещение выполняется посредством электрических источников света двух видов: ламп накаливания и газоразрядных ламп. Для освещения помещений рекомендуется принимать газоразрядные лампы.
Рассчитаем систему общего искусственного для операторской комнаты, площадью S=12*14м2
, высотой H=2,9м, с побеленным потолком и светлыми стенами с закрытыми белыми шторами. Рабочая поверхность расположена на высоте hраб
=0,8м. Источники света газоразрядные лампы.
Освещение считаем по методу коэффициента использования светового потока, который предназначен для расчета общего освещения горизонтальных поверхностей при отсутствии крупных затеняющих предметов.
Световой поток ламп в светильнике находится по формуле:
,(3.1)
где Е – нормируемая освещенность, лк.;
Кз
– коэффициент запаса;
S – освещаемая площадь, м2
;
z – коэффициент неравномерности освещения (принимается 1.1-
1.2);
N – число светильников;
h – коэффициент использования светового потока.
Для помещений общественных зданий (рабочих помещений) при искусственном освещении газоразрядными лампами, исходя их СНиП II-4-79, коэффициент запаса Кз
= 1,5, а Е=300лм для зрительной работы высокой точности.
Определим число светильников:
, (3.2)
где L– расстояние между рядами источников света,
, (3.3)
где l - коэффициент наивыгоднейшего расположения светильника,
задается от 1,2 до 1,8
hр
– расчетная высота, м;
hр
= H – hраб
– hсв,
(3.4)
где hсв
– высота свеса до 1м, если H 5м
hр
= 2,9 – 0,8 – 0,7 = 1,4м
Тогда 
Количество источников света:
,
Для равномерного распределения N возьмем равным 36
Индекс помещения:
,(3.5)
где А – длина помещения, м;
В – ширина помещения, м;
Тогда ,
Исходя из данных коэффициент отражения потолка и пола по данным СНиПа ,т.к. потолок свежепобеленный и также стены с закрытыми белыми шторами и далее выбираем коэффициент использования светового потока, учитывая индекс помещения i = 4,6, коэффициент использования светового потока h = 0,8.
Тогда, лм.
Выбираем из СНиПа по техническим данным газоразрядных ламп подходящую нам лампу, исходя из полученного светового потока:
Лампа типа – ЛД – это газоразрядная лампа низкого давления;
Номинальная мощность – 40Вт;
Номинальный световой поток – 2340лм.
Размеры лампы:
Диаметр d = 40мм;
Длина по штырькам l = 1213,6 мм.
Схематически размещение ламп показано на рис.7.1

14м
3.2 Пожарная безопасность в вычислительном центре
Пожарная безопасность - состояние объекта, при котором исключается возможность пожара, а в случае его возникновения предотвращается воздействие на людей опасных факторов пожара и обеспечивается защита материальных ценностей.
Причины пожаров и взрывов могут быть электрического и неэлектрического характера.
Причинами пожаров и взрывов неэлектрического характера могут быть:
· Неосторожное обращение с огнем.
· Неисправность производственного оборудования.
· Курение в пожароопасных помещениях.
К причинам электрического характера относятся:
· Искрение в электрических аппаратах, электростатические разряды и удары молнии;
· Токи коротких замыканий, нагревающие проводники до высокой температуры, а также значительные электрические перегрузки проводов и обмоток электрических аппаратов;
· Плохие контакты в местах соединения проводов;
· Электрическая дуга, возникающая в результате ошибочных операций с коммутационной аппаратурой при переключениях в электроустановках или во время дуговой электрической сварки, которая может вызывать воспламенение расположенных вблизи горючих материалов и маслонаполненных аппаратов.
Организация мероприятий по предотвращению пожара.
· Проведение инструктажа 1 раз в год. Производится административно-техническим персоналом.
· Разработка путей эвакуации людей при пожаре. Для эвакуации время 3 минуты. Эвакуационные выходы – это выходы непосредственно наружу, выходы непосредственно на лестницу или коридор, имеющие выход наружу. Окно не является эвакуационным выходом.
· Использование средств тушения и предупреждения пожара (огнетушители, пожарная сигнализация).
Эффективным химическим средством тушения огня является углекислота. При быстром испарении углекислоты образуется снегообразная масса, которая, будучи направлена в зону пожара, снижает концентрацию кислорода и охлаждает горючее вещество.
В качестве средств местного пожаротушения применяются углекислотные огнетушители. Такие огнетушители применяются для тушения электропроводки и оборудования находящиеся под напряжением.
Ручные углекислотные огнетушители типов ОУ-2. Они приводятся в действие вручную открыванием вентиля путем вращения маховика против часовой стрелки.
Все огнетушители подвергаются периодической проверке и перезарядке.
Расчет установки пожаротушения.
Помещение, в котором находится операторская, относится к категории Д по пожаробезопасности, так как в нём содержатся несгораемые вещества и материалы в холодном состоянии.
В целях предотвращения пожаров, все помещения зданий и учреждений в обязательном порядке по возможности оборудуются установками автоматической пожарной защиты. Цель данных установок заключается в своевременном оповещении и последующим эффективным тушением горящих участков.
Одним из главных факторов определяющих эффективность установки пожаротушения, является время от начала действия контролируемого параметра, на извещатель, до момента его срабатывания. Поэтому для увеличения эффективности установки в целом устанавливается два типа пожарных извещателей. Ручные, устанавливаются в легко доступных для окружающих местах, а автоматические, устанавливаются в зависимости от контролируемого параметра и зоны действия.
Для нашего типа помещения используются пожарные извещатели типа ДТЛ (датчик тепловой легкоплавкий), срабатывающий при температуре 72С0
, позволяющий контролировать площадь до 15м2
.Очень важна при этом система звукового и визуального оповещения, позволяющая вовремя организовать эвакуацию находящегося в помещении персонала.
Защищаемое помещение должно быть оборудовано специальным планом эвакуации, который располагается непосредственно при выходе из помещения.
Аэрозольные установки пожаротушения типа Т-2МА с тросовым пуском получили широкое распространение благодаря высокой эффективности в работе и относительно не сложным техническим обслуживанием. Поэтому для защиты операторской, данная установка является оптимальной.
Произведём расчёт установки аэрозольного пожаротушения.
Определим массу огнетушащего средства:
(3.6)
где qрасч
= К × qн
× Wпом
– расчётная масса огнетушащего средства, кг;
(К – коэффициент не учитываемых потерь, принимаемый по СН 75 – 76 равный 1,07 - 1,25, в зависимости от категории пожарной опасности производства в защищаемом помещении и степени его герметичности; qН
– массовая огнетушащая концентрация огнетушащего средства 0,22 – 0,26 кг/м3
для состава 3,5 Б2 (смесь 30% сжиженной углекислоты и 70% бромистого этила); Wпом
– объём защищаемого помещения м3
, Wпом
= 119м3
); К2
– коэффициент, учитывающий остаток огнетушащего средства в системе, по СН 75-76 принимается 0,1 – 0,4 в зависимости от вида огнетушащего средства, диаметра и длины трубопровода; отсюда:
,(3.7)
Получим:
(3.8)
Определим число баллонов:
(3.9)
где 2 – коэффициент, учитывающий 100% запас огнетушащего средства, по СН 75 – 76; qБАЛ
– масса огнетушащего средства в баллоне (30кг);
отсюда:
(3.10)
Определим диаметр трубопроводов (мм)
Магистрального:
, (3.11)
где dC
– диаметр сифонной трубки в рабочем баллоне (10мм); nОДН
– число баллонов, разряжаемых на данное направление (nОДН
= 2).
Получим:
, (3.12)
Распределительного:
(3.13)
где dМ
– диаметр магистрального трубопровода; qP
– количество огнетушащего средства подаваемого по распределительному трубопроводу;
qМ
- количество огнетушащего средства, подаваемого по магистральному трубопроводу:
(3.14)
Определим требуемое число выпускных насадок nН
:
(3.15)
где dН
– диаметр насадка, мм, отсюда:
, (3.16)
Определим расчётное время выпуска огнетушащего средства в защищаемое помещение:
, (3.17)
где qТР
– массовый расход огнетушащего средства через трубопровод данного направления, кг/с, (0,7 кг/с); τН
- нормативное время тушения (150с).
,(3.18)
что соответствует условию τР
τН
.
3.3 Охрана окружающей среды на предприятии связи
Предприятия и сооружения связи в отличие от химических, нефтехимических, металлургических, целлюлозно-бумажных и других подобных предприятий и сооружений по отрицательному воздействию на атмосферу и гидросферу условно можно отнести к сравнительно «чистым».
Однако в процессе сооружения объектов связи, хотя и на незначительной площади поверхности земли происходит нарушение экологического баланса. Технологические процессы и оборудование, используемые в связи, все же являются источником определенного количества вредных веществ, выбрасываемых в атмосферу и попадающих в гидросферу. Помимо этого значительное число предприятий и сооружений связи являются мощным источником электромагнитных полей, охватывающих большие пространства и отрицательно воздействующих на экологический баланс биосферы.
Поэтому в промышленности связи необходимо серьезное внимание уделять вопросам оценки ее воздействия на окружающую среду и разрабатывать природоохранные мероприятия. При проектировании предприятий и сооружений связи должно предусматриваться экономное использование земли и эффективные средства защиты окружающей среды от загрязнения. Технические решения должны предусматривать снижение загрязненности до допустимого уровня или ликвидацию вредных выбросов в атмосферу. При наличии технологических процессов, предусматривающих использование воды в значительных объемах, технические решения должны обеспечивать применение систем оборотного водоснабжения, уменьшения количества сточных вод или применение бессточных систем. Наибольшая концентрация каждого вредного вещества, эмиссируемого предприятием, не должна превышать предельно допустимых концентраций, устанавливаемых действующими нормами.
Существующие правила проектирования обязывают в каждый технический проект на объект строительства включать мероприятия по защите окружающей среды от загрязнения сточными водами и выбросами в атмосферу. В каждом таком проекте обязательны обоснование и расчеты к применяемым проектным решениям по утилизации элементов, содержащихся в сточных водах и выбросах в атмосферу, их очистке и обезвреживанию. Помимо этого в проекты строительства предприятий и сооружений связи обязательно должны быть включены вопросы, связанные с восстановлением (рекультивацией) земельного участка и приведением его в состояние, пригодное
для дальнейшего использования в сельском, лесном, рыбном хозяйствах или по назначению, например устройству коммуникаций, дренажа и др. Рекультивацию земель, согласно существующему законодательству, осуществляет предприятие, организация или учреждение, ведущее строительные работы. При возникновении опасности нарушения плодородного почвенного покрова необходимо его снимать и хранить с целью нанесения на рекультивируемую землю.
Для линий связи (кроме линий абонентской связи) существуют специальные нормы отвода земель, которые устанавливают ширину полос земель для линий и размеры земельных участков для размещения сооружений на этих линиях. Вопрос о системном воздействии предприятий и сооружений связи на окружающую среду поставлен совсем недавно. Работы в данном направлении только разворачиваются, и для решения проблемы предстоит еще приложить не мало усилий. Прежде всего, необходимо получить объективные данные по комплексному воздействию объектов связи на окружающую среду. Такого рода данные позволят разработать, оптимизировать и реализовать организационно-технические мероприятия по устранению источников вредных воздействий и обеспечить гармоническое развитие отрасли связи с учетом требований сохранения экологического равновесия в окружающей нас природной среде.
4. БИЗНЕС-ПЛАН
4.1 Сущность проекта
Проект связан с внедрением новой технологии GPRS в существующую систему сотовой связи.
GPRS (General Packet Radio Service) - технология беспроводной пакетной передачи данных с мобильного телефона на больших скоростях (до 115 Кбит/сек. против 9,6 Кбит/сек. - скорости работы мобильного телефона при обычной передаче данных). При пакетной передаче данных соответствующий радиоканал занимается лишь в процессе передачи информации, благодаря чему достигается более высокая эффективность его использования. В результате более эффективно используются ресурсы сотовой сети и появляется возможность выгодного для абонента способа тарификации, основанного не на учете времени соединения, а на количестве принятой и переданной информации. Технология GPRS активно используется в следующих областях: передача данных, доступ к корпоративным сетям, чтение и отправка электронной почты (e-mail), телематические услуги, доступ к сети Интернет, электронная коммерция, доступ к WAP-ресурсам. Практически незаменимым является применение GPRS в тех случаях, когда существует потребность выхода в сеть Интернет, а сделать это по обычным проводным линиям связи невозможно (например, если Вы путешествуете с ноутбуком). Также услуга GPRS будет полезна и для пользователей домашних компьютеров, если отсутствие проводного телефона не позволяет осуществить выход в Интернет. Технология GPRS активно используется в самых различных областях: передача данных, доступ к корпоративным сетям, чтение и отправка электронной почты (e-mail), телематические услуги, доступ к сети Интернет, электронная коммерция, MMS, доступ к WAP-ресурсам и т.д. Практически незаменимым является применение GPRS в тех случаях, когда существует потребность выхода в сеть Internet, а сделать это по обычным проводным линиям связи невозможно (например, если Вы путешествуете с ноутбуком или карманным компьютером). Также услуга GPRS будет полезна и для пользователей домашних компьютеров, если отсутствие проводного телефона не позволяет осуществить выход в Интернет
Реализация GPRS в современных сотовых телефонах позволяет приостановить передачу данных без разрыва соединения и принять входящий звонок или SMS-сообщение. После окончания разговора передача данных автоматически возобновится.
Создателям GPRS удалось достичь столь высокой производительности без внесения кардинальных изменений в структуру и технологии GSM. Основная идея General Packet Radio Service состоит в максимальном использовании пакетной идеологии современных цифровых сетей. Коммутация на уровне пакетов позволяет гибко регулировать доступную пользователю пропускную способность в зависимости от текущей нагрузки на сеть, а значит, более эффективно использовать радиочастотные ресурсы. Согласно методике GPRS, каждый мобильный терминал может занять под свои данные более одного логического канала, соответственно наращивая пропускную способность соединения по формуле: 14,4 Kbps x кол-во каналов. Выделение радиоресурсов для передачи пакета будет происходить достаточно быстро, задержка не должна превышать 1 секунды. Таким образом, создается иллюзия постоянного подключения к сети.
Для модернизации инфраструктуры оператору потребуется добавить два новых элемента: Serving GPRS Support Node (SGSN) и Gateway GPRS Support Node (GGSN). Между собой SGSN и GGSN связаны высокопроизводительной IP-сетью. SGSN выполняет маршрутизацию пакетов, управление логическими каналами, задачи аутентификации, шифрования и проверки по регистру IMEI. Support Node взаимодействует со всеми архитектурными элементами GSM: базами данных HLR (содержит информацию о подписчиках на услуги GPRS) и VLR, AuC, MSC, а также с BCS посредством Frame Relay. GGSN - это шлюз, связывающий сеть GPRS с внешними сетями IP и Х.25. С точки зрения внешнего узла он выглядит как хост, владеющий всеми IP-адресами мобильных терминалов своей зоны обслуживания. Помимо всего вышеперечисленного, чтобы <научить> стандартную BCS обращаться с пакетами, к ней необходимо добавить модуль Packet Control Unit (PCU), в то время как BTS не потребует модернизации вовсе. Внедрив GPRS, операторы подготовят инфраструктуру своих сетей к приходу третьего поколения мобильной связи. Использование новых методов модуляции EDGE (Enhanced Data rates for GSM Evolution) расширяет пределы максимальной пропускной способности, доступной терминалу, до 300-350 Kbps. Фактически, чтобы использовать преимущества GPRS-сервиса, не требуется новых мобильных телефонов, необходимо будет только обновить их встроенное программное обеспечение.
4.2 Характер проекта
Внедрение технологии GPRS для сотовой компании связи дает большие преимущества над другими компаниями без использования этой новой технологии.
В настоящее время передача данных по GSM каналам организована следующим образом: абоненту выделяется отдельный канал, используемый системой для передачи голоса, посредством модема, встроенного в мобильный терминал, происходит передача данных через этот канал, при этом в промежутках между передачей данных канал остается занятым. GPRS (General Packet Radio Service) - это система, которая реализует и поддерживает протокол пакетной передачи информации в рамках сети сотовой связи GSM. При использовании системы GPRS информация собирается в пакеты и передается в эфир, они заполняют те "пустоты" (не используемые вданный момент голосовые каналы), которые всегда есть в промежутках между разговорами абонентов, а использование сразу нескольких голосовых каналов обеспечивает высокие скорости передачи данных. При этом этап установления соединения занимает несколько секунд. В этом и заключается принципиальное отличие режима пакетной передачи данных. В результате у абонента появляется возможность передавать данные, не занимая каналы в промежутках между передачей данных, более эффективно используются ресурсы сети.
GPRS позволит ввести принципиально новые услуги, которые раньше не были доступны. Прежде всего это мобильный доступ к ресурсам Интернета с удовлетворяющей потребителя скоростью, мгновенным соединением и с очень выгодной системой тарификации. Например, при просмотре с помощью системы GPRS WEB-страницы в Интернете, мы можем изучать содержимое столько, сколько нам необходимо, поскольку платим только за принятую информацию и не платим за время нахождения в сети Интернет (не передавая данные, мы не занимаем каналы сети). При введении повременной оплаты на фиксированных телефонных линиях, тарифы на доступ в Интернет с мобильного GPRS-телефона будут еще более конкурентоспособны. Технология GPRS позволит быстро передавать и получать большие объемы данных, видеоизображения, музыкальные файлы стандарта MP-3 и другую мультимедийную информацию. Для тех абонентов, кто уже оценил удобство использования телефонов с WAP - броузером, внедрение технологии GPRS означает практически мгновенную загрузку WAP - страниц на экране телефона и более выгодную систему тарификации.
Для корпоративных пользователей система GPRS может послужить отличным инструментом для обеспечения безопасного и быстрого доступа сотрудников к корпоративным сетям предприятий, к почтовым, информационным серверам, удаленным базам данных. При этом появится возможность получать доступ к корпоративным сетям даже если абонент находится в сети другого GSM оператора, с которым организован GPRS-роуминг.
Также, возможен разговор по телефону в процессе GPRS-соединения. Реализация GPRS в современных сотовых телефонах позволяет приостановить передачу данных без разрыва соединения и принять входящий звонок или SMS-сообщение. После окончания разговора передача данных автоматически возобновится.
Также GPRS дает возможность еще для одной новой услуги, как передача мультимедийных сообщений-MMS. MMS (Multimedia Messaging Service) является современной альтернативой SMS и позволяет создавать, отправлять и получать на телефон сообщения, содержащие мелодии, полноцветные изображения, фотографии, музыкальные фрагменты, большие объемы текста и т.д. MMS-сообщения можно отправлять как на сотовые телефоны с поддержкой MMS, так и на адреса электронной почты.
С помощью встроенной в телефон камеры вы можете «остановить мгновенье» и тут же переслать фотографию своим друзьям, порадовать их оригинальной анимированной открыткой или удивить ”говорящим письмом”
Область применения MMS не ограничивается развлекательными услугами. Уже существуют устройства, которые позволяют вести фотосъемку охраняемой территории и через определенные промежутки времени автоматически отсылать «фоторепортажи» в виде MMS-сообщений на ваш телефон.
Ближайший конкурент GPRS -технология HSCSD (High Speed Circuit Switched Data) - для получения большей пропускной способности использует тот же принцип объединения нескольких логических каналов. Но основной ее недостаток ясен уже из полного названия - коммутация каналов, крайне неудачный подход, особенно в условиях динамического изменения нагрузки на сети GSM. Это все равно, что предложить одному пользователю многоквартирного дома сервис DSL, просто сведя в его квартиру все доступные телефонные линии.
Появление технология GPRS должно значительно ускорить развитие мобильной передачи данных во всех областях человеческой деятельности. Во многом это связано с появлением новых услуг, развитие которых было затруднено из-за низкой скорости и высокой стоимости передачи данных через голосовые каналы GSM. Технология GPRS позволит абонентам получать доступ в глобальную сеть из любой точки, где существует покрытие сети, при этом цена такой передачи будет чрезвычайно привлекательной, а при введении повременной оплаты на фиксированных телефонных линиях, тарифы на доступ в Интернет с мобильного GPRS-телефона будут еще более конкурентоспособны. Существуют идеи промышленного применения данной технологии для различных задач подвижного мониторинга и контроля состояния объектов.
Использование GPRS технологии во многом расширяет спектр услуг оператора сотовой связи, что привлекает большое число абонентов сотовой связи и дает большое преимущество перед конкурирующей компании.
4.3 Маркетинг
4.3.1 Продукция
С использованием новой технологии GPRS, оператор сотовой связи предоставляет продукцию в виде передачи информации, с различными возможностями в услугах. Связь между абонентами является беспроводной. По состоянию на конец 2003 года сотовые операторы Казахстана обслуживали в совокупности около 1.5 млн. абонентов (в 2002 году – 900 тысяч), или почти 10% населения республики. При этом только за прошлый год операторы мобильной связи приобрели 564 тысячи новых пользователей (с учетом оттока). Если эта тенденция сохранится, то до конца текущего года в республике будет насчитываться не менее 2.4 млн. пользователей сотовой связи. На основании этих данных можно предположить, что к началу 2005 года количество пользователей мобильной связи превысит количество пользователей фиксированной связи. По данным “Казахтелекома” на начало 2004 года в среднем на 100 жителей Казахстана приходилось 15 телефонных аппаратов фиксированной связи (в городах - 22, в сельской местности – 6.5).
В нашей стране, компания K-Cell, уже в прошлом году запустила в коммерческое использование предоставление новых услуг пакетной передачи данных WAP, MMS с использованием GPRS технологии.
Тем самым, компания во многом увеличила спектр предоставляемых услуг, вызывая интерес у новых абонентов, сохраняя статус стабильности и продвижения в области сотовой связи с новыми технологиями для старого числа абонентов, и происходит больший захват рынка по сравнению с конкурирующими компаниями.
4.3.2 Ценообразование
В ценообразовании сотовой компании по предоставлению мобильных услуг связи, заложен затратный механизм, т.е.
Цусл
=с/с+Пр,
Цусл
- цена услуги предоставляемой оператором сотовой связи;
c/c- себестоимость;
Пр- продукция оператора сотовой связи.
А внутри компании ценообразование разделяется по разным факторам, как по категории потребителей, по времени и по определенным льготам.
Сотовая компания с использованием новой технологии GPRS, позволяет устанавливать виды услуг, регулируемые государственным рынком, где ниже себестоимость и цены на предоставляемые услуги, и нерегулируемые государственным рынком, где компания сама устанавливает определенные тарифы на предоставляемые услуги своей компании.
В этом случае сравним предоставляемые услуги и тарифы двух казахстанских операторов сотовой связи: “GSM Казахстан” – K'cell, и “Кар-Тел”- K-mobileв таблицах указана стоимость за указанный интервал округления.
Таблица8.1 - Эфирное время K-mobilе.
| Время |
Направление звонка |
Стоимость звонка |
Интервал округления |
| 7:00-22:00 |
с K-mobile на K-mobile/ EXCESS |
7,26 тенге |
10 сек |
| (рабочее время) |
с K-mobile на городские телефоны по Казахстану |
| с K-mobile на телефоны других сотовых компании |
43,56 тенге |
60 сек |
| 22:00-7:00(рабочие дни+выходные и праздничные дни, круглосуточно) |
с K-mobile на K-mobile/ EXCESS |
3,63 тенге |
10 сек |
| с K-mobile на городские телефоны по Казахстану |
6,05 тенге |
10 сек |
| с K-mobile на телефоны других сотовых компании |
36,30 тенге |
60 сек |
Таблица 8.2 - Эфирное время K-cell
| Время |
Направление звонка |
Стоимость звонка |
Интервал округления |
| круглосут. |
Исходящие звонки по Казахстану на K’cell, ActiV |
5,01 тенге |
10 сек |
| 8:00-20:00 |
Исходящие звонки по Казахстану на городские номера в зоне покрытия сети K’cell |
6,38 тенге |
10 сек |
| 20:00-8:00 и выходные дни |
Исходящие звонки по Казахстану на городские номера в зоне покрытия сети K’cell |
5,48 тенге |
10 сек |
| 8:00-20:00 |
Исходящие звонки по Казахстану на номера других операторов сотовой связи и городские номера вне зоны покрытия сети K’cell |
39,46 тенге |
60 сек |
| 20:00-8:00 и выходные дни |
Исходящие звонки по Казахстану на номера других операторов сотовой связи и городские номера вне зоны покрытия сети K’cell |
32,88 тенге |
60 сек |
Таблица 8.3 - Некоторые услуги сотовых операторов
| Название услуги оператора |
Стоимость K-cell |
Стоимость K-mobile |
Описание |
| Отправка мультимедийных сообщений (MMS) |
16,44 тенге |
------ |
Стоимость за отправку одного сообщения |
| WAP |
13,70 тенге |
------ |
Стоимость 100 KB, шаг 10KB |
| Мобильный интернет |
34,25 тенге |
------ |
Стоимость 1MB, шаг 100KB (08.00 - 20.00) |
| Мобильный интернет |
20,55 тенге |
------ |
Стоимость 1MB, шаг 100KB (20.00 - 08.00) |
| SMS info |
8,22 тенге |
8,5 тенге |
Стоимость за отправку одного сообщения |
| Отправка коротких сообщений (SMS) |
8,22 тенге |
7,5 тенге |
Стоимость за отправку одного сообщения |
| SMS mix (картинка, логотип или мелодия) |
54,80 тенге |
54 тенге |
Стоимость за отправку одного сообщения |
| SMS from e-mail |
821,99 тенге в месяц |
26,7 тенге за каждый день до момента отключения от услуги |
Для K-mobile: 400 тенге снимаются со счета сразу после подключения услуги, 400 тенге за 1-й период (15 дней) |
4.3.3 Емкость рынка
Несмотря на то, что история рынка сотовой связи в Казахстане насчитывает 10 лет (в 1994 году компании “ Алтел” была выдана первая лицензия на мобильную связь в Казахстане в стандарте AMPS-аналоговый стандарт), действительное масштабное развитие этого сегмента началось всего лишь 5 лет назад, когда были развернуты первые коммерческие сети GSM. Так, в 1998 году (коммерческий запуск – весна 1999 года) возведение сетей в стандарте GSM 900 начали компании “GSM Казахстан” (более 1млн. абонентов) и “Кар-Тел” (более 450 тысяч), каждая из которых выплатила правительству по $67.5 млн. за спектр в 7.5 МГц и за право в безконкурсном порядке приобрести дополнительные 5 МГц, доведя диапазон до 12.5 МГц. Однако по сей день обе компании используют лишь по 5 МГц, что приводит к чрезмерным капитальным затратам для организации необходимой плотности покрытия, не позволяя никому строить сети GSM экономически целесообразным способом. В распоряжении операторов не более трети от стандартного GSM 900, тогда как остальные частоты заняты военными и авианавигационными службами.
Тем не менее GSM- операторы продолжают активно развиваться и привлекать ресурсы для большего покрытия сети. На сегодняшний день К’cellустановил 6 коммутаторов которые позволяют обслуживать до 1.5 млн. номеров, более 600 базовых станций, из которых 226 было установлено в 2003 году. В течении 2004 года планируется установка 400 базовых станций по всему Казахстану. В конце ноября 2003 года был подписан контракт с компанией Ericsson стоимостью $24 млн. на поставку оборудования и услуг для расширения существующей сети.
Второй оператор GSM- компания K-mobile – летом 2003 года инвестировала более $30 млн. в развитие сети, которые пошли на двукратное расширение емкости коммутаторов и количества базовых станций. А осенью 2003 года произвели монтаж нового оборудования компании Alcatel.
Еще один оператор сотовой связи Dalacom, начавший предоставлять услуги в стандарте CDMA с 12декабря 2003 года.
Для нашей страны это уже вполне здоровая конкуренция в сотовой системе связи. Конечно, чем выше уровень благосостояния целевой аудитории потребителей мобильной связи, тем большее число операторов может работать на рынке без существенного ущерба для рентабельности и для качества создаваемой ими инфраструктуры.
Следует также учитывать плотность населения – в странах с небольшой плотностью населения успешного функционирования более чем двух операторов, как правило, не наблюдается. У этой закономерности есть простая экономическая интерпретация: в странах с низким уровнем платежеспособности услуги GSM становятся массовыми только при низких показателях ARPU – размер среднего ежемесячного счета за услуги мобильной связи. В результате рынок может обеспечить лишь очень медленный возврат средств, вложенных в создание сети. В таких условиях создание более чем двух полностью дублирующих друг друга сетей практически всегда экономически неоправданно.
По приведенным данным можно сделать вывод, что лидирующее место в данное время на нашем рынке занимает компания K’cell, и в будущем это несомненно будет связано с долгожданным внедрением новых сетевых технологий, как GPRS- “Мобильный интернет” и WAP, что было запущено в эксплуатацию с прошлого года, а в этом году они станут доступны и для абонентов Activ ( карточная система от K’cell ) наряду с услугой MMS. Но в скором будущем и компания K-mobile не собирается отставать и терять новых абонентов, сейчас работы по новой технологии проводятся в тестовом режиме.
4.3.4 Продвижение услуги
Конечно, продвижение любой услуги, а тем более новой осуществляется с помощью рекламы и различных акций.
Если смотреть поверхностно, то наибольшее количество рекламных акций операторов было посвящено привлечению абонентов на карточные виды услуг связи, у K’cell это Activ (700тысяч абонентов), K-mobile – Excess (200 тысяч абонентов), у Dalacom – Pathword (несколько десятков абонентов).
Так, абоненты Activ почти целый год при покупке загрузочной карты получали 100 единиц, или около 1$, на баланс телефона, чуть позже данная акция трансформировалась в “бесплатные” четные минуты разговора и SMS – службы. Конечно, наиглавнейшим событием стало долгожданное внедрение новых сетевых технологий, таких как GPRS, MMS, WAP. В сентябре прошлого года услуги на базе технологии GPRS – “Мобильный Интернет” и WAP были введеныдля абонентов K’cell, в этом году они станут доступны и для абонентов Activ наряду с услугой MMS. Доносится до потребителя через информационную рекламу, как на телевидении, так и уличных билбордов.
K-mobile предложил бывшим пользователям “K-card” и новым абонентам новый тарифный план Excess. Честно говоря, необходимо отметить талантливость маркетологов компании, сумевших удачно выпустить карточный пакет и продавать услуги. Новая связь был укреплена такими акциями, как получение 2 единиц за входящие звонки стоимостью в “одну единицу” все лето 2003 года, с зимы этого года предоставление со 2-й по 5-ю минуты бесплатно. В дополнение с привлекательными тарифами, особенно после окончания монтажа нового оборудования Alcatel, K-mobile начал жесткую кампанию по привлечению новых клиентов как через концерты известных исполнителей, так и циклов ТВ-передач и видеороликов.
4.4 Организационный план
Внедрение новой технологии GPRS, в существующую компанию по предоставлению услуг сотовой связи, подразумевает определенный организационный план.
Для осуществления проекта создается дополнительный штат сотрудников, т.е. принимают новых специалистов на предприятие. Каждый отдел занимается конкретными задачами и проблемами, из них: отдел по планированию сети, отдел по оптимизации сети, инженера работающие на коммутаторе (Switch), OMC операторы и соответственно создается GPRS отдел. На выполнение определенных монтажных работ нанимаются контрактные специалисты, с компании “КазСвязь Монтаж”, которые занимаются монтажом. Оператор сотовой связи, в нашем случае, K-mobile, заключает контракт с компанией “Alcatel” по предоставлению оборудования для модернизации сети. Основное решение по дальнейшему изменению сети остается за компанией “Alcatel”, но с возможными предложениями в некоторых вопросах от других коммуникационных компаний, как “CiscoSystems”. По контракту компания поставщик “Alcatel” в дальнейшем оказывает техническую поддержку и слежение за сетью сроком на один год. Более детальное распределение обязанностей происходит по договоренности между компаниями. Текущее обслуживание и управление за сетью происходит постоянно. Затраты компания будет нести только за модернизацию сети, а гарантийное обслуживание сети входит в контракт.
Финансирование нового проекта компания полностью возлагает на себя, с целью в дальнейшем получения прибыли.
4.5 Производственный план
1. Производственный план начинается с возникновения определенной идеи.
2. Затем разрабатывается проект на ее осуществление
3. Разрабатывается бизнес-план проекта.
4. После чего выбирают компанию по предоставлению оборудования для новой технологии.
5. Заключают контракт, в данном случае компания “Alcatel”.
6. Производится установка нового оборудования, в течении 15 дней.
7. На срок в 4 месяца, новая технология должна проработать в тестовом режиме без коммерческого использования, при постоянной технической поддержки компании “Alcatel”.
8. После тестирования новая технология становится новым коммерческим проектом и сдается в эксплуатацию для многочисленных абонентов сети, обязательно сопровождаясь информационными рекламными роликами для потребителей и с использованием различных акций.
Для реализации данного проекта потребуется следующее оборудование. Цены на оборудование представлены в долларах США (у.е.). Стоимость 1 у.е. равна 136.92 тг. по курсу Нац. банка РК.
Таблица 8.4 - Основные составляющие GPRS для 1 города
| Наименование оборудования |
Цена оборудования |
Количество |
| у.е. |
тг |
| MFS |
66000 |
9036720 |
1 |
| GGSN |
40000 |
5476800 |
1 |
| SGSN |
60000 |
8215200 |
1 |
| Стоимость всего оборудования |
22728720 тг |
4.6 Финансовый план
Финансовый план включает расчет следующих показателей:
1) Капитальные вложения (инвестиции).
2) Эксплуатационные расходы, связанные с внедрением данной технологии.
3) Экономическая эффективность проекта.
Данная технология является дополнением к существующей сети сотовой связи стандарта GSM, поэтому приведет к приросту капиталовложений, эксплуатационных расходов, доходов и других показателей. Чтобы не путаться в расчетах, будем считать их как показатели от внедрения сети, и опустим знак прироста.
1) Капитальные вложения включают в себя [11]:
КВл
= КОбор
+ КМонт
+ КТР
+ КПр
, (8.1)
где, КОбор
– стоимость приобретаемого оборудования для функционирования данной технологии.
КМонт
– оплата за установку оборудования. По контракту работы будет производить компания “Alcatel” за дополнительную плату.
КМонт
=5000 у.е.=681600тг .
В данном проекте учитываются капиталовложения оборудования и монтажа, остальные КТР
и КПр
не учитываются, т.е. равняются нулю.
Определим капитальные вложения по формуле (8.1):
КВл
= 22728720+681600=23410320 тг,
3)Эксплуатационные расходы
Целью определения расходов основной деятельности (эксплуатационных затрат) является расчет их необходимой величины для обеспечения нормальной производственной и коммерческой деятельности предприятия. Поэтому каждая статья увязывается с другими показателями работы, уровень которых влияет на абсолютную величину составляющих сметы затрат.
Эр
= А0
+ ФОТ + ОСН
+ Нр
, (8.2)
Определим амортизационные отчисления (А0
).
Экономической мерой возмещения износа основных производственных фондов является амортизация. Амортизация представляет собой постепенный перенос стоимости основных производственных фондов (ОПФ) на стоимость на вновь создаваемой продукции или услуг по мере их износа. Количественной мерой амортизации, и ее денежным выражением являются амортизационные отчисления, предназначенные на полное восстановление основных производственных фондов. Нормы амортизации (НА
) составляют 15%.
Амортизационные отчисления составят [11]:
тг,(8.3)
Определим фонд оплаты труда (ФОТ)
В затраты на оплату труда включаются все выплаты работникам основной деятельности, предусмотренные трудовым законодательством, а также некоторые стимулирующие и компенсационные выплаты. По этой же статье учитывается фонд оплаты по трудовым соглашениям. Сумма затрат на оплату труда определяется умножением среднемесячной зарплаты (ЗПМ
) одного работника на среднегодовую численность производственного персонала (ЧСР
), т.е.
ФОТ=ЗПСР
×ЧСР
×12, (8.4)
где, ЗПМ
=48000 тг,
тг,
Отчисления на социальные нужды (ОСН
) представляют собой обязательные для каждого предприятия выплаты по установленным в законодательном порядке нормам в государственные или иные фонды социального страхования, обязательного медицинского страхования и прочие. Отчисления на социальные нужды определяются от фонда заработной платы за вычетом пенсионного фонда:
тг,(8.5)
К накладным расходам НР
относятся косвенные расходы, все неучтенные расходы – управленческие, хозяйственные, затраты за обучение кадров.
Накладные расходы составят:
тг,(8.6)
Тогда,
ЭР
=1152000+207360+3511548+576000=5446908тг,
3) Основными финансовыми показателями в экономике связи являются доходы. Поскольку главная цель отрасли связи состоит в предоставлении потребителям телекоммуникационных услуг, доходы (выручка) от их реализации по установленным тарифам называются доходами от реализации (платных) услуг основной деятельности (ДРЕАЛ)
, и вычисляется [11]:
,(8.7)
NПОЛ
= 70000 – среднее количество предполагаемых пользователей после внедрения технологии,
Q1
MB
= 0,27 у.е. – стоимость за 1Мб информации
QМЕС
=10 Мб – объем используемой информации в месяц,
Тогда,
у.е.,
ДРЕАЛ
= 310534560 тг,
В рыночной экономике условием деятельности любого предприятия является превышение его доходов от реализации товаров и услуг над расходами, связанными с их созданием и получение доходов (прибыли) от обычной деятельности. Доходы от обычной деятельности (прибыль) выступает в качестве важнейшего показателя, который характеризует конечные результаты и эффективность деятельности предприятия. Основная прибыль (ПрОСН
) равняется к доходу от основной деятельности, она определяет эффект работы предприятия как разницу между полученными доходами от реализации услуг и средствами, израсходованными в процессе создания услуг, т.е.
ПрОСН
=ДОСН
=ДРЕАЛ
– ЭР
,(8.8)
ПрОСН
= 310534560-5446908= 305087652тг,
Прибыль подлежит налогообложению, при котором определенная часть перечисляется в бюджет в соответствии с действующим законодательством. Оно может предусматривать наличие определенных льгот, которые освобождают некоторую долю доходов от обычной деятельности (прибыли) от уплаты налога. Прибыль налогообложения определяется:
ПрНАЛ/ОБЛ
= ПрОСН
- ЮН
, (8.9)
где, ЮН
– юридический налог и определяется:
,(8.10)
где, НСТ
= 3% – ставка налога,
тг,
Тогда прибыль налогообложения равняется:
ПрНАЛ/ОБЛ
= 305087652 – 9152629,56 = 295935022,4 тг,
Прибыль налогообложения равняется чистой прибыли, оставшейся в распоряжении предприятия [10]:
ПрНАЛ/ОБЛ
=ПрЧИС, ОСТАВ. В РАСП. ПРЕД.
,
Чистую прибыль оставшуюся в распоряжении предприятия можно представить в структурном виде, где указывается удельный вес определенных фондов

ПрЧИС, ОСТАВ. В РАСП. ПРЕД.
  
ФН-70% ФП-25% РФ-5%
ФН – Фонд накопления,
ФП – Фонд потребления,
РФ – Резервный фонд
Фонд накопления определяется:
ФН = 0,7× ПрЧИС, ОСТАВ. В РАСП. ПРЕД.
, (8.11)
ФН = 0,7× 295935022,4= 207154515,7 тг,
Определим ожидаемые чистые денежные поступление (ОЧДП ):
ОЧДП = ФН + А0
= 207154515,7 + 3511548 = 210666063,7 тг, (8.12)
4) Определим период окупаемости (ТОК
) – это минимальный временной интервал (от начала осуществления проекта), за который окупятся затраты, связанные с предоставлением услуг предприятия, и после которого предприятие начнет получать прибыль:
= 1,2мес ,(8.13)
Определим коэффициент экономической эффективности (ЕЭ.Эф
):
,
(8.14)
Сведем все полученные результаты по проекту в таблицу 8.5
Таблица 8.5 – Технико-экономические показатели внедрения новой технологии.
| № |
Наименование показателей |
Численные значения |
| 1 |
Капитальные вложения на технологию |
23410320 тыс.тг |
| 2 |
Дополнительный прирост пользователей |
70000 чел. |
| 3 |
Прирост эксплуатационных расходов (ЭР
) |
5446908 тыс.тг |
| 4 |
Прирост дохода от реализации услуг от основной деятельности (ДРЕАЛ
) |
310534560 тыс.тг |
| 5 |
Прирост прибыли от основной деятельности (ПрОСН
) |
305087652 тыс.тг |
| 6 |
Ожидаемые чистые денежные поступления (ОЧДП) |
210666063,7тыс.тг |
| 7 |
Срок окупаемости (ТОК
) |
1,2 мес |
По данному проекту можно сделать вывод, что внедрение новой технологии GPRS для оператора сотовой связи, является экономически целесообразно.
Предприятие внесет капитальные вложения равные 23410320тыс.тг, понесет эксплуатационные затраты равные 5446909тыс.тг и доход от реализации услуг от основной деятельности составит 310534560тыс.тг. Срок окупаемости 1,2 месяца.
|