СОДЕРЖАНИЕ
ВВЕДЕНИЕ. 2
1ОБЩИЕ СВЕДЕНИЯ О ТРАНЗИСТОРАХ.. 4
1.1Основные понятия. 4
1.2Принцип работы транзисторов. 6
1.2.1Расчет линейной зависимости токов в транзисторе. 10
2ФОТОТРАНЗИСТОР. 12
2.1Принцип работы.. 12
2.1.1Работа фототранзистора с общим эмиттером. 15
2.2Параметры фототранзисторов. 16
2.3Виды и конструкции фототранзисторов. 18
2.4МДП-фототранзисторы.. 18
2.5Гетерофототранзисторы.. 20
2.5.1Физические основы гетероперехода. 22
2.5.2Расчет параметров и характеристик фототранзистора на гетеропереходах 24
ВЫВОДЫ.. 28
СПИСОК ЛИТЕРАТУРЫ.. 29
ВВЕДЕНИЕ
Оптоэлектроника является одним из самых актуальных направлений современной электроники. Оптоэлектронные приборы характеризуются исключительной функциональной широтой, они успешно используются во всех звеньях информационных систем для генерации, преобразования, передачи, хранения и отображения информации. При создании оптоэлектронных приборов используется много новых физических явлений, синтезируются уникальные материалы, разрабатываются сверхпрецизионные технологии. Оптоэлектроника достигла стадии промышленной зрелости, но это только первоначальный этап, так как перспективы развития многих ее направлений практически безграничны. Новые направления чаще всего возникают как слияние и интеграция ряда уже известных достижений оптоэлектроники и традиционной микроэлектроники: таковы интегральная оптика и волоконно-оптические линии связи; оптические запоминающие устройства, опирающиеся на лазерную технику и голографию; оптические транспаранты, использующие успехи фотоэлектроники и нелинейной оптики; плоские безвакуумные средства отображения информации и др.
Оптоэлектронику как научно-техническое направление характеризуют три отличительные черты.
1. Физическую основу оптоэлектроники составляют явления, методы и средства, для которых принципиальны сочетание и неразрывность оптических и электронных процессов.
2. Техническую основу оптоэлектроники определяют конструктивно-технологические концепции современной микроэлектроники: миниатюризация элементов; предпочтительное развитие твердотельных плоскостных конструкций; интеграция элементов и функций; применение специальных сверхчистых материалов и методов прецизионной групповой обработки.
3. Функциональное назначение оптоэлектроники состоит в решении задач информатики: генерации (формировании) информации путем преобразования внешних воздействий в соответствующие электрические и оптические сигналы; передаче информации; преобразовании информации [11].
1 ОБЩИЕ СВЕДЕНИЯ О ТРАНЗИСТОРАХ
В числе электропреобразовательных полупроводниковых приборов, т. е. приборов, служащих для преобразования электрических величин, важное место занимают транзисторы. Они представляют собой полупроводниковые приборы, пригодные для усиления мощности и имеющие три вывода или больше. В транзисторах может быть разное число переходов между областями с различной электропроводностью. Наиболее распространены транзисторы с двумя n–р-переходами, называемые биполярными, так как их работа основана на использовании носителей заряда обоих знаков. Первые транзисторы были точечными, но они работали недостаточно устойчиво. В настоящее время изготовляются и применяются исключительно плоскостные транзисторы [6].
 
Рисунок 1.1 - Принцип устройства (а) и условное графическое обозначение (б) плоскостного транзистора
Устройство плоскостного биполярного транзистора показано схематически на рис. 1.1. Он представляет собой пластину германия, или кремния, или другого полупроводника, в которой созданы три области с различной электропроводностью. Для примера взят транзистор типа n–р–n, имеющий среднюю область с дырочной, а две крайние области – с электронной электропроводностью. Широко применяются также транзисторы типа р–n–р, в которых дырочной электропроводностью обладают две крайние области, а средняя имеет электронную электропроводность.
Средняя область транзистора называется базой, одна крайняя область – эмиттером, другая – коллектором. Таким образом, в транзисторе имеются два n–р-перехода: эмиттерный – между эмиттером и базой и коллекторный – между базой и коллектором.
Эмиттером следует называть область транзистора, назначением которой является инжекция носителей заряда в базу. Коллектором называют область, назначением которой является экстракция носителей заряда из базы. А базой является область, в которую инжектируются эмиттером неосновные для этой области носители заряда.
Расстояние между ними должно быть очень малым, не более единиц микрометров, т. е. область базы должна быть очень тонкой. Это является условием хорошей работы транзистора. Кроме того, концентрация примесей в базе всегда значительно меньше, чем в коллекторе и эмиттере. От базы, эмиттера и коллектора сделаны выводы [15].
Для величин, относящихся к базе, эмиттеру и коллектору, применяют в качестве индексов буквы «б», «э» и «к». Токи в проводах базы, эмиттера и коллектора обозначают соответственно iб
, iэ
, iк
. Напряжения между электродами обозначают двойными индексами, например напряжение между базой и эмиттером iб-э
, между коллектором и базой uк-б
. На условном графическом обозначении транзисторов р–n–р и n–р–n стрелка показывает условное (от плюса к минусу) направление тока в проводе эмиттера при прямом напряжении на эмиттерном переходе.
Транзистор может работать в трех режимах в зависимости от напряжения на его переходах. При работе в активном режиме на эмиттерном переходе напряжение прямое, а на коллекторном – обратное. Режим отсечки, или запирания, достигается подачей обратного напряжения на оба перехода. Если же на обоих переходах напряжение прямое, то транзистор работает в режиме насыщения. Активный режим является основным. Он используется в большинстве усилителей и генераторов. Поэтому мы подробно рассмотрим работу транзистора в активном режиме. Режимы отсечки и насыщения характерны для импульсной работы транзистора и также будут рассмотрены в дальнейшем.
В схемах с транзисторами обычно образуются две цепи. Входная, или управляющая, цепь служит для управления работой транзистора. В выходной, или управляемой, цепи получаются усиленные колебания. Источник усиливаемых колебаний включается во входную цепь, а в выходную включается нагрузка. Для величин, относящихся к входной и выходной цепи, применяют соответственно индексы «вх» и «вых» или 1 и 2 [2].
1.2 Принцип работы транзисторов
Рассмотрим, прежде всего, как работает транзистор, для примера типа n–р–n, в режиме без нагрузки, когда включены только источники постоянных питающих напряжений E1
и Е2
(рис. 1.2, а). Полярность их такова, что на эмиттерном переходе напряжение прямое, а на коллекторном – обратное.
Поэтому сопротивление эмиттерного перехода мало и для получения нормального тока в этом переходе достаточно напряжения Е1
в десятые доли вольта. Сопротивление коллекторного перехода велико, и напряжение Е2
обычно составляет единицы или десятки вольт. Из схемы на рис. 1.2, а видно, что напряжения между электродами транзистора связаны простой зависимостью [10]
uк-э
=uк-б
+ uб-э
(1.1)
При работе транзистора в активном режиме обычно всегда uб-э
«uк-б
и, следовательно, uк-э
»uк-б
.

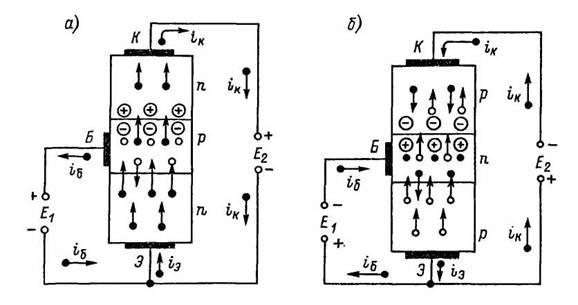
Рисунок 1.2 - Движение электронов и дырок в транзисторах типа n-р-n и р-n-р
Принцип работы транзистора заключается в том, что прямое напряжение эмиттерного перехода, т. е. участка база – эмиттер (uб-э
), существенно влияет на токи эмиттера и коллектора: чем больше это напряжение, тем больше токи эмиттера и коллектора. При этом изменения тока коллектора лишь незначительно меньше изменений тока эмиттера. Таким образом, напряжение uб-э
, т. е. входное напряжение, управляет током коллектора. Усиление электрических колебаний с помощью транзистора основано именно на этом явлении [9].
Физические процессы в транзисторе происходят следующим образом. При увеличении прямого входного напряжения uб-э понижается потенциальный барьер в эмиттерном переходе и соответственно возрастает ток через этот переход – ток эмиттера iэ
,. Электроны этого тока инжектируются из эмиттера в базу и благодаря диффузии проникают сквозь базу в коллекторный переход, увеличивая ток коллектора. Так как коллекторный переход работает при обратном напряжении, то в этом переходе возникают объемные заряды, показанные на рисунке кружками со знаками « + » и « –». Между ними возникает электрическое поле. Оно способствует продвижению (экстракции) через коллекторный переход электронов, пришедших сюда из эмиттера, т. е. втягивают электроны в область коллекторного перехода [4].
Если толщина базы достаточно мала и концентрация дырок в ней невелика, то большинство электронов, пройдя через базу, не успевает рекомбинировать с дырками базы и достигает коллекторного перехода. Лишь небольшая часть электронов рекомбинирует в базе с дырками. В результате рекомбинации возникает ток базы. Действительно, в установившемся режиме число дырок в базе должно быть неизменным. Вследствие рекомбинации каждую секунду сколько-то дырок исчезает; но столько же новых дырок возникает за счет того, что из базы уходит в направлении к плюсу источника Е1
такое же число электронов. Иначе говоря, в базе не может накапливаться много электронов. Если некоторое число инжектированных в базу из эмиттера электронов не доходит до коллектора, а остается в базе, рекомбинируя с дырками, то точно такое же число электронов должно уходить из базы в виде тока iб
. Поскольку ток коллектора получается меньше тока эмиттера, то в соответствии с первым законом Кирхгофа всегда существует следующее соотношение между токами [3]:
iэ
= iк
+ iб
(1.2)
Ток базы является бесполезным и даже вредным. Желательно, чтобы он был как можно меньше. Обычно i6 составляет малую долю (проценты) тока эмиттера, т. е. iб
<iэ
, а следовательно, ток коллектора лишь незначительно меньше тока эмиттера и можно считать iк
« iэ
. Именно для того, чтобы ток iб
был как можно меньше, базу делают очень тонкой и уменьшают в ней концентрацию примесей, которая определяет концентрацию дырок. Тогда меньшее число электронов будет рекомбинировать в базе с дырками.
Если бы база имела значительную толщину и концентрация дырок в ней была велика, то большая часть электронов эмиттерного тока, диффундируя через базу, рекомбинировала бы с дырками и не дошла бы до коллекторного перехода. Ток коллектора почти не увеличивался бы за счет электронов эмиттера, а наблюдалось бы лишь увеличение тока базы.
Когда к эмиттерному переходу напряжение не приложено, то практически можно считать, что в этом переходе нет тока. В этом случае область коллекторного перехода имеет большое сопротивление постоянному току, так как основные носители зарядов удаляются от этого перехода и по обе стороны от границы создаются области, обедненные этими носителями. Через коллекторный переход протекает лишь очень небольшой обратный ток, вызванный перемещением навстречу друг другу неосновных носителей, т. е. электронов из р-области и дырок из области.
Но если под действием входного напряжения возник значительный ток эмиттера, то в область базы со стороны эмиттера инжектируются электроны, которые для данной области являются неосновными носителями. Не успевая рекомбинировать с дырками при диффузии через базу, они доходят до коллекторного перехода. Чем больше ток эмиттера, тем больше электронов приходит к коллекторному переходу и тем меньше становится его сопротивление. Соответственно увеличивается ток коллектора. Иначе говоря, с увеличением тока эмиттера в базе возрастает концентрация неосновных носителей, инжектированных из эмиттера, а чем больше этих носителей, тем больше ток коллекторного перехода, т. е. ток коллектора iк
[4].
Следует отметить, что эмиттер и коллектор можно поменять местами (так называемый инверсный режим). Но в транзисторах, как правило, коллекторный переход делается со значительно большей площадью, нежели эмиттерный, так как мощность, рассеиваемая в коллекторном переходе, гораздо больше, чем рассеиваемая в эмиттерном. Поэтому если использовать эмиттер в качестве коллектора, то транзистор будет работать, но его можно применять только при значительно меньшей мощности, что нецелесообразно. Если площади переходов сделаны одинаковыми (транзисторы в этом случае называют симметричными), то любая из крайних областей может с одинаковым успехом работать в качестве эмиттера или коллектора.
1.2.1 Расчет линейной зависимости токов в транзисторе
Поскольку в транзисторе ток эмиттера всегда равен сумме токов коллектора и базы, то приращение тока эмиттера также всегда равно сумме приращений коллекторного и базового тока:
∆iэ
= ∆iк
+ ∆iб
(1.3)
Важное свойство транзистора – приблизительно линейная зависимость между его токами, т. е. все три тока транзистора изменяются почти пропорционально друг другу.
Пусть, для примера, iэ
= 10 мА, iк
= 9,5 мА, iб
= 0,5 мА. Если ток эмиттера увеличится, например, на 20% и станет равным
10 + 2 = 12 мА,
то остальные токи возрастут также на 20%;
iб
= 0,5 + 0,1 = 0,6 мА,
iK
= 9,5+ 1,9 = 11,4 мА,
так как всегда должно быть выполнено равенство (1.2), т. е.
12 мА = 11,4 мА + 0,6 мА.
Для приращения же токов справедливо равенство (1.3), т. е.
2 мА = 1,9 мА + 0,1 мА.
Физические явления в транзисторе типа n–р–n. Подобные же процессы происходят в транзисторе типа р–n–р, но в нем меняются ролями электроны и дырки, а также изменяются полярности напряжений и направления токов (рис. 1.2,б). В транзисторе типа р–n–р из эмиттера в базу инжектируются не электроны, а дырки, которые являются для базы неосновными носителями. С увеличением тока эмиттера больше таких дырок проникает через базу к коллекторному переходу. Это вызывает уменьшение его сопротивления и возрастание тока коллектора [14].

Рисунок 1.3 - Потенциальная диаграмма транзистора
Работу транзистора можно наглядно представить с помощью потенциальной диаграммы, которая приведена на рис. 1.3 для транзистора типа n–р–n. Эту диаграмму удобно использовать для создания механической модели транзистора. Потенциал эмиттера принят за нулевой. В эмиттерном переходе имеется небольшой потенциальный барьер. Чем больше напряжение uб-э
, тем ниже этот барьер. Коллекторный переход имеет значительную разность потенциалов, ускоряющую электроны. В механической модели шарики, аналогичные электронам, за счет своих собственных скоростей поднимаются на барьер, аналогичный эмиттерному переходу, проходят через область базы, а затем ускоренно скатываются с горки, аналогичной коллекторному переходу [10].
2 ФОТОТРАНЗИСТОР
Работа различных полупроводниковых приемников излучения (фоторезисторы, фотодиоды, фототранзисторы, фототиристоры) основана на использовании внутреннего фотоэффекта, который состоит в том, что под действием излучения в полупроводниках происходит генерация пар носителей заряда — электронов и дырок. Эти дополнительные носители увеличивают электрическую проводимость. Такая добавочная проводимость, обусловленная действием фотонов, получила название фотопроводимости. У металлов явление фотопроводимости практически отсутствует, так как у них концентрация электронов проводимости огромна (примерно 1022 см-3
) и не может заметно увеличиться под действием излучения. В некоторых приборах за счет фотогенерации электронов и дырок возникает ЭДС, которую принято называть фото-ЭДС, и тогда эти приборы работают как источники тока. А в результате рекомбинации электронов и дырок в полупроводниках образуются фотоны, и при некоторых условиях полупроводниковые приборы могут работать в качестве источников излучения [5].
Фототранзистор - фоточувствительный полупроводниковый приемник излучения, по структуре подобный транзистору и обеспечивающий внутреннее усиление сигнала. Его можно представить состоящим из фотодиода и транзистора. Фотодиодом является освещаемая часть перехода база-коллектор, транзистором - часть структуры, расположенная непосредственно под эмиттером. Так как фотодиод и коллекторный переход транзистора конструктивно объединены, то фототок суммируется с коллекторным током. Напряжение питания подводят так, чтобы коллекторный переход был закрыт, а эмиттерный - открыт. База может быть отключенной.
В отличие от биполярного транзистора, у фототранзистора отсутствует электрический контакт к базе, а управление током базы осуществляется путем изменения ее освещенности. По этой причине конструктивно фототранзистор имеет только два вывода — эмиттер и коллектор.

Рисунок 2.1 - а) Схема фототранзистора со структурой p-n-p;
б) зонная диаграмма фототранзистора в активном режиме работы
На рис. 2.1 показаны схема включения фототранзистора и зонная диаграмма в активном режиме работы.
При попадании светового потока на n-область базы в ней генерируются неравновесные электроны и дырки. Дырки будут являться неосновными носителями, увеличение их концентрации приведет к росту дрейфовой компоненты тока из базы в коллектор. Величина первичного «затравочного» фототока будет выражаться такими же соотношениями, как и фототок диода на основе p-n-перехода. Отличие только в том, что неравновесные носители, участвующие в фототоке в фототранзисторе, собираются с области базы, ширина которой W меньше, чем диффузионная длина Lp
. Поэтому плотность первичного «затравочного» фототока будет [7]:
(2.1)
Вследствие того что неравновесные дырки уходят из базы в коллектор, база заряжена отрицательно относительно эмиттера, что эквивалентно прямому смещению эмиттерного перехода фототранзистора. При прямом смещении эмиттерного p-n-перехода появляется инжекционная компонента тока из эмиттера в базу. При коэффициенте передачи эмиттерного тока α в базе рекомбинируют (1–α) инжектированных носителей или в β раз меньше, чем число инжектированных носителей. В условиях стационарного тока число прорекомбинировавших носителей в базе должно быть равно их числу, ушедшему с первоначальным фототоком. Поэтому инжекционный ток должен быть в β раз больше, чем первичный фототок. Ток коллектора IК
будет состоять из трех компонент: первичного фототока Iф
, инжекционного βIф
и теплового IК0
тока [7].
IК
= Iф+β
Iф
=(β+1) Iф
+ IК0
(2.2)
Используя выражение для коэффициента усиления β базового тока через конструктивно-технологические параметры биполярного транзистора, получаем:
(2.3)
Величина первичного фототока IФ
выражается через параметры светового потока и характеристики полупроводникового материала стандартным образом:
(2.4)
При освещении базы в ней возникают электронно-дырочные пары. Так же как и в фотодиоде, пары, достигшие в результате диффузии коллекторного перехода, разделяются полем перехода, неосновные носители из базы движутся в коллектор, при этом его ток увеличивается. Основные носители остаются в базе, понижая ее потенциал относительно эмиттера. При этом на эмиттерном переходе создается дополнительное прямое напряжение, вызывающее дополнительную инжекцию из эмиттера в базу и соответствующее увеличение тока коллектора.

Рисунок 2.2 - Энергетическая диаграмма фототранзистора (а) и вольтамперные характеристики фототранзистора при разных уровнях освещения (б).
2.1.1 Работа фототранзистора с общим эмиттером
Рассмотрим, например, работу фототранзистора в схеме с общим эмиттером при отключенной базе. Фототок коллекторного перехода суммируется с обратным током коллектора, поэтому в формуле для тока транзистора вместо JК0
следует поставить [17]
JК0
+ JФ
/J = (JК0
+ JФ
)/(1-α).
При JК
0>>JФ
J =JФ
/(1-α) ≈ βJФ
, т.е. фототок фототранзистора усиливается в β раз по сравнению током фотодиода. Соответственно в β раз увеличивается и чувствительность. Ток может быть усилен в 1000 раз, поэтому чувствительность фототранзистора во много раз больше чувствительности фотодиода. Однако поскольку произведение коэффициента усиления на полосу частот величина постоянная, то предельная частота уменьшается в β раз.

Рисунок 2.3 - Эквивалентная схема фототранзистора.
Наличие диффузии носителей обуславливает значительную инерционность прибора τ = 10–5
-10–6
с. При сужении базы время диффузии уменьшается, но уменьшается и чувствительность. Для германиевых фототранзисторов SI= 0,2-0,5 А/лм, Vраб
= 3 В, Iтемн
= 300 мкА, τ = 0,2 мс. В корпусе прибора предусмотрено прозрачное окно, через которое световой поток попадает обычно на базовую область фототранзистора. Площадь фоточувствительной площадки составляет 1-3 мм2
.
2.2 Параметры фототранзисторов
Основные параметры фототранзисторов представлены в таблице 2.1
Таблица 2.1 - Параметры фототранзисторов
| Условное обозначение |
Единица измерения |
Определение |
| Up |
В |
Рабочее напряжение постоянное напряжение, приложенное к фототранзистору, при котором обеспечиваются номинальные параметры при длительной ею работе |
| ∆λ |
мкм |
Область спектральной чувствительности фототранзистора интервал длины волны спектральной характеристики фототранзистора, в котором его чувствительность равна 10% и более от своего максимального значения |
| Условное обозначение |
Единица измерения |
Определение |
| Рmax |
мВт |
Максимально допустимая рассеиваемая мощность — максимальная электрическая мощность, рассеиваемая фототранзистором, при которой отклонение ею параметров от номинальных значений не превышает указанных пределов при длительной работе |
| Iт |
мкА |
Тем новой ток — ток. протекающий через фототранзистор при заданном напряжении на нем в отсутствие потока излучения |
| Iф |
мА |
Фототок (ток фотосигнала) ток, протекающий через фототранзистор при указанном напряжении на нем, обусловленный действием потока излучения |
| S1инт |
А/лм
или
А/лк
|
Токовая интегральная чувствительность - отношение фототока к значению мощности (или освещенности) потока излучения с. заданным спектральным составом, вызвавшего появление фототока |
| Фп |
Вт |
Порог чувствительности — среднеквадратическое значение первой гармоники действующего на фоточувсгвительныи элемент фототранзистора модулированного потока излучения заданного спектрального распределения, при котором среднеквадратическое значение первой гармоники фототока равно среднеквадратическому течению шумового тока в заданной полосе на частоте модуляции потока излучения |
| Условное обозначение |
Единица измерения |
Определение |
| Ку.ф |
отн.ед. |
Коэффициент усилении фототока — отношение фототока коллектора при отключенной базе к фототоку освещаемого перехода, измеренного в фотодиодном режиме |
| 2β |
град |
Плоский угол зрения фототранзистора угол в нормальной к фоточувствительному элементу плоскости между крайними направлениями падения параллельного пучка излучения, при которых ток фотосигнала уменьшается до заданного уровня |
| τср |
мкс |
Постоянная времени до садy фотототока - время в течение которого фототок уменьшается до значения, равного 37 % от максимального, при затемнении фоточувствительного элемента фототранзистора |
2.3 Виды и конструкции фототранзисторов
Существует две разновидности конструкций фототранзисторов: поперечная и продольная. Продольные транзисторы имеют более простую конструкцию и технологию, удобны для включения в интегральные схемы, но уступают по своим функциональным параметрам [15].

Рисунок 2.4 - Структура поперечного (а) и продольного (б) фототранзисторов.
Достоинства фототранзисторов: наличие механизма внутреннего усиления, т.е. высокая фоточувствительность, схемотехническая гибкость, связанная с наличием третьего электрода.
Основные недостатки: ограниченное быстродействие и температурная зависимость параметров.
2.4 МДП-фототранзисторы
МДП (металл-диэлектрик-проводник) фототранзистор представляет собой полевой транзистор с изолированным затвором, в котором поглощаемый в подзатворной области световой поток приводит к изменению проводимости канала между истоком и стоком. Вызванное светом увеличение тока приводит к изменению порогового напряжения и крутизны передаточной характеристики. Электрод затвора должен быть изготовлен из прозрачного или полупрозрачного материала. МДП-фототранзистор, таким образом, является аналогом фоторезистора, но может быть использован в любом режиме подзатворного канала: обогащении, обеднении, инверсии.

Рисунок 2.5 - Структура МДП-фототранзистора.
При использовании в качестве фотоприемников МДП-транзисторов их целесообразно применять в сочетании с фотодиодом на основе p-n перехода. Технологически фотодиод и МДП-транзистор изготавливаются на одной пластине полупроводника и фотодиод подключается к истоку и затвору. Так как ток через затвор не протекает, то фотодиод работает в режиме генерации фотоЭДС [11]. При одновременном освещении p-n перехода и МДП-транзистора меняется как напряжение отсечки, так и фотонапряжение p-n–перехода. Фото ЭДС p-n-перехода изменяет потенциал затвора, поэтому изменяется ток в цепи исток-сток.

Рисунок 2.6 - Структура (а) и эквивалентная схема (б) МДП-транзистора с фотодиодом на основе p-n перехода.
МДП-фототранзисторы являются удобными фоточувствительными элементами для создания многоэлементных фотоприемников [2].
2.5 Гетерофототранзисторы
Гетерофототранзисторы (рис. 3.4) основаны на принципе действия обычного биполярного фототранзистора, но в них используются и все достоинства гетероструктур: широкозонные эмиттерное и коллекторное окна (что позволяет создавать конструкции с прямой и обратной - через толстый коллекторный слой - засветкой); тонкая фотоактивная базовая область, полностью поглощающая воздействующее излучение; идеальность гетерограниц, препятствующих просачиванию основных носителей базы в коллектор и накоплению их в нем. Все это ведет к тому, что гетерофототранзисторы могут иметь не только высокую чувствительность в любом заданном участке спектра, но и очень высокое быстродействие (в нано- и субнаносекундном диапазоне).
Однако гетерофототранзисторы используются, как правило, лишь в диодном включении (так как вывод от узкой базовой области сделать затруднительно), что лишает их схемотехнической гибкости, присущей транзисторам. По мере усовершенствования и промышленного развития эти приборы станут "соперниками" ЛФД, выгодно отличаясь от них низким питающим напряжением, отсутствием жестких требований к стабилизации режима работы и другими достоинствами, присущими транзисторам.

Рисунок 2.7 - Гетерофототранзистор
1-- n+
-InP-эмиттер с кольцевым электродом;
2-- p-InGaAsP-база;
3-- n+
-n-InP-коллектор (подложка).
Тонкая фотоактивная базовая область, обусловленная идеальностью гетерограниц, обеспечивает накопление основных носителей заряда в базе и отсутствие просачивания неосновных носителей в эмиттер.

Рисунок 2.8 - Структура гетерофототранзистора.
Гетерофототранзисторы имеют высокую фоточувствительность и быстродействие (10–9
-10–10
с), низкое напряжение питания, возможность выбора спектральной области чувствительности [5].
Но в то же время гетерофототранзистор используется обычно в диодном включении (вывод от узкой базы сложно сделать), поэтому не полностью реализуются схемотехнические возможности фототранзистора.
2.5.1 Физические основы гетероперехода
Если n- и p-область перехода изготовлены из различных полупроводников, то такой переход называется гетеропереходом. Отличие от обычного перехода более тонко в том случае, когда полупроводники взаиморастворимы, а переход плавный. Переходы последнего типа иногда называют "квазигомопереходами". Таким образом, плавные переходы между n-ZnSe и p-ZnTe или между p-GaAs и n-GaР являются квазигомопереходами.

Рисунок 2.9 - Инжекцию неосновных носителей в полупроводнике
Одной из причин обращения к гетеропереходам является возможность получить высокоэффективную инжекцию неосновных носителей в узкозонный полупроводник, т.е. суперинжекция, заключающаяся в том, что концентрация инжектированных в базу носителей может на несколько порядков превысить их равновесное значение в эмиттерной области (рис.2.9). Это означает, что стремление получить g=1 в широком интервале изменения прямого тока не накладывает каких-либо ограничений на вид и концентрацию легирующей примеси в эмиттерной и базовой областях - у разработчика оптоэлектронных приборов появляется лишняя "степень свободы" [17].
Это свойство гетеропереходов легко понять из рассмотрения рис.3.6. Когда прямое смещение выравнивает валентную зону, дырки нжектируются в n-область. Инжекции же электронов из n-области в p-область препятствует барьер DE = Еg1
- Еg2
(рис. 2.10).

а) б)
Рисунок2.10 - Идеальная зонная схема для гетероперехода.
а) - в условиях равновесия; б) - при прямом смещении V
Очевидно, что в этом случае излучательная рекомбинация будет происходить в узкозонной области. Так, в гетеропереходах GaAs - GaSb полоса инжекционной люминесценции находится при энергии 0,7 эВ, что равно ширине запрещенной зоны GaSb. Оптические свойства эмиттера и базы гетероструктуры различны и могут в широких пределах изменяться независимо друг от друга. Отсюда, в частности, следует, что широкозонный эмиттер представляет собой "окно" для более длинноволнового излучения, генерируемого (или поглощаемого) узкозонной базой.
Кроме того, различие в значениях Еg ведет и к различию показателей преломления n, что порождает волноводный эффект, т.е. концентрацию оптической энергии в слое с большим n при распространении излучения вдоль слоя [8].

Рисунок 2.11 – Зоны раздела
На практике гетеропереходам присущи недостатки, связанные с границей раздела: уровень Ферми оказывается фиксированным на границе из-за поверхностных состояний. Поэтому вместо ровного хода для одной из зон обычно имеет место барьер типа Шоттки, как показано на рис. 3.8, Поскольку барьер Шоттки обладает выпрямляющим действием, его присутствие становится очевидным при рассмотрении n-n-гетеропереходов - т.е. переходов между двумя различными полупроводниками n-типа [7].
2.5.2 Расчет параметров и характеристик фототранзистора на гетеропереходах
Параметры фототранзистора на гетеропереходах:
- ВАХ фототранзистора;
- Энергетические характеристики;
- Спектральные характеристики;
- Пороговый поток Фn
;
- Выявляющая способность Д;
- Коэффициент усиления на фототоках ;
- Вольтовая чувствительность he
13
;
- Тоновая чувствительность;
- Токовая чувствительность с общим эмиттером ;
Выходные данные:
х1
(GaAs) = 4,53 eB; х1
(Ge) = 4,66 eB
φ0
=0,15 eB; р
0
=1014
см-3
;
j
0
=10-12 A
; n
0
=1015
см-3
;
Т= 300 К; q=-1.6·1019
Диэлектрическая постоянная вычисляется по формулам:
в p-области (2.1)
в n –области (2.2)
На границах гетеропереходов при х=0 должно выполнятся условие неразрывности нормальной составляющей электрической индукции:
(2.3)
φ1
(х) и φ2
(х), х=0 находим
(2.4)
(2.5)
где
(2.6)
Полная контактная разница потенциалов на границе гетеропереходов равна отношению:
φ0
= φ1
(0) + φ1
(0) (2.7)
Теперь найдем толщину объемного заряда:
= 0,6·10-7
= 0,145·10-7
Теперь рассчитаем толщину объемного заряда:
L=Ln+Lp=0,6·10-7
+0,145·10-7
=0,745·10-7см
.
Вольтамперная характеристика гетероперехода
(2.8)
При І0
= const, I=I0
–обратное смещение.
При І0
≠const, I=I0
– прямое смещение.

Исходя из полученных результатов строим график

Рисунок 2.12 – Вольтамперная характеристика фототранзистора
ВЫВОДЫ
В ходе данной курсовой работе:
- были рассмотрены общие сведения и принцип работы транзисторов;
- рассчитана линейная зависимость токов в транзисторе
- рассмотрен принцип работы фототранзистора, а также работа фототранзистора с общим эмиттером
- рассмотрены некоторые виды фототранзистора и принципы их работы
- рассчитаны некоторые параметры прибора на гетеропереходах и построена вольтамперная характеристика фототранзистора.
1. Ефимов И.Е., Козырь И.Я. Основы микроэлектроники. – 2-е изд., перераб. и доп. – М.: Высшая школа, 1983г. – 384 с.
2. Тугов Н.М., Глебов Б.А., Чарыков Н.А. Полупроводниковые приборы. – М.: Энергоатомиздат, 1990г. – 376 с.
3. Степаненко И.П. Основы микроэлектроники. – М.: Сов. радио, 1980г.
4. Полупроводниковые приборы: транзисторы. Справочник. Под ред. Н. Н. Горюнова – М.: Энергоатомиздат, 1985г. – 404 с.
5. Федотов Я. А. Основы физики полупроводниковых приборов. М., “Советское радио”, 1970г. – 392 с.
6. Жеребцов И.П. Основы электроники. – Энергоатомиздат, Ленинградское отд-ние, 1989г. – 352 с.
7. Епифанов Г.И. Физические основы микроэлектроники М.: Сов. радио, 1971 г. – 376 с.
8. Ефимов И. Е., Козырь И. Я., Горбунов Ю. И. Микроэлектроника. М.: Высшая школа, 1987г. – 326 с.
9. Носов Ю. Р. Оптоэлектроника. М.: Советское радио, 1977г.- 232 с.
10. Пасынков В. В., Чиркин Л. К. Полупроводниковые приборы. М.: Высшая школа, 1987г. 479 c.
11. Бараночников М.. Фототранзисторы. Журнал «Радио» № 6,7,8 – 1992 г
12. Ніконова З.А., Небеснюк О.Ю. Твердотіла електроніка. Конспект лекцій для студентів напрямку «Електроніка» ЗДІА/ Запоріжжя: Видавництво ЗДІА, 2002. – 99с.
13. Твердотіла електроніка. Навчальний посібник до курсового проекту для студентів ЗДІА спеціальності «Фізична та біомедична електроніка» денної та заочної форм навчання /Укл: З.А. Ніконова, О.Ю. Небеснюк,, М.О. Літвіненко, Г.А. Слюсаревська. Запоріжжя, 2005. – 40с.
14. Зи С. Физика полупроводниковых приборов: Пер. с англ. М.: Мир, 1984.
15. Батушев В. А. Электронные приборы. – М. , “Высшая школа” 1980.
16. Ефимов И.Е., Горбунов Ю.И., Козырь И.Я. Микроэлектроника. Проектирование, виды микросхем, функциональная электроника. – М.: Высшая школа, 1987. – 416 с.
17. Федотов Я. А. Основы физики полупроводниковых приборов. М., “Советское радио”, 1970. – 392 с.
|