Банк рефератов содержит более 364 тысяч рефератов, курсовых и дипломных работ, шпаргалок и докладов по различным дисциплинам: истории, психологии, экономике, менеджменту, философии, праву, экологии. А также изложения, сочинения по литературе, отчеты по практике, топики по английскому.
Полнотекстовый поиск
Всего работ:
364139
Теги названий
Разделы
Авиация и космонавтика (304)
Административное право (123)
Арбитражный процесс (23)
Архитектура (113)
Астрология (4)
Астрономия (4814)
Банковское дело (5227)
Безопасность жизнедеятельности (2616)
Биографии (3423)
Биология (4214)
Биология и химия (1518)
Биржевое дело (68)
Ботаника и сельское хоз-во (2836)
Бухгалтерский учет и аудит (8269)
Валютные отношения (50)
Ветеринария (50)
Военная кафедра (762)
ГДЗ (2)
География (5275)
Геодезия (30)
Геология (1222)
Геополитика (43)
Государство и право (20403)
Гражданское право и процесс (465)
Делопроизводство (19)
Деньги и кредит (108)
ЕГЭ (173)
Естествознание (96)
Журналистика (899)
ЗНО (54)
Зоология (34)
Издательское дело и полиграфия (476)
Инвестиции (106)
Иностранный язык (62791)
Информатика (3562)
Информатика, программирование (6444)
Исторические личности (2165)
История (21319)
История техники (766)
Кибернетика (64)
Коммуникации и связь (3145)
Компьютерные науки (60)
Косметология (17)
Краеведение и этнография (588)
Краткое содержание произведений (1000)
Криминалистика (106)
Криминология (48)
Криптология (3)
Кулинария (1167)
Культура и искусство (8485)
Культурология (537)
Литература : зарубежная (2044)
Литература и русский язык (11657)
Логика (532)
Логистика (21)
Маркетинг (7985)
Математика (3721)
Медицина, здоровье (10549)
Медицинские науки (88)
Международное публичное право (58)
Международное частное право (36)
Международные отношения (2257)
Менеджмент (12491)
Металлургия (91)
Москвоведение (797)
Музыка (1338)
Муниципальное право (24)
Налоги, налогообложение (214)
Наука и техника (1141)
Начертательная геометрия (3)
Оккультизм и уфология (8)
Остальные рефераты (21692)
Педагогика (7850)
Политология (3801)
Право (682)
Право, юриспруденция (2881)
Предпринимательство (475)
Прикладные науки (1)
Промышленность, производство (7100)
Психология (8692)
психология, педагогика (4121)
Радиоэлектроника (443)
Реклама (952)
Религия и мифология (2967)
Риторика (23)
Сексология (748)
Социология (4876)
Статистика (95)
Страхование (107)
Строительные науки (7)
Строительство (2004)
Схемотехника (15)
Таможенная система (663)
Теория государства и права (240)
Теория организации (39)
Теплотехника (25)
Технология (624)
Товароведение (16)
Транспорт (2652)
Трудовое право (136)
Туризм (90)
Уголовное право и процесс (406)
Управление (95)
Управленческие науки (24)
Физика (3462)
Физкультура и спорт (4482)
Философия (7216)
Финансовые науки (4592)
Финансы (5386)
Фотография (3)
Химия (2244)
Хозяйственное право (23)
Цифровые устройства (29)
Экологическое право (35)
Экология (4517)
Экономика (20644)
Экономико-математическое моделирование (666)
Экономическая география (119)
Экономическая теория (2573)
Этика (889)
Юриспруденция (288)
Языковедение (148)
Языкознание, филология (1140)

Курсовая работа: Деление чисел в нормализованной форме

Название: Деление чисел в нормализованной форме
Раздел: Рефераты по информатике, программированию
Тип: курсовая работа Добавлен 07:17:19 26 июля 2009 Похожие работы
Просмотров: 49 Комментариев: 21 Оценило: 3 человек Средний балл: 5 Оценка: неизвестно     Скачать

Министерство образования и науки Российской Федерации

Федеральное агентство по образованию

Марийский государственный технический университет

Кафедра информатики и

системного программирования

Курсовая работа по дисциплине информатика на тему:

Деление чисел в нормализованной форме

Выполнила: студент ИВТ-11

Васильев Иван Федорович

Проверила: старший преподаватель

Кафедры ИиСП Иванова И.Н.

Йошкар-Ола

2009

Содержание

1. Теоретическая часть

1.1 Теория

1.2 Описание метода решения

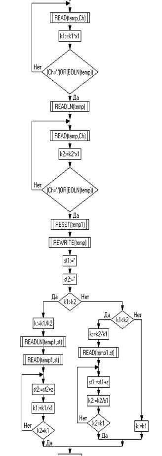
2. Алгоритм (блок-схема) работы программы

2.1 Листинг программы

2.2 Тестирование программы

3. Вывод

Введение

Постановка задачи:

Ввод: два числа в десятичной СС в естественной форме. Программа переводит числа в нормализованную форму, делит нормализованные числа.

Вывод: частное от деления в нормализованной форме в десятичной СС.

В данной курсовой работе показан один из алгоритмов деления чисел в нормализованной форме. Такие программы удобны для быстрого получения нормализованного произведения чисел с помощью TPPascal. Для реализации поставленной задачи я использовала теоретические сведения из курса информатики и ПнаЯВУ, а также полученные ранее знания в области программирования.

1. Теоретическая часть

1.1 Теория

Пусть имеются два числа X1 = M1 ·pk1 и X2 = M2 ·pk2 (здесь индексы у мантиссы и порядка означают не систему счисления, а служат номерами чисел). Умножение должно начинаться с выявления большего из k1 и k2 , нахождения модуля их разности k =|k1 - k2 | и сдвига вправо на k разрядов мантиссы того числа, у которого k оказался меньше. Операция деления, проводимая как над целыми, так и вещественными числами, приводит в общем случае к появлению вещественного числа, поэтому целые числа предварительно преобразуются в вещественный тип, т.е. переводятся в нормализованную форму. Очевидно, при делении X1 X2 мантисса частного M = M1 /M2 , а порядок k = k1 -k2 . При этом непосредственно операция деления сводится к сдвигу делителя вправо и последовательному вычитанию его из делителя (т.е. сложения с дополнительным кодом вычитаемого). Как и в предыдущих операциях, результат деления при необходимости нормализуется.

1.2 Описание метода решения

Метод решения заключается в считывании из INPUT в файл чисел, переписывании чисел без разделения их на целую и дробную части, подсчитывании количества разрядов чисел, выбора большего разряда, и сдвига вправо на k разрядов меньшего числа, затем деления нормализованных чисел, если возникает необходимость - нормализации результата, и вывода суммы в OUTPUT.

2. Алгоритм (блок-схема) работы программы

2.1 Листинг программы

Программа считывает числа в файл, убирает ‘. ’, считает количество разрядов - k умножаем на 10, до тех пор пока не дойдем до дробной части, с помощью IFTHENELSE находим больший k у одного из чисел, а к меньшему числу добавляем нули, тем самым сдвигая его вправо, в то же время делим больший k на 1 разряд, предварительно присвоив его другому элементу, до тех пор пока k1 не будет равно k2, записываем в файл числа построчно, начиная с “0. ” - для нормализации, затем нули (если таковые имеются), и само число без “. ”. Считываем записанное построчно как числа и выполняем деление. Часто возникают ситуации, когда необходима нормализация результата, его нормализуем таким же образом как и вводимые числа. Выводим результат + “*k”.

PROGRAM DELENIEVNORMFORME;

USES CRT;

CONST

pt='0. ';

z='0';

x1=10;

VAR

lst1,lst2: INTEGER;

j,x,M,k1,k2,k: REAL;

st,st1,st2,jst,xst: string;

temp,temp1: text;

Ch: CHAR;

BEGIN

ASSIGN (temp, 'temp. DAT'); { Создаем временные файлы, для промежуточных преобразований над числами }

ASSIGN (temp1, 'temp1. DAT');

REWRITE (temp);

REWRITE (temp1);

WRITELN ('Введите первое число: '); {Считываем оба числа в файл}

READ (st);

WRITELN (temp,st);

WRITELN ('Введите второе число: ');

READLN;

READLN (st);

WRITE (temp,st);

k1: =1;

k2: =1;

RESET (temp);

WHILENOTEOF (temp) {Переписываем числа во второй файл, убирая '. '}

DO

BEGIN

WHILE NOT EOLN (temp)

DO

BEGIN

READ (temp,Ch);

IF (Ch ='. ')

THEN

ELSE

WRITE (temp1,Ch);

END;

READLN (temp);

WRITELN (temp1)

END;

RESET (temp);

REPEAT {Считаем количество разрядов первого числа}

BEGIN

READ (temp,Ch);

k1: =k1*x1;

END

UNTIL (Ch ='. ') OR (EOLN (temp));

READLN (temp);

REPEAT {Считаем количество разрядов второго числа}

BEGIN

READ (temp,Ch);

k2: =k2*x1;

END

UNTIL (Ch ='. ') OR (EOLN (temp));

RESET (temp1);

REWRITE (temp);

st1: ='';

st2: ='';

IF k1>k2 {ищем на сколько разрядов сдвигать вправо меньшее число }

THEN

BEGIN

k: =k1/k2;

READLN (temp1,st);

READ (temp1,st);

REPEAT

BEGIN

st2: =st2 + z;

k1: =k1/x1;

END;

UNTIL k2=k1;

END

ELSE

IF k1<k2

THEN

BEGIN

k: =k2/k1;

READ (temp1,st);

REPEAT

BEGIN

st1: =st1 + z;

k2: =k2/x1;

END

UNTIL k2=k1;

END

ELSE

k: =k1;

st1: =pt+st1; {Нормализуем числа}

st2: =pt+st2;

RESET (temp1);

REWRITE (temp);

READLN (temp1,jst);

READ (temp1,xst);

WRITE (temp,st1,jst);

WRITELN (temp);

WRITE (temp,st2,xst);

RESET (temp);

READLN (temp,j);

READ (temp,x);

M: = (j/x); {делим}

IF M > 1 { при необходимости результат деления нормализуем }

THEN

BEGIN

REWRITE (temp);

REWRITE (temp1);

WRITE (temp,M: 1: 10);

RESET (temp);

WHILE NOT EOLN (temp)

DO

BEGIN

READ (temp,Ch);

IF Ch ='. '

THEN

ELSE

WRITE (temp1,Ch);

END;

RESET (temp1);

READ (temp1,st);

WRITE ('Частное от деления в нормализованной форме: ','0. ',st,'*',k: 1: 0);

END

ELSE

WRITE ('Частное от деления в нормализованной форме: ', M: 1: 10,'*',k: 1: 0);

END.

2.2 Тестирование программы

Для тестирования введем два числа


На выходе имеем частное от деления в нормализованной форме

3. Вывод

При выполнении этой курсовой работы, был составлен наиболее оптимальный алгоритм деления чисел в нормализованной форме. Более глубоко изучена работа со строковыми данными и типами REAL и INTEGER. Эта программа в первую очередь наиболее необходима людям, которые вручную делят числа в нормализованной форме, чтобы заменить ручной труд на машинный.

Оценить/Добавить комментарий
Имя
Оценка
Комментарии:
Хватит париться. На сайте FAST-REFERAT.RU вам сделают любой реферат, курсовую или дипломную. Сам пользуюсь, и вам советую!
Никита13:25:19 02 ноября 2021
.
.13:25:17 02 ноября 2021
.
.13:25:17 02 ноября 2021
.
.13:25:16 02 ноября 2021
.
.13:25:16 02 ноября 2021

Смотреть все комментарии (21)
Работы, похожие на Курсовая работа: Деление чисел в нормализованной форме

Назад
Меню
Главная
Рефераты
Благодарности
Опрос
Станете ли вы заказывать работу за деньги, если не найдете ее в Интернете?

Да, в любом случае.
Да, но только в случае крайней необходимости.
Возможно, в зависимости от цены.
Нет, напишу его сам.
Нет, забью.



Результаты(287928)
Комментарии (4159)
Copyright © 2005-2021 HEKIMA.RU [email protected] реклама на сайте