Банк рефератов содержит более 364 тысяч рефератов, курсовых и дипломных работ, шпаргалок и докладов по различным дисциплинам: истории, психологии, экономике, менеджменту, философии, праву, экологии. А также изложения, сочинения по литературе, отчеты по практике, топики по английскому.
Полнотекстовый поиск
Всего работ:
364139
Теги названий
Разделы
Авиация и космонавтика (304)
Административное право (123)
Арбитражный процесс (23)
Архитектура (113)
Астрология (4)
Астрономия (4814)
Банковское дело (5227)
Безопасность жизнедеятельности (2616)
Биографии (3423)
Биология (4214)
Биология и химия (1518)
Биржевое дело (68)
Ботаника и сельское хоз-во (2836)
Бухгалтерский учет и аудит (8269)
Валютные отношения (50)
Ветеринария (50)
Военная кафедра (762)
ГДЗ (2)
География (5275)
Геодезия (30)
Геология (1222)
Геополитика (43)
Государство и право (20403)
Гражданское право и процесс (465)
Делопроизводство (19)
Деньги и кредит (108)
ЕГЭ (173)
Естествознание (96)
Журналистика (899)
ЗНО (54)
Зоология (34)
Издательское дело и полиграфия (476)
Инвестиции (106)
Иностранный язык (62791)
Информатика (3562)
Информатика, программирование (6444)
Исторические личности (2165)
История (21319)
История техники (766)
Кибернетика (64)
Коммуникации и связь (3145)
Компьютерные науки (60)
Косметология (17)
Краеведение и этнография (588)
Краткое содержание произведений (1000)
Криминалистика (106)
Криминология (48)
Криптология (3)
Кулинария (1167)
Культура и искусство (8485)
Культурология (537)
Литература : зарубежная (2044)
Литература и русский язык (11657)
Логика (532)
Логистика (21)
Маркетинг (7985)
Математика (3721)
Медицина, здоровье (10549)
Медицинские науки (88)
Международное публичное право (58)
Международное частное право (36)
Международные отношения (2257)
Менеджмент (12491)
Металлургия (91)
Москвоведение (797)
Музыка (1338)
Муниципальное право (24)
Налоги, налогообложение (214)
Наука и техника (1141)
Начертательная геометрия (3)
Оккультизм и уфология (8)
Остальные рефераты (21692)
Педагогика (7850)
Политология (3801)
Право (682)
Право, юриспруденция (2881)
Предпринимательство (475)
Прикладные науки (1)
Промышленность, производство (7100)
Психология (8692)
психология, педагогика (4121)
Радиоэлектроника (443)
Реклама (952)
Религия и мифология (2967)
Риторика (23)
Сексология (748)
Социология (4876)
Статистика (95)
Страхование (107)
Строительные науки (7)
Строительство (2004)
Схемотехника (15)
Таможенная система (663)
Теория государства и права (240)
Теория организации (39)
Теплотехника (25)
Технология (624)
Товароведение (16)
Транспорт (2652)
Трудовое право (136)
Туризм (90)
Уголовное право и процесс (406)
Управление (95)
Управленческие науки (24)
Физика (3462)
Физкультура и спорт (4482)
Философия (7216)
Финансовые науки (4592)
Финансы (5386)
Фотография (3)
Химия (2244)
Хозяйственное право (23)
Цифровые устройства (29)
Экологическое право (35)
Экология (4517)
Экономика (20644)
Экономико-математическое моделирование (666)
Экономическая география (119)
Экономическая теория (2573)
Этика (889)
Юриспруденция (288)
Языковедение (148)
Языкознание, филология (1140)

Реферат: Основна гідросистема комбайна РСМ-10 "ДОН-1500"

Название: Основна гідросистема комбайна РСМ-10 "ДОН-1500"
Раздел: Рефераты по транспорту
Тип: реферат Добавлен 17:22:47 19 сентября 2010 Похожие работы
Просмотров: 4000 Комментариев: 21 Оценило: 4 человек Средний балл: 5 Оценка: неизвестно     Скачать

РЕФЕРАТ

на тему:

Основна гідросистема комбайна РСМ-10 (ДОН-1500)

Гідросистема комбайна РСМ-10 (ДОН-1500) представлена на рис. 1.

Рис.1 Принципова схема основного гідроприводу комбайна «Дон-1500»: 1 — бак; 2 — насос; З і 4 — півмуфти; 5 — гідроклапан з електромагнітним керуванням; 6 — розподільник з ручним керуванням; 7 — гідроциліндри піднімання і опускання жатної частини; 8 — дроселювальний регульований клапан; 9, 17, 19, 23, 26, 27, 28, 29, 31, 33, 34 і 37 — дроселі нерегульовані; 10, 18, 20 і 21 — з'єднувальні муфти; 11 — гідроциліндр варіатора мотовила; 12 і 13 — гідроциліндри вертикального переміщення мотовила; 14 і 15 — гідроциліндри горизонтального переміщення мотовила: 16— гідроциліндр механізму вмикання і вимикання робочих органів молотарки; 22 — двосекційний гідророзподільник з електрогідравлічним керуванням; 24 — гідроциліндр реверса жатної частини; 25 — гідроциліндр механізму вмикання і вимикання вивантажувальних шнеків бункера; 30 — гідроциліндр варіатора молотильного барабана; 32 — гідроциліндр повороту вивантажувального похилого шнека бункера; 35 і 36 — вібратори бункера; 38 — гідроциліндр відкриття заскочки клапана копнувача; 39 і 40 — гідроциліндри закриття клапана копнувача; 41 — розподільник керування копнувачем; 42 — трисекційний гідророзподільник з електрогідравлічним керуванням; 43 і 44 — трубопроводи лінії гідроприводу рульового керуваня; 45 — запобіжно-переливний клапан; 46 — трубопровід лінії гідроприводу рульового керування.


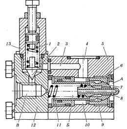
Бак (місткістю 25 л) призначений для забезпечення гідропривода маслом. Крім того, у баці масло частково охолоджується, звільняється від повітря і очищається. Він спільний для основного та рульового гідропривода і складається із корпуса 1 (рис. 2), всередині якого розміщені фільтр 3, сапун 11, маслопокажчик 12, зливний вентиль 8 і патрубки.

Фільтр забезпечує ступінь фільтрації до 25 мкм і складається з корпуса, зворотного клапана 13, клапана-сигналізатора 7 і фільтроелемента 6.

Зворотний клапан запобігає витіканню масла із бака при заміні фільтроелемента.

Клапан-сигналізатор призначений для контролю чистоти фільтроелемента. При надмірному забрудненні фільтроелемента і підвищенні тиску в зливній лінії понад 0,25 МПа в кабіні спрацьовує звуковий і світловий сигнали.

Сапун забезпечує сполучення порожнини бака з атмосферою. При цьому повітря в ньому очищається від механічних домішок.

Маслопокажчик призначений для візуального контролю рівня масла в порожнині бака. Кількість масла в баці повинна бути між верхньою і нижньою міткою, нанесеною на масломірному склі, коли жатка і мотовило опущені. Зливний вентиль призначений для зливання масла з бака. При відкручуванні його штуцера кулька вентиля відходить від сідла, відкриваючи цим зливний отвір. Патрубок 10 призначений для приєднання всмоктувального трубопроводу насоса НШ-32-3 основного гідропривода, а патрубок 9 — насоса НШ-10Е-3 гідропривода рульового керування. Вони розміщені на різній висоті над дном бака. Патрубок 9 коротший, оскільки кількості масла буде достатньо для роботи гідропривода рульового керування на випадок витікання масла з лінії основного гідропривода.

Зливання масла з гідропривода відбувається через патрубок Б фільтра, його фільтроелемент 6, зворотний клапан 13 і в бак. При забрудненні фільтроелемента масло надходить у бак через клапан-сигналізатор 7.


Рис.2 . Бак основного гідропривода : 1—корпус; 2 — стакан фільтра; 3 — фільтр; 4 —кришка; 5 — пробка; 6 — філь-троелемент; 7 — клапан-сигналізатор; 8 — зливний вентиль; 9 — всмоктувальний патрубок насоса НШ-10Е-3 гідропривода рульового керування; 10 — всмоктувальний патрубок насоса НШ-32-3 основного гідропривода; 11—сапун; 12 — маслопо- кажчик; 13 — зворотний клапан; А — зливання масла в бак при забрудненому фільтроелементі; Б — зливання масла з гідропривода.

Рис.3. П’ятисекційний гідророзподільник з ручним керуванням: 1, 2, З, 4 і 5 — робочі секції; 6 — отвір для зливу рідини з лінії керування; 7 і 15 — кришки; 5 — болт; 9 і 10 — ущільнювальні кільця; 11 — отвір для відведення рідини }• лінію зливу; 12 — гайка; 13 — заглушка; 14 — отвір для підведення рідини із напірної лінії; 16 — отвір для підведення рідини з лінії керування; А, Б — зливні канали; В — напірний канал; Г— канал лінії керування.


П'ятисекційний гідророзподільник з ручним керуванням гідроприводу зернозбирального комбайна «Дон» призначений для керування такими гідроциліндрами: піднімання і опускання жатноїчастини, вертикального та горизонтального переміщення мотовила,варіатора мотовила, механізму вмикання і вимикання робочихорганів молотарки.

Розподільник має п'ять робочих секцій і дві кришки 7 і 15 (рис. 3),що з'єднані між собою трьома болтами 8 з гайками 12. Керують п'ятьма секціями двома рукоятками. В такому розподільнику немаєпереливної секції. її функцію виконує запобіжно-переливний клапан, що спільний для всього основного гідроприводу.

У корпусах секцій є напірний канал В, верхній і нижній зливні каналиБ, які через вертикальний канал А в кришці 7 сполучені між собою, та є канал Г потоку лінії керування. В напірний канал В рідинапідводиться через отвір 14 в кришці. В канал Г рідина підводиться через отвір 16 кришки 15, а відводиться на злив через отвір 6 кришки 7. В цій самій кришці є отвір 11 для відведення рідиниу зливну лінію гідроприводу. Канали Б, В і Г проходять через всі корпуси секцій.

Робочі секції гідророзподільника двох типів: з двобічним гідрозамкомта однобічними. Будова їх і принцип дії аналогійний секціям розподільника типу ГА-3400.

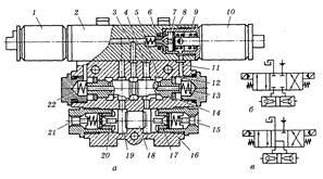
Секційні гідророзподільники з електрогідравлічним керуванням типу 73.00.00.000 В(РЗГ-50). їх встановлено в основному гідроприводі зернозбирального комбайна «Дон». Вони бувають три- і двосекційними.


Рис.4. Трисекційний гідророзподільник з електрогідравлічним керуванням: 1, 9кришки; 2 — заглушка; З, 4 і 6 — секції; 5 — під'єднувальний отвір трубопроводу до гідроциліндра; 7 — отвір напірної лінії; 8, 11 — ущільнювальні кільця; 10 — електромагнітна приставка; 12 — гайка; 13 — болт; 14 — отвір лінії зливу; А і В — канал зливу; Б — напірний канал.

Ці гідророзподільники складаються із трьох робочих секцій 3, 4 і 6 (рис.4) з електромагнітними приставками 10 і двох кришок 1 і 9. Секції і кришки стягнуті болтами 13 і закріплені гайками 12.

У кришці 9 є отвір 7 для підведення рідини від напірної лінії гідроприводу. В кришці 1 зроблено канал В, що сполучає канали зливу А секцій, і отвір 14 для відведення рідини в лінію зливу гідроприводу. Кожна секція має напірний канал Б, спільний для всіх секцій, так як і зливні канали А. Секція 4 має двобічний гідрозамок, секція 3 не має гідрозамка.

Секція розподільника складається з електромагнітної приставки 2 (рис.5), золотника 14, запірних елементів 17 і 20 та поршня 18 гідрозамка і корпусу 16.

Електромагнітна приставка — це два електромагніти 1 і 10 та клапани 8, вставлені в електромагніти. Клапани перекривають напірний канал 3 з порожнинами 12 керування золотника.

Принцип дії. При вмиканні електромагніта 10 клапан 8 відходить від свого сідла 6 і напірний канал 3 сполучається через порожнину 7 і канал керування 11 з порожниною 12 золотника 14. Під риском рідини золотник змішується вліво, сполучивши своєю кільцевою проточкою напірний канал з порожниною 19 поршня 18 гідрозамка. Завдяки тиску рідини запірний елемент 20 клапана гідрозамка відходить від свого сідла і рідина під тиском надходить через під'єднувальний отвір 21 в одну із порожнин гідроциліндра. Одночасно під дією тиску рідини поршень 18 зміщується вправо і відкриває запірний елемент і 7, а рідина з другої порожнини гідроциліндра зливається через під'єднувальний отвір 15, зливний канал 5 в лінію зливу гідроприводу.

Коли вмикають електромагніт 1, процес повторюється в зворотному напрямку.

Якщо електромагніти вимкненні, золотник 14 під дією пружин 13 і 22 повертається в нейтральне положення.

У таких розподільниках переливної секції також немає. її функції виконує запобіжно-переливний клапан. Останній переключається в режим переливного клапана за допомогою гідроклапана з електромагнітним керуванням.

Рис.5. Секція гідророзподільника з електрогідравлічним керуванням: а — будова; 6— умовне позначення спрощене; в — умовне позначення детальне (злив рідини з порожнини гідрозамка); 1 і 10 — електромагніти; 2 — електромагнітна приставка; 3 — напірний канал; 4, 7, 12 і 19 -— порожнини; 5 — зливний канал; 6 — сідло; 8 — клапан; 9, 13 і 22 — пружини; 11 — канал керування; 14 — золотник; 15 і 21 — під'єднувальні отвори до порожнин гідроциліндра; 16 — корпус секції; 17 і 20 — запірні елементи клапанів гідрозамка; 18 — поршень.


Останнім часом у гідроприводах, наприклад комбайнів «Дон», застосовують запобіжно-переливні клапани, що працюють в режимі запобіжного клапана непрямої дії і виконують функцію клапан переливної секції гідророзподільника. Тобто у секційних розподільниках таких гідроприводів переливної секції немає.

Запобіжно-переливний клапан складається з основного (переливного) і допоміжного (запобіжного). Запірним елементом переливного клапана є порожнистий золотник 7 (див. рис. 6.), який через осердя 9 підтиснутий пружиною 11 до сідла 6. В осерді є дросельний отвір 8. Запірний елемент допоміжного клапана — конус 2, який пружиною 1 підтиснутий до сідла в кришці 12.

У кришці 12 є порожнина В, під'єднана до каналу лінії керування секційного розподільника з ручним керуванням. Ця порожнина сполучена із зливним отвором 4 і каналом з післядросельною порожниною Б.

У корпусі 5 переливного клапана є кільцева виточка 10, сполучена із зливним отвором 4, а також порожнина А для під'єднання напірної лінії насоса.

Запобіжно-переливний клапан у режимі запобіжного клапана Непрямої дії працює так. При підвищенні тиску рідини в напірній лінії гідроприводу (наприклад, коли шток гідроциліндра знаходиться у крайньому положенні, а золотник розподільника утримується в робочому положенні), такий самий тиск буде і в порожнинах Б і В. Це пов'язано з тим, що рідина не зливається з порожнини В через канал лінії керування, оскільки він перекритий буртиком золотника розподільника. Тоді під дією надмірного тиску рідини конус 2 допоміжного клапана відходить від свого сідла і порожнина В сполучається через канал 3 із зливним отвором 4.

Тиск у порожнинах В і Б буде меншим, ніж в порожнині А. Осердя 9 і золотник 7 змішуються вліво і порожнина А сполучається із зливним отвором 4. Тиск у напірній лінії знижується. Як тільки у порожнині А він стає нормальним (дорівнює зусиллю регулювання пружини 1 допоміжного клапана), конус роз'єднає порожнину В із зливним отвором 4, тиск у порожнинах В, Б і А зрівняється і золотник переливного клапана під дією пружини повернеться у початкове положення, роз'єднає порожнину А і напірну лінію з отвором 4.

У режимі переливного клапана (як переливна секція) запобіжно-переливний клапан працює так. При нейтральному положенні золотників розподільника порожнина В сполучена з каналом лінії керування і зливом. Тоді тиск у порожнині А буде вищим, ніж в порожнині Б. Золотник 7 переливного клапана гідравлічно не зрівноважується і під дією тиску рідини зміщується вліво, сполучаючи порожнину А із зливним отвором 4. Рідина, що подається насосом, надходить у зливну лінію під невеликим тиском. Таким чином, насос захищається від перевантажень, коли споживачі (гідродвигуни) не працюють.

Рис. 6. Запобіжно-переливний клапан непрямої дії основного гідроприводу зернозбирального комбайна «Дон-1500»: 1г 11 — пружини; 2 — конус допоміжного клапана; З — зливний канал; 4 — зливний отвір; 5 — корпус переливного клапана; 6 — сідло; 7 — золотник; 8— дросельний отвір; 9 — осердя; 10 — кільцева виточка; -12 — кришка; 13 — корпус допоміжного клапана; А — порожнина напірної лінії; Б — післядросельна порожнина; В — порожнина лінії керування.


Вібратори призначені для привода в зворотно-поступальний рух вібролиста вібраційної установки зернового бункера. Це сприяє руйнуванню склепінь малосипкого зерна, чим прискорюється його вивантажування із бункера комбайна. їх встановлено два на одну вібраційну установку.

Вібратор являє собою гідродвигун зворотно-поступального руху з ходом штока 3 мм. Він складається з корпуса 14 (рис.7), поршня 4, золотника 3 з пружиною 12 1 двох кришок. У корпусі є отвір для поршня, дві кільцеві виточки 16 і 18 та отвори 8 і 6 для підведення і зливання масла.

Разом із штоком 13 виготовлено поршень. Він має глухий отвір із трьома внутрішніми кільцевими виточками 15, 7 і 2 та два наскрізних радіальних отвори 9 і 21. Зовні поршня є кільцева виточка 17,. яка косим отвором 19 сполучена з нижньою внутрішньою виточкою 2 поршня. Середня внутрішня виточка 7 поршня косим отвором 5 сполучена з нижньою порожниною 1 корпуса, а верхня 15 — радіальним отвором 11 з верхньою порожниною 24.

На золотнику зроблено дві кільцевих виточки 10 і 20. Нижня виточка 20 сполучена наскрізним радіальним отвором 22 з осьовим каналом 23, що переходить у отвір для пружини 12.

Працює вібратор так. При крайньому нижньому положенні золотника (рис.7 а) масло від розподільника під тиском подається насосом у нижню порожнину 1 корпуса. У цей час верхня порожнина корпуса і нижня внутрішня виточка 2 поршня сполучені із зливом. Поршень разом із золотником переміщується вверх. Коли зовнішня виточка 17 поршня сполучається з верхньою виточкою 16 корпуса (рис.7, б), масло під тиском подається по косому отвору 19 в нижню внутрішню виточку 2 поршня під золотник. Золотник, стискаючи пружину, переміщується вверх відносно поршня і сполучає своєю верхньою виточкою 10 верхню порожнину 24 корпуса з напірною лінією, а нижньою виточкою 20 — нижню порожнину 1 корпуса із зливом. Поршень переміщується вниз. Як тільки зовнішня виточка 17 поршня сполучиться з нижньою виточкою 18 корпуса (рис.7, а), нижня внутрішня виточка 2 поршня - сполучиться із зливом. Золотник під дією пружини переміститься вниз і процес зворотно-поступального руху поршня повториться.

Рис. 8 Схема роботи вібратора при нижньому (а) і верхньому (б) положеннях та умовне позначення на принципових схемах (в): 1, 24 —нижня і верхня .порожнини корпуса; 2, 7 і 15—внутрішні кільцеві виточки поршня; 3 — золотник; 4 — поршень; 5 і 19 — косі отвори; 6 і 8 — отвори для зливання і підведення масла; 9 і 21 — наскрізні радіальні отвори поршня; 10 і 20 — кільцеві виточки золотника, 11— радіальний отвір поршня; 12 — пружина; 13 — шток 14 — корпус; 16 і 18 — кільцеві виточки поршня;17 зовнішня кільцева виточка поршня; 22 — радіальний отвір золотника; 23 — осьовий канал золотника.

Гідроциліндр варіатора мотовила має корпус (гільзу) 9 (рис.9), який закріплений до нерухомого диска шківа варіатора, і плунжера 10, встановленого в гільзу і з'єднаного з рухомим диском хрестовиною та болтами. Між гільзою і плунжером розміщені маслознімні ущільнювальні кільця 7 і 11. Всередині плунжера змонтований штуцер 2 на двох підшипниках кочення. Манжета підшипників підтиснута пружиною 8.

Щоб збільшити частоту обертання мотовила, масло під тиском спрямовують через кутник 1, штуцер 2, осьовий отвір у плунжері в порожнину між гільзою і плунжером. Плунжер під дією тиску масла висовується із гільзи і переміщує рухомий диск шківа варіатора, витискуючи пас на більший діаметр.

Якщо кутник 1 сполучають із зливною лінією, рухомий Диск шківа відходить від нерухомого диска і пас переходить на менший діаметр. Частота обертання мотовила при цьому зменшується.

Гідроциліндр варіатора молотильного апарата за будовою і принципом дії такий самий, як гідроциліндр варіатора мотовила. Основна відмінність полягає в тому, що гільза гідроциліндра нагвинчена на вал барабана.

Рис.9 . Плунжерний спеціальний гідроциліндр варіатора мотовила: І—кутник; 2— штуцер; 3 — шайба; 4 1 13 — підшипники кочення; 5 — розпірне кільце; 6 — манжета; 7 1 11 — ущільнювальні . кільця; 8 — пружина; 9 — гільза; 10 —плунжер; 12 — стопорне кільце.

Плунжерні гідроциліндри піднімання і опускання жатної частини, вертикального переміщення мотовила (правий), відкриття заскочок і закриття клапана копнувача виконані майже за одною схемою.

Основою таких гідроциліндрів є гільза, до якої з одного боку приварене глухе дно, а з другого — загвинчена головка. У дні є отвір для з'єднання гільзи з рамою машини. В головці з внутрішнього встановлені ущільнювальні Кільця, а з зовнішнього торця — манжета, що знімає забруднення із плунжера. До гільзи або дна закріплений один штуцер для підведення і відведення масла із порожнини гідроциліндра.

Всередину гільзи і головки встановлений плунжер. Зовнішній кінець плунжера має головку з отвором для з'єднання з виконавчим органом, а на внутрішньому кінці закріплене упорне кільце. Воно обмежує переміщення плунжера при його висуванні, упираючись у торець головки.

Поршневі гідроциліндри горизонтального переміщення мотовила (правий), механізм реверса робочих органів молотарки та вивантажувальних шнеків, переводу вивантажувального похилого шнека в робоче і транспортне положення також виконані за одною конструктивною схемою.

Від плунжерних гідроциліндрів вони відрізняються тим, що гільза має два штуцери і дві порожнини. Одна утворена між поршнем, дном і гільзою (безштокова), а друга - між поршнем, головкою, гільзою і штоком (штокова). Причому по об'єму вони неоднакові.

При переміщенні шток спирається на головку гільзи і поршень, який спирається на робочу поверхню гільзи. На поршні є ущільнювальні кільця.

Спеціальні поршневі гідроциліндри відрізняються від звичайних поршневих наявністю двох поршнів (рис. 10).

Рис.10. . Гідропривід горизонтального переміщення мотовила: а — схема; б, в , г — положення півпоршнів лівого гідроциліндра; 1 і 2 — гідроциліндри; 3, 4 і 5 — трубопроводи; 6 — штокова порожнина; 7 і 12 — півпоршні; 8, 10 і 11—радіальні отвори; 9 — осьовий канал; 13 і 14 — безштокові порожнини15 — міжпівпоршнева порожнина; 16 — пружина; 17 — шток.


Гідропривід горизонтального переміщення мотовила призначений для додаткової зміни положення мотовила по горизонталі незалежно від його положення по висоті. Горизонтальне переміщення мотовила здійснюється двома поршневими гідроциліндрами 1 і 2 (рис. 10), які керуються секційним розподільником.

Правий гідроциліндр 2 конструктивно виконаний так, як і звичайні поршневі гідроциліндри. Лівий гідроциліндр 1 має дещо іншу будову, його поршень складається із двох півпоршнів 7 і 12, які вільно надіті на хвостовик штока 17. Між півпоршнями встановлена пружина 16. У хвостовику штока є осьовий канал 9 і три радіальних отвори 8, 10 і 11. Радіальний отвір 10 постійно сполучений з півпоршневою порожниною 15. Отвори ж 8 і 11 розміщені так, що їх відстань від зовнішніх торців півпоршнів менша, ніж хід кожного з них, тобто отвір 8 може сполучатися з порожниною 6, а отвір 11—з порожниною 14. Безштокові порожнини 13 і 14 гідроциліндра 1 сполучені трубопроводом 4 із штоковою порожниною гідроциліндра 2 (вони однакові за об'ємом). Штокова ж порожнина гідроциліндра 1 і безштокова гідроциліндра 2 сполучені з гідророзподільником.

Працює гідропривід так. Коли масло під тиском надходить від гідророзподільника по трубопроводу 5 у штокову порожнину гідроциліндра 1, його шток переміщується вправо, а півпоршні 7 і 12 займуть відповідне положення (рис. 10, б). Масло, яке витиснулося із порожнини 13 і 14,. поступає по трубопроводу 4 в штокову порожнину правого гідроциліндра 2 і його шток також переміститься вправо.

Як тільки шток лівого гідроциліндра 1 займе крайнє праве положення (рис. 10, в), міжпівпоршнева порожнина 15 сполучиться з порожниною 13, а відповідно зі штоковою порожниною гідроциліндра 2. Під тиском масла пів-поршень 7, стискаючи пружину 16, зміщується вправо, відкриваючи радіальний отвір 8 (рис. 10, г). Масло із штокової порожнини гідроциліндра 1 під тиском потрапляє в штокову порожнину гідроциліндра 2. Надходження масла триватиме доти, поки поршень гідроциліндра 2 не дійде до упору.

При спрямуванні потоку масла під тиском від розподільника по трубопроводу 3 в безштокову порожнину правого гідроциліндра 2 штоки обох гідроциліндрів будуть переміщуватися вліво.

Завдяки такому сполученню гідроциліндрів між собою забезпечується синхронність переміщення мотовила. Автоматичний перерозподіл масла з однієї порожнини гідроциліндра в іншу в кінці ходу поршня (завдяки конструкціїлівого гідроциліндра) забезпечує однакове переміщення лівого і правого боків мотовила.

Гідропривід вертикального переміщення мотовила виконаний за такою ж схемою. Відмінність полягає в тому, щоправий гілпоциліндр плунжерний.

Використана література

1. Кленин, Н. И. Сельскохозяйственные и мелиоративные машины. Элементы теории рабочих процессов, расчет регулировочных параметров и режимов работы: учебник для студентов высших сельскохозяйственных учебных заведений по специальности 1509 - "Механизация сельского хозяйства" / Н.И. Кленин, В.А. Сакун. - 2-е издание, переработанное и дополненное. - Москва : Колос, 1980. - 671

2. Памятка и рекомендации по устранению отказов комбайнов "Дон"- Советы по настройке и регулировке комбайнов.- Ростов-на-Дону: РСМ, 1987.- 66 с.

3. Зерноуборочные комбайны «ДОН»/Песков Ю.А., Мещеряков И.К., Ярма- шев Ю.А. и др. - М.: Агропромиздат, 1986.- 334 с

4. Комбайны зерноуборочные самоходные "Дон-1500" и "Дон-1200". Техниче- ское описание и инструкция по эксплуатации. Ростов-на-Дону, ПО Ростсельмаш,1991.-384 с.

5. Кушнарев Л. Организация технического сервиса комбайнов ОАО "Ростсельмаш", М.: Тракторы и сельскохозяйственные машины, №12, 2002. 30-31.

6. Пугачев А.П. Советы комбайнеру. М.: Колос, 1984.- 224 с.

7. Рекомендации по предунреждению и устранению неисправностей комбай- нов "Дон-1500". М.: Госагропром СССР, 1988.- 64 с.

8. Стефанский В.В. Эксплуатация комбайнов "Дон".- М.: Росагронромиздат, 1988.-94 с.

9. Технико-экономическое обоснование для комбайна «Дон-1500». Отчет ГСКБ при ОАО «Ростсельмаш». Ростов н/Д, 1998. - 56 с.

10. Уборка урожая комбайнами «Дон»/Сост. М.К. Комарова.-М.: Росагро- промиздат, 1989.- 220 с.

Оценить/Добавить комментарий
Имя
Оценка
Комментарии:
Хватит париться. На сайте FAST-REFERAT.RU вам сделают любой реферат, курсовую или дипломную. Сам пользуюсь, и вам советую!
Никита09:43:40 02 ноября 2021
.
.09:43:39 02 ноября 2021
.
.09:43:39 02 ноября 2021
.
.09:43:38 02 ноября 2021
.
.09:43:37 02 ноября 2021

Смотреть все комментарии (21)
Работы, похожие на Реферат: Основна гідросистема комбайна РСМ-10 "ДОН-1500"

Назад
Меню
Главная
Рефераты
Благодарности
Опрос
Станете ли вы заказывать работу за деньги, если не найдете ее в Интернете?

Да, в любом случае.
Да, но только в случае крайней необходимости.
Возможно, в зависимости от цены.
Нет, напишу его сам.
Нет, забью.



Результаты(287265)
Комментарии (4157)
Copyright © 2005-2021 HEKIMA.RU [email protected] реклама на сайте