| Федеральное агентство по образованию
Томский государственный университет
Физический факультет
Кафедра оптики и спектроскопии
Лабораторный КРС – спектрометр.
(курсовая работа)
Выполнил: студент 4 курса
Луговской А. А.
Научный руководитель:
Королев Б. В.
Зав. кафедрой:
профессор Майер Г. В.
Томск – 2007
Содержание
Введение…………………………………………………………………………...3
1. КРС – спектрометр…………………………………………………………….6
1.1 Ограничения, налагаемые источником…………………………………..6
1.2 Блок – схема спектрометра………………………………………………..8
1.3 Преобразователь напряжение – частота AD652………………………..11
1.4 Концепция двухуровневого управления………………………………..14
2. Испытания КРС – спектрометра…………………………………………….17
Заключение……………………………………………………………………….20
Список литературы………………………………………………………………21
Введение.
Комбинационное рассеяние света (КРС) – рассеяние в газах, жидкостях и кристаллах, сопровождающееся появлением дополнительных частот в рассеянном свете. Явление комбинационного рассеяния было открыто Г.С. Ландсбергом и Л. И. Мандельштамом в 1928 году при исследовании рассеяния света в кристаллах и одновременно Ч. В. Раманом и К. С. Кришнаном при исследовании рассеяния света в жидкостях. После открытия этого явления начались широкие исследования КРС как в нашей стране, так и за рубежом. В настоящее время комбинационное рассеяние света оформилось в самостоятельный раздел спектроскопии.
Спектроскопия комбинационного рассеяния света (КРС) основана на способности молекул рассеивать свет с частотами при освещении их монохроматическим излучением с частотой , причем разность частот строго индивидуальна для каждого сорта рассеивающих молекул и не зависит от частоты [1]. Использование КРС при исследовании вещества исследователь получает возможность одновременного детектирования всех молекулярных компонентов среды с помощью одного источника света (лазера) с фиксированной (произвольной) частотой излучения . При этом сигнал КРС любой молекулярной компоненты газовой среды пропорционален ее концентрации, практически безинерционен, не подвержен тушению и не зависит от состава среды. Благодаря этому, спектроскопия КРС особенно перспективна для определения качественного и количественного состава сред сложного молекулярного состава. К сожалению, интенсивность линий в спектрах КРС очень мала и, поэтому, для их регистрации требуется сложная и дорогая аппаратура. Метод КРС является единственным оптическим методом диагностики молекулярных сред, состав которых заранее неизвестен.
Для получения спектров комбинационного рассеяния используют КРС – спектрометры, состоящие из лазерного источника излучения, кюветы с изучаемой средой, монохроматора, приёмника рассеянного излучения и системы обработки электрических сигналов. В качестве приёмников излучения в КРС – спектрометрах используются как одноканальные, так и многоканальные приёмники. К одноканальным приёмникам относятся фотоэлектронные умножители (ФЭУ), обладающие высокой чувствительностью. Регистрация спектра КРС с помощью ФЭУ осуществляется методом сканирования. При таком способе регистрации разные участки спектра записываются не одновременно. Для решения проблемы одновременности служат многоканальные приёмники излучения: фотодиодные ПЗС линейки и матрицы. Приёмники с зарядовой связью (ПЗС) представляют собой полупроводниковые кристаллы с тысячами фоточувствительных элементов. Чувствительность отдельного элемента заметно уступает чувствительности ФЭУ. Однако, в отличие от ФЭУ, эти фотоприёмники позволяют одновременно регистрировать тысячи точек спектра.
В настоящее время большую роль при проведении спектральных измерений играет компьютер. Это в полной мере относится и к спектрам КРС. Компьютер применяют как для автоматизации экспериментальных установок, так и для выполнения тяжелой рутинной работы, связанной с обработкой полученных в ходе эксперимента данных. Автоматизация КРС-спектрометра с помощью компьютера заключается в управлении процессом сканирования спектральной картины, вычитании фона, обусловленного темновыми токами прибора, а также в организованном предоставлении данных в файлах библиотек и наглядную визуализацию спектров на экране монитора. После появления автоматизированных установок существенно упростился процесс расшифровки линий спектров КРС.
Целью данной курсовой работы является разработка лабораторного КРС-спектрометра, предназначенного для наблюдения явления комбинационного рассеяния света в жидкостях.
1.
КРС – спектрометр
1.1
Ограничения, налагаемые источником
При использовании импульсного лазера на парах меди в качестве источника излучения для получения спектров комбинационного рассеяния возникли некоторые проблемы, которые обсуждаются в данном разделе.
Во-первых, тот факт, что лазер импульсный, а не непрерывный, сразу лишил нас возможности использовать метод счета фотонов. Действительно, за лазерным импульсом, который длится в течение 20 нс, следует перерыв, который длится в течение 100000 нс. Получается, что 99,98% времени излучение вообще отсутствует. Для решения этой проблемы может послужить быстрый аналого-цифровой преобразователь (АЦП), который будет включаться только на время импульса. Однако, такие АЦП, как правило, имеют чрезмерно высокую стоимость. В нашей установке использован метод интегрирования фототока, при котором излучение за все время экспозиции усредняется. К сожалению, при этом интегрируется и весь темновой фототок, что снижает и чувствительность, и динамический диапазон спектрометра.
Во-вторых, в спектре излучения медного лазера присутствуют разрядные линии. Их хорошо видно на рисунке 1, который был снят в отсутствие кюветы с жидкостью. Эти линии, при использовании лазера в других целях (например, в медицине), не создают помех в работе вследствие своей относительно малой интенсивности. При наблюдении же спектров комбинационного рассеяния интенсивность этих линий оказывается больше интенсивности сигнала КР. Так же они закрывают собой значительную часть спектральной картины и, в частности, места возможного обнаружения линий КР.
В-третьих, лазер генерирует излучение на двух длинах волн. Это приводит к появлению двух наборов линий КР. Помимо необоснованного усложнения спектра это может привести к наложению линий из разных наборов и невозможности определения интенсивности этих линий.
Таким образом, непосредственное использование данного лазера весьма затруднено: необходима разработка некой оптической системы для выделения единственной линии излучения, что неизбежно связано с дополнительными потерями мощности излучения.

Рисунок 1
. Спектр излучения лазера на парах меди в спектральном интервале, интересном для изучения КР.
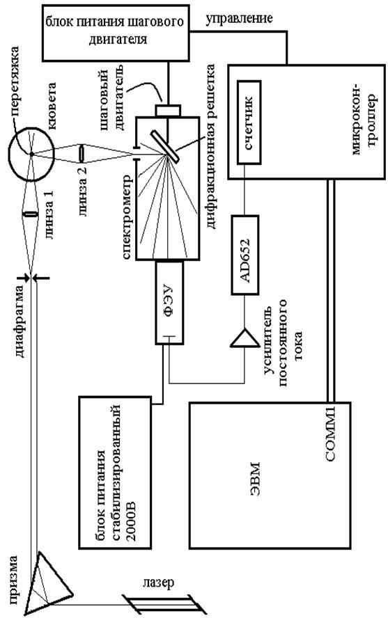
1.2 Блок – схема спектрометра.
Для автоматизации КРС – спектрометра разработан интерфейс устройства сопряжения экспериментальной установки с ЭВМ, схема которого показана на рисунке 1. Особенность данной установки является наличие управляющего микроконтроллера, который играет роль посредника между ЭВМ и объектами управления. Подробнее эта роль будет описана в разделе «концепция двухуровневого управления».
В качестве источника излучения используется импульсный лазер на парах меди, генерирующий излучение на двух длинах волн ( нм и нм). Лазер расположен на довольно большом расстоянии от спектрометра, под прямым углом к нормали падения излучения на диафрагму. Таким образом, практически исключается появление в спектре паразитных разрядных линий, которые значительно усложняют работу, а так же появляется возможность использования в качестве монохроматора лазерного излучения последовательности призмы и диафрагмы. Призма разлагает желтую и зеленую линии генерации, а также многочисленные разрядные линии в спектр, а диафрагма пропускает лишь возбуждающее излучение с длиной волны нм. Собирающая линза 1 фокусирует это излучение в кювете с исследуемой жидкостью. Линза 2 фокусирует изображение образовавшейся перетяжки на вход монохроматора МДР–23. Важно заметить, что изображение перетяжки рассматривается под прямым углом к падающему на образец излучению, поскольку в этом направлении релеевское рассеяние имеет наименьшую величину и позволяет наблюдать линии КР.
Монохроматор МДР-23 снабжен четырёхфазным шаговым двигателем, который обеспечивает установку длины волны в плоскости выходной щели путём поворота дифракционной решетки. Дифракционная решётка проецирует изображение спектра на вход фотоэлектронного умножителя (ФЭУ), питание которого обеспечивается высоковольтным (-2000В) стабилизированным блоком питания. Анодный ток ФЭУ поступает на усилитель постоянного тока (УПТ), который выполняет функцию преобразования ток-напряжение. Крутизна преобразования - 6 В/мкА. Величина напряжения на выходе УПТ пропорциональна интенсивности измеряемого светового сигнала с высокой линейностью.
Для оцифровки полученного таким способом напряжения используется интегрирующий преобразователь напряжение – частота (ПНЧ), специализированная микросхема AD652 фирмы Analog Devices. Сочетание УПТ+ПНЧ позволяет измерять как постоянные, так и меняющиеся во времени сигналы, и даже импульсные. Полученный частотный поток поступает на счетчик микроконтроллера. Количество импульсов, накопленное за определённый фиксированный интервал времени, и образует отсчёт измеряемого сигнала, который через стандартный COM-порт передается в ЭВМ.
Для управления шаговым двигателем использован штатный заводской блок управления шагового двигателя (БУШД). Однако, логика управления двигателем в БУШД нами отключена, и он используется только как источник питания обмоток двигателя. Логика управления двигателем реализована в микроконтроллере.
Таким образом, спектрометр представляет собой автоматизированную экспериментальную установку, которая является совокупностью спектральной и измерительной аппаратуры, а также компьютера.
Рисунок 2.
Блок схема КРС - спектрометра
1.3 Преобразователь напряжение – частота
AD
652.
Важным элементом измерительного тракта КРС-спектрометра является преобразователь напряжения в частоту (ПНЧ) с уравновешиванием зарядов - микросхема AD652. Такое внимание к этой микросхеме в данной работе обусловлено тем, что именно метрические свойства ПНЧ определяют все метрические свойства установки, поскольку после ПНЧ вся дальнейшая обработка ведется в цифровом представлении, без накопления погрешности.
В этой микросхеме входное аналоговое напряжение преобразуется в выходную импульсную последовательность, частота которой пропорциональна входному напряжению. Это осуществляется электрической схемой, приведенной на рис.2.

Рисунок 3
. Электрическая схема ПНЧ AD652.

Рисунок 4.
Диаграмма работы интегратора
В зависимости от выходного сигнала компаратора импульсы тока фиксированной длительности (т. е. с фиксированным приростом заряда) подключаются при каждом изменении тактовых импульсов либо к суммирующему входу, либо к земле, что позволяет поддерживать нулевой средний ток на суммирующем входе. Это принцип уравновешивания [4] (Его особенность заключена в применении конденсатора для отслеживания отношения уровня входного сигнала к эталонному: рис. 2). Счетчик отслеживает число импульсов подключения к суммирующему входу (не более 2млн). Полученное число будет пропорционально среднему входному уровню за это число тактовых импульсов. После того, как сигнал выхода интегратора достигает порога компаратора, выход вентиля AND переходит в верхнее состояние. Ничего не происходит, пока нулевой уровень тактового генератора не попадает на вход триггера. В этот момент, тактовый генератор находится в состоянии нижнего уровня, поэтому триггер не меняет состояние. Когда генератор возвращается в единичное состояние, триггер также переходит в единичное состояние (рис. 4) и дает команду переключателю вычесть из интегратора определенное наперед заданное значение; в этот самый момент, триггер дает команду вентилю AND встать в нижнее состояние выхода. На следующем отрицательном такте генератора, нижнее выходное состояние вентиля AND передается на вход D триггера. Когда генератор возвращается в верхнее состояние, выход триггера переходит в нижнее состояние и дает команду переключателю вернуться в режим интегрирования. В то же самое время триггер дает команду на вход вентилю AND встать в режим высокого уровня.
Импульсы сброса, приложенные к интегратору, имеют длину ровно одного периода генератора, единственный случай, когда могут возникнуть отклонения, это при нагревании, поэтому необходимо качественно подбирать питание микросхемы, во избежание перегрева.
Основные характеристики микросхемы AD652:
· Крутизна преобразования 200 кГц/В
· Ошибка крутизны преобразования 0,25%
· Максимальная выходная частота 2 МГц
· Ошибка линейности 0,01%
· Входной ток 5∙10-9
А
1.4 Концепция двухуровневого управления.
Для управления элементами спектрометра и обеспечения диалога с пользователем была разработана система двухуровневого управления. Верхний уровень – уровень пользователя – реализуется программой для компьютера типа Pentium, написанной в среде Visual Basic 6.0. Нижний уровень – уровень управления оборудованием – реализуется программируемым микроконтроллером (микросхема ATMega128 фирмы Atmel), который имеет цифровые и аналоговые входы и выходы, счетные каналы и другую периферию. Связь между уровнями осуществляется через стандартный порт RS-232.
Необходимость такого разделения объясняется тем, что современные многозадачные операционные системы используют концепцию разделения времени процессора между несколькими выполняющимися приложениями. Это может привести к ситуации, что задача реального времени не сможет вовремя обработать наступившее в системе событие из-за того, что в этот момент исполнялась совсем другая задача.
В данном спектрометре при синхронном сканировании спектра с ПНЧ непрерывно поступают импульсы, и нужно подсчитать их количество в единицу
времени. Именно стабильность длительности этой единицы
определяет метрические свойства спектрометра. Однако, обеспечить необходимую стабильность в многозадачной системе, какой является Windows, не представляется возможным. Попытка выполнить управляющие действия в среде Windows в лучшем случае приведет к резкому ухудшению точности измерений, в худшем – к потере данных.
При использовании системы двухуровневого управления такая проблема исчезает. На верхнем уровне управления в удобном для пользователя виде задаются следующие параметры:
· текущая длина волны, указанная на механическом барабане монохроматора
· начальная длина волны сканирования спектра
· конечная длина волны сканирования спектра
· экспозиция
· шаг сканирования
Также обеспечивается графическая визуализация измеренных спектров, ведение библиотеки спектров на диске и прочий сервис.
На нижнем уровне управления микроконтроллер выполняет следующие действия:
· получает от ЭВМ информацию о количестве оборотов, которое следует сделать шаговому двигателю, и экспозиции;
· по команде от ЭВМ отрабатывает вращение двигателя;
· по команде от ЭВМ за калиброванное время
подсчитывает число импульсов, поступающих на встроенный счетчик с преобразователя напряжение – частота AD652, и сохраняет это значение (интенсивность света) в своей памяти;
· По команде от ЭВМ передает сохраненное значение интенсивности через СОМ-порт;
Режим реального времени обеспечивается тем, что управляющая программа монопольно использует ресурсы микроконтроллера и не прерывается никакими другими процессами. А стабильность временных интервалов определяется кварцевым генератором на частоту 16 МГц, с помощью которого микроконтроллер способен программно-аппаратно формировать произвольные временные интервалы с точностью 10-5
.
Таким образом, благодаря разделению управления спектрометром на два уровня, происходящие в недрах Windows процессы не является помехой при сканировании спектра, поскольку критические во времени события микроконтроллер отслеживает автономно.
Немаловажным преимуществом такого подхода является также то, что функции взаимодействия с оборудованием на физическом уровне осуществляет независимый контроллер, связанный с компьютером через стандартный интерфейс. Это значит, что нет необходимости вскрывать компьютер и устанавливать в него дополнительный платы, способные его повредить.
2. Испытания КРС – спектрометра.
В ходе испытаний КРС – спектрометра были сняты спектры комбинационного рассеяния четыреххлористого углерода (рис. 5), ацетона (рис. 6) и дистиллированной воды (рис. 7). Поскольку опыты проводились лишь в целях испытания установки и не несут ничего нового, проанализируем только спектр четыреххлористого углерода. В таблице 1 приведены полученные, а также истинные значения комбинационных сдвигов этих молекул.
| Молекула
|
Стоксовый сдвиг частоты
|
Антистоксовый сдвиг частоты
|
Истинный КР-сдвиг [5]
|
| CCl4

|
 
|

|

|
| 
|

|

|
| 
|

|

|
Таблица 1.
значения комбинационных сдвигов для молекулы CCl4
Проанализируем полученные данные. Согласно положениям теории комбинационного рассеяния света, стоксовый и антистоксовый сдвиги частот должны быть симметричны относительно релеевской линии [2]. Как следует из полученных данных, отклонение от данного правила довольно стабильно (оно составляет 26 – 29 см-1
) и, поэтому, не вызывает сомнения в том, что это линии КР. К тому же, если рассмотреть среднее значение стоксова и антистоксова сдвигов, то получим значения всего на 1,5 см-1
отличающиеся от истинных. Таким образом, мы получили спектральную картину, смещенную относительно истинной на несколько ангстрем. Такое смещение объясняется смещением счетного барабана спектрометра. В дальнейшем стоит задача исключения этой ошибки измерений.
По графикам приближенно была определена чувствительность данного метода получения спектра комбинационного рассеяния. В таблице 2 приведены минимально допустимые концентрации исследованных веществ, при которых сигнал КР еще будет заметен.
| Вещество
|
CCl4
|
CH3
– CO – CH3
|
H2
O
|
| Минимально допустимая концентрация
|
0,018%
|
16%
|
8%
|
Таблица 2.
Чувствительность метода.

Рисунок 5.
Спектр четыреххлористого углерода (CCl4
).

Рисунок 6.
Спектр ацетона (CH3
– CO – CH3
)

Рисунок 7.
Спектр дистиллированной воды (H2
O)
Заключение.
В результате выполнения курсовой работы было сделано следующее:
1. Разработан и собран автоматизированный КРС – спектрометр для наблюдения комбинационного рассеяния в жидкостях с двухуровневым управлением (компьютер – микроконтроллер).
2. Создано программное обеспечение для обоих уровней.
3. Проведено испытание системы сопряжения КРС – спектрометра и ЭВМ путем записи спектров комбинационного рассеяния различных жидкостей.
4. Проведен критический анализ работы спектрометра на основе изучения спектра четыреххлористого углерода.
5. Принято решение о совершенствовании как внешнего вида установки, так и программы визуального оформления для удобного использования в качестве лабораторного практикума.
Список использованной литературы.
1. Сущинский М. М. Спектры комбинационного рассеяния молекул и кристаллов. – М.: Наука, 1969. – 300с.
2. В. Демтредер. Лазерная спектроскопия: основные принципы и техника эксперимента: пер. с англ. / под ред. И.И. Собельмана. – М.: Наука. Главная редакция физико-математической литературы, 1985.– 608 с, ил.
3. http://www.analog.com/ . Voltage – to – Frequency converter AD652.
4. Хоровиц П., Хилл У. Искусство схемотехники: Пер. с англ. – Изд. 6-е. – М.: Мир, 2003. – 704с., ил.
5. Кольрауш К. Спектры комбинационного рассеяния: Пер. с нем./ под ред. Г. С. Ландсберга. – М.: Издание иностранной литературы, 1952. – 466 с.
|