Министерство образования Республики Беларусь
Белорусский государственный университет информатики и
радиоэлектроники
кафедра РЭС
РЕФЕРАТ
на тему:
«Испытание РЭСИ на грибоустойчивость, устойчивость к воздействию термитов, грызунов, сернистого газа, коррозионно-активное воздействие»
МИНСК, 2008
Испытание на грибоустойчивость
Испытания на грибоустойчивость
проводят с целью определения способности материалов и покрытий противостоять грибковой плесени в среде, зараженной плесневыми грибами. Испытания осуществляются на образцах, которые не подвергались другим воздействиям. Допускается использовать образцы, забракованные по электрическим параметрам. Виды грибов, применяемых при испытании, установлены ГОСТ 9.048-75.
Перед испытанием поверхность изделия тщательно промывается или протирается спиртом. Изделия помещают в камеру грибообразования. Вместе с изделиями в камеру ставятся контрольные чашки Петри (обычно две) с питательной средой. Состав и порядок приготовления питательной среды дается в специальной инструкции. Изделия, а также контрольные чашки с питательной средой опрыскиваются из пульверизатора водной суспензией спор грибков из расчета 50 мл суспензии на 1 м3 полезного объема камеры. Вся поверхность изделий должна быть опрыскана равномерно. Подвергать испытаниям рекомендуется образцы, не прошедшие других испытаний.
Испытания проводятся в следующем порядке. В камере устанавливается температура 29±2°С и относительная влажность 95 ±3% при отсутствии циркуляции воздуха. Испытываемые изделия должны быть затемнены от искусственного и естественного света. Изделия в этом режиме выдерживаются 48 ч, после чего производят осмотр контрольных чашек Петри. Если на чашках не наблюдается роста грибков из числа видов использованных для заражения, то следует провести вторичное опрыскивание изделий жизнеспособной суспензией спор грибков. Срок испытания в этом случае следует считать со времени вторичного опрыскивания.
Испытания продолжаются в течение 30 сут. После испытания изделия извлекаются из камеры и подвергаются визуальному осмотру под микроскопом при 56-кратном увеличении. Оценка качества изделий производится по шестибалльной системе:
• Нет роста грибков, т. е. на образцах при контроле не обнаруживается роста грибков - 0 баллов;
• Очень слабый рост грибков, т. е. наблюдаются единичные проросшие споры - 1 балл;
• Слабый рост грибков, т. е. наблюдается единичное спороношение - 2 балла;
• Умеренный рост грибков, т. е. видны очаги плесени - 3 балла;
• Обильный рост грибков, видимое невооруженным глазом – 4 балла;
• Сплошное поражение грибками поверхности образца - 5 баллов;
Изделия считают выдержавшими испытание на грибоустойчивость, если степень биологического обрастания оценивается баллами 0 или 1. По окончании испытания образцы должны быть продезинфицированы или уничтожены, чтобы предотвратить заражение окружающих предметов и продуктов.
Испытательное оборудование
Испытание на грибоустойчивость производят в специальных лабораториях. Применяемые для испытаний на грибоустойчивость камеры должны иметь внутренние стенки и детали, устойчивые к воздействию плесневых грибков. В передней стенке камеры обычно располагается дверь с застекленным окном для наблюдения за состоянием испытываемых изделий. Затемнение в камере создается с помощью еще одной съемной двери.
Для проведения испытаний на грибоустойчивость применяют камеры грибообразования (рисунок 1) КВТ/Г-1М*, обеспечивающие получение повышенной температуры и влажности, незначительной подвижности среды и затемненности, автоматического поддержания заданной температуры и влажности.
Собственно испытательная камера 1 расположена в верхней правой части шкафа. В нижней части шкафа под камерой находятся два центробежных вентилятора, нагреватель и регулятор влажности. Слева от двери камеры расположена панель блока сигнализации и управления 2.

Рисунок 1 - Общий вид камеры грибообразования:
1 — испытательная камера; 2 — панель блока сигнализации и управления;
3 —гнезда для замера параметров испытываемых изделий;
4 — температурные фильтры; 5 — «сухой» контактный термометр;
6 — «влажный» контактный термометр; 7 — осевой вентилятор; 8 — отверстия, закрытые гайками с резиновыми пробками для ввода высокочастотных кабелей; 9 — тумблер для включения обогревателя стекол; 10 — отверстие для обмена воздуха; 11 — контактный термометр регулятора влаги; 12 — штепсельный разъем.
Испытательная камера (рисунок 2) выполнена с двойными стенками, образующими воздушную рубашку 1, в которой циркулирует нагретый воздух, равномерно нагревающий камеру. Теплоизоляция камеры достигается тем, что пространство между ее стенками и обшивкой каркаса заполнено матами 2 из стекловолокна. В передней стенке камеры расположена дверь с застекленным окном для наблюдения за состоянием испытываемых изделий. Затемнение в камере создается с помощью еще одной съемной двери. Для предохранения стекол окна двери от запотевания между ними расположены нагреватели.
С целью обеспечения притока в камеру свежего воздуха, необходимого для развития аэробных культур, в нижней части двери имеется отверстие, а в потолке камеры два температурных фильтра 5, обеспечивающих обезвреживание воздуха, выходящего из камеры. Регулировка и автоматическое поддержание режима тепла и влаги достигаются с помощью блока термометров 4, 5, расположенных в верхней части испытательной камеры. На потолке камеры установлен осевой вентилятор 7 для перемешивания воздуха и лампа освещения. Влажность в камере создается закрытым способом путем барботирования воздуха в увлажнителе 5, представляющем собой цилиндрический резервуар, заполненный на 1
/з объема водой. Нагрев воды в увлажнителе осуществляется легкосъемным электронагревателем 10, расположенным под его дном. Регулировка и автоматическое поддержание температуры воды в увлажнителе достигается контактным термометром 9, установленным на его крышке. Центробежный вентилятор 11 обеспечивает циркуляцию увлажненного воздуха в замкнутой системе испытательная камера - вентилятор - увлажнитель - испытательная камера. Всасывающее отверстие вентилятора соединено с испытательной камерой, а выхлопное отверстие — с регулятором влажности. Для спуска конденсата из кожуха вентилятора внизу его имеется пробка.

Рисунок 2 - Схема камеры для испытаний на грибоустойчивость:
1 — воздушная рубашка; 2 — маты из стекловолокна;
3 — температурный фильтр; 4 — «сухой» контактный термометр;
5 —«влажный» контактный термометр; 6 — баллон для смачивания
«влажного» термометра; 7 —осевой вентилятор; 8 — увлажнитель;
9 — контактный термометр увлажнителя; 10 — электронагреватель воды; 11
— центробежный вентилятор увлажненного воздуха; 12 — центробежный
вентилятор нагретого воздуха; 13 — электронагреватель воздуха;
14 — электровводы.
Температурный режим в испытательной камере обеспечивается циркуляцией нагретого воздуха в рубашке камеры, создаваемой центробежным вентилятором 12 и электронагревателем 13, расположенными под дном камеры. Электронагреватель воздуха в камере выполнен в виде вставной легкосъемной кассеты. Для регулировки мощности электронагревателя под блоком автоматики установлен автотрансформатор. Между передней панелью блока автоматики и дверью камеры расположены шесть гнезд электровводов 14 для электрической связи испытываемых изделий с контрольно-измерительным оборудованием. Для ввода в камеру высокочастотных кабелей в двери камеры имеется четыре отверстия, закрытых гайками с резиновыми пробками. Камера оборудована блокировкой, разрывающей цепь питания камеры при открывании двери.
Камера КТВ/Г-1М характеризуется следующими техническими данными: температура от 25±10 °С до 60±2°С; относительная влажность от 65±15%' до 98±2% при температуре до +35±2°С; повышение температуры осуществляется со скоростью от 0,1 до 0,5° С в минуту; увеличение относительной влажности на 0,2% в минуту; неравномерность распределения температуры в камере ±2° С, относительной влажности 2—3%.
После окончания испытания следует удалить воду из всех узлов камеры, промыть увлажнитель, продезинфицировать испытательную камеру и просушить ее нагреванием.
Испытание на устойчивость материалов к воздействию термитов
В лабораторных условиях испытание осуществляют в термостатах при температуре +(26±0,5) °С и влажности воздуха, близкой 100 %.
Испытание проводят следующим образом. На образец материала, имеющий форму пластины размером 40х80 мм, накладывают полоску фильтровальной бумаги так, чтобы она закрывала половину поверхности образца. Смачиваемая бумага является источником питания и влаги. Затем на каждый образец устанавливают по два стеклянных садка и прижимают их к образцу пружинами или резиновыми кольцами. В каждый садок помещают по 50 термитов. Для наблюдения за жизнеспособностью термитов готовят контрольные садки. Садки с образцами и контрольные садки вводят в термостаты. Три раза в неделю визуально учитывают степень повреждения термитами образцов (отверстия, царапины, разрыхление и т.д.) и заменяют погибших термитов равным числом жизнеспособных. Продолжительность испытания составляет 30 сут.
Испытание изделий и материалов на устойчивость к воздействию грызунов
Для проведения испытания используют взрослых особей грызунов, которых заранее дрессируют, чтобы приучить доставать пищу, преодолевая преграду—картон толщиной 2...3 мм. Клетки для проведения испытания изготовляют из каркаса и сетчатых металлических стенок с размером ячейки не более 5...8 мм. В середине клетки имеется перегородка с отверстием 70X70 мм, которое закрывают преградой — испытываемыми образцами. Продолжительность испытания 24 ч. По окончании испытания образцы осматривают, отмечают характер и размеры повреждений. Образцы считают выдержавшими испытание, если они не повреждены (0 баллов) или на их поверхности имеются следы зубов грызунов в виде неглубоких царапин. (1 балл).
Коррозионно-активное воздействие
Испытание на коррозионно-активное воздействие проводят для оценки коррозионной стойкости металлов, сплавов и покрытий, применяемых в ЭС, к воздействию рабочей среды (среды, в контакте с которой происходит эксплуатация ЭС, их деталей или сборочных единиц), способной изменять свою коррозионную активность в зависимости от температуры и влажности.
Различают зоны эксплуатации (испытания) ЭС с высокими температурами рабочей среды (до +2500°С), низкими температурами (до -253 °С) и их сочетанием (нагрев до высоких температур после воздействия низких). При выборе методов лабораторных и стендовых испытаний ЭС необходимо учитывать не только температуру рабочей среды, но и характер температурного воздействия (кратковременное, длительное, циклическое), а также условия эксплуатации и хранения, заданные ТЗ.
Рабочей средой, оказывающей коррозионное воздействие на ЭС, может служить воздух, топливо (в том числе многокомпонентное), окислители, рабочие жидкости гидросистем, синтетические и минеральные масла, охлаждающие жидкости, смазки, продукты сгорания топлива, морская и даже дистиллированная вода, различные агрессивные среды (газы), коррозионная активность которых часто возрастает не столько с повышением температуры, сколько с повышением влажности.
В зависимости от рабочей среды, в которой происходит эксплуатация ЭС, коррозионную стойкость можно определить в ходе проведения испытания на следующие воздействия: инея и росы, повышенной влажности, плесневых грибов, соляного тумана, дождя, сернистого газа или сероводорода и др.
Под коррозионно-активным воздействием
обычно понимают совместное воздействие агрессивного газа, влажности и температуры. В качестве агрессивного газа, ускоряющего коррозионный процесс при испытаниях иногда применяют кислотный раствор хлористого натрия и двухлористой меди. Газ вводят в рабочую среду для определения защитных свойств покрытий медь-никель-хром и никель-хром, а также анодно-оксидных покрытий из алюминия и его сплавов. При испытании покрытий из драгоценных металлов, исключая серебро, используют сернистый газ. Для определения защитных свойств медь-никель-хромовых и никель-хромовых покрытий, нанесенных на сталь и цинковые сплавы, в качестве агрессивной среды применяют коррозионно-агрессивные пасты, которые наносят на поверхность испытываемых образцов.
Испытание металлов, сплавов и покрытий на коррозионно-активное воздействие проводят только в тех случаях, когда отсутствуют данные по их стойкости к этому воздействию. Подобное испытание деталей и сборочных единиц ЭС позволяет определить влияние их конструктивных и технологических особенностей на коррозионную стойкость и работоспособность в конкретной среде. Для испытания образцов служит газовая камера, в которой можно изменять температуру и влажность.
Испытание ЭС на воздействие сернистого газа
В камере должны быть обеспечены: перепад температуры в местах расположения испытываемых образцов не более 2°С, концентрация агрессивного газа с погрешностью ±25 %
от установленной НТД концентрации при испытании, относительная влажность с погрешностью ±5 %. В конструкции камеры должны быть предусмотрены разъемы для подключения контрольно-измерительной аппаратуры и питания к испытываемому изделию, а также устройств для контроля состава среды и измерения ее температуры. Изготовляют камеру из материала, стойкого к воздействию сернистого газа.
На рисунке 3 приведена конструкция камеры для проведения, испытания на воздействие сернистого газа с конденсацией влаги. Заданная относительная влажность воздуха в камере достигается в результате его увлажнения дистиллированной водой, находящейся в поддоне 7. К отверстию 4 через предохранительный клапан подсоединяют устройство для ввода агрессивного газа извне, а также устройство для отбора проб среды и удаления отработанного газа.
Концентрацию сернистого газа поддерживают постоянной и контролируют непрерывно с помощью автоматического газоанализатора (например, типа ГКП-1. При отсутствии газоанализатора, один раз в сутки, по методу, основанному на окислительно-восстановительной реакции сернистого газа с йодом;
2Н2
О + SO2
+I2
= =
H2
SO4
+ 2HI. (1)
Содержание сернистого газа пропорционально количеству восстановленного йода.
Через склянку Зайцева, в которой содержится 5 см3 свежеприготовленного 0,001 н. раствора йода, окрашенного крахмалом в синий цвет, с помощью аспиратора пропускают газовоздушную смесь со скоростью не более 10 дм3
/ч до обесцвечивания раствора йода. Концентрация сернистого газа (г/дм3
) определяется выражением:
c
=
V
1
b
-32/
V
2
(2)
где V
1
- объем налитого в поглотитель раствора йода, см3
;
b
- нормальный раствор йода, моль/дм ;
32
- молярная масса эквивалентов сернистого газа, г/моль;
V
2
- объем приведенной к нормальным условиям газовоздушной смеси, прошедшей через поглотитель, см3
.

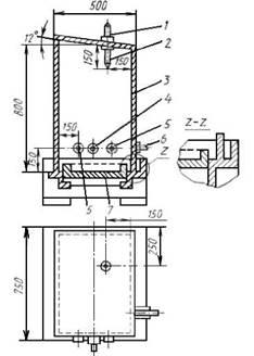
Рисунок 3 - Конструкция камеры для проведения испытания ЭС на
воздействие сернистого газа с конденсацией влаги: 1 — термометр; 2 — точка измерения температуры; 3 — кожух; 4 — отверстие для присоединения предохранительного клапана; 5 — отверстия для контактного термометра; 6 — патрубок для ввода газа; 7 — поддон с водой; размеры даны в миллиметрах.
Для проведения испытания образцов используют непрерывное воздействие сернистого газа без конденсации влаги и циклическое воздействие его с конденсацией влаги при повышенных относительной влажности и температуре. Физическая сущность обоих методов заключается в ускорении коррозионного процесса при воздействии сернистого газа. При испытании путем непрерывного воздействия сернистого газа
образцы помещают в камеру, в которой устанавливают следующий режим испытания: температура (25±2) °С, относительная влажность (75±5) %, массовая концентрация сернистого газа (75±15) мг/м3. Газ вводят в камеру сразу после установления заданных значений температуры и относительной влажности.
Испытание образцов циклическим воздействием сернистого газа
осуществляют путем непрерывного следования циклов продолжительностью 24 ч (от начала нагрева закрытой камеры). Перед началом каждого цикла в водяную баню на дно камеры наливают заданное ПИ количество воды; камеру плотно закрывают. Возможны два режима проведения испытания.
Первый режим:
после ввода сернистого газа камеру нагревают в течение 90 мин до температуры (40±2)°С и поддерживают эту температуру постоянной во время испытания; по истечении 24 ч нагрев прекращают, камеру открывают, воду из бани сливают. Второй режим:
в камеру вводят 2 г/м3
сернистого газа (эту операцию при повторении цикла необходимо проводить в течение 30 мин); нагревают ее в течение 90 мин до температуры (40±2)°С и поддерживают эту температуру в течение 8 ч; камеру открывают, сливают воду из бани, извлекают образцы и выдерживают их в течение 16 ч при температуре помещения и относительной влажности воздуха не более 75 %.
Коррозионную стойкость прошедших испытание образцов можно оценить различными методами, из которых наиболее широко применяют гравиметрический (по изменению массы) и визуальный. Если удаление продуктов коррозии возможно, наблюдается потеря массы испытываемого образца; если продукты коррозии малорастворимы и имеют достаточную адгезию, происходит увеличение массы образца.
При гравиметрическом методе оценки коррозионной стойкости
испытываемые образцы и образцы сравнения (эталонные образцы, не прошедшие испытания), коррозионное поведение которых оценивают по потере массы, после обезвоживания выдерживают не менее 24 ч в эксикаторе с влагопоглотителем (например, силикагелем), а затем взвешивают: образцы массой до 200 г — с погрешностью не более ±0,0001 г; массой свыше 200 г — с погрешностью не более ±0,01 г. Потеря массы на единицу площади S
(см) поверхности образца:
Pm
=(
m
—
m
1
)∙104
/
S
, (3)
где m
— масса образца до испытания, г; m1
— масса образца после испытания и удаления продуктов коррозии, г.
На практике большее распространение получил визуальный метод оценки коррозионной стойкости.
При визуальной оценке коррозионных очагов различают точечное разрушение (коррозионный очагимеет максимальный размер до 0,1 см), и разрушение пятнами (максимальный размер коррозионного очага превышает 0,1 см). Совокупность более трех точек, расстояние между которыми менее 0,1 см, описывают прямоугольной фигурой. Совокупность более трех пятен размером до 1 см, расстояние между которыми менее 0,2 см, также списывают прямоугольной фигурой. Прямоугольниками описывают отдельные пятна размерами более 1 см. На выводах, поперечные сечения которых представляют окружности, коррозионные очаги (точки и пятна) и расстояния между ними измеряют по длине выводов. По результатам измерения площадей коррозионных очагов (фигур) вычисляют относительную площадь (%) коррозионного разрушения:
(4)
где n
— число коррозионных очагов (фигур) на оцениваемой поверхности; Si
— площадь i
-
го коррозионного очага (фигуры), см2
;
S
оцн
— площадь оцениваемой поверхности, см2
Для оценки воздействия коррозионной среды на ЭС служат показатели коррозии.
Изделию присваивают наиболее высокий (худший) показатель коррозии из показателей, полученных для отдельных частей его конструкции. Местную коррозию (точечную и пятнами) оценивают по глубине поражения, и занимаемой ими площади поверхности. При этом пользуются универсальной шкалой, по которой для конкретного коррозионного состояния устанавливают группу коррозионной стойкости (0 — V) и соответствующий этому состоянию балл (0—10). Так, элементы конструкции, не подвергающиеся коррозии в данных условиях эксплуатации, относят к группе 0 (совершенно стойкие) и оценивают в 0 баллов.
ЛИТЕРАТУРА
1. Глудкин О.П. Методы и устройства испытания РЭС и ЭВС. – М.: Высш. школа., 2001 – 335 с
2. Испытания радиоэлектронной, электронно-вычислительной аппаратуры и испытательное оборудование/ под ред. А.И.Коробова М.: Радио и связь, 2002 – 272 с.
3. Млицкий В.Д., Беглария В.Х., Дубицкий Л.Г. Испытание аппаратуры и средства измерений на воздействие внешних факторов. М.: Машиностроение, 2003 – 567 с
4. Национальная система сертификации Республики Беларусь. Мн.: Госстандарт, 2007
5. Федоров В., Сергеев Н., Кондрашин А. Контроль и испытания в проектировании и производстве радиоэлектронных средств – Техносфера, 2005. – 504с.
|