| Тема:
Виконання відкритих електропроводок у трубах
Монтаж відкритих електропроводок у трубах
Сталеві труби використовуються для захисту проводів і кабелів від механічних пошкоджень при прокладанні їх в бетонних підлогах або по підлозі, по стінах, при виконанні вводів у будівлі, при захисті від пилу і т. п.
У виробництві сталеві труби для влаштування електропроводок застосовують у пожежонебезпечних та вибухонебезпечних зонах складів з паливно-мастильних речовинами, легкозаймистими рідинами, лаками та фарбами, в кормопріготовітельних цехах, млинах, цехах фарбування деталей і т. д. Для сталевих трубопроводів зазвичай застосовують тонкостінні електрозварні (без різьблення ) або спеціальні електротехнічні труби. Останні можуть мати по кінцях трубну різьблення і одну сполучну муфту. Водогазопровідні труби мають по кінцях також трубну різьблення і сполучну муфту. Їх використовують переважно для електропроводок у вибухонебезпечних зонах.
Сталеві труби виготовляють без захисних покриттів (чорними) і оцинкованими всередині і зовні.
У сухих незапорошених приміщеннях, що не містять пари й гази, що негативно діють на ізоляцію та оболонки проводів і кабелів, з'єднання сталевих і неметалевих труб і введення їх в кожухи апаратів, ящиків і відгалужувальних коробок не ущільнюється.
У запилених приміщеннях і приміщеннях, що містять пари й гази, що негативно діють на ізоляцію та оболонки проводів і кабелів, і в місцях, де можливе попадання в труби води та емульсії, а також при прихованій прокладці, труби з'єднують муфтами на різьбі з ущільненням. У цих приміщеннях ущільнюються також вводи труб в кожухи апаратів, ящиків, відгалужувальних коробок.
Сталеві труби повинні мати антикорозійне покриття. Тому після прокладки їх фарбують кузбасслаком.
Розмітка трас електричних мереж
Розмітка є початковою і найвідповідальнішою стадією монтажу електроустаткування освітлювальної електроустановки. Мета розмітки — визначити в натурі трасу електропроводок, а також розміщення і взаємне розташування всіх елементів електроустановки, керуючись наявною технічною документацією.
Розмітку трас відкритих електропроводок і основних осей для встановлення електроустаткування здійснюють за заданими в проекті позначками чистої підлоги або стелі, нанесеними будівельниками в приміщеннях споруд, а також проектними відстанями від ферм, колон та інших будівельних конструкцій. Позначку чистої підлоги наносять на попередньо очищену і підбілену поверхню у вигляді чорної смуги завширшки 10—12 мм і завдовжки 120—150 мм.
Роботи з розмітки починають із замірювань і прив'язування трас електропроводок до місць розташування електроустаткування. Потім визначають місця пробивання в будівельних конструкціях: отворів, гнізд, ніш, колодязів тощо. Одночасно визначають місця встановлення коробок і кріпильних деталей.
Розмічальні розміри повинні відповідати проекту, а якщо вказівок у проекті немає,— БНіП.
Проходи через будівельні конструкції повинні розташовуватися на одній лінії і в одній площині з кабелями й проводами, що прокладаються. Проводи і трубні прокладки відкритих електропроводок повинні бути найменш помітними і не порушувати архітектурних оформлень приміщень. Траса електропроводки повинна проходити вздовж карнизів і архітектурних ліній, відступаючи від них на віддаль не менш як 25 мм.
Замірювання здійснюють сцеціальні особи (заміряльники), виконуючи ці роботи спільно з електромонтажниками за допомогою інструментів і пристроїв, що застосовуються під час розмічальних робіт.
Під час заімірювань уточнюють траси і координати підходу електричних мереж до встановлюваного електроустаткування та розподільних пристроїв з «прив'язуванням» їх до будівельних контурів, осей будівель, позначок чистої підлоги та інших орієнтирів. Особливу увагу при цьому приділяють правильній розмітці кутів згину, в місцях повороту і переходу трас електричних мереж в інші просторові положення з урахуванням нормалізованих кутів повороту і радіусів згину.
За даними замірювань траси заміряльники складають: на складні ділянки мереж — ескізи заготовок; на заготовки, які не потребують ескізів.
На ескізах, у заготівельних відомостях і супроводжувальній технічній документації зазначають технічні дані, які вичерпно характеризують ці електричні мережі. Для зображення елементів електричної мережі на ескізах застосовують умовні позначення. Ескізи заготовок нескладних трас виконують у площинних зображеннях, а складних трас — у просторовому зображенні. Для зручності складання ескізів монтажними організаціями застосовують спеціальні віддруковані друкарським способом бланки з нанесеною на них площинною або об'ємною масштабною сіткою.
На ескізах замірювань електропроводок освітлювальних електроустановок зазначають:
марку, перерізи і кількість жил проводів і кабелів;
способи виконання з'єднань окремих ділянок заготовок і відгалужень від них (паянням, зварюванням, опресовуванням тощо);
способи окінцювання жил проводів і кабелів для приєднання їх до світильників, приладів та апаратів (товкачиком, кільцем або наконечником із зазначенням його типу);
умовне розпізнавальне забарвлення фаз і маркування кінців жил проводів і кабелів;
загальну довжину і розміри окремих ділянок електропроводок із зазначенням місць їх відгалуження та розташування відгалужувальних коробок;
довжину ділянок відгалужень до світильників і приладів, а також висоту підвішування і тип світильника.
Монтаж сталевих труб
Труби заготовлюють в майстернях електромонтажних заготовок за допомогою верстатів і спеціальних пристосувань по кресленнях проектної документації або ескізами, складеними виконробом або майстром з натурних вимірів.
При заготівлі труби оглядають: вони не повинні мати тріщин, вм'ятин та інших дефектів. Внутрішню і зовнішню поверхню труб очищують від окалини й корозії за допомогою спеціальних механізмів і пристосувань.
Сталеві труби, очищені з внутрішнього і зовнішнього боків, асфальтовим покривають лаком або олійною фарбою для захисту від корозії. Зовнішню поверхню труб, які прокладають у бетоні, не очищають від корозії і не фарбують. Труби фарбують на фарбувальних машинах або в спеціальних ваннах. Сушать їх у сушильних печах з продувкою підігрітим повітрям.
Відкрите прокладання проводів у трубах може бути ущільненим або неущільненим. Ущільнення трубного прокладання проводів полягає в герметизації місць нарізного з'єднання труб одна з одною і з коробками намотуванням на нарізку конопляного волокна, просоченого суриком або білилами. Ущільнені прокладки труб необхідні в разі монтажу електропроводок у трубах, які прокладаються в приміщеннях вибухонебезпечних, особливо сирих та з хімічно агресивним середовищем для захисту ізоляції й проводів від пошкоджень та корозії. Ущільнення трубопроводів повинно витримувати встановлений нормами випробувальний тиск, величини якого визначаються характером приміщення і навколишнім середовищем.
Для влаштування відкритих електропроводок у сухих, вологих, жарких, запилених та пожежонебезпечних приміщеннях застосовують сталеві тонкостінні (електрозварні) труби, а в сирих і особливо сирих приміщеннях — труби з вініпласту. Відкриті герметизовані проводки у вибухонебезпечних приміщеннях виконують переважно в сталевих водогазопровідних трубах. У кожному випадку вибір труб і спосіб їх прокладання визначаються проектом залежно від призначення електропроводки, категорії приміщення, умов навколишнього середовища та особливих вимог, що ставляться до електропроводки.
За індустріальним методом монтажу заготовлення труб, трубних пакетів і блоків (рис. 1, а
—г)
здійснюють на заводі або в МЕЗ за комплектувальними відомостями. До обсягу робіт із заготовлення входять очищення труб, згинання їх під необхідним кутом, обробка кінців труб для виконання прийнятого способу з'єднування між собою і з коробками (нарізними муфтами, зварюванням тощо), пофарбування та складання труб в пакети і блоки.

Рис. 1. Трубні заготовки:
а
— труби, зігнуті під нормалізованими кутами; б —
пакети зігнутих труб; в — пакети і блоки прямих труб; є
— блоки труб із спільними фланцями
Неущільнені електрозварні труби, що вкладаються відкрито, з'єднують одна з одною нарізною з'єднувальною муфтою (рис. 2, а),
муфтою з клиновою обоймою (рис. 2, б),
зварюванням у гільзі (рис. 2, в)
або хомутом з гвинтами (рис. 2, г).
Вініпластові труби в ущільнених трубопроводах з'єднують муфтами на клею, гарячим насадженням або зварюванням, а в неущільне-них — у муфтах без склеювання і зварювання.

Рис. 2. Способи з'єднування відкрито
прокладуваних тонкостінних сталевих труб:
а — нарізною муфтою; б
— муфтою з клиновою обоймою; в
— зварюванням у гільзі: г
— хомутом з гвинтами
Для зручності з'єднування труб та введення іх у протяжні й відгалужувальні коробки рекомендується дотримуватися відстаней між осями труб, наведених у табл. 11.
Одиночні труби кріплять до поверхонь будівельних елементів скобами і дюбелями (рис. 3, а) або закріпками (рис.3, б).
Для кріплення кількох труб, що прокладаються поруч, застосовують спеціальні опорні конструкції (рис. 3, в, г, д, є).
Кріплення зварюванням (рис. 3, д)
допускається лише в разі прокладання водогазопровідних труб, які мають нормальну товщину стінки.
При використанні сталевих труб електропроводки як заземлюючого провідника повинні бути забезпечені надійний контакт труб між собою та безперервність електричного кола на всьому протязі труб.

Рис. 3. Способи кріплення
сталевих труб до поверхонь будівельних елементів:
а
— одиночної груби скобою з лапками; б — закріплювачем; в
— кількох труб виносною скобою на дюбелях; г
— на кронштейнах; д
— на вмазуваній скобі з приварюванням до неї труб; є
— пакетів труб у лотках
Відстань між точками кріплення відкрито прокладених сталевих труб повинна становити: 2,3—2,5 мм при їх діаметрі до 26 мм; 2,8—3,0 при їх діаметрі від 32 до 40 мм; 3,5—4,0 м при їх діаметрі від 50 мм і вище.
З'єднування електропроводок, які прокладаються в трубах, і відгалуження від них здійснюють у з'єднувальних, відгалужувальних та протяжних коробках і ящиках.
Кількість коробок і ящиків, що підлягають встановленню на трасі трубної прокладки проводів, визначається довжиною і складністю траси. Найбільша довжина трубопроводу між двома сусідніми коробками залежить від кількості згинів труб на цій ділян ці й не повинна становити понад: 50 м — на ділянці з одним згином, 40 м — з двома згинами, 20 м — з трьома згинами, 10 м — з чотирма згинами.
Труби прокладають з нахилом у бік протяжних і відгалужу-вальних коробок не менше ніж на 3 мм на кожний метр трубної лінії. При цьому в трубах не накопичуватиметься волога у випадку конденсації в них пари, що міститься в повітрі.
Відгалужувальні й протяжні коробки трубних проводок у сирих і особливо сирих приміщеннях повинні мати спеціальні воло-гозбірні трубки з пристроєм для зливання вологи, що накопичується в них. Встановлювані на фітинзі або трійнику пробки, а також муфти на вологозбірниках монтують на прядиві, просоченому суриком.
Сталеві труби з'єднують між собою і з коробками різними способами (рис. 50, а
—є).
У сухих і непильних приміщеннях та за відсутності газів, агресивних відносно ізоляції проводів, допускається з'єднувати сталеві труби манжетами без ущільнень. Якщо труби використовують як заземлюючі провідники, то в місці їх з'єднання повинен бути створений надійний електричний контакт приварюванням гнучкої або жорсткої металевої перемички (рис. 4, є).
Перехід проводок у сталевих трубах через температурні або осадочні шви будинку виконують за допомогою фітингів,
які встановлюють по обидва боки від шва на відстані 300 мм від останнього і з'єднують металевим рукавом.
Трубу приварюють до коробки або на трубу і патрубок, при варений до коробки, нагвинчують муфту. Для створення міцного контакту між трубою і коробкою нагвинчують на кінець труби дряпаючі гайки (рис. 4, г)
так, щоб вони щільно прилягали до очищеної до блиску металевої стінки коробки.

Рис. 4. Способи
з'єднування сталевих труб між собою і з коробками:
а
— зварюванням у іільзі і до патрубка коробки; б —
вводом труби безпосередньо в коробку; в
— муфтою на нарізці; г
— дряпаючими гайками; д
— муфтою з контргайками; є
— зварюванням з перемичкою в обхід муфти і коробки; 1 — гільза;
2
— патрубок коробки; 3
— нарізна муфта; 4
— дряпаюча гайка; 5 — контргайки; 6
— обходи (перемички) для створення безперервного електричного кола
Марки, перерізи та кількість прокладуваних у трубах проводів і кабелів, а також внутрішні розміри труб визначаються проектом. Дані для вибору розмірів сталевих труб у разі прокладання в них одножильних проводів наведені в табл. 1.
Таблиця 1. Дані для вибору сталевих труб у разі прокладання в жильних проводів ПР, АПР, ПРТО, АПРТО, ПВ, ПРА і АПРВ

Затягують проводи в сталеві труби вручну або за допомогою затяжних пристроїв. Проводи у вертикально прокладених магістралях (стояках) повинні бути надійно закріплені за допомогою клиць або затискачів, які встановлюють на кінцях труб або в протяжних коробках. Точки закріплення проводів повинні знаходитись одна від одної на відстані, що не перевищує 30 м при перерізі проводів до 50 мм2
і 20 м при перерізі проводів 70 мм2
і вище.
Загальний вигляд освітлювальної електропроводки, виконаної в сталевих тонкостінних трубах, зображений на рис. 5.

Рис. 5. Загальний вигляд освітлювальної електропроводки, виконаної тонкостінними сталевими трубами:
1 —
підведення електроживлення до розподільного щитка; 2
— розподільний щиток;
3
— протяжна коробка; 4
— відпаювальна коробка підведення проводів до вимикача і світильника; 5
— внмнкач; 6
— світильник
Після фарбування та сушіння труби розрізають за розміром, нарізають на них різьблення, згинають і т. д.
Труби, що застосовуються для монтажу електропроводок з ущільненням місць з'єднань, повинні мати різьбу на обох кінцях. На водогазопровідних трубах різьбу нарізують на верстатах за допомогою нарізних плашок, а на тонкостінних - накочують за допомогою накатних плашок. Задирки знімають на верстатах конусними фрезами або рейберамі.
Згинають труби на трубогибам з електричним або гідравлічним приводом. Труби з високою точністю діаметром до 24 мм можна згинати за допомогою ручного трубогибу типу ТРП-24 (рис. 6).
На трубогибах сталеві труби згинають у холодному стані звареним швом усередину чи назовні по відношенню до кута вигину для того, щоб шов не розійшовся. Меч у коліна не повинні мати сплющеної форми і вм'ятин.
При заготівлі труб слід дотримуватися певних радіуси вигину. Їх значення приймають в залежності від діаметру і умов прокладки труб. У всіх випадках прокладки радіус вигину труб в залежності від їх діаметра, способу та умов прокладки не повинен бути меншим:
- Десятиразового зовнішнього діаметра труб при їх прокладанні в бетонних масивах, а також відкрито і приховано з кабелями в свинцевою, алюмінієвої і полівінілхлоридної оболонці;
- Шестикратного зовнішнього діаметра труб, прокладають приховано, якщо розкриття їх не становить великих труднощів;
- Чотириразового зовнішнього діаметра труб при відкритому прокладанні.

Рис. 6 - Ручний трубогиб ТРП-24:
1 - ролик; 2 - мала шестерня; 3 - важіль; 4 - хомут; 5 - струмкової сектор; 6 - велика шестерня; 7 - плита.
При монтажі трубних електропроводок рекомендуються наступні нормалізовані кути поворотів: 90, 105, 120, 135 і 150 °; нормалізовані радіуси вигину: 400, 800 і 1000 мм. Радіуси вигину 800 і 1000 мм рекомендуються для труб, замонолічіваемих в бетонних фундаментах, і при прокладанні в них кабелів з однопрово-лочнимі жилами. Радіус вигину 400 мм кращий для труб діаметром 25-70 мм, які прокладають у перекриттях (наприклад, при вертикальному вихід з перекриття на стіну).
Сталеві труби з'єднують з ущільненням і без ущільнення.
Без ущільнення труби з'єднують муфтою на різьбі, муфтою з клиновой обоймою, муфтою типу ТР (сталевий манжетою), зварюванням в сталевий гільзи (рис. 7).
З'єднання з ущільненням виконується резьбовой муфтою з підмотки на різьблення труби прядив'яного або лляного волокна, просоченого розведеним на оліфі суриком, фторопластовою ущільнювальної стрічкою ФУМ або іншими матеріалами, які не порушують безперервність електричного кола. Муфту, свінчівая з згону, спеціальним трубним ключем нагвинчують на трубу до кінця різьби. На зганяння біля торця муфти намотується товстий бандажік з тієї ж пряжі і притискається контргайки (рис. 8).
Рис. 7 - З'єднання сталевих труб:
а - муфтою на різьбі; б - манжетою з клиновой обоймою; в - манжетою на гвинтах; г - сталевий гільзою; д - муфтою з розтрубами; е - гільзою з листової сталі; ж - трубної муфтою ТР.
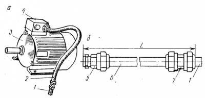
При вводах в оболонки електрообладнання ущільнених трубопроводів на криволінійних ділянках траси трубної використовують гнучкі вводи (рис. 9).
Труби прокладають так, щоб у них не накопичувалася волога від конденсації водяних парів, що містяться в повітрі. На горизонтальних ділянках траси труби повинні мати ухил (не менше 3 мм на метр трубної траси) в бік відгалужувальних і протяжних коробок.
Рис. 8 - З'єднання труб муфтою на різьбі:
1 - зганяння; 2-різьба; 3 - муфта; 4 – Контргайка
Рис. 9 - Виконання криволінійного ділянки трубної електропроводки при введенні в оболонку електродвигуна за допомогою гнучкого вводу:
а - загальний вигляд; б - гнучкий введення; 1 - сталева труба; 2 - гнучкий введення; 3-електродвигун; 4 - вступна коробка; 5 - вступна муфта; 6 - металорукав з полімерним покриттям; 7 - трубна муфта.
Під час прокладання труб в підлогах виробничих приміщень шар бетону над сталевою трубою, в якому вона замонолічена, не повинен бути менше 20 мм, а над неметалевими трубами - менше 50 мм. У місцях перетину труб між ними залишають зазор не менше 10 мм.
Відкрито прокладені труби кріплять до опорних підстав скобами, хомутами, накладками. Відстань між точками кріплення труб на горизонтальних і вертикальних ділянках траси не повинна перевищувати 2,5 м при діаметрі труби до 20 мм, 3 м - при діаметрі до 40 мм і 3,5-4 м - при діаметрі 50 мм і більше.
Труби до затягування в них проводів і кабелів закріплюють на опорних поверхнях, виконують всі види зварювальних робіт з їх заземлення і кріплення, всередину кожної труби вводять сталевий трос або сталевий дріт.
Провід затягують у труби ділянками між суміжними відгалужувальними коробками або між коробкою і вимикачем, розеткою або щитком.
При прокладці сталевих труб, що підлягають заземлення або використовуються в якості заземлюючих провідників, потрібно забезпечити безперервність електричного кола заземлення як між ними, так і між трубою і металевими корпусами електричних машин і апаратів. Для створення надійного контакту між трубою і металевими відгалужувальними та протяжними коробками або металевими кожухами апаратів використовують настановні заземлюючі гайки і контргайки, які кріплять на трубі з обох сторін стінки апарата або відгалужувальних коробки. Дряпає виступи цих гайок звертають в сторону стінки коробки або кожуха апарату. При з'єднанні труб без ущільнень за допомогою хомутів, манжет або гільз безперервність заземлення у місць з'єднання труб забезпечується приварювання до них металевих перемичок. Якщо трубу з'єднують з машиною або апаратом, застосовуючи гнучкий введення або металорукав, то до кінця труби приварюють заземлюючий прапорець, що служить для закріплення заземлюючого провідника, або встановлюють муфту типу ТР з гнучкою мідної перемичкою.
Список використаної літератури
1. Атабеков В. Б. Ремонт электрооборудования промышленных предприятий: Учебник для сред, проф.-техн. училищ. — 4-е изд., перераб. и доп. — М.: Высш. школа, 1979. — 256 с, ил. — (Профтехобразование. Энергетика).
2. Ктиторов А. Ф. Злектрослесарь строительный: Учеб. для проф.-тех. училищ. -М.:Стройиздат, 1990.- 383 с: ил.
3. Кисаримов Р.А. Справочник електрика
|